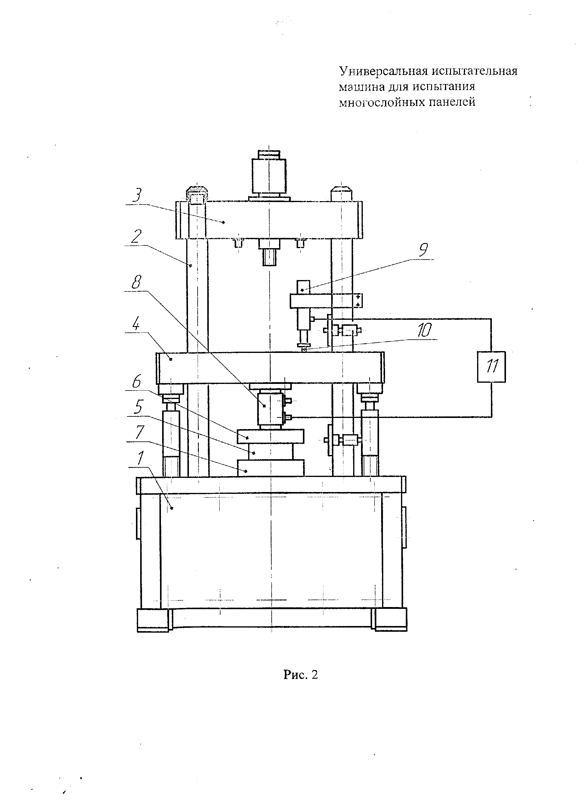
Полезная модель относится к области исследования прочностных свойств твердых материалов путем приложения к ним механических усилий (сжимающих статических нагрузок), более конкретно, для статических испытаний образцов из многослойных панелей на основе складчатых и сотовых структур, применяемых в авиастроении. Целью предполагаемой полезной модели является повышение точности измерения деформации при испытаниях образцов из многослойных панелей на сжатие. Машина включает в себя основание 1, колонны 2, верхнюю траверсу 3; подвижную траверсу 4, испытываемый образец 5, плиты 6 и 7, датчик силы 8, оптико-электронный растровый преобразователь линейных перемещений 9, шток 10, систему управления и измерения 11.
Универсальная испытательная машина для испытания многослойных панелей, характеризующаяся тем, что содержит основание с жестко закрепленными на нем колоннами, верхнюю неподвижную траверсу и подвижную траверсу, имеющую возможность перемещаться вдоль колонн, датчик силы для измерения величины нагрузки сжатия и систему управления перемещением подвижной траверсы и измерения параметров нагружения испытываемого образца, и при испытаниях на сжатие для определения деформации образца применен оптико-электронный растровый преобразователь линейных перемещений, корпус с растровой шкалой которого закреплен на неподвижной части испытательной машины, а подпружиненный подвижный шток, перемещающий считывающий узел, опирается на поверхность подвижной траверсы испытательной машины, при этом электрический выход оптико-электронного растрового преобразователя линейных перемещений и вход его электрического питания соединены с соответствующими входом и выходом системы управления перемещением подвижной траверсы и измерения параметров нагружения испытываемого образца.
Полезная модель относится к области исследования прочностных свойств твердых материалов путем приложения к ним механических усилий (сжимающих статических нагрузок), более конкретно, для статических испытаний образцов из многослойных панелей на основе складчатых и сотовых структур, применяемых в авиастроении. Многослойные панели представляют собой своеобразный «сэндвич», состоящий из нескольких слоев следующей конструкции: обшивка (t=0,5...2 мм) - заполнитель из складчатой или сотовой структуры (t=8...10 мм) - обшивка (0,5...2 мм), где t - толщина материала. В Российской Федерации отечественная нормативно-техническая документация на испытания образцов из многослойных панелей отсутствует и испытания проводятся но зарубежному стандарту, /1/, в результате проведения которых определяются пределы прочности при сжатии, изгибе, отрыве обшивки, сдвиге и отслаивании. Наиболее подходящим инструментом для проведения таких испытаний являются электромеханические универсальные испытательные машины /2/, имеющие две зоны испытаний: нижнюю - для испытания образцов панелей на сжатие, изгиб и сдвиг, и верхнюю - для проведения испытаний на отрыв обшивки и отслаивание (при этом используются специальные приспособления). Поскольку образцы из многослойных панелей при испытаниях на сжатие не имеют четко выраженного значения разрушающей нагрузки, то их предел прочности при сжатии определяется по диаграмме «нагрузка-деформация образца», изображенной на рис.1. Так как толщина заполнителя панели (складчатой или сотовой структуры) составляет 8...10 мм, то требуемая точность измерения деформации образца (при нормированной погрешности измерения нагрузки ±1% во всем диапазоне измерения) довольно высока, абсолютная погрешность измерения деформации образца при испытаниях на сжатие не должна превышать ±5 мкм /1/. Известные датчики продольной деформации и экстензометры, использующие тензорезисторные, индуктивные, трансформаторные и другие типы преобразователей /3/, такую точность в требуемом диапазоне измерений не обеспечивают. Аналоги испытательной машины для испытаний многослойных панелей с требуемой точностью измерения деформации сжатия испытываемых образцов авторам не известны. Целью предполагаемой полезной модели является повышение точности измерения деформации при испытаниях образцов из многослойных панелей на сжатие. Поставленная цель достигается тем, что при испытаниях на сжатие для определения деформации образца применен оптико-электронный растровый преобразователь линейных перемещений, корпус с растровой шкалой которого закреплен на неподвижной части испытательной машины, например, на одной из колонн, а подпружиненный подвижный шток, перемещающий считывающий узел, опирается на поверхность подвижной траверсы испытательной машины, при этом электрический выход оптико-электронного растрового преобразователя линейных перемещений и вход его электрического питания соединены с соответствующими входом и выходом системы управления перемещением подвижной траверсы и измерения параметров нагружения испытываемого образца. Универсальная испытательная машина для испытания многослойных панелей приведена на рисунке 2. Машина представляет собой двухзонную конструкцию, в которой основание 1, колонны 2 и верхняя траверса 3 образуют жесткую раму. Подвижная траверса 4 перемещается с помощью привода, размещенного в основании 1. Испытываемый образец 5, установленный между плитами 6 и 7, нагружается силой сжатия за счет перемещения плиты 6, закрепленной на датчике силы 8, который, в свою очередь, соединен с подвижной траверсой 4, относительно неподвижной плиты 7. Для измерения деформации образца 5 оптико-электронный растровый преобразователь линейных перемещений 9 закреплен на одной из колонн 2, например, с помощью клеммового зажима (может быть прикреплен к верхней неподвижной траверсе 3 испытательной машины). Подпружиненный подвижный шток 10 преобразователя 9 опирается на поверхность траверсы 4 (исходное положение штока 10 - введен внутрь преобразователя 9 и в этом его положении преобразователь 9 обнулен). В процессе нагружения образца 5 траверса 4 перемещается вниз, при этом шток 10 преобразователя 9 под действием пружины выдвигается из корпуса и отслеживает перемещение траверсы 4, тем самым измеряя деформацию испытываемого образца 5. При проведении испытаний на отрыв обшивки и отслаивание в верхней зоне испытаний преобразователь 9 отводится из зоны испытаний поворотом его на 180° относительно колонны, на которой он закреплен, или снимается. Выходной сигнал преобразователя 9 поступает в систему управления перемещением подвижной траверсы и измерения параметров нагружения 11 испытываемого образца 5, куда также поступает выходной сигнал датчика силы 8. Система управления и измерения 11 выполнена на базе компьютера с программным графопостроителем для построения диаграммы «нагрузка-деформация образца» и специализированным программным обеспечением, и включает в себя усилитель сигнала датчика силы 8 и АЦП для его преобразования, а также интерфейсный модуль для преобразования выходного сигнала преобразователя 9. Использование преобразователя 9 для измерения деформации сжатия при испытаниях образцов из многослойных панелей обеспечивает высокую точность измерения /4/: преобразователи ЛИР-17 имеют предельную погрешность Δ=5 мкм (класс точности 4) и Δ=2 мкм (класс точности 3) при ходе штока 40 мм, а преобразователи ЛИР-14 и 15 имеют Δ=1 мкм (класс точности 2) при ходе штока 20 мм. Для преобразования выходного сигнала преобразователя 9 и согласования с компьютером используется модуль интерфейса ЛИР-930. Использованные источники: 1. Стандарт США ASTM С 365. 2. Испытательная техника, книга 1. Справочник под редакцией д.т.н. проф. В.В.Клюева. Москва, «Машиностроение», 1982 г., С.30-40. 3. Современные средства измерения деформации для механических испытаний конструкционных материалов, выпуск 4. Приборы, средства автоматизации и системы управления. ИНФОРМПРИБОР, Москва, 1989 г., 55 с. 4. . Преобразователи линейных перемещений.