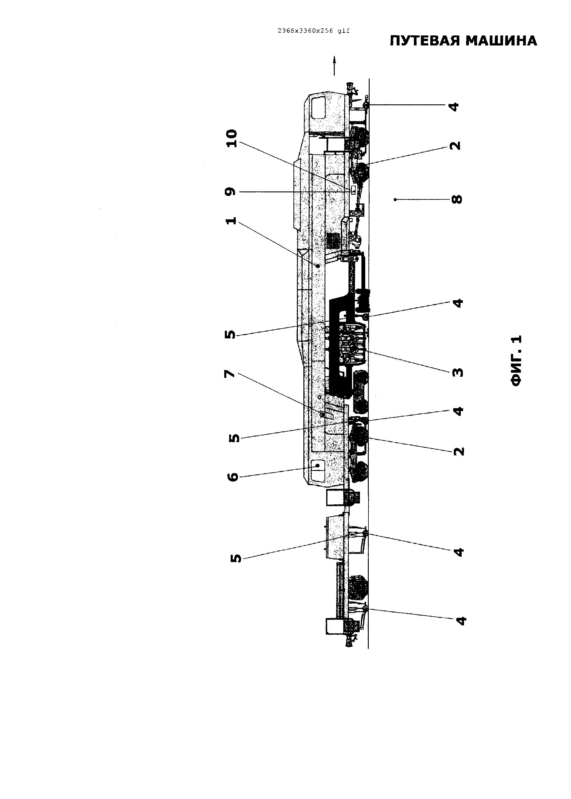
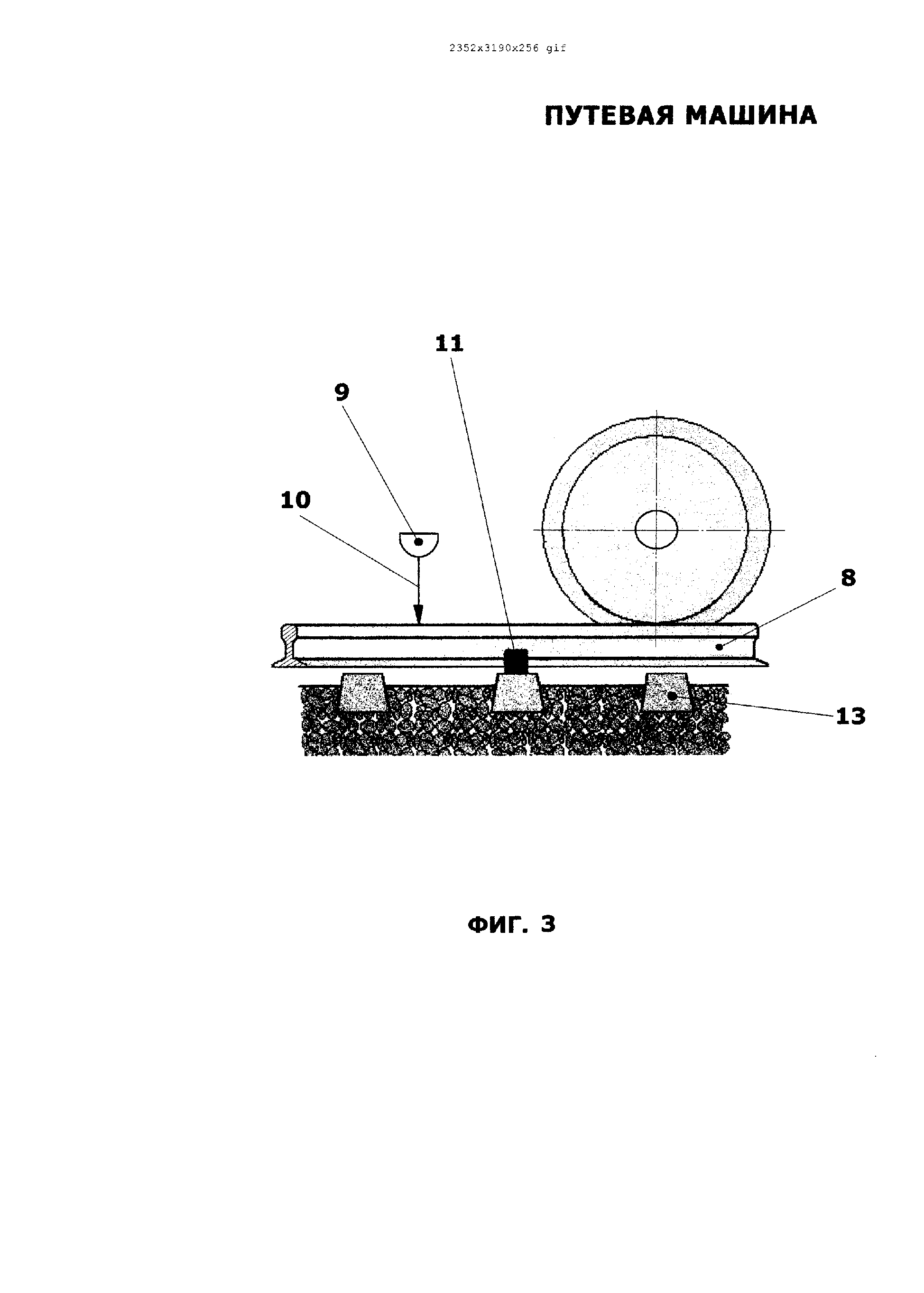
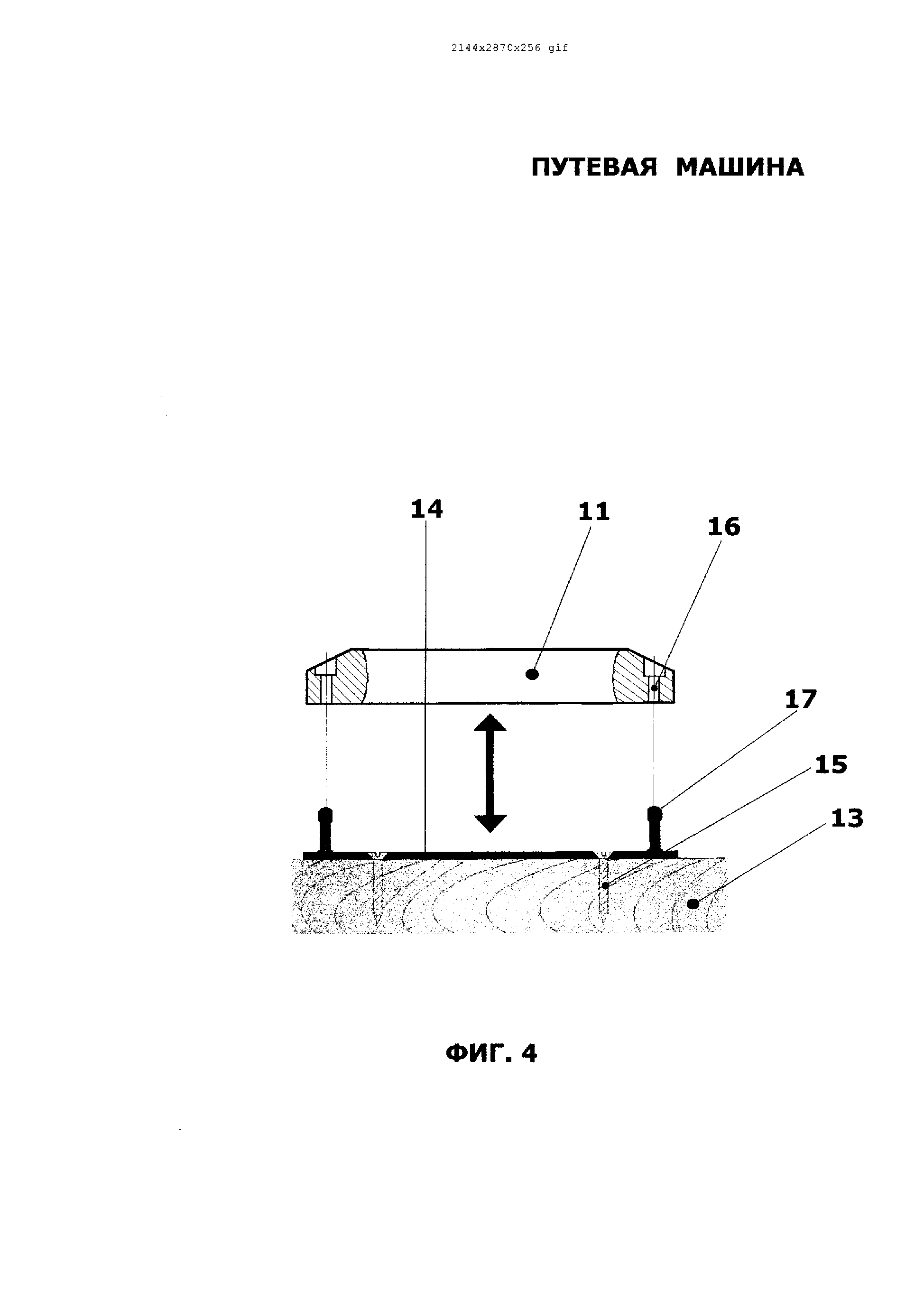
Путевая машина предназначена для контроля, измерения и выправки железнодорожного пути и может быть использована для выявления истинного состояния пути по отношению к заданному состоянию в процессе ремонта и технического обслуживания железных дорог. Машина содержит раму (1), оснащенную любым сменным оборудованием, например, выправочно-рихтовочным, балластоочистительным, отделочным, снабжена контрольно-измерительной системой (4), состоящей из датчиков (5), измеряющих положение точек железнодорожного пути относительно друг друга, положение контактной сети, состояние рельс и другие характеристики пути, а также бортовым компьютером (7), хранящим информацию от датчиков (5). Особенностью машины, является то, что на ней установлено приемо-передающее устройство радиочастотной идентификации (9) (ридер) с антенной (10), соединенное с бортовым компьютером (7), а на железнодорожном пути (8) устанавливаются радиочастотные метки (11) (тэги), хранящие эталонную информацию о параметрах железнодорожного пути. Радиочастотные метки (11) (тэги) устанавливаются или в земляное полотно (12) под рельсо-шпальной решеткой, или они могут быть смонтированы непосредственно на шпалах (13) железнодорожного пути (8). Полезная модель позволяет путем несложного переоборудования любой путевой машины сделать из нее машину нового поколения, в которой хранение всей информации о состоянии пути осуществляется на железнодорожном пути (8). Передача информации происходит также непосредственно через железнодорожный путь. 2 з.п. ф-лы, 4 илл.
1. Путевая машина, содержащая опирающуюся на ходовые тележки раму, оснащенную любым сменным оборудованием, например, выправочно-рихтовочным, балластоочистительным, отделочным и имеющая контрольно-измерительную систему, состоящую из датчиков, измеряющих положение точек железнодорожного пути относительно друг друга, положение контактной сети, состояние рельс и другие характеристики пути, и бортовой компьютер, хранящий информацию от датчиков, отличающаяся тем, что на путевой машине дополнительно установлено приемо-передающее устройство радиочастотной идентификации (ридер) с антенной, соединенное с бортовым компьютером, а на железнодорожном пути устанавливаются радиочастотные метки (тэги), хранящие эталонную информацию о параметрах железнодорожного пути. 2. Путевая машина по п.1, отличающаяся тем, что радиочастотные метки (тэги) устанавливаются в земляное полотно под рельсошпальной решеткой. 3. Путевая машина по п.1, отличающаяся тем, что радиочастотные метки (тэги) монтируются на шпалах железнодорожного пути.
Полезная модель относится к железнодорожному транспорту, а именно к путевым машинам, предназначенным для контроля, измерения и выправки железнодорожного пути и может быть использована для выявления истинного состояния пути по отношению к заданному состоянию в процессе ремонта и технического обслуживания железных дорог. Для повышения эффективности работ при строительстве, ремонте и эксплуатации российских железных дорог необходимо реализовать передовые высокоэкономичные технологии, что в свою очередь требует создания машин нового поколения. Анализ технологических процессов реконструкции железных дорог, сделанный на основании передового опыта ведущих европейских стран (Австрии, Германии, Франции и др.), показывает, что для реализации высокоэкономичных технологий при реконструкции и ремонте железных дорог они должны базироваться на высокопроизводительных машинах нового поколения, способных за одно технологическое окно произвести контроль и измерение параметров железнодорожного пути, а также осуществить его выправку. Известен целый ряд путевых машин, как отечественных, так и зарубежных, описанных в технической и патентной литературе. Однако одни из них предназначены для контроля какого-то одного параметра, например, прямолинейности рельса [см. авт. свид. СССР №1470828, кл. Е01В 35/00, опубл. 1989 г.], расстояния между рельсами [см. авт. свид. СССР №1641922, кл. Е01В 35/00, опубл. 1991 г.]. Другие машины контролируют целый комплекс параметров, так, например, известная машина [см. авт. свид. СССР №1671756, кл. Е01В 35/00, опубл. 1991 г.] предназначена для контроля отклонения рельсовых путей в продольном профиле, плане или по уровню. Известно также устройство, которое предназначено для определения пространственного положения рельсового пути [см. патент РФ 2026448, кл. Е01В 35/00, опубл. 1995 г.], устройство, предназначенное для определения неровностей на поверхности катания рельса [см. патент РФ 2035534, кл. Е01В 35/00, В61К 9/08, опубл. 1995 г.]. Таким образом, общим недостатком упомянутых выше аналогов является ограниченность их функциональных возможностей. В качестве аналога предлагаемой полезной модели можно также рассмотреть машину нового поколения, разработанную австрийской фирмой «Плассер и Тойрер», [см. патент РФ 2041308, кл. Е01В 29/04, 27/17, опубл. 1995 г.], запатентованную в России в 1992 году. Машина предназначена для выправки железнодорожного пути и состоит из рамы, опирающейся на ходовые тележки, ходового привода, мотора и кабины водителя. В области заднего конца машины находится приводимый приводами перемещаемый по высоте и в боковом направлении подъемно-рихтовочный агрегат. Перед подъемно-рихтовочным агрегатом установлены два домкрата, служащие для опирания машины на основание пути. Сзади подъемно-рихтовочного агрегата находится измерительная тележка с рефлектором для отражения реперного светового луча, испускаемого ИК-передатчиком. В кабине водителя находится центральный блок управления (ЦБУ) и сиденье оператора. На находящемся позади машины выправленном участке пути находится теодолит с ИК-передатчиком или приемником и измерителем расстояния. Теодолит соединен с компьютером и ЦБУ. Таким образом, известная машина снабжена современной измерительной аппаратурой и является машиной нового поколения. Однако она осуществляет только выправку железнодорожного пути, которой должны предшествовать сложные дорогостоящие работы по измерению и оценке истинного состояния пути. Эти работы проводятся во время измерительной поездки на специальной измерительной машине, что является существенным недостатком известной машины, не позволяющим произвести выправку железнодорожного пути за одно окно. Наиболее близкой по своей технической сущности к предлагаемой полезной модели является машина на рельсовом ходу, предназначенная для измерения, регистрации и корректировки положения пути [см. патент РФ 1505447, кл. Е01В 35/04, опубл. 1989 г.]. Выбранная в качестве прототипа машина состоит из путеизмерительного вагона и тележки, которая в транспортном положении размещается на площадке переднего участка вагона. Въезд тележки на площадку осуществляется по рельсам платформы, сопрягаемым с рельсами вагона и рельсами железнодорожного пути. Путеизмерительный вагон содержит центральный узел привода и энергоснабжения, ходовой привод, а также коммутационный шкаф с электроникой и регистрирующий прибор или компьютер. На тележке смонтированы лазерный приемник, путеизмерительные реперные системы для измерения положения рельсов в плане и профиле для взаимодействия с фиксированными точками, расположенными за пределами пути, а именно -на мачтах контактной сети. На тележке установлены также дополнительный лазерный излучатель и лазерный приемник. Тележка может быть выполнена с кабиной оператора для управления устройством для измерения положения пути в плане и по высоте. Известная путевая машина имеет важное достоинство, которое состоит в том, что она без предварительной измерительной поездки позволяет измерять отклонения истинного положения пути по отношению к проектному. Однако следует отметить целый ряд недостатков, из которых наиболее важными являются: - невозможность автоматической идентификации участка (только визуальная идентификация участка работ оператором); - невозможность автоматического определения местоположения машины на участке работ, для сравнения фактического положения пути в пространстве с его эталонным положением; - невозможность без участия оператора определить или выбрать из базы данных бортового компьютера эталонные характеристики участка; - изменение эталонных характеристик участка (например, при повышении скорости движения поездов) требует внесения изменений в базы данных на всех бортовых компьютерах всех путевых машин, которые могут быть использованы при ремонтных работах на измененном участке. Указанные недостатки существенно ограничивают функциональные возможности машины. Задачей предлагаемой полезной модели является расширение функциональных возможностей устройства при одновременном повышении производительности, рациональности эксплуатации техники, а также высоком качестве выполняемых работ. Для достижения этого технического результата предлагается путевая машина, которая, как и наиболее близкая к ней, выбранная в качестве прототипа, содержит опирающуюся на ходовые тележки раму, оснащенную любым сменным оборудованием, например, выправочно-рихтовочным, балластоочистительным, отделочным и др. Путевая машина снабжена контрольно-измерительной системой, состоящей из датчиков, измеряющих положение точек железнодорожного пути относительно друг друга, положение контактной сети, состояние рельс и другие характеристики пути, а также бортовым компьютером, хранящим информацию от датчиков. Особенностью предлагаемой полезной модели, отличающей ее от известной путевой машины, принятой за прототип, является то, что на путевой машине дополнительно установлено приемо-передающее устройство радиочастотной идентификации (ридер) с антенной, соединенное с бортовым компьютером, а на железнодорожном пути устанавливаются радиочастотные метки (тэги), хранящие эталонную информацию о параметрах железнодорожного пути. Радиочастотные метки (тэги) устанавливаются или в земляное полотно под рельсо-шпальной решеткой, или они могут быть смонтированы непосредственно на шпалах железнодорожного пути. Технический результат, достигнутый в предлагаемой полезной модели, получен за счет оснащения любой путевой машины (выправочно-рихтовочной, балластоочистительной, отделочной и др.) приемо-передающим устройством радиочастотной идентификации (ридером) с антенной и установки на железнодорожный путь радиочастотных меток (тэгов), которые хранят эталонную информацию о параметрах железнодорожного пути. Эти вновь введенные признаки существенно расширяют функциональные возможности путевой машины, выбранной в качестве прототипа, обеспечивая хранение всей информации о состоянии пути (проектных параметров и отклонения от них, названия участка и пикетаж, температуры укладки, параметров контактной сети) непосредственно на железнодорожном пути в радиочастотных метках (тэгах). Теперь вся информация, собираемая путеизмерительными вагонами, хранится непосредственно на пути и передается любой выправочной и ремонтной технике в любое время и без участия оператора. Передача информации об эталонных характеристиках пути в отличие от прототипа осуществляется не по информационным сетям, не через дискеты или любые промежуточные устройства, а непосредственно через железнодорожный путь. Это, в свою очередь позволяет без измерительной поездки за одно окно выправить путь, провести отделочные работы и др. При этом позиционирование машины на пути осуществляется автоматически, в то время как в прототипе оператор вручную вводит точку начала измеренного участка, ориентируясь по специальным меткам на шпалах, специальным пикетным столбикам или опорам контактной сети. В результате при повышении производительности проведения работ, рациональности эксплуатации техники повышается и качество выполняемых работ. Следует также отметить, что информация в радиочастотных метках (тэгах) может дополняться и изменяться, а данные на радиочастотной метке могут быть засекречены. Метки долговечны, недороги, надежно защищены от воздействия окружающей среды. Таким образом, совокупность указанных выше признаков позволяет решить поставленные задачи. Ниже описаны два конкретных примера реализации предлагаемой полезной модели, в соответствии с пунктами 2 и 3 патентной формулы. Предлагаемая полезная модель иллюстрируется чертежами, на которых изображены: на фиг.1 - предлагаемая путевая машина (общий вид); на фиг.2 - схема первого примера реализации предлагаемой полезной модели, иллюстрирующая применение радиочастотных меток (тэгов) в качестве постоянных устройств пути; на фиг.3 представлена схема второго примера реализации предлагаемой полезной модели, иллюстрирующая применение радиочастотных меток (тэгов) в качестве временных устройств пути; на фиг.4 - схема установки радиочастотной метки (тэга) на деревянную шпалу. Путевая машина состоит (см. фиг.1) из рамы 1, опирающейся на ходовые тележки 2. В данных конкретных примерах на раме 1 установлено выправочно-рихтовочное оборудование 3. Путевая машина снабжена контрольно-измерительной системой 4, состоящей из датчиков 5. В кабине 6 оператора находится бортовой компьютер 7, хранящий и обрабатывающий в реальном масштабе времени информацию от контрольно-измерительной системы 4 и датчиков 5. На путевой машине над железнодорожным путем 8 установлено приемо-передающее устройство радиочастотной идентификации 9 (ридер) с приемо-передающей антенной 10, соединенное кабелем (на фиг. не показан) с бортовым компьютером 7. Радиочастотные метки 11 (тэги) могут быть установлены в земляное полотно 12 под рельсо-шпальную решетку (см. фиг.2), либо могут быть закреплены на шпалах 13 железнодорожного пути (см. фиг.3). В качестве приемо-передающего устройства 9 могут быть использованы, например, ридеры, работающие на частотах 868 МГц, с дальностью обнаружения более 100 м, с частотой идентификации 100 раз в секунду, с объемом памяти перезаписываемого тэга 32 Кбайта, например, ридеры австрийской фирмы Baumer Ident. В качестве радиочастотныех меток 11 могут быть применены, например, тэги DT.AO.F1.xx-x той же фирмы. Монтаж приемо-передающего устройства 9 (ридера) и радиочастотных меток 11 (тэгов) осуществляется следующим образом. На железнодорожных выправочных машинах (ВПР (с) и путеизмерительных вагонах устанавливается приемо-передающее устройство радиочастотной идентификации 9 (ридер) и приемо-передающая антенна 10. Монтаж ведется на пол рамы 1 путевой машины снизу. При использовании радиочастотных меток 11 (тэгов) в качестве постоянных устройств пути их установка осуществляется в земляное полотно 12 под рельсо-шпальной решеткой на глубине до 1 м от поверхности (см. фиг.2). Такое расположение радиочастотных меток 11 (тэгов) обусловлено тем, что в случае их расположения на поверхности, они могут быть повреждены при проведении ремонтных работ на пути механизмами, людьми, или быть украденными. В случае использования радиочастотных меток 11 (тэгов) в качестве временных устройств пути, например, при производстве капитального или среднего ремонта пути, их установка осуществляется на шпалах 13 железнодорожного пути (см. фиг.3). Радиочастотная метка 11 (тэг) размещается в точке начала работ. Для деревянной шпалы 13 на ее поверхности устанавливается пластиковая прокладка 14, которая крепится к шпале 13 двумя саморезами 15 через отверстия 16 (см. фиг.4). К железобетонным шпалам прокладки 14 приклеиваются эпоксидным компаундом. На прокладку 14, имеющую две клипсы 17 через отверстия 16 временно устанавливается радиочастотная метка 11 (тэг) с записанной в ее памяти информацией о видах и объемах работ, выполняемых на участке. Размещаются радиочастотные метки 11 (тэги) посередине шпалы. Прокладка 14 крепится на шпалу 13 один раз до начала работ на участке, а радиочастотная метка 11 (тэг) устанавливается на прокладку 14 перед каждым рабочим окном. Работа устройства заключается в следующем. При движении путевой машины по железнодорожному пути приемопередающее устройство радиочастотной идентификации 9 (ридер) непрерывно опрашивает радиочастотные метки 11 (тэги) и при прохождении над радиочастотной меткой 11 (тэгом) выдает сигнал в бортовой компьютер 7 о своем прохождении над радиочастотной меткой 11 (тэгом) и всю информацию, записанную в радиочастотную метку 11 (тэг). Бортовой компьютер 7 может перезаписать в радиочастотной метке 11 (тэге) всю информацию. Часть памяти радиочастотной метки 11 (тэга) может быть с ограниченным доступом для различных пользователей по паролю. В памяти радиочастотной метки 11 (тэга) можно хранить: название участка пути, пикетаж, характеристики верхнего строения пути, характеристики рельс, характеристики контактной сети. Таким образом, предлагаемая полезная модель путем несложного переоборудования любой путевой машины позволяет сделать из нее машину нового поколения, в которой хранение всей информации о состоянии пути осуществляется непосредственно на железнодорожном пути. Передача информации происходит также непосредственно через железнодорожный путь. Машина многофункциональна, высокопроизводительна, позволяет рационально эксплуатировать технику при высоком качестве выполняемых работ.