патент
№ RU 71962
МПК B64G5/00

НАЗЕМНЫЙ СТАРТОВЫЙ КОМПЛЕКС ДЛЯ ПРЕДСТАРТОВОЙ ПОДГОТОВКИ И ПУСКА РАКЕТЫ-НОСИТЕЛЯ С КОСМИЧЕСКОЙ ГОЛОВНОЙ ЧАСТЬЮ (ВАРИАНТЫ)

Авторы:
Климов Владимир Николаевич Рахманов Жан Рахманович Бармин Игорь Владимирович
Все (6)
Номер заявки
2007143624/22
Дата подачи заявки
27.11.2007
Опубликовано
27.03.2008
Страна
RU
Как управлять
интеллектуальной собственностью
Чертежи 
4
Реферат

1. Наземный стартовый комплекс для предстартовой подготовки и пуска ракеты-носителя с космической головной частью, содержащий транспортно-установочный агрегат, стартовое сооружение, односкатный газоотражатель с газоотводным каналом, стартовую систему, кабель-заправочную мачту, верхнюю кабель-мачту, нижние кабель-мачты, башню обслуживания, кабину обслуживания, системы заправки окислителем и горючим, систему охлаждения горючего, оборудование хранилища газов, холодильный центр, систему термостатирования воздухом низкого давления, общетехнические системы и вспомогательное оборудование, отличающийся тем, что он дополнительно снабжен системой термостатирования воздухом высокого давления космической головной части с разгонным блоком и космическим аппаратом, которая включает в себя связанные с оборудованием хранилища газов магистральный трубопровод и ресивер сжатого воздуха, баллоны которого через щит зарядки и трубопровод с арматурой соединены с магистральным трубопроводом, а щит выдачи ресивера сжатого воздуха соединен с трубопроводом подачи воздуха в космическую головную часть, снабженным пробоотборным устройством, соединенным со счетчиком аэрозольных частиц, пневмощитом контроля кондиционности сжатого воздуха, средствами дистанционного контроля параметров температуры и давления воздуха, а также штатным гигрометром для контроля влажности воздуха, подаваемого в космическую головную часть, который через пневмощит управления, блок понижения давления, нагреватель газов и охладитель воздуха, установленный в кольцевом контуре охлаждения холодильного центра, соединен с разъемным соединением бл�

Формула изобретения

1. Наземный стартовый комплекс для предстартовой подготовки и пуска ракеты-носителя с космической головной частью, содержащий транспортно-установочный агрегат, стартовое сооружение, односкатный газоотражатель с газоотводным каналом, стартовую систему, кабель-заправочную мачту, верхнюю кабель-мачту, нижние кабель-мачты, башню обслуживания, кабину обслуживания, системы заправки окислителем и горючим, систему охлаждения горючего, оборудование хранилища газов, холодильный центр, систему термостатирования воздухом низкого давления, общетехнические системы и вспомогательное оборудование, отличающийся тем, что он дополнительно снабжен системой термостатирования воздухом высокого давления космической головной части с разгонным блоком и космическим аппаратом, которая включает в себя связанные с оборудованием хранилища газов магистральный трубопровод и ресивер сжатого воздуха, баллоны которого через щит зарядки и трубопровод с арматурой соединены с магистральным трубопроводом, а щит выдачи ресивера сжатого воздуха соединен с трубопроводом подачи воздуха в космическую головную часть, снабженным пробоотборным устройством, соединенным со счетчиком аэрозольных частиц, пневмощитом контроля кондиционности сжатого воздуха, средствами дистанционного контроля параметров температуры и давления воздуха, а также штатным гигрометром для контроля влажности воздуха, подаваемого в космическую головную часть, который через пневмощит управления, блок понижения давления, нагреватель газов и охладитель воздуха, установленный в кольцевом контуре охлаждения холодильного центра, соединен с разъемным соединением блока А ракеты-носителя и посредством вертикального трубопровода на борту ракеты-носителя связан с космической головной частью, при этом трубопровод подачи воздуха в космическую головную часть на участке от нагревателя газов до блока А ракеты-носителя теплоизолирован.

2. Наземный стартовый комплекс для предстартовой подготовки и пуска ракеты-носителя с космической головной частью, содержащий транспортно-установочный агрегат, стартовое сооружение, односкатный газоотражатель с газоотводным каналом, стартовоую систему, кабель-заправочную мачту, верхнюю кабель-мачту, нижние кабель-мачты, башню обслуживания, кабину обслуживания, системы заправки окислителем и горючим, систему охлаждения горючего, оборудование хранилища газов, холодильный центр, систему термостатирования воздухом низкого давления, общетехнические системы и вспомогательное оборудование, отличающийся тем, что он дополнительно снабжен системой термостатирования воздухом высокого давления отсеков ракеты-носителя, включающей связанные с оборудованием хранилища газов магистральный трубопровод и ресивер сжатого воздуха, состоящий из баллонов, щит зарядки которых посредством трубопровода с арматурой связан с магистральным трубопроводом, а щит выдачи соединен с трубопроводом подачи воздуха в ракету-носитель с установленными на нем датчиками давлений и температур, который через входной пневмощит, угловой вентиль, фильтр, пневмощит управления, блок понижения давления, нагреватель газов и охладитель воздуха, расположенный в контуре охлаждения холодильного центра, соединен с разъемным соединением блока А ракеты-носителя и посредством бортовой коммуникации связан с приборным и межбаковым отсеками блока А и межбаковым и хвостовым отсеками блока И ракеты-носителя, при этом участок трубопровода подачи воздуха в ракету-носитель от нагревателя газов до блока А теплоизолирован.

3. Наземный стартовый комплекс для предстартовой подготовки и пуска ракеты-носителя с космической головной частью, содержащий транспортно-установочный агрегат, стартовое сооружение, односкатный газоотражатель с газоотводным каналом, стартовую систему, кабель-заправочную мачту, верхнюю кабель-мачту, нижние кабель-мачты, башню обслуживания, кабину обслуживания, системы заправки окислетелем и горючим, систему охлаждения горючего, оборудование хранилища газов, холодильный центр, систему термостатирования воздухом низкого давления, общетехнические системы и вспомогательное оборудование, отличающийся тем, что он снабжен системой термостатирования азотом высокого давления отсеков ракеты-носителя, которая включает в себя связанные с оборудованием хранилища газов магистральный трубопровод и ресивер сжатого азота высокого давления, щит зарядки баллонов которого через трубопровод с арматурой связан с магистральным трубопроводом, а щит выдачи соединен с трубопроводом подачи азота высокого давления в ракету-носитель, с установленными на нем датчиками давлений и температур, который через входной пневмощит с угловым вентилем, фильтр, пневмощит управления, блок понижения давления, нагреватель газов и охладитель азота, установленный в контуре охлаждения холодильного центра, соединен с разъемным соединением блока А ракеты-носителя и посредством бортовой коммуникации связан с приборным и межбаковым отсеками блока А и межбаковым и хвостовым отсеками блока И ракеты-носителя.

Описание

[1]

Полезная модель относится к ракетно-космической технике, а более конкретно к наземным стартовым комплексам ракет-носителей космического назначения и может быть использована при любых климатических метеорологических условиях в любое время года и суток для автоматического поддержания в отсеках ракеты-носителя и космической головной части с разгонным блоком и космическим аппаратом в процессе их предстартовой подготовки заданных оптимальных температурно-влажностных режимов и высокой чистоты и кондиции воздуха, оказывающих одно из решающих влияний на работоспособность, надежность и эффективность работы аппаратуры, приборов, агрегатов, систем, бортовых источников электропитания и других элементов, установленных в термостатируемых

[2]

отсеках ракеты-носителя (РН) и космической головной части (КГЧ), что повышает надежность и эффективность работы стартового комплекса (СК), РН и КГЧ в целом. Полезная модель также может быть использована для автоматического поддержания заданных оптимальных температурно-влажностных режимов в отсеках РН инертным газообразным азотом высокого давления, одновременно обеспечивающим взрывопожаробезопасность и высокую надежность пусков РН с КГЧ на стартовом комплексе.

[3]

Известен наземный стартовый комплекс для предстартовой подготовки и пуска ракеты-носителя с пилотируемым космическим аппаратом, содержащий пусковой стенд, газоотражатель, газоотводный канал, гусеничный транспортер, кабель-заправочную башню, ресиверную сжатых газов, передвижную башню обслуживания, на которой размещены оборудование и магистрали подачи воздуха и азота низкого давления к ракетно-космической системе, системы заправки окислителем и горючим и все другое необходимое оборудование (см. книгу «Космодром». Под общей редакцией проф. А.П.Вольского. М: Воениздат, 1977, с.95-100; 229-232) [1].

[4]

К недостаткам наземного стартового комплекса можно отнести то, что передвижная башня обслуживания с магистралями подачи воздуха и азота отводится задолго до пуска, при этом преждевременно прерывается термостатирование, что приводит к нарушению температурно-влажностных режимов в отсеках РН и КГЧ с отрицательными последствиями. Кроме того, недостаточно высокая степень чистоты воздуха, подаваемого в РН с КГЧ (концентрация загрязнения воздуха аэрозольными частицами составляет порядка 2,0...3,0 мг/м3 и более), при определенных условиях может привести к засорению проходных сечений бортовой пневмокоммуникации, а также к загрязнению рабочей поверхности бортовой аппаратуры, приборов, систем и др., что снижает их надежность работы.

[5]

Известен наземный стартовый комплекс, содержащий стартовое устройство, хранилище жидких ракетных горючих, сооружения для заправки и слива компонентов

[6]

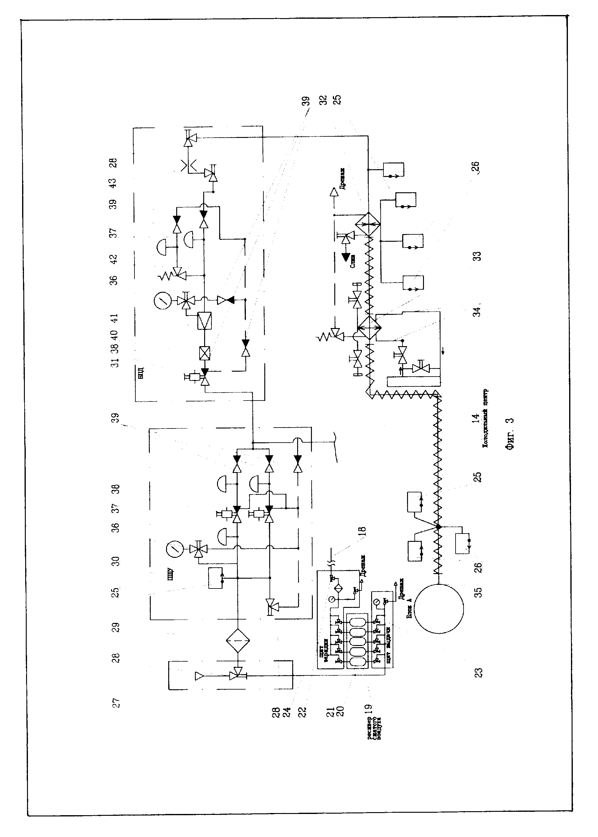
жидких ракетных топлив, систему пожаротушения с резервуаром для технической воды, систему структурирования азотосодержащих жидких ракетных горючих, включающую резервуары для хранения структурообразователя азотосодержащих жидких ракетных горючих и систему подачи структурообразователя в зону аварийного пролива горючего, имеющую коллекторы с распылителями структурообразователя, концентрически расположенные относительно стартового устройства (патент Ru 2094338, C1, B64G 5/00, 20.06.1994) [2].

[7]

Недостатками этого стартового комплекса являются:

[8]

- недостаточность спецтехнологического и общетехнического оборудования для предстартовой подготовки и пуска ракеты-носителя с КГЧ, так как с использованием данного стартового комплекса можно решать только часть задач, а именно: осуществить, например, заправку ракеты-носителя компонентами топлива, соблюдая при этом требования пожаровзрывобезопасности и экологической безопасности;

[9]

- низкая надежность и недостаточная эффективность стартового комплекса, обусловленные отсутствием, в частности, систем термостатирования воздухом высокого давления РН и КГЧ, а также системы термостатирования отсеков РН газообразным азотом высокого давления;

[10]

- отсутствие средств текущего контроля параметров: температуры, давления, влажности и чистоты термостатирующего воздуха.

[11]

Указанные недостатки существенно снижают надежность и эффективность работы наземного стартового комплекса и приводят к невозможности обеспечения высокой надежности пусков РН с КГЧ.

[12]

Дальнейший анализ патентов и научно-технической литературы [1...20 и др.] показал, что по технической сущности и достигаемому техническому результату наиболее близким к предлагаемой полезной модели является наземный стартовый комплекс для предстартовой подготовки и пуска ракеты-носителя «Восток» с космической головной частью, описанный в книгах «Космонавтика (энциклопедия)»

[13]

[3, с.44; 67-68; 152; 309-310; 383-384] и «Ракеты-носители» [4, с.19-22, рис.1. 2 - Ракета-носитель «Восток»]

[14]

Этот наземный стартовый комплекс содержит: транспортно-установочный агрегат на железнодорожном ходу, оборудованный гидросистемой и электрооборудованием; стартовое сооружение, которое является основным сооружением стартового комплекса и обеспечивает подготовку и пуск РН с КГЧ и размещение оборудования; односкатный газоотражатель с газоотводным каналом в виде лотка; стартовую систему для установки в нее РН «Восток», вертикализации и удержания РН с КГЧ в заданном положении в процессе предстартовой подготовки и пуска; кабель-заправочную мачту для подвода электрических кабелей, заправочных, пневматических, дренажных и прочих коммуникаций к верхним блокам РН и к КГЧ; верхнюю кабель-мачту, по которой проложены электрические кабели к верхним ступеням РН; нижние кабель-мачты для подведения электрических кабелей к хвостовой части РН; ферму (башню) обслуживания для подключения связей «земля-борт» к РН с КГЧ; кабину обслуживания для обслуживания хвостовой и донной частей РН; системы заправки окислителем и горючим; систему охлаждения горючего; оборудование хранилища газов - ресиверная сжатых газов (воздуха, азота, гелия); холодильный центр, обеспечивающий потребности стартового комплекса, РН и КГЧ в холоде; системы термостатирования воздухом низкого давления РН и КГЧ; общетехнические системы, включающие в себя: систему водоснабжения; систему оборотного водоснабжения для охлаждения холодильных машин и других агрегатов; систему промстоков; систему газоанализа помещений; средства грозозащиты и молниеотводы; средства связи и другие; вспомогательное оборудование, включающее в себя подвижные и стационарные системы водяного, газового и пенного пожаротушения и др.

[15]

Данный наземный стартовый комплекс выбран нами в качестве прототипа предлагаемой полезной модели.

[16]

Недостатком прототипа является то, что ферма (башня) обслуживания отводится от РН с КГЧ за значительное время до пуска и одновременно отстыковываются

[17]

связи систем термостатирования воздухом низкого давления от РН и КГЧ. В результате происходит преждевременное прекращение термостатирования РН и КГЧ на стартовом комплексе, что может привести к нарушению оптимальных температурно-влажностных режимов в отсеках РН и КГЧ, крайне необходимых для их нормального функционирования. Поддержание же указанных режимов за счет предварительного доведения температур конструкции и воздуха в отсеках РН и в КГЧ до более высоких значений не дает желаемых оптимальных результатов.

[18]

Техническим результатом полезной модели при ее использовании на ракетно-космических комплексах является повышение надежности и эффективности работы наземного стартового комплекса и обеспечение высокой надежности пусков ракет-носителей с космическими головными частями.

[19]

Поясним вкратце указанный технический результат.

[20]

Обеспечение высокой надежности пусков ракет-носителей с космическими головными частями возможно только при безотказной и надежной работе наземного стартового комплекса, ракеты-носителя и космической головной части, следовательно, полученный технический результат нельзя разделить на части, связанные с наземным стартовым комплексом, ракетой-носителем и космической головной частью, так как они тесно взаимосвязаны между собой, неразрывны с точки зрения достижения технического результата и их следует рассматривать как единую систему. Надежность такой системы зависит от надежности ее составляющих. Поэтому повышение надежности и эффективности работы наземного стартового комплекса непременно сказывается на надежности пусков ракет-носителей с космическими головными частями.

[21]

Таким образом, полезная модель направлена на получение единого технического результата, что не противоречит требованиям единства изобретения.

[22]

Указанный технический результат достигается благодаря тому, что наземный стартовый комплекс для предстартовой подготовки и пуска ракеты-носителя с космической головной частью, содержащий транспортно-установочный агрегат, стартовое сооружение, односкатный газоотражатель с газоотводным каналом,

[23]

стартовую систему, кабель-заправочную мачту, верхнюю кабель-мачту, нижние кабель-мачты, башню обслуживания, кабину обслуживания, системы заправки окислителем и горючим, систему охлаждения горючего, оборудование хранилища газов, холодильный центр, систему термостатирования воздухом низкого давления, общетехнические системы и вспомогательное оборудование, согласно полезной модели он дополнительно снабжен системой термостатирования воздухом высокого давления космической головной части с разгонным блоком и космическим аппаратом, которая включает в себя связанные с оборудованием хранилища газов магистральный трубопровод и ресивер сжатого воздуха, баллоны которого через щит зарядки и трубопровод с арматурой соединены с магистральным трубопроводом, а щит выдачи ресивера сжатого воздуха соединен с трубопроводом подачи воздуха в космическую головную часть, снабженным пробоотборным устройством, соединенным со счетчиком аэрозольных частиц, пневмощитом контроля кондиционности сжатого воздуха, средствами дистанционного контроля параметров - температуры и давления воздуха, а также штатным гигрометром для контроля влажности воздуха, подаваемого в космическую головную часть, который через пневмощит управления, блок понижения давления, нагреватель газов и охладитель воздуха, установленный в кольцевом контуре охлаждения холодильного центра, соединен с разъемным соединением блока А ракеты-носителя и посредством вертикального трубопровода на борту ракеты-носителя связан с космической головной частью, при этом трубопровод подачи воздуха в космическую головную часть на участке от нагревателя газов до блока А ракеты-носителя теплоизолирован.

[24]

Указанный технический результат достигается также благодаря тому, что наземный стартовый комплекс для предстартовой подготовки и пуска ракеты-носителя с космической головной частью, содержащий транспортно-установочный агрегат, стартовое сооружение, односкатный газоотражатель с газоотводным каналом, стартовую систему, кабель-заправочную мачту, верхнюю

[25]

кабель-мачту, нижние кабель-мачты, башню обслуживания, кабину обслуживания, системы заправки окислителем и горючим, систему охлаждения горючего, оборудование хранилища газов, холодильный центр, систему термостатирования воздухом низкого давления, общетехнические системы и вспомогательное оборудование, согласно полезной модели дополнительно снабжен системой термостатирования воздухом высокого давления отсеков ракеты-носителя, включающей в себя связанные с оборудованием хранилища газов магистральный трубопровод и ресивер сжатого воздуха, состоящий из баллонов, щит зарядки которых посредством трубопровода с арматурой связан с магистральным трубопроводом, а щит выдачи соединен с трубопроводом подачи воздуха в ракету-носитель с установленными на нем датчиками давлений и температур, который через входной пневмощит, фильтр, пневмощит управления, блок понижения давления, нагреватель газов и охладитель воздуха, расположенный в контуре охлаждения холодильного центра, соединен с разъемным соединением блока А ракеты-носителя и посредством бортовой коммуникации связан с приборным и межбаковым отсеками блока А и межбаковым и хвостовым отсеками блока И ракеты-носителя, при этом участок трубопровода подачи воздуха в ракету-носителя от нагревателя газов до блока А теплоизолирован.

[26]

Указанный технический результат достигается также и благодаря тому, что наземный стартовый комплекс для предстартовой подготовки и пуска ракеты носителя с космической головной частью, содержащий транспортно-установочный агрегат, стартовое сооружение, односкатный газоотражатель с газоотводным каналом, стартовую систему, кабель-заправочную мачту, верхнюю кабель-мачту, нижние кабель-мачты, башню обслуживания, кабину обслуживания, системы заправки окислителем и горючим, систему охлаждения горючего, оборудование хранилища газов, холодильный центр, систему термостатирования воздухом низкого давления, общетехнические системы и вспомогательное оборудование, согласно полезной модели снабжен системой термостатирования азотом высокого

[27]

давления отсеков ракеты-носителя, которая включает в себя связанные с оборудованием хранилища газов магистральный трубопровод и ресивер сжатого азота высокого давления, щит зарядки баллонов которого через трубопровод с арматурой связан с магистральным трубопроводом, а щит выдачи соединен с трубопроводом подачи азота высокого давления в ракету-носителя с установленными на нем датчиками давлений и температур, который через входной пневмощит с угловым вентилем, фильтр, пневмощит управления, блок понижения давления, нагреватель газов и охладитель азота, установленный в контуре охлаждения холодильного центра, соединен с разъемным соединением блока А ракеты-носителя и посредством бортовой коммуникации связан с приборным и межбаковым отсеками блока А и межбаковым и хвостовым отсеками блока И ракеты-носителя.

[28]

Сущность предлагаемых полезных моделей поясняется чертежами.

[29]

На фиг.1, 2, 3 и 4 представлены варианты выполнения наземного стартового комплекса для предстартовой подготовки и пуска РН с КГЧ.

[30]

Так как для всех вариантов прототип один и тот же, то фиг.1 является общей.

[31]

Фиг.1 и 2 - относятся к варианту 1;

[32]

Фиг.1 и 3 - к варианту 2;

[33]

Фиг.1 и 4 - к варианту 3.

[34]

На фиг.1 - показана структурная схема наземного стартового комплекса для предстартовой подготовки и пуска ракеты-носителя (РН) с космической головной частью (КГЧ) в момент времени после установки РН с помощью транспортно-установочного агрегата на стартовую систему, подведения башни обслуживания, подъема и стыковки КГЧ с РН.

[35]

На фиг.1 - позиции, которые невозможно было показать, заключены в квадратики.

[36]

На фиг.2 - изображена схема системы термостатирования воздухом высокого давления космической головной части.

[37]

На фиг.3 - схема системы термостатирования воздухом высокого давления отсеков ракеты-носителя.

[38]

На фиг.4 - схема системы термостатирования азотом высокого давления отсеков ракеты-носителя.

[39]

Вариант 1

[40]

Наземный стартовый комплекс для предстартовой подготовки и пуска ракеты-носителя с космической головной частью (фиг.1) содержит ракету-носитель 1 (с боковыми блоками конической формы), космическую головную часть 2 (включающую головной обтекатель, космический аппарат и при необходимости разгонный блок "Фрегат"), транспортно-установочный агрегат.3, стартовое сооружение 4, односкатный газоотражатель 4а с газоотводным каналом, стартовую систему 5, кабель-заправочную мачту 6, верхнюю кабель-мачту 7, нижние кабель-мачты 7а, башню обслуживания 8, кабину обслуживания 9, системы заправки окислителем 10 и горючим 11, систему охлаждения горючего 12, оборудование хранилища газов 13, холодильный центр 14, систему термостатирования воздухом низкого давления 15 космической головной части 2, общетехнические системы 16 и вспомогательное оборудование 17.

[41]

Наземный стартовый комплекс для предстартовой подготовки и пуска ракеты-носителя 1 с космической головной частью 2 дополнительно снабжен системой термостатирования воздухом высокого давления космической головной части 2 (фиг.2), которая включает в себя связанные с оборудованием хранилища газов 13 магистральный трубопровод 18 и ресивер сжатого воздуха 19, баллоны 20 которого через щит зарядки 21 и трубопровод 22 с арматурой соединены с магистральным трубопроводом 18, а щит выдачи 23 ресивера сжатого воздуха 19 соединен с трубопроводом подачи воздуха 24 в космическую головную часть 2,

[42]

снабженным пробоотборным устройством 25, соединенным со счетчиком 26 аэрозольных частиц, пневмощитом 27 контроля кондиционности сжатого воздуха, средствами дистанционного контроля параметров - температуры 28 и давления 29 воздуха, а также штатным гигрометром 30 для контроля влажности воздуха, подаваемого в космическую головную часть 2, который через пневмощит управления 31, блок понижения давления 32, нагреватель 33 газов и охладитель 34 воздуха, установленный в кольцевом контуре 35 охлаждения холодильного центра 14, соединен с разъемным соединением 36 блока А ракеты-носителя 1 и посредством вертикального трубопровода (на фиг.1 вертикальный трубопровод условно не показан) на борту ракеты-носителя 1 связан с космической головной частью 2, при этом трубопровод подачи воздуха 24 в космическую головную часть 2 на участке от нагревателя 33 газов до блока А ракеты-носителя 1 теплоизолирован. Пробоотборное устройство 25 включает в себя связанный с зондом, установленным в трубопроводе подачи воздуха 24, пробоотборный трубопровод 37, запорный вентиль 38, дроссель 39, коническую камеру 40 и пробозаборный патрубок 41, связанный с оптико-электронным аэрозольным счетчиком ОЭАС 26.

[43]

Трубопровод подачи воздуха 24 в космическую головную часть 2 через угловой вентиль 42 соединен с пневмощитом управления 31, в котором установлены фильтр 43, датчик давления 44, манометровый вентиль 45, реле давления 46, электропневмоклапан 47, обратный клапан 48.

[44]

В блоке понижения давления 32 расположены: электропневмоклапан 47, дроссельный клапан 49, газовый редуктор 50, понижающий давление, например, от 40 МПа до 6 МПа, предохранительный клапан 51, обратный клапан 48, дроссель 52, угловой вентиль 42.

[45]

Вариант 2

[46]

Наземный стартовый комплекс для предстартовой подготовки и пуска ракеты-носителя с космической головной частью (фиг.1) содержит ракету-носитель 1 (с боковыми блоками конической формы), космическую головную часть 2, транспортно-установочный

[47]

агрегат 3, стартовое сооружение 4, односкатный газоотражатель с газоотводным каналом 4а, стартовую систему 5, кабель-заправочную мачту 6, верхнюю кабель-мачту 7, нижние кабель-мачты 7а, башню обслуживания 8, кабину обслуживания 9, системы заправки окислителем 10 и горючим 11, систему охлаждения горючего 12, оборудование хранилища газов 13, холодильный центр 14, систему термостатирования воздухом низкого давления 15 РН 1, общетехнические системы 16 и вспомогательное оборудование 17.

[48]

Наземный стартовый комплекс для предстартовой подготовки и пуска ракеты-носителя с космической головной частью (фиг.1, 3) дополнительно снабжен системой термостатирования воздухом высокого давления отсеков РН 1, включающей связанные с оборудованием хранилища газов 13 магистральный трубопровод 18 и ресивер 19 сжатого воздуха с баллонами. Щит зарядки 21 баллонов 20 посредством трубопровода 22 с арматурой связан с магистральным трубопроводом 18. Щит выдачи 23 соединен с трубопроводом 24 подачи воздуха в ракету-носитель 1, на котором установлены датчики давлений 25 и температур 26.

[49]

Трубопровод 24 подачи воздуха в РН 1 через входной пневмощит 27, угловой вентиль 28, фильтр 29, пневмощит управления 30, блок 31 понижения давления, нагреватель 32 газов и охладитель 33 воздуха, расположенный в контуре 34 охлаждения холодильного центра 14, соединен с разъемным соединением 35 блока А ракеты-носителя 1 и посредством бортовой коммуникации связан с приборным и межбаковым отсеками блока А и межбаковым и хвостовым отсеками блока И ракеты-носителя 1.

[50]

При этом участок трубопровода 24 подачи воздуха в ракету-носитель 1 от нагревателя 32 газов до блока А теплоизолирован.

[51]

Пневмощит управления 30 (фиг.3) включает в себя: угловой вентиль 28, манометровый вентиль 36, реле давления 37, электропневмоклапан 38 и обратный клапан 39. Блок 31 понижения давления содержит электропневмоклапан 38, дроссельный клапан 40, газовый редуктор 41, манометровый вентиль 36, предохранительный клапан 42, реле давления 37, обратный клапан 39 и дроссель 43.

[52]

Вариант 3

[53]

Наземный стартовый комплекс для предстартовой подготовки и пуска ракеты-носителя с космической головной частью (фиг.1) содержит ракету-носитель 1, космическую головную часть 2, транспортно-установочный агрегат 3, стартовое сооружение 4, односкатный газоотражатель с газоотводным каналом 4а, стартовую систему 5, кабель-заправочную мачту 6, верхнюю кабель-мачту 7, нижние кабель-мачты 7а, башню обслуживания 8, кабину обслуживания 9, системы заправки окислителем 10 и горючим 11, систему охлаждения горючего 12, оборудование хранилища газов 13, холодильный центр 14, систему термостатирования воздухом низкого давления 15 РН 1, общетехнические системы 16 и вспомогательное оборудование 17.

[54]

Наземный стартовый комплекс для предстартовой подготовки и пуска ракеты-носителя с космической головной частью (фиг.1, 4) снабжен системой термо-статирования азотом высокого давления отсеков ракеты-носителя 1, которая включает в себя связанные с оборудованием хранилища газов 13 магистральный трубопровод 18 и ресивер 19 сжатого азота высокого давления

[55]

Щит 20 зарядки баллонов 21 ресивера 19 сжатого азота высокого давления через трубопровод 22 с арматурой связан с магистральным трубопроводом 18, а щит 23 выдачи соединен с трубопроводом 24 подачи азота высокого давления в ракету-носитель 1, на котором установлены датчики давлений 25 и температур 26. Трубопровод 24 подачи азота высокого давления в ракету-носитель 1 через входной пневмощит 27 с угловым вентилем 28, фильтр 29, пневмощит управления 30, блок понижения 31 давления, нагреватель 32 газов и охладитель азота 33, установленный в контуре 34 охлаждения холодильного центра 14, соединен с разъемным соединением 35 блока А ракеты-носителя 1 и посредством бортовой коммуникации связан с приборным и межбаковым отсеками блока А и межбаковым и хвостовым отсеками блока И ракеты-носителя 1.

[56]

Пневмощит управления 30 (фиг.4) включает в себя: датчик давления 25, угловой вентиль 28, манометровый вентиль 36, реле давления 37, электропневмо-клапан 38 и обратный клапан 39.

[57]

В блоке понижения 31 давления расположены: электропневмоклапан 38, дроссельный клапан 40, газовый редуктор 41, понижающий входное давление, например, от 40 МПа до заданной величины (9±1 МПа), манометровый вентиль 36, предохранительный клапан 42, реле давления 37, обратный клапан 39, угловой вентиль 28 и дроссель 43.

[58]

На предлагаемом наземном стартовом комплексе (с участием всех вариантов полезной модели) предстартовую подготовку и пуск ракеты-носителя с космической головной частью осуществляют по циклограмме (программе) пуска ракеты-носителя с пульта оператора с помощью автоматизированной системы управления технологическим оборудованием стартового комплекса - АСУ ТО СК.

[59]

АСУ ТО СК обеспечивает: автоматическое и ручное дистанционное управление исполнительными элементами технологических систем и агрегатов; автоматическое и ручное дистанционное управление электроприводами и электронагревателями технологических систем и агрегатов через низковольтные комплектные устройства (НКУ), входящие в состав АСУ ТО СК; дистанционный контроль и отображение на рабочем месте оператора информации о состоянии исполнительных элементов технологических систем и агрегатов; измерение текущих значений параметров и сигнализацию об отключении их значений; функционирование блокировок безопасности; дистанционное включение (отключение) питания; обмен информацией со смежными системами и др.

[60]

Предлагаемая полезная модель (с учетом всех ее вариантов) может быть использована как на российских стартовых комплексах, так и на стартовом комплексе РН "Союз-СТ" в Гвианском космическом центре.

[61]

Известны два варианта сборки и установки РН с КГЧ на стартовую систему. Первый вариант применяется на российских стартовых комплексах, а второй - на стартовом комплексе РН "Союз-СТ" в Гвианском космическом центре.

[62]

По первому варианту на техническом комплексе полностью собранную и испытанную в горизонтальном положении ракету-носитель 1 с помощью кранов и траверс перекладывают на транспортно-установочный агрегат 3. Затем тщательно собранный, испытанный и заправленный (на заправочной станции технического комплекса) компонентами топлива и сжатыми газами космический аппарат 2 и разгонный блок "Фрегат", установленные в космической головной части (КГЧ), пристыковывают к ракете-носителю 1, закрепляют на транспортно-установочном агрегате 3 и транспортируют на стартовый комплекс, где РН с КГЧ с помощью транспортно-установочного агрегата устанавливают на стартовую систему в положение пуска. Далее подключают связи "Земля - борт". Для обслуживания РН на российских СК применяется поворотная ферма обслуживания.

[63]

По второму варианту на техническом комплексе тщательно собранную ракету-носитель 1 без космической головной части устанавливают на транспортно-установочный агрегат 3, закрепляют и транспортируют в горизонтальном положении на стартовый комплекс, где с помощью транспортно-установочного агрегата 3 ее поднимают в вертикальное положение и устанавливают на стартовую систему 5. Затем к РН подводят мобильную башню обслуживания.

[64]

На заправочной станции технического комплекса установленные в космической головной части космический аппарат 2 и разгонный блок "Фрегат" заправляют компонентами топлива и сжатыми газами.

[65]

Затем космическую головную часть в вертикальном положении на транспортной тележке доставляют на стартовый комплекс, где с помощью крана мобильной башни обслуживания ее поднимают по направляющим и устанавливают на подставку на площадке на уровне 27 м для снятия транспортной крышки и подключения системы термостатирования воздухом низкого давления.

[66]

После этого космическую головную часть пристыковывают к ракете-носителю, осуществляют проверку и, используя поворотный круг и гидродомкраты подвесок, производят верти кализацию РН с КГЧ.

[67]

Далее к бортовым разъемным соединениям ракеты-носителя подсоединяют наземные электро-, пневмо- и гидрокоммуникации, то есть подключают все связи "земля - борт", используя для этого нижние кабель-мачты, верхнюю кабель-мачту, кабель-заправочную мачту, башню обслуживания и кабину обслуживания.

[68]

После обслуживания хвостовой и донной частей ракеты-носителя перед пуском РН с КГЧ кабину обслуживания отводят в нишу стартового сооружения по рельсовому пути и предохраняют теплозащитной шторой от воздействия газовых струй ракетных двигателей.

[69]

После сборки РН с КГЧ на стартовой системе и установки ее в положение пуска включают в работу системы термостатирования отсеков РН и КГЧ воздухом низкого давления.

[70]

Система термостатирования КГЧ воздухом низкого давления имеет в своем составе воздуходувки (вентиляторы), трубопровод подачи воздуха с арматурой, фильтры, воздухоохладители, электронагреватели и другое необходимое оборудование.

[71]

Контроль температуры и чистоты термостатирующего воздуха, подаваемого в КГЧ, производят вблизи люков КГЧ.

[72]

Систему термостатирования КГЧ воздухом низкого давления отключают при отводе башни обслуживания и включают систему термостатирования воздухом высокого давления космической головной части (фиг.1, 2, вариант 1). Последнюю отключают по команде "земля-борт" непосредственно перед командой "Контакт подъема".

[73]

В процессе термостатирования воздухом высокого давления КГЧ производят контроль чистоты, кондиционности, влажности, температуры и давления воздуха, подаваемого в КГЧ.

[74]

В состав системы термостатирования РН воздухом низкого давления входят вентиляторы для подачи воздуха с необходимыми параметрами (давлением, расходом, температурой), воздушные фильтры, очищающие атмосферный воздух от механических примесей, пылевых частиц и коррозионно-активных агентов с чистотой

[75]

фильтрации не менее 20 мкм, холодильные машины, охладители воздуха, электронагреватели и другое необходимое оборудование. Контроль и регистрацию температуры термостатирующего воздуха производят вблизи люков РН. За 3,5 часа до команды "Контакт подъема" систему термостатирования РН воздухом низкого давления отключают и включают систему термостатирования воздухом высокого давления отсеков ракеты-носителя (фиг.1, 3, вариант 2).

[76]

За 15 минут до команды "Контакт подъема" включают в работу систему термостатирования азотом высокого давления отсеков ракеты-носителя (фиг.1, 4, вариант 3). Массовый расход азота, подаваемого на термостатирование отсеков блоков А и И ракеты-носителя при температуре от 20 до 50°С составляет, например, 0,33±0,02 кг/с; давление азота на входе в РН равно 9±1 МПа.

[77]

Перед заправкой РН жидким кислородом производится охлаждение коммуникаций системы заправки и баков РН. Заправка и подпитка блоков А, Б, В, Г, Д и блока III ступени РН жидким кислородом осуществляются путем вытеснения жидкого кислорода из резервуаров хранилища газообразным кислородом, получаемым с помощью испарителя жидкого кислорода.

[78]

Температура жидкого кислорода на входе в баки блоков РН не более 92 К.

[79]

Давление наддува резервуаров хранилища находится, например, в пределах 0,8-1,0 МПа.

[80]

Перед заправкой РН горючим - керосином Т-1 - систему заправки приводят в готовность. С помощью системы охлаждения керосин Т-1 охлаждают до требуемой температуры.

[81]

Система заправки блоков А, Б, В, Г, Д ракеты-носителя горючим - керосином Т-1 состоит из подвижной и неподвижной (стационарной) частей. Подвижную часть составляет железнодорожный заправщик, имеющий в своем составе насосную установку, цистерны, трубопроводы с арматурой и все необходимое оборудование.

[82]

Стационарная часть расположена в стартовом сооружении. Заправочная колонка установлена на нулевой отметке стартового сооружения, а коммуникация

[83]

для отвода паров от дренажно-предохранительного клапана (ДПК) блока А ракеты-носителя - на башне обслуживания.

[84]

Железнодорожный заправщик подсоединяют к заправочной колонке.

[85]

В системе заправки установлен фильтр с тонкостью фильтрации 70 мкм.

[86]

Блок И ракеты-носителя заправляется керосином Т-1 с помощью автозаправщика через фильтр с тонкостью фильтрации 20 мкм.

[87]

В двух отсеках автозаправщика установлено все необходимое оборудование.

[88]

Оборудование хранилища газов в процессе предстартовой подготовки к пуску РН с КГЧ обеспечивает сжатыми газами - воздухом, азотом и гелием - всех потребителей на стартовом комплексе; сжатые газы используют для управления клапанами, зарядки и подпитки бортовых баллонов ракеты-носителя с КГЧ, наддува баков окислителя и горючего перед стартом, термостатирования воздухом высокого давления КГЧ (вариант 1) и РН (вариант 2), термостатирования азотом высокого давления отсеков ракеты-носителя (вариант 3), а также для работы системы эжекции и др.

[89]

Оборудование хранилища газов состоит из: баллонов со сжатыми газами, пневмощитов зарядки и выдачи азота и воздуха, пневмощита зарядки и выдачи гелия, пневмощитов контроля давления газов, контроля качества газов, магистральных трубопроводов с арматурой и др.

[90]

Холодильный центр обеспечивает нормальную работу охладителей газов (воздуха, азота) в процессе термостатирования КГЧ и РН.

[91]

Общетехнические системы в процессе предстартовой подготовки РН с КГЧ к пуску постоянно включены в работу для водоснабжения стартового комплекса и создания нормальных условий для работы обслуживающего персонала.

[92]

Вспомогательное оборудование используется для проведения вспомогательных операций, возникающих в ходе предстартовой подготовки.

[93]

Проводят комплексные испытания и проверки ракеты-носителя и космической головной части перед пуском и в аппаратуру системы управления вводят полетное задание.

[94]

После завершения всех технологических операций предстартовой подготовки команда на пуск подается руководителем пуска в соответствии с установленной программой пуска РН и на основе информации о состоянии и готовности всех систем и агрегатов стартового комплекса.

[95]

Включают многоканальную систему регистрации и записи контролируемых параметров всех бортовых систем РН и стартового комплекса. Топливные магистрали РН продуваются азотом, закрываются дренажные коммуникации баков окислителя и горючего всех ступеней РН, прекращается подпитка баков жидким кислородом, производится предстартовый наддув баков РН сжатыми газами.

[96]

Включаются бортовые системы управления и источники питания. Отводятся кабель-заправочная мачта, а затем и верхняя кабель-мачта. Прекращается всякая связь с бортом РН. Последняя находится в режиме автономного управления, питание всех систем осуществляется от борта РН. Включается зажигание, начинает работать ТНА. В камерах создают факел пламени.

[97]

Контролируют выход ракетных двигателей на режим и момент отрыва РН с КГЧ от стартовой системы.

[98]

Прохождение операций отображается на пульте пуска и сопровождается командами "Наддув", "Контакт", "Земля-борт", "Зажигание" и др.

[99]

Подается команда на отстыковку и отброс быстроразъемных соединений.

[100]

Подвижные элементы стартовой системы (опорные фермы, несущие стрелы и направляющие устройства) отводятся от РН при ее движении.

[101]

В момент отрыва РН от опор стартовой системы срабатывает датчик контакта подъема ("КП") и на пульте пуска загорается транспарант "Старт".

[102]

Тяга двигателей увеличивается, и ракета-носитель с космической головной частью выходит из зоны возможного соударения с элементами стартовой системы.

[103]

Газовая струя при пуске ракеты-носителя отводится по односкатному газоотражателю и газоотводному каналу лоткового типа.

[104]

Предлагаемый наземный стартовый комплекс для предстартовой подготовки и пуска ракеты-носителя с космической головной частью позволяет:

[105]

- проводить (в отличие от аналогов и прототипа) термостатирование воздухом высокого давления космической головной части (вариант 1) и отсеков ракеты-носителя (вариант 2) в автоматическом режиме практически до момента пуска (систему термостатирования воздухом высокого давления КГЧ отключают по команде "Земля-борт" за примерно 42 с до команды "Контакт подъема" ("КП"), а систему термостатирования воздухом высокого давления отсеков ракеты-носителя отключают по команде "Наддув" за примерно 2,5 мин до команды "КП"), что повышает надежность и эффективность работы аппаратуры, приборов, агрегатов и систем, установленных на борту РН и КГЧ, как на стартовом комплексе, так и в космосе, обеспечивая выполнение космических программ;

[106]

- автоматически поддерживать заданные оптимальные температурно-влажностные режимы в отсеках ракеты-носителя инертным газообразным азотом высокого давления, что повышает надежность и эффективность функционирования бортовой аппаратуры и систем РН и одновременно обеспечивает взрыво-пожаро-безопасность, высокую надежность и безопасность пусков РН с КГЧ на стартовом комплексе.

[107]

Проведенные на аналогичном стартовом комплексе 17П32-6 эксперименты показали [20], что чистота термостатирующего воздуха высокого давления, подаваемого в космическую головную часть, по степени загрязнения органическими веществами составила (1...2)•10-8 г/см2, что на порядок лучше, чем по сравнению с требованиями спецификаций Европейского космического агентства (ESA pss-01-201, ESA pss-01-705), по которым загрязнение не должно превышать величины 2•10-7г/cм2 [20].

[108]

Проверялось также аэрозольное загрязнение термостатирующего воздуха. При этом чистота термостатирующего воздуха сравнивалась с данными Федерального

[109]

стандарта США (FED.STD-209E) и составила 250 частиц в одном литре, размер частиц 0,5 мкм, а по Федеральному стандарту США 3530 частиц в одном литре, то есть по предлагаемой полезной модели воздух, подаваемый в КГЧ, в 14 раз чище, и обладает сверхвысокой частотой.

[110]

Это крайне важно, так как попадание такого воздуха, например, на поверхность солнечных батарей не вызовет негативных последствий, тогда как попадание загрязненного воздуха приведет к тому, что солнечные батареи в космосе не могут выйти на расчетный режим мощности со всеми вытекающими отсюда отрицательными последствиями.

[111]

Еще одним преимуществом предлагаемого стартового комплекса (по сравнению с аналогами и прототипом) является то, что он будет построен в Гвианском космическом центре, расположенном ближе к экватору (5° северной широты), что позволяет вывести на орбиту больше полезного груза (вместо, например, одного космического аппарата, несколько космических аппаратов), что повышает эффективность ракеты-носителя и стартового комплекса в целом.

[112]

Сравнительный анализ предлагаемой полезной модели с известными стартовыми комплексами показал, что предлагаемый стартовый комплекс по техническому уровню превосходит все известные отечественные и зарубежные стартовые комплексы ракет-носителей космического назначения.

[113]

Таким образом, совокупность неразрывно связанных между собой существенных признаков, изложенных в формуле полезной модели,

[114]

позволяет получить существенный технический результат,

[115]

а именно: повысить надежность и эффективность работы стартового комплекса и обеспечить высокую надежность пусков ракет-носителей с космическими головными частями.

[116]

Предлагаемые полезные модели будут использованы в полном объеме на стартовом комплексе ракеты-носителя "Союз-СТ" в Гвианском космическом центре, а также на российских стартовых комплексах для ракет-носителей типа "Союз-2".

[117]

ИСТОЧНИКИ ИНФОРМАЦИИ

[118]

1. Космодром. Под общей редакцией проф. А.П.Вольского. М.: Воениздат, 1977, с.81, таблица 3.1; с.92-100; 229-232 - аналог

[119]

2. RU 2094338, C1, B64G 5/00, 20.06.1994 - аналог.

[120]

3. Космонавтика. Энциклопедия. М.: Советская энциклопедия, 1985, с, 44; 67-68; 152; 309-310; 383-384 - Наземный стартовый комплекс для предстартовой подготовки и пуска ракеты-носителя "Восток" с КГЧ - прототип.

[121]

4. Ракетно-космический комплекс. Ракеты-носители. Под общей редакцией проф. С.О.Осипова. М.: Воениздат, 1981, с.19-20 - ракета-носитель "Восток"

[122]

5. Актуальные проблемы российской космонавтики. Материалы XXX академических чтений по космонавтике. (Москва, январь 2006), с.235 - аналог.

[123]

6. Михайлов В.П., Назаров Г.А. Космические стартовые комплексы. М.: 1979, с.10-20 - аналоги.

[124]

7. Ru 2242411, С2, B64G 5/00, 18.03.2003 - аналог.

[125]

8. Ru 2270792, C1, B64G 5/00, 05.08.2004 - аналог.

[126]

9. US 4932607, B64G 5/00, 02.08.1989 - аналог.

[127]

10. FR 2635500, А1, B64G 5/00, 23.02.1990 - аналог.

[128]

11. Austr. 631804, B64G 5/00, 1990 - аналог.

[129]

12. Ru 2099255, C1. B64G 5/00, 20.12.1997 - аналог.

[130]

13. Ru 2158421, С2, B64G 5/00, 27.10.2000 - аналог.

[131]

14. US PCT (US-98) 15899, B64G 5/00, 27.07.1998 - аналог.

[132]

15. US 5042358, 5B63B 35/40, F41F 3/042 - аналог не обнаружен.

[133]

16. FR 2595318, B64G 5/00, 02.03.1987 - аналог не обнаружен.

[134]

17. Ru 2094337, C1. B64G 5/00, 27.10.1997 - аналог.

[135]

18. На земле и в космосе. ФГУП "КБОМ им. В.П.Бармина". Под общей редакцией д.т.н., проф. И.В.Бармина. М.: КБОМ, 2001, с.141-143; 158-160 - аналоги.

[136]

19. Воронин Б.П., Столяров Н.А. Подготовка к пуску и пуск ракет. М: Воениздат, 1972, с 41-74 - аналоги.

[137]

20. Программа и методика проведения экспериментальных работ по определению степени чистоты воздуха систем термостатирования на СК 17П32-6. М.: 2002, КБОМ.

Как компенсировать расходы
на инновационную разработку
Похожие патенты