патент
№ RU 70965
МПК F23R7/00

ДЕТОНАЦИОННАЯ ЭНЕРГЕТИЧЕСКАЯ УСТАНОВКА

Авторы:
Василевский Степан Иванович (UA)
Правообладатель:
Все (2)
Номер заявки
2007143064/22
Дата подачи заявки
22.11.2007
Опубликовано
20.02.2008
Страна
RU
Как управлять
интеллектуальной собственностью
Чертежи 
1
Реферат

[1]

Полезная модель относится к теплоэнергетике. Детонационная энергетическая установка содержит камеру сгорания, устройства дозированного ввода топлива дозированной подачи окислителя в полость камеры сгорания и искрообразующее устройство для поджигания топливной смеси, сопло, сообщенное с ресивером со стороны большего сечения, газоводы, сообщающие камеру сгорания с ресивером, и устройства, обеспечивающие однонаправленное перемещение газовых потоков. Устройства дозированного ввода топлива и дозированной подачи окислителя сообщены каналами с источниками водорода и кислорода соответственно. Установка снабжена электроискровыми разрядниками, смонтированными в каналах сообщения источников водорода и кислорода соответственно с устройствами дозированного ввода топлива и дозированной подачи окислителя для разложения водорода на атомы на участке ввода топлива в устройство дозированного ввода топлива и образования в кислороде озона на участке ввода окислителя в устройство дозированной подачи окислителя. Установка выполнена с двумя оппозитно расположенными и прикрепленными к корпусу камеры сгорания газоводами, каждый из которых представляет собой замкнутую оболочку, разделенную на две камеры, и внутри одной камеры из которых размещены параллельно расположенные трубки, сообщенные с одного конца с полостью корпуса камеры сгорания, а с другой стороны - с другой камерой в этой оболочке, которая через устройство, обеспечивающее однонаправленное перемещение газовых потоков, образованных в результате взрыва в камере сгорания, сообщена с соответствующим ресивером, а ресиверы обоих газоводов сообщены между собой и с магистралью выдачи водяного газа под давлением источнику потребления. 1 ил.

Формула изобретения

1. Детонационная энергетическая установка, содержащая камеру сгорания, представляющую собой полый корпус, устройство дозированного ввода топлива в полость корпуса, устройство дозированной подачи окислителя в полость корпуса и искрообразующее устройство для поджигания топливной смеси, сопло, сообщенное с ресивером со стороны большего сечения, газоводы, сообщающие камеру сгорания с ресивером, и устройства, обеспечивающие однонаправленное перемещение газовых потоков, при этом устройства дозированного ввода топлива и дозированной подачи окислителя сообщены каналами с источниками водорода и кислорода соответственно, отличающаяся тем, что она снабжена электроискровыми разрядниками, смонтированными в каналах сообщения источников водорода и кислорода соответственно с устройствами дозированного ввода топлива и дозированной подачи окислителя для разложения водорода на атомы на участке ввода топлива в устройство дозированного ввода топлива и образования в кислороде озона на участке ввода окислителя в устройство дозированной подачи окислителя, при этом установка выполнена с двумя оппозитно расположенными и прикрепленными к корпусу камеры сгорания газоводами, каждый из которых представляет собой замкнутую оболочку, разделенную на две камеры, и внутри одной камеры из которых размещены параллельно расположенные трубки, сообщенные с одного конца с полостью корпуса камеры сгорания, а с другой стороны - с другой камерой в этой оболочке, которая через устройство, обеспечивающее однонаправленное перемещение газовых потоков, образованных в результате взрыва в камере сгорания, сообщена с соответствующим ресивером, а ресиверы обоих газоводов сообщены между собой и с магистралью выдачи водяного газа под давлением источнику потребления.

2. Детонационная энергетическая установка по п.1, отличающаяся тем, что в качестве источника водорода и кислорода использовано устройство электролитического разделения воды на водород и кислород.

3. Детонационная энергетическая установка по п.1, отличающаяся тем, что в качестве источника водорода и кислорода использованы баллоны с водородом и с кислородом.

4. Детонационная энергетическая установка по п.1, отличающаяся тем, что в качестве источника водорода и кислорода использована система централизованной подачи водорода и кислорода.

Описание

[1]

Полезная модель относится к теплоэнергетике и может быть использована на электрических станциях, промышленных предприятиях и в отопительных котельных. В частности, полезная модель касается конструкции установки по получению высокопотенциальных газообразных продуктов сгорания горючего топлива для целей их дальнейшего использования и преобразования в другие виды энергии. Такая установка может рассматриваться в качестве автономного энергетического модуля, который можно устанавливать на отдельной площадке в местах, к которым затруднен централизованный подвод энергии.

[2]

В настоящее время автономные источники энергии строятся либо на использовании ДВС с присоединенным к нему генератором электрического тока, либо на использовании ветровых установок, обеспечивающих привод вращения ротора генератора электрического тока. В первом случае, установка не обладает достаточной мощностью и не является экономичной, так как ДВС в постоянном режиме работы расходует чрезвычайно большое количество топлива (мазута). Во втором случае, получение электрической энергии полностью зависит от погодных условий, что не позволяет рассматривать такой способ получения энергии как стабильный.

[3]

В рамках настоящей полезной модели рассматривается энергетическая установка, работающая на принципе детонации газовой смеси в детонационной камере сгорания, продукты сгорания которой используются в качестве рабочего тела для обеспечения привода энерговырабатывающего устройства. При этом также рассматривается вопрос получения компонентов топлива в условиях, при которых доставка этих компонентов из централизованных пунктов невозможна или ограничена.

[4]

Известны детонационные камеры сгорания, в которых инициирование газовой горючей смеси (ГГС) производится с помощью взрыва тонкой электропроводящей проволочки при пропускании по ней электрического тока. Однако в этом случае необходимо после каждого акта инициирования производить замену инициирующей проволоки, что не позволяет осуществлять

[5]

процесс детонации в циклическом режиме с большой частотой следования циклов (SU №840441, F23R 7/00, 1979).

[6]

Известны также детонационные камеры сгорания, в которых инициирование ГГС осуществляется в циклическом режиме с заданной частотой следования циклов путем инициирования смеси с помощью электрического разряда на свече зажигания, установленной в корпусе детонационной камеры сгорания в месте подвода ГГС. При этом свеча зажигания снабжена двумя электродами, на которые подают напряжение от внешнего высоковольтного импульсного источника. При достижении определенной разности потенциалов на электродах свечи между ними происходит искровой разряд, от которого ГГС поджигается. В процессе горения пламя ускоряется по каналу детонационной камеры сгорания и горение переходит в детонацию (SU №1464626, F23R 7/00, 1987).

[7]

Недостатком известных камер сгорания является невозможность инициирования потока ГГС, движущегося по каналу детонационной камеры сгорания со скоростью более 4-5 м/с, так как в этом случае искру "сдувает", т.е. теплоотвод от искрового разряда таким потоком настолько велик, что искра не успевает нагреть нужный объем ГГС до температуры воспламенения. Таким образом, у известных детонационных камер сгорания низкая надежность за счет нестабильного зажигания горючей смеси. Кроме того, отсутствует обратный клапан, установленный на выходе патрубка ввода смеси. Отсутствие клапана создает возможность в момент инициирования перетекать образующимся продуктам сгорания в магистраль подвода ГГС, что в свою очередь снижает давление продуктов сгорания в области инициирования и, как следствие, создает условия для погашения пламени, а также существенно ухудшает условия перехода горения в детонацию.

[8]

Существенным параметром таких камер является формирование газов под давлением (продуктов сгорания), которые можно использовать в качестве рабочего агента для процесса преобразования механической энергии в электрическую. Получение газов, находящихся в состоянии высокого давления,

[9]

является основополагающим для решения вопроса экономичности и эффективности газогенераторов.

[10]

Известен двухкамерный пульсирующий газогенератор (SU №363738, C10J 3/20, 1973), содержащий две одинаковые камеры с соплами и патрубками для подвода и отвода рабочей среды, соединение U-образным газодинамическим каналом и боковым топливоподводом и снабженные соплами с волновыми трубами, причем камеры, газодинамический канал, волновые трубы и сопла расположены на одной оси. Камеры срабатывают поочередно. Когда в одной давление нарастает, в другой возникает разрежение.

[11]

Недостатком этого устройства являются малая мощность и эффективность.

[12]

Известен пульсирующий газогенератор, содержащий две осесимметричные камеры сгорания, связанные между собой двумя U-образными газоводами, в середине каждого из которых установлена форсунка, подключенная к баку с компонентом топлива, запальное устройство и U-образные патрубки, расположенные в плоскости U-образных газоводов (SU №1331182, F02C 5/00, 1985).

[13]

Наиболее близким по технической сущности является пульсирующий газогенератор, содержащий две осесимметричные камеры сгорания, связанные между собой двумя U-образными газоводами, в середине каждого из которых установлена форсунка, подключенная к баку с компонентом топлива, запальное устройство и U-образные патрубки, расположенные в плоскости U-образных газоводов, при этом газогенератор выполнен с ресивером в виде камеры сгорания с соплом, который соединен с каждой камерой сгорания соответствующим U-образным патрубком, причем обе камеры сгорания объединены общей оболочкой, выполненной в виде эллипсоида вращения, и разделены центральной перегородкой в виде двояковогнутой линзы, при этом перегородка, форсунка и ресивер расположены на одной оси.

[14]

При этом срезы концевых участков U-образных патрубков симметрично утоплены в ресивере, обращены друг к другу и выполнены в виде газозаборных динамических насадков, при этом ресивер соединен с полостью наддува

[15]

каждого бака соответствующими дополнительными трубопроводами, в которых установлены обратные клапаны. Особенностью является то, что длина каждого U-образного газовода больше длины U-образного патрубка, их поперечные сечения прямоугольны, а площадь поперечного сечения U-образного газовода не меньше площади поперечного сечения U-образного патрубка (RU №2026514, F23R 7/00, F02C 5/00, опубл. 1995.01.09). Данное решение принято в качестве прототипа для заявленного объекта.

[16]

Недостатком прототипа является недостаточная экономичность и малая мощность ввиду невозможности получения газов высокого давления. При работе на жидких компонентах топлива и окислителя не учитываются их особенности как смеси, позволяющей получить на выходе высокое давление газов от взрыва и не учитываются особенности получения этих компонентов в условиях, удаленных от источников возможного получения топлива и окислителя. Данное устройство больше работает как двигатель, чем генератор выработки рабочего агента.

[17]

Настоящая полезная модель направлена на решение технической задачи по использованию детонационного способа цикличного сгорания топливной смеси, образованной из водорода и кислорода для получения парового потока высокого давления, который можно было бы использовать в качестве рабочего тела устройства вращения генератора электрического тока через турбину или поршневую машину для этого генератора. При этом также решается задача повышения энергетической отдачи взрыва за счет введения в качестве компонентов топлива атомов водорода и обогащенного озоном кислорода в качестве окислителя. Также решается задача повышения экономичности в части вопроса как расхода компонентов топливной смеси, так и в части получения этих компонентов на месте размещения установки.

[18]

Достигаемый при этом результат заключается в улучшении эксплуатационных характеристик в части повышения энергоотдачи, а также повышении экономичности и экологичности и автономности работы при использовании природного сырья (воды) или централизованной подачи компонентов топливной смеси.

[19]

Указанный технический результат достигается тем, что детонационная энергетическая установка, содержащая камеру сгорания, представляющую собой полый корпус, устройство дозированного ввода топлива в полость корпуса, устройство дозированной подачи окислителя в полость корпуса и искрообразующее устройство для поджигания топливной смеси, сопло, сообщенное с ресивером со стороны большего сечения, газоводы, сообщающие камеру сгорания с ресивером, и устройства, обеспечивающие однонаправленное перемещение газовых потоков, при этом устройства дозированного ввода топлива и дозированной подачи окислителя сообщены каналами с источниками водорода и кислорода соответственно, снабжена электроискровыми разрядниками, смонтированными в каналах сообщения источников водорода и кислорода соответственно с устройствами дозированного ввода топлива и дозированной подачи окислителя для разложения водорода на атомы на участке ввода топлива в устройство дозированного ввода топлива и образования в кислороде озона на участке ввода окислителя в устройство дозированной подачи окислителя, при этом установка выполнена с двумя оппозитно расположенными и прикрепленными к корпусу камеры сгорания газоводами, каждый из которых представляет собой замкнутую оболочку, разделенную на две камеры, и внутри одной камеры из которых размещены параллельно расположенные трубки, сообщенные с одного конца с полостью корпуса камеры сгорания, а с другой стороны - с другой камерой в этой оболочке, которая через устройство, обеспечивающее однонаправленное перемещение газовых потоков, образованных в результате взрыва в камере сгорания, сообщена с соответствующим ресивером, а ресиверы обоих газоводов сообщены между собой и с магистралью выдачи водяного газа под давлением источнику потребления.

[20]

При этом в качестве источника водорода и кислорода может быть использовано устройство электролитического разделения воды на водород и кислород для автономной работы установки или использованы баллоны с водородом и с кислородом, периодически поставляемые соответствующей

[21]

службой доставки. Также в качестве источника водорода и кислорода может быть использована система централизованной подачи водорода и кислорода, например при работе установки в качестве энергетического модуля на заводе, получающем водород и кислород как продукты специального технологического процесса.

[22]

Указанные признаки являются существенными и взаимосвязаны с образованием устойчивой совокупности существенных признаков, достаточной для получения требуемого технического результата.

[23]

Настоящая полезная модель поясняется конкретным примером исполнения, который, однако, не является единственно возможным, но наглядно демонстрирует возможность достижения требуемого технического результата.

[24]

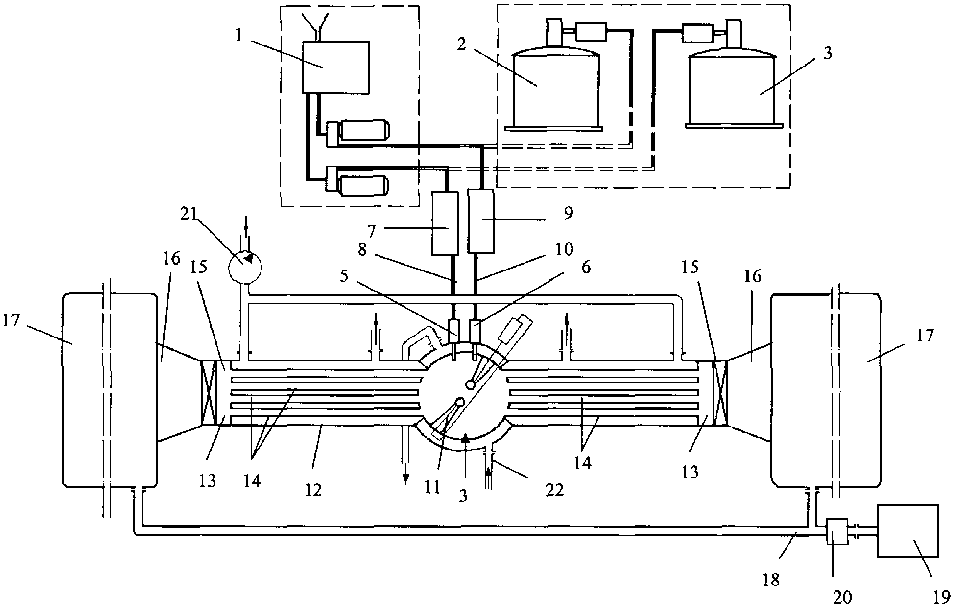
На фиг.1 - блок-схема энергетической установки.

[25]

Согласно настоящей полезной модели рассматривается конструкция модульной энергетической установки, относящейся к категории устройств повышенной экономичности при получении и преобразовании электрической, тепловой и других видов энергии в энергетических установках путем низкозатратного получения высокопотенциальной тепловой энергии горячих газов (водяных паров) под давлением посредством детонационного сжигания газовой смеси в периодически действующей детонационной энергетической установке. При этом установка работает на топливной смеси, образованной из водорода и кислорода, получаемых из источников. В качестве источника водорода и кислорода может быть использовано устройство 1 электролитического разделения воды на водород и кислород для автономной работы установки или использованы баллоны 2, 3, соответственно с водородом и с кислородом, периодически поставляемые соответствующей службой доставки. Также в качестве источника водорода и кислорода может быть использована система централизованной подачи водорода и кислорода, например при работе установки в качестве энергетического модуля на заводе, получающем водород и кислород как продукты специального технологического процесса.

[26]

Детонационная энергетическая установка (фиг.1) содержит камеру сгорания 4, представляющую собой полый корпус, выполненный, например, в виде сферы или эллипсоида или иной формы из материала, сохраняющего механические качества при высоких температурах и давлениях. С камерой сгорания 4 связано устройство 5 дозированного ввода топлива в полость корпуса камеры сгорания, которое может представлять собой устройство типа форсунки, оснащенной обратным клапаном (для исключении проникновения при детонационном взрыве газов в систему подачи топлива) и имеющую узел регулирования объема порционной подачи топлива. С камерой сгорания 4 также связано устройство 6 дозированной подачи окислителя в полость корпуса камеры сгорания для образования топливной смеси.

[27]

Установка снабжена первым электроискровым разрядником 7, смонтированным в канале сообщения источника водорода с устройством дозированного ввода топлива для разложения водорода на атомы на участке 8 ввода топлива в устройство дозированного ввода топлива. Установка также снабжена вторым электроискровым разрядником 9, смонтированным в канале сообщения источника окислителя (кислорода) с устройством дозированной подачи окислителя для образования в кислороде озона на участке 10 ввода окислителя в устройство дозированной подачи окислителя.

[28]

Искрообразующее (электрозапальное) устройство 11 подключено к источнику высокого напряжения для образования искры и поджигания топливной смеси и представляет собой по крайней мере один электроискровой разрядник высокого напряжения. Предпочтительно использование нескольких электроискровых разрядников, включающихся в работу последовательно с некоторой временной задержкой для обеспечения полноты сгорания смеси и создания детонационной волны. Использование нескольких разрядников обусловлено тем, что при формировании одной искры проявляется невозможность инициирования потока ГГС, движущегося по каналу детонационной камеры сгорания со скоростью более 4-5 м/с, так как в этом случае искру "сдувает", т.е. теплоотвод от искрового разряда таким потоком настолько велик, что искра не успевает нагреть нужный объем ГГС до

[29]

температуры воспламенения. А при использовании нескольких разрядников возможно пролонгировать искровую фазу по длительности, путем последовательного искрообразования, что позволит перевести в горение максимальный объем сформированной в камере сгорания топливной смеси и обеспечить создание условий для детонации.

[30]

После формирования в камере сгорания топливной смеси производится подача напряжения на центральный электроискровой разрядник 11 (расположенный по центру камеры сгорания), что приводит к взрыву части смеси, образовавшейся в зоне этого разрядника. В результате образования высокоскоростного потока возможен срыв искры, но в этот момент напряжение с запаздыванием по времени подается на или последующие пары электроискровых разрядников, расположенных ближе к газоводам, трубки которых также выполняют функцию камер сгорания. Это приводит к «разгону» газового потока в зоне перед входом в трубки. В результате последовательного поджигания происходит разгон горячих газов в камере до скорости, близкой к скорости звука, и образование высокого давления этих газов.

[31]

Установка выполнена с двумя газоводами, каждый из которых представляет собой замкнутую оболочку, разделенную на две камеры 12 и 13 разного объема относительно друг друга и большего объема, чем камера сгорания 4. Внутри камеры 12 большего объема размещены по крайней мере две параллельно расположенные трубки 14, сообщенные с одного конца с полостью корпуса камеры сгорании, а с другой стороны - с камерами 13 меньшего объема. Количество трубок определяется условием прохождения потока газов с максимальной скоростью и оптимальной газодинамикой. Трубки в камере большего объема выполнены калиброванными, то есть расчетными по длине и диаметру по типу ствола огнестрельного оружия (калибр ствола, например карабина или винтовки) для обеспечения разгона газового потока по длине трубок. Возможно исполнение этих трубок со средствами закрутки газового потока (например, наличие направляющего аппарата на входе в каждую трубку). Трубки на входе могут иметь сопловой

[32]

раструб для улучшения газодинамики потока в трубке. Образовавшийся в камере сгорания поток горячих газов под давлением поступает в каналы трубок и разгоняется по ним в направлении камер 9 меньшего объема.

[33]

Камеры 13 через управляемые по функции открытия обратные клапана 15 сообщены с полостью сопел 16 со стороны их меньшего сечения. Сопла 16 сообщены с ресиверами 17 со стороны их большего сечения. При этом ресиверы обоих газоводов сообщены между собой и с магистралью 18 выдачи газа (водяного пара под давлением) источнику потребления 19. В канале этой магистрали может быть размещен блок 20 со стопорным и регулирующими клапанами подачи газа под давлением из ресиверов в направлении источника потребления 19. В качестве источника потребления могут использоваться газовая турбина или поршневая машина объемного вытеснения, предназначенные для вращения генератора электрического тока. В этой же магистрали может устанавливаться предохранительный (сбросный) клапан для снятия избыточного давления.

[34]

Особенностью данной установки является то, что два газовода оппозитно прикреплены к корпусу камеры сгорания с соосным расположением трубок 14. При таком исполнении давление газов (водяных паров) в камере сгорания при истечении через трубки одного газовода уравновешивается обратным вектором давления газов (водяных паров), истекающих через трубки другого газовода.

[35]

Межтрубные полости оболочек газоводов могут быть сообщены магистралью между собой, с источником 21 подачи охлаждающего агента (гидро- или пневмонасос) в эти полости и с трубопроводом вывода указанного агента из межтрубной полости оболочки. Данная система позволяет охлаждать нагретые трубки. В качестве рабочего агента для охлаждения трубок может использоваться воздух, в том числе и специально охлажденный. В этом случае используется пневмонасос для подачи под давлением в эту полость воздуха.

[36]

Корпус камеры сгорания может быть помещен в оболочку, полость между оболочкой и корпусом камеры сгорания 4 может быть сообщена каналом 22 с источником подачи охлаждающей жидкости (например воды) под давлением и

[37]

с каналом вывода указанного агента из этой полости в систему охлаждения воды (или иной охлаждающей жидкости). Данная система может представлять собой систему жидкостного охлаждения корпуса, аналогичная по исполнению автомобильной системе охлаждения ДВС. Возможна подача охлаждающего агента с последующим использованием его тепловой энергии на цели отопления или горячего водоснабжения в энергоустановках стационарного типа.

[38]

Известно, что соединение водорода с кислородом происходит в большинстве случаев с взрывом. Энергия, выделяемая в детонационном сжигании (взрыве), значительно превышает энергию обычного горения водорода в среде кислорода, а также энергию, затрачиваемую на диссоциацию воды на водород и кислород в общеизвестном электролизере. Еще более увеличивается объем выделяемой энергии при взрывном взаимодействии атомов водорода с чистым кислородом. Учитывая, что после распада под действием искрового разряда молекулы водорода на атомы водорода, последние не сразу объединяются, на это требуется некоторое время, необходимое для отдачи атомами водорода их энергии. Это свойство учитывается в установке тем, что разрядники 7 и 9 установлены непосредственно на участках ввода в устройства дозирования компонентов топлива.

[39]

Данные особенности трансформаций с выделением энергии являются базой для использования водорода и кислорода в качестве компонентов топлива для высокоэнергетической установки согласно настоящей полезной модели.

[40]

Дозированная порция обогащенного озоном кислорода и дозированная порция атомарного водорода поступают в камеру сгорания 4, где смешиваются с образованием топливной смеси. В этот момент происходит многоразовое поджигание смеси. Находящаяся в полости корпуса смесь воспламеняется и взрывается. Фронт пламени и расширяющиеся продукты сгорания в виде водяного пара истекают в трубки 14 газоводов. При этом давление в канале детонационной камеры сгорания повышается. В калиброванных трубках

[41]

происходит разгон газов. После выхода детонационной волны из трубок высокоскоростной поток горячих газов пропускается через обратный клапан 15, попадает в сопло, в котором происходит падение скорости потока с повышением его давления. В этот момент поток газов попадает в ресивер. Далее цикл повторяется.

[42]

Настоящая полезная модель промышленно применима, может быть реализована с использованием технологий, используемых при изготовлении детонационных камер сгорания (№840441, F23R 7/00, опубл. 1979, SU №1464626, F23R 7/00, опубл. 1987, RU №1706282, F23R 7/00, опубл. 1995.11.27 (на газообразном топливе), RU №2026514, F23R 7/00, F02C 5/00, опубл. 1995.01.09 (на жидком топливе и жидком окислителе).

Как компенсировать расходы
на инновационную разработку
Похожие патенты