патент
№ RU 69995
МПК G01M10/00

МОДЕЛЬНАЯ ПУСКОВАЯ УСТАНОВКА ДЛЯ ОТРАБОТКИ ПОДВОДНОГО СТАРТА

Авторы:
Кабанов Юрий Павлович Пегов Валентин Иванович Жаботинский Анатолий Данилович
Все (5)
Номер заявки
2007133269/22
Дата подачи заявки
04.09.2007
Опубликовано
10.01.2008
Страна
RU
Как управлять
интеллектуальной собственностью
Чертежи 
4
Реферат

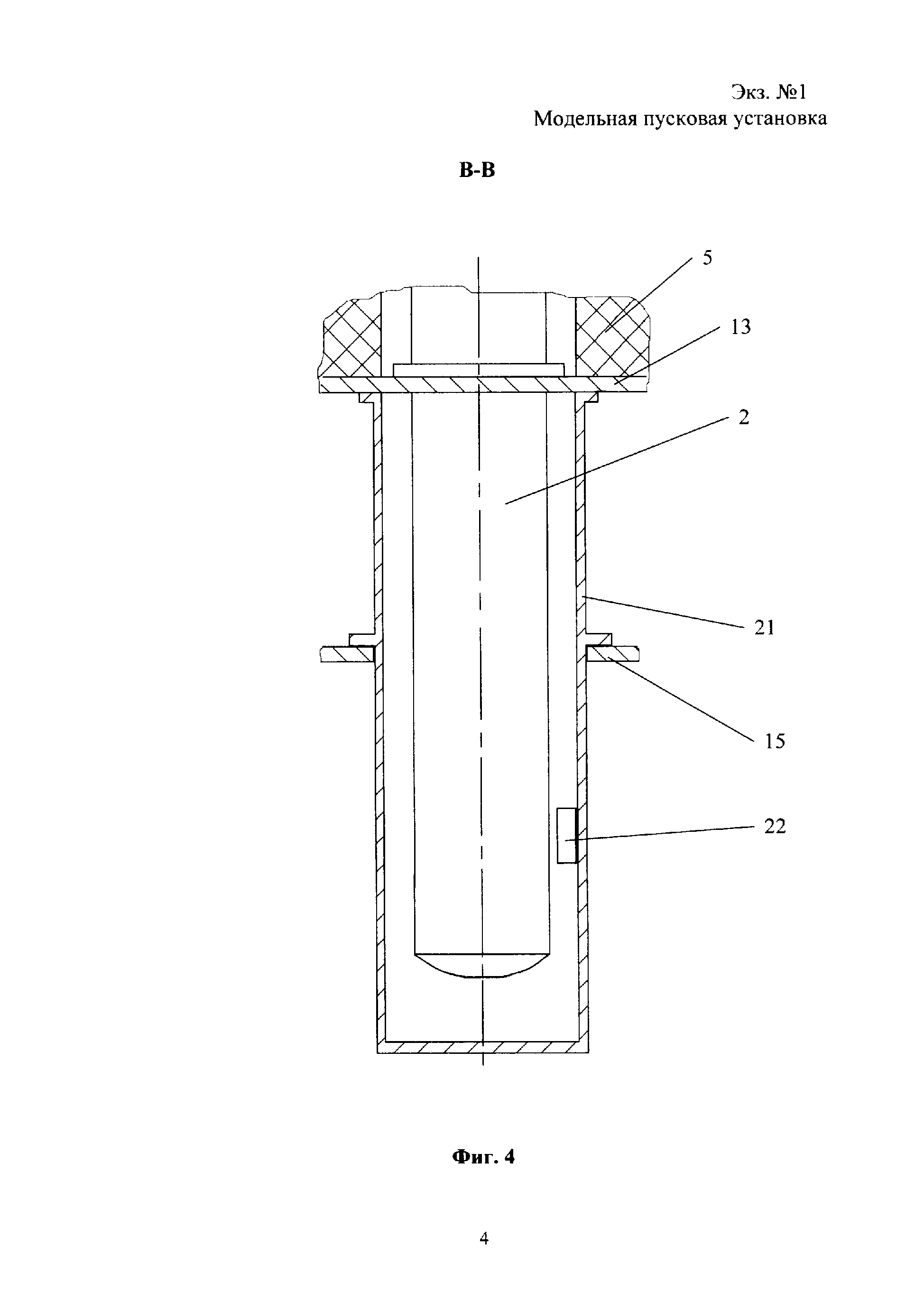
[1]

Полезная модель относится к области стендовой экспериментальной отработки подводного старта ракет на малоразмерных моделях и может быть использована как в лабораторных бассейнах, так и на стендах в открытом водоеме.

[2]

Модельная пусковая установка выполнена в виде конструкции, монтируемой на подвижной платформе, перемещаемой по рельсам по дну гидробассейна, и содержит основание, выполненное в виде единой плиты, на которой установлены модели пусковых шахт с моделями ракет, моделирующими залповую стрельбу. Единая плита с моделями пусковых шахт и имитатором легкого корпуса подвешена к верхней части пространственной силовой фермы, устанавливаемой на подвижной платформе, посредством двух силоизмерителей, по которым определяют силовое воздействие на подводную лодку при залповой стрельбе. Экспериментальные данные по взаимному влиянию стартующих в залпе ракет определяют по записи параметров динамики моделей ракет на подводном участке их траектории.

[3]

Модельная пусковая установка может быть выполнена в варианте с размещением моделей пусковых шахт в защитных стаканах, жестко связанных с единой плитой и системой подвеса.

[4]

3 п.ф., 4 ил.

Формула изобретения

1. Модельная пусковая установка, монтируемая на подвижной платформе, перемещаемой по дну гидробассейна, содержащая основание для размещения на нем моделей пусковых шахт с моделями ракет, систему подвеса модельной пусковой установки на подвижной платформе, энергетические средства старта моделей ракет и средства измерения исследуемых параметров старта, отличающаяся тем, что основание выполнено в виде единой плиты, на которой в окрестностях исследуемой модели пусковой шахты установлены модели соседних пусковых шахт с моделями ракет, участвующих в залповой стрельбе, а система подвеса выполнена в виде двух силоизмерителей, кинематически связанных с одной стороны с пространственной силовой фермой, закрепленной на подвижной платформе, а с другой стороны через элементы регулирования усилий и стенки моделей пусковых шахт с единой плитой, на которой жестко закреплены направляющие, взаимодействующие с пространственной силовой фермой.

2. Модельная пусковая установка по п.1, отличающаяся тем, что на наружной поверхности единой плиты в районе верхнего среза моделей пусковых шахт смонтирован имитатор части легкого корпуса подводной лодки.

3. Модельная пусковая установка по п.1, отличающаяся тем, что снабжена внешними защитными стаканами, установленными соосно с моделями пусковых шахт и жестко связанными с единой плитой и системой подвеса.

Описание

[1]

Полезная модель относится к области стендовой экспериментальной отработки гидрогазодинамики подводного старта ракет, а именно в модельных условиях, обеспечивающих на малоразмерных моделях основные закономерности изучаемых физических процессов, происходящих при старте, и применима как в лабораторных бассейнах, так и на стендах в открытых водоемах.

[2]

Известна конструкция модельной пусковой установки, состоящая из модели пусковой шахты с моделью ракеты, энергетических средств старта модели ракеты и средств измерений исследуемых параметров старта, которая устанавливается в специальных моделирующих стендах и гидробассейнах (см. сборник РКТ сер. XIV, вып.1, 1999 г., В.Г.Дегтярь, В.И.Пегов «Результаты экспериментальной отработки кавитационного способа старта ракет», стр.54-67 и монографию В.Г.Дегтярь, Е.Н.Мнев, В.Т.Чемодуров «Подводный старт баллистических ракет морского базирования», стр.24-38, 117-124. ГУП «ВИМИ», ГРЦ «КБ им. академика В.П.Макеева», ВМА, 2001 г. и др.).

[3]

Недостатком известной конструкции являются:

[4]

- ограниченность области исследований вопросов подводного старта, например, в части изучения взаимодействия стартующих ракет и силового воздействия их на подводную лодку при залповой стрельбе;

[5]

- ограниченные возможности прогнозирования параметров силового воздействия на подводную лодку при старте ракет, обусловленные отсутствием

[6]

прямых измерений усилии, действующих на модель пусковой шахты при старте, поскольку в модельном эксперименте проводят измерения только давления в конкретных, ограниченных в количестве точках.

[7]

Известна также конструкция модельной пусковой установки, содержащая размещенную в ней модель пусковой шахты с моделью ракеты, энергетические средства старта модели ракеты, силоизмерители и другие средства измерений исследуемых параметров старта, которая установлена на подвижной платформе, перемещаемой по направляющим, проложенным по дну гидробассейна (см. статью «Модельные комплексы для исследований подводного старта», Жаботинский А.Д., Кабанов Ю.П. В сб. «Динамика машин и рабочих процессов», стр.74-79, изд. ЮурГУ, Челябинск, 2007 г.).

[8]

Несмотря на повышенную эффективность модельной отработки подводного старта, указанная конструкция обладает тем же недостатком, что и известные аналоги, а именно:

[9]

- отсутствие возможности исследования взаимодействия стартующих моделей ракет между собой и определения параметров силового воздействия их на пусковую установку из-за невозможности моделирования залповой стрельбы одиночными пусками модели ракеты.

[10]

Несмотря на приведенный недостаток, указанное техническое решение, как наиболее близкий аналог, может быть принято в качестве прототипа.

[11]

Задачей предлагаемой полезной модели является создание модельной пусковой установки, обеспечивающей получение технического результата, состоящего в:

[12]

- определении параметров силового воздействия на подводную лодку и взаимодействия стартующих ракет между собой по результатам измерений исследуемых параметров при моделировании залповой стрельбы.

[13]

Этот технический результат согласно предлагаемой заявке на полезную модель достигается тем, что в модельной пусковой установке, содержащей основание для размещения моделей пусковых шахт с моделями ракет, систему подвеса модельной пусковой установки на подвижной платформе, энергетические

[14]

средства старта моделей ракет и средства измерений исследуемых параметров старта, основание с моделями пусковых шахт, выполненное в виде единой плиты, взаимодействующей с пространственной силовой фермой через вертикальные направляющие, подвешено на двух силоизмерителях, которыми измеряют исследуемую вертикальную составляющую силового воздействия на модельную пусковую установку при старте моделей ракет.

[15]

Предлагаемая конструкция позволяет обеспечить получение в модельных испытаниях экспериментальных данных по силовому воздействию на подводную лодку стартующих в залпе ракет, включая процессы послестартового затопления пусковых шахт, а также данных по воздействию следа по траектории на подводном участке предыдущей в залпе ракеты на динамику последующей.

[16]

Сущность полезной модели поясняется графическими материалами, где:

[17]

- на фиг.1 изображен общий вид модельной пусковой установки с поясняющими разрезами;

[18]

- на фиг.2 изображена в поперечном разрезе схема размещения подвижной платформы на направляющих рельсах гидробассейна (сечение А-А на фиг.1);

[19]

- на фиг.3 изображен вид сверху модельной пусковой установки (вид Б на фиг.1);

[20]

- на фиг.4 изображен поперечный разрез варианта модельной пусковой установки с внешними защитными стаканами (сечение В-В на фиг.1).

[21]

Модельная пусковая установка 1 (фиг.1) содержит модель пусковой шахты 2 с установленной в ней моделью ракеты 3, выполненные геометрически, а модель ракеты и динамически подобными натурным. Для моделирования залповой стрельбы модельная пусковая установка содержит несколько (например, две - четыре) модельных пусковых шахт 4, участвующих в залпе и аналогично укомплектованных моделями ракет. Для моделирования гидрогазодинамических процессов, происходящих в окрестности верхнего среза

[22]

пусковых шахт при старте и определяющих силовое воздействие и на подводную лодку и на динамику выходящих из шахт ракет, в окрестности модельных пусковых шахт смонтирован имитатор 5 легкого корпуса подводной лодки, также выполненный в соответствии с правилами геометрического подобия. Каждая из моделей пусковых шахт содержит крышки 6 (на фиг.1 показаны в закрытом положении, а их оси вращения для наглядности условно повернутыми на 90° в плоскости, перпендикулярной плоскости чертежа) и мембраны 7, при этом мембраны 7 выполнены моделирующими функциональное назначение натурных мембран.

[23]

Для моделирования хода подводной лодки предназначена подвижная платформа 8, смонтированная через ролики 20 (фиг.2) на направляющих рельсах 11 на дне 12 гидробассейна (лабораторного или открытого водоема), на которой в положении проведения модельного эксперимента установлена пространственная силовая ферма 9, стыкуемая с подвижной платформой 8 посредством замков 10. На верхней части пространственной силовой фермы 9 подвешено основание 13, представляющее из себя монолитную жесткую плиту, на которой смонтированы модели пусковых шахт и имитатор легкого корпуса. Система подвеса 15 основания к силовой ферме содержит два силоизмерителя 17, работающих на растяжение в вертикальной плоскости и содержащих элементы регулирования усилий 18 для предварительного нагружения силоизмерителей усилием заданной величины. При этом, для обеспечения основанию 13 только одной степени свободы, необходимой для измерения вертикальной составляющей силового воздействия при пусках моделей ракет, на основании 13 жестко закреплены вертикальные направляющие 19, взаимодействующие с пространственной силовой фермой 9.

[24]

Для моделирования физических процессов, происходящих в пусковых шахтах при старте и определяющих физические процессы в окрестности верхнего среза пусковых шахт и, соответственно, силовое воздействие на подводную лодку а также динамику в угловом движении стартующих ракет на подводном участке траектории, каждый комплект моделей пусковых шахт

[25]

с моделями ракет в модельной пусковой установке снабжен энергетическим средством старта 14 моделей ракеты, который может быть в зависимости от задач модельных испытаний выполнен в виде модельного ПАДа, парогазогенератора или модельного стартового двигателя, двигательной установки модели ракеты и т.п.

[26]

Для измерения параметров динамики модели ракеты и других параметров, влияющих на ее динамику, каждая модель 3 ракеты в модельной пусковой установке оборудована бортовой измерительной аппаратурой 16 в виде, например, средств измерений, согласующих и запоминающего устройств.

[27]

Для измерения параметров, характеризующих исследуемые физические процессы, на моделях пусковых шахт, на имитаторе легкого корпуса, на модельных крышках и мембранах в различных точках, в зависимости от задач испытаний, также установлены средства измерений (на фиг. не указаны), например, датчики давления, температуры, сплошности среды.

[28]

Возможен вариант исполнения модельной пусковой установки, в котором модели пусковых шахт размещены в защитных герметичных стаканах 21 (см. фиг.4), в этом случае согласующая аппаратура 22 для средств измерений, устанавливаемых на моделях пусковых шахт, на имитаторе легкого корпуса, на крышках моделей пусковых шахт и на энергетических средствах старта моделей, может быть размещена во внутренних полостях этих защитных стаканов.

[29]

Модельная пусковая установка работает следующим образом.

[30]

В исходном положении модельная пусковая установка 1 со снаряженными энергетическими средствами 14 старта моделей, с открытыми крышками 6 моделей пусковых шахт, с подготовленной к проведению эксперимента, включенной системой измерений исследуемых параметров старта, включая бортовую измерительную аппаратуру 16 моделей ракет, находится в состоянии готовности на позиции над уровнем воды в бассейне. По готовности всех стендовых технологических систем к проведению эксперимента производится нагружение силоизмерителей 17 посредством элементов регулирования

[31]

усилий 18 на величину усилия, близкого к суммарной архимедовой силе, действующей в погруженном состоянии модельной пусковой установки на те ее агрегаты, которые, как единое целое, включающее модели пусковых шахт, имитатор легкого корпуса, основание 13 и защитные стаканы 21 (для варианта с размещением моделей пусковых шахт в этих стаканах), подвешены через силоизмерители 17 к верхней части пространственной силовой фермы 9. После этого производится погружение в воду силовой фермы 9 с модельной пусковой установкой 1 на смонтированную на рельсах 11 подвижную платформу 8, фиксация ее посредством замков 10, а все средства измерений устанавливаются на нулевых отметках. Дальнейшие операции: перемещение по рельсам подвижной платформы 8 с установленной на ней модельной пусковой установкой 1 с заданной скоростью, моделирующей ход подводной лодки, запуск бортовой измерительной аппаратуры 16, включение по заданной циклограмме энергетических средств старта 14 моделей ракет, сопровождаемое стартом моделей и их движением на подводном участке траектории, запись измеряемых параметров на регистрирующую аппаратуру и запоминающие устройства, торможение и останов подвижной платформы на заданном участке движения ее по рельсам, осуществляются по команде с пульта управления экспериментом в автоматическом режиме.

[32]

По окончании эксперимента подвижная платформа 8 с модельной пусковой установкой возвращается по команде с пульта управления в начало рельсового пути - исходное подводное положение, где силовая ферма 9 освобождается от замков и вместе с модельной пусковой установкой поднимается из воды на позицию подготовки к следующему эксперименту.

[33]

Описанная модельная пусковая установка позволяет обеспечить получение в модельных условиях экспериментальных данных по силовому воздействию на подводную лодку стартующих в залпе ракет, включая процессы послестартового затопления пусковых шахт, а также данных по воздействию следа по траектории на подводном участке предыдущей в залпе ракеты на динамику последующей.

Как компенсировать расходы
на инновационную разработку
Похожие патенты