патент
№ RU 58569
МПК E04B1/38

УЗЕЛ СОЕДИНЕНИЯ РИГЕЛЯ С ЖЕЛЕЗОБЕТОННОЙ КОЛОННОЙ ЗДАНИЯ

Авторы:
Каримов Шамиль Алимчанович
Номер заявки
2006129520/22
Дата подачи заявки
14.08.2006
Опубликовано
27.11.2006
Страна
RU
Как управлять
интеллектуальной собственностью
Чертежи 
7
Реферат

[1]

Узел соединения ригеля с железобетонной колонной здания относится к строительству, а именно к узлам соединения элементов каркаса зданий и сооружений. Для повышение прочности, надежности и несущей способности узла соединения ригеля с колонной при одновременном упрощении его конструкции, он включает колонну 1 и ригель 2, комплект закладных деталей 3 в железобетонной колонне 1, опорную консоль 4, и комплект закладных деталей 5 на концевом участке железобетонного ригеля. Комплект закладных деталей 3 состоит из корпуса 6 с опорной консолью 4 и включает верхние 7 и нижние 8 горизонтально отходящие анкера и анкера 9, отходящие вниз вдоль оси колонны и прикрепленные снизу к корпусу 6. Опорная консоль 4, выполнена в виде вертикально установленной пластины на поворотной оси Х-Х в корпусе 6 закладной детали 3, содержащая отверстие 10 для пропуска горизонтальной стяжки 11, выносную опорную часть 12 с монтажным шипом 13 для монтажа железобетонного ригеля 2, выступ 14 в задней части 15 опорной консоли 4, нижнюю опорную часть 16 для упора после разворота. Комплект закладных деталей 5 на концевом участке 17 железобетонного ригеля 2 включает несущую торцевую П-образную пластину 18, ограждающий корпус 19 для образования монтажной щели 20 при формировании ригеля и горизонтально отходящие вдоль оси ригеля основной 21 и дополнительный 22 анкера. Сквозное отверстие, образованное в верхней части монтажной щели 20, имеет прямоугольную форму. Монтажный шип 13 выполнен с возможностью ввода при монтаже паз 23 закладной детали в ригеле 2. Корпус 6 закладной детали колонны 1 включает упор 24 в задней части и опорную пяту 25 для упора после разворота опорной консоли 4 в монтажном положении, горизонтальную стяжку 11, закрепленную в боковых стенах 26 корпуса 6, переднюю пластину 27 в виде рамки прямоугольной формы с отверстием 28 для выпуска

[2]

выносной опорной части 12 опорной консоли при ее развороте в монтажное положение. Каждая закладная деталь 5 выполнена с образованием монтажной щели 20, направленной вниз и в торец 29 концевого участка ригеля и связана с поворотной опорной консолью 4 с образованием в верхней части 30 сквозного отверстия 31 для фиксаторов, при этом она включает несущую торцевую П-образную пластину 18, а основной анкер 21 закладной детали ригеля выполнен в виде арматурного стержня, в начале жестко прикрепленного к несущей торцевой П-образной пластине 18 по типу крепления внахлестку 32 сверху вниз и далее с отгибом 33 направлен вдоль оси ригеля. Основные анкера 21 размещены симметрично относительно вертикальной оси Z-Z монтажной щели 19 и прикреплены по бокам к несущей торцевой П-образной пластине 18, а каждый дополнительный анкер 22 закладной детали ригеля жестко прикреплен встык в верхней части 34 к несущей торцевой П-образной пластине 18 и направлен вдоль оси ригеля.

[3]

1 осн. п-т ф-лы и 9 доп.п-тов ф-лы. 10 ил.

Формула изобретения

1. Узел соединения ригеля с железобетонной колонной здания, включающий опорную консоль, закладную деталь в колонне и закладную деталь на концевом участке ригеля, отличающийся тем, что он содержит один и более комплектов закладных деталей в железобетонной колонне и закладных деталей на концевом участке ригеля, причем каждая из закладных деталей оснащена анкерами и связана друг с другом опорной консолью, установленной в корпусе закладной детали колонны и закрепленной на дополнительно установленной стяжке с возможностью разворота до упора, при котором часть опорной консоли выпускается за грань колонны.

2. Узел соединения ригеля с железобетонной колонной здания по п.1, отличающийся тем, что закладная деталь в колонне, состоящая из корпуса, внутри которого размещена опорная консоль, включает анкера верхние и нижние, горизонтально отходящие, и анкера, отходящие вниз вдоль оси колонны и прикрепленные снизу к ее корпусу.

3. Узел соединения ригеля с железобетонной колонной здания по п.1, отличающийся тем, что корпус закладной детали колонны выполнен с упором в задней части и опорной пятой в нижней части, горизонтальной стяжкой, закрепленной в боковых стенах корпуса, передней пластиной в виде рамки прямоугольной формы с отверстием для выпуска выносной части опорной консоли при ее развороте в монтажное положение.

4. Узел соединения ригеля с железобетонной колонной здания по п.1, отличающийся тем, что опорная консоль выполнена в виде вертикально установленной пластины на поворотной стяжке в корпусе закладной детали колонны, причем пластина выполнена с отверстием для пропуска поворотной стяжки и выступом в ее задней части, нижней опорной частью и монтажным шипом для монтажа железобетонного ригеля на выносной части.

5. Узел соединения ригеля с железобетонной колонной здания по п.4, отличающийся тем, что монтажный шип на выносной части опорной консоли выполнен с возможностью ввода при монтаже в соответствующей по форме и размерам паз закладной детали в ригеле.

6. Узел соединения ригеля с железобетонной колонной здания по п.1, отличающийся тем, что закладная деталь на концевом участке ригеля оснащена несущей торцевой П-образной пластиной, ограждающим корпусом с образованием монтажной щели, направленной вниз и в торец ригеля, и связана с опорной консолью в развернутом монтажном положении, с образованием в своей верхней части сквозного отверстия, причем анкера закладной детали выполнены в виде основного и дополнительного анкеров, горизонтально отходящих вдоль оси ригеля.

7. Узел соединения ригеля с железобетонной колонной здания по п.6, отличающийся тем, что основной анкер закладной детали ригеля выполнен в виде арматурного стержня, жестко прикрепленного верхним концом к несущей пластине по бокам внахлестку сверху вниз и направленного далее с отгибом вдоль оси ригеля, и размещен симметрично относительно вертикальной оси монтажной щели.

8. Узел соединения ригеля с железобетонной колонной здания по п.6, отличающийся тем, что каждый дополнительный анкер закладной детали ригеля выполнен в виде арматурного стержня, размещен симметрично относительно вертикальной оси монтажной щели и прикреплен в торец к боковым поверхностям торцевой П-образной пластины.

9. Узел соединения ригеля с железобетонной колонной здания по п.6, отличающийся тем, что торцевая П-образная пластина оснащена усиливающей накладкой П-образной формы, жестко прикрепленной к основной пластине.

10. Узел соединения ригеля с железобетонной колонной здания по п.6, отличающийся тем, что сквозное отверстие, образованное в верхней части монтажной щели, имеет прямоугольную форму.

Описание

[1]

Заявляемая полезная модель относится к строительству, а именно к узлам соединения элементов каркаса зданий и сооружений.

[2]

Известно стыковое соединение крайнего ригеля с колонной (см. АС СССР №945311, МПК Е 04 В 1/38, Опубл 23.07.82), включающее закладные пластины в опорных гранях ригеля и консоли колонны, соединяющий их со стороны опирания плит перекрытия фланговый сварной шов, причем стыковое соединение снабжено гибкой планкой, а для ее размещения в опорной грани ригеля со стороны, противоположной опиранию плит перекрытия, выполнена подсечка, при этом гибкая планка внешним краем жестко соединена с закладной пластиной консоли.

[3]

Недостатком известного стыкового соединения крайнего ригеля с колонной является высокая сложность монтажа ригеля с колонной, и большие сроки выполнения монтажа.

[4]

Этот недостаток обусловлен высокой сложностью заводского изготовления опалубочной формы колонны и вытекающей из этого сложностью заводского изготовления непосредственно самих колонн и трудоемкости соединения ригеля с колонной.

[5]

Известен также стыковое соединение ригелей с колонной железобетонного ригеля и колонны (см. АС СССР №924288, МПК Е 04 В 1/38, опубл. 15.11.82), включающий плоские закладные детали ригеля и колонны и приваренный к ним соединительный элемент, причем он снабжен дополнительным соединительным элементом, расположенным параллельно торцевой кромке соединительного элемента в месте примыкания его к закладной детали колонны и

[6]

жестко прикрепленный к ним, при этом соединительный элемент имеет постоянную площадь поперечного сечения, а площадь поперечного сечения дополнительного соединительного элемента равна или больше площади поперечного соединительного элемента при этом дополнительный соединительный элемент выполнен в виде пластины с прямоугольной формой поперечного сечения или в виде стержня с круглой формой поперечного сечения.

[7]

Недостатком известного соединения ригеля с колонной железобетонного каркаса является высокая сложность монтажа ригеля с колонной, и большие сроки выполнения монтажа.

[8]

Этот недостаток обусловлен высокой сложностью заводского изготовления опалубочной формы колонны и вытекающей из этого сложностью заводского изготовления непосредственно самих колонн и трудоемкости соединения ригеля с колонной.

[9]

Известно также стыковое соединение сборных железобетонных ригеля и колонны (см. АС СССР №924288, МПК Е 04 В 1/38, опубл. 15.11.82), включающее соединенные на сварке закладные детали консоли колонны и опорной части ригеля, накладку, объединяющую верхнюю грань ригеля с закладной деталью колонны, причем верхняя грань ригеля выполнена с подсечкой до оголения над опорной продольной рабочей арматуры, а накладка непосредственно соединена с арматурой и выполнена в форме тавра, при этом своей суженной частью соединена с над опорной арматурой, а в месте соединения ее с закладной деталью колонны накладка выполнена с отогнутым вниз краем

[10]

Недостатком известного стыкового соединения сборных железобетонных ригеля и колонны является высокая сложность монтажа ригеля с колонной, и большие сроки выполнения монтажа.

[11]

Этот недостаток обусловлен высокой сложностью заводского изготовления опалубочной формы колонны и вытекающей из этого

[12]

сложностью заводского изготовления непосредственно самих колонн и трудоемкости соединения ригеля с колонной.

[13]

Известен также принятый за прототип узел соединения ригелей таврового сечения с колонной железобетонного каркаса здания (см. АС СССР №10496390, МПК Е 04 В 1/38, опубл. 23.10.83), содержащий консоли колонны, опорные части ригелей, соединенные между собой закладные пластины консолей и опорных частей ригелей, установленные на уровне их полок в обхват колонны арматурные вставки, закрепленные к закладным деталям на боковых границах колонны, и бетон омоноличивания, причем ригели установлены полками вниз, выполнены с подрезками, равными высоте консолей, и с выпусками рабочей арматуры, при этом выпуски из полок жестко соединены с арматурными вставками, а надпорные выпуски из стенок - с колонной, для чего колонна снабжена закладными арматурными стержнями с концами, выступающими за ее грани, кроме того, опорная часть каждого ригеля выполнена в виде параллелепипеда, ширина которого меньше ширины его стенки или в виде двух вертикальных пластин, выпущенных из торца ригеля.

[14]

Недостатком известного узла соединения ригелей таврового сечения с колонной железобетонного каркаса здания является высокая сложность непосредственно узла и монтажа ригеля с колонной, и большие сроки выполнения монтажа.

[15]

Этот недостаток обусловлен высокой сложностью заводского изготовления опалубочной формы колонны и вытекающей из этого сложностью конструктивного выполнения ригелей и непосредственно самих колонн с закладными деталями и большая сложность изготовления ригелей и колонн, а также трудоемкостью соединения ригеля с колонной.

[16]

Техническим результатом настоящей полезной модели является повышение прочности, надежности и несущей способности узла соединения ригелей с колонной при одновременном

[17]

упрощении его конструкции, а также создание быстромонтируемого полносборного каркаса многоэтажного здания за счет упрощения монтажа на стройплощадке и упрощение изготовления железобетонных линейных элементов каркаса.

[18]

Поставленный технический результат достигается тем, что в известном узле соединения ригеля с железобетонной колонной здания, включающем опорную консоль, закладную деталь в колонне и закладную деталь на концевом участке ригеля, согласно полезной модели, он содержит один и более комплектов закладных деталей в железобетонной колонне и закладных деталей на концевом участке ригеля, причем каждая из закладных деталей оснащена анкерами и связана друг с другом опорной консолью, установленной в корпусе закладной детали колонны и закрепленной на дополнительно установленной стяжке с возможностью разворота до упора, при котором часть опорной консоли выпускается за грань колонны, закладная деталь в колонне, состоящая из корпуса, внутри которого размещена опорная консоль, включает анкера верхние и нижние горизонтально отходящие и анкера, отходящие вниз вдоль оси колонны и прикрепленные снизу к ее корпусу, корпус закладной детали колонны выполнен с упором в задней части и опорной пятой в нижней части, горизонтальной стяжкой, закрепленной в боковых стенах корпуса, передней пластиной в виде рамки прямоугольной формы с отверстием для выпуска выносной части опорной консоли при ее развороте в монтажное положение, опорная консоль выполнена в виде вертикально установленной пластины на поворотной стяжке в корпусе закладной детали колонны, причем пластина выполнена с отверстием для пропуска поворотной стяжки и выступом в ее задней части, нижней опорной частью и монтажным шипом для монтажа железобетонного ригеля на выносной части, монтажный шип на выносной части опорной консоли, выполнен с возможностью ввода при монтаже в соответствующей по форме и

[19]

размерам паз закладной детали в ригеле, закладная деталь на концевом участке ригеля оснащена несущей торцевой П-образной пластиной, ограждающим корпусом с образованием монтажной щели, направленной вниз и в торец ригеля и связана с опорной консолью в развернутом монтажном положении, с образованием в своей верхней части сквозного отверстия, причем анкера закладной детали выполнены в виде основного и дополнительного анкеров, горизонтально отходящих вдоль оси ригеля, основной анкер закладной детали ригеля выполнен в виде арматурного стержня, жестко прикрепленного верхним концом к несущей пластине по бокам внахлестку сверху вниз и направленного далее с отгибом вдоль оси ригеля и размещенный симметрично относительно вертикальной оси монтажной щели, каждый дополнительный анкер закладной детали ригеля выполнен в виде арматурного стержня, и размещен симметрично относительно вертикальной оси монтажной щели и прикреплен в торец к боковым поверхностям торцевой П-образной пластины, торцевая П-образная пластина оснащена усиливающей накладкой П-образной формы, жестко прикрепленной к основной пластине, сквозное отверстие, образованное в верхней части монтажной щели, имеет прямоугольную форму.

[20]

Между отличительными признаками и достигаемым техническим результатом существует следующая причинно-следственная связь.

[21]

упрощение изготовления железобетонных линейных элементов каркаса В отличие от аналогов и прототипа выполнение конструкции заявленного узла соединения ригеля с железобетонной колонной здания, в виде комплектов закладных деталей в железобетонной колонне и закладных деталей на концевом участке ригеля, когда каждая из которых оснащена анкерами и связана друг с другом опорной консолью, установленной в корпусе закладной детали колонны позволяет повысить прочность, надежность, и

[22]

несущую способность этого узла соединения ригелей с колонной.. Выполнение опорной консоли, в виде вертикально установленной пластины на поворотной стяжке в корпусе закладной детали колонны, причем пластина выполнена с отверстием для пропуска поворотной стяжки и выступом в ее задней части, нижней опорной частью и монтажным шипом для монтажа железобетонного ригеля на выносной части, монтажный шип на выносной части опорной консоли, выполнен с возможностью ввода при монтаже в соответствующей по форме и размерам паз закладной детали в ригеле, закладная деталь на концевом участке ригеля оснащена несущей торцевой П-образной пластиной, ограждающим корпусом с образованием монтажной щели, направленной вниз и в торец ригеля и связана с опорной консолью в развернутом монтажном положении, с образованием в своей верхней части сквозного отверстия позволило, одновременно, упростить конструкцию узла соединения ригеля с железобетонной колонной и упростить, соответственно, его монтаж и сократить сроки проведения монтажа ригеля с колонной, за счет снижение трудоемкости при монтаже и монтажного времени работы подъемного крана на стройплощадке. Конструкции закладных деталей отвечает требованиям снижения количества и номенклатуры сборочных деталей, снижения точности изготовления сложных деталей за счет сборки «по месту». Повышение надежности и прочности конструкции опорной консоли достигается за счет ее посадки на оси в корпусе. Выполнение анкеров закладной детали в виде основного и дополнительного, горизонтально отходящих вдоль оси ригеля, когда основной анкер закладной детали ригеля выполняется в виде арматурного стержня, жестко прикрепленного верхним концом к несущей пластине по бокам внахлестку сверху вниз и направлен далее с отгибом вдоль оси ригеля и размещен симметрично относительно вертикальной оси монтажной щели, причем выполнение каждого дополнительного

[23]

анкера закладной детали ригеля в виде арматурного стержня, размещенного симметрично относительно вертикальной оси монтажной щели и прикрепленного в торец к боковым поверхностям торцевой П-образной пластины, оснащенной усиливающей накладкой П-образной формы, жестко прикрепленной к основной пластине также повышает надежность, прочность и несущую способность узла соединения ригелей с железобетонной колонной здания. Предложенная конструкция быстромонтируемого узла соединения железобетонного ригеля с колонной полносборного многоэтажного каркаса здания, обеспечивает также мгновенное монтажное закрепление ригеля для последующего монтажа многопустотных плит «насухо» на ригель. Причем высокая скорость монтажа достигается за счет упрощения монтажа ригеля на колонну, исключения монтажных сварных швов, уменьшения количества монтажных элементов узла и за счет соединения шип-паз, воспринимающего как вертикальные, изгибающие, перерезывающие усилия, так и крутящие моменты, а также за счет исключения раздельной поставки колонны и опорной консоли, упрощение приведения в монтажное положение достигается за счет предварительной индивидуальной подгонки консоли к корпусу при ее сборке.

[24]

Проведенный заявителем анализ уровня техники, включающий поиск по патентным и научно- техническим источникам информации и выявления источников, содержащих сведения об аналогах заявляемого изобретения, позволил установить, что заявителем не обнаружен аналог, характеризующийся признаками, идентичными признакам заявляемой полезной модели «Узел соединения ригеля с железобетонной колонной здания», а определение из перечня выявленных аналогов прототипа, как наиболее близкого по совокупности признаков аналога, позволил выявить совокупность существенных по отношению к усматриваемому заявителем

[25]

техническому результату отличительных признаков в заявляемом объекте, изложенных в формуле полезной модели.

[26]

Следовательно, заявленная полезная модель соответствует критерию «новизна», согласно действующего законодательства.

[27]

Совокупность существенных признаков, характеризующих сущность заявляемого узла соединения ригеля с железобетонной колонной здания может быть многократно использована в производстве аналогичных узлов соединения ригеля с железобетонной колонной здания с получением технического результата, заключающегося в повышении функциональных и эксплуатационных качеств, что позволяет сделать вывод о соответствии его критерию «промышленная применимость».

[28]

Сущность заявляемой полезной модели «Узел соединения ригеля с железобетонной колонной здания» поясняется примером конкретного выполнения, где: - На фиг.1 изображен фрагмент каркаса многоэтажного здания с колоннами, ригелями и узлами их соединения;

[29]

на фиг.2 изображен узел соединения ригелей с колонной с двух сторон;

[30]

на фиг.3 - сечение 1-1 узла соединения ригеля с колонной;

[31]

на фиг.4 - закладная деталь на концевом участке ригеля;

[32]

на фиг.5 - комплект закладных деталей узла соединения ригеля с колонной, при этом опорная консоль изображена развернутой в монтажное положение;

[33]

на фиг.6 - общий вид закладной детали колонны, при этом опорная консоль изображена в скрытом в корпусе положении;

[34]

на фиг.7 - сечение 2-2 закладной детали колонны;

[35]

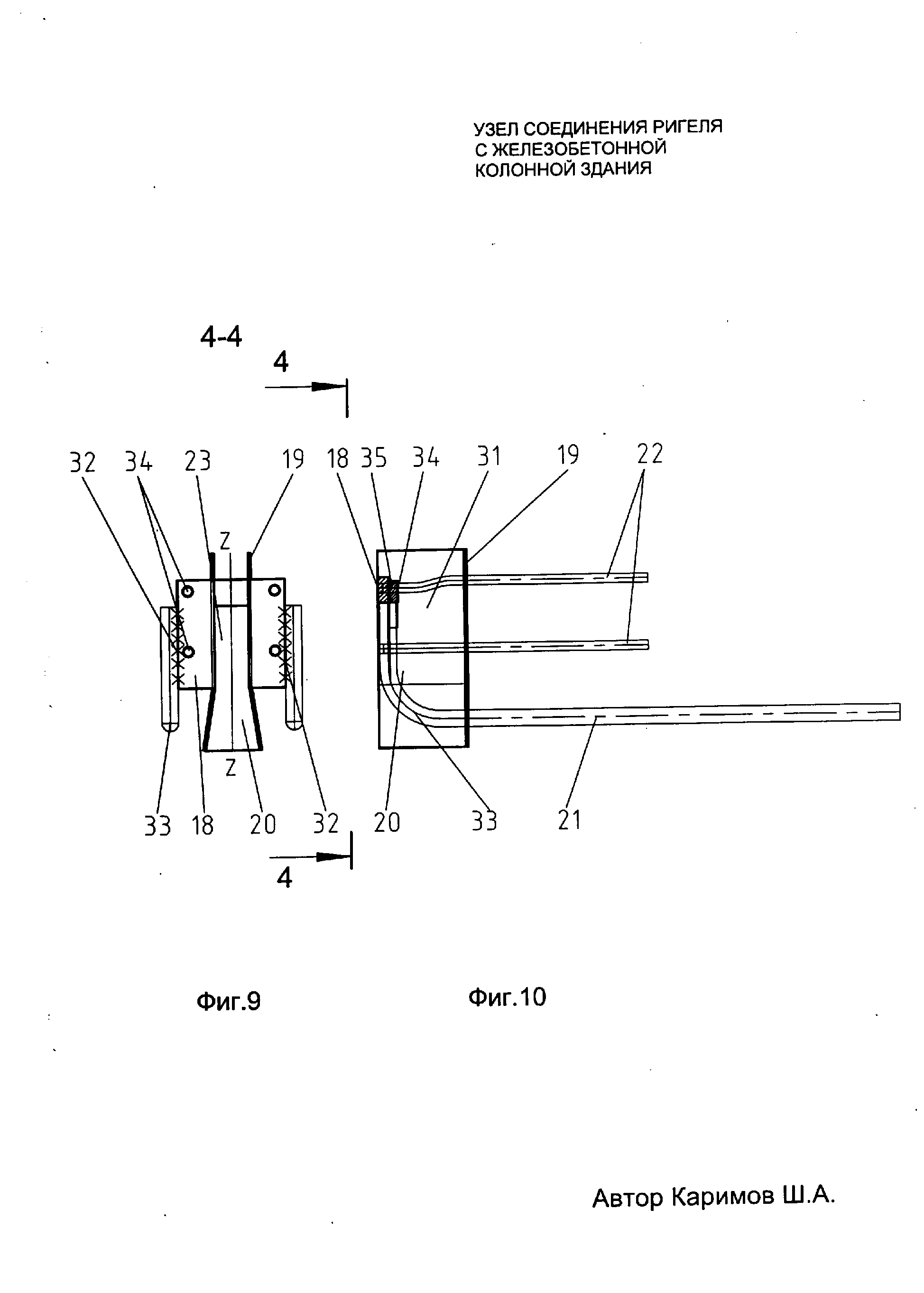
на фиг.8 - сечение 3-3 закладной детали колонны;

[36]

на фиг.9 - сечение 4-4 закладной детали на концевом участке ригеля;

[37]

на фиг.10 - общий вид закладной детали на концевом участке ригеля.

[38]

Узел соединения с железобетонной колонной 1 здания ригеля 2, включает комплект закладных деталей 3 в железобетонной колонне 1, опорную консоль 4, и комплект закладных деталей 5 на концевом участке железобетонного ригеля. Каждый комплект закладных деталей 3 в железобетонной колонне 1 состоит из корпуса 6, в котором размещена опорная консоль 4 с возможностью разворота на оси Х-Х и включающая верхние 7 и нижние 8 горизонтально отходящие анкера и анкера 9, отходящие вниз вдоль оси колонны и прикрепленные снизу к корпусу 6. Опорная консоль 4, выполнена в виде вертикально установленной пластины на поворотной оси Х-Х в корпусе 6 закладной детали 3 железобетонной колонны 1, содержащая отверстие 10 для пропуска горизонтальной стяжки 11, выносную опорную часть 12 с монтажным шипом 13 для монтажа железобетонного ригеля 2, выступ 14 в задней части 15 опорной консоли 4, нижнюю опорную часть 16 для упора после разворота. Комплект закладных деталей 5 на концевом участке 17 железобетонного ригеля 2 включает несущую торцевую П-образную пластину 18, ограждающий корпус 19 для образования монтажной щели 20 при формировании ригеля и горизонтально отходящие вдоль оси ригеля основной 21 и дополнительный 22 анкера. Сквозное отверстие, образованное в верхней части монтажной щели 20, имеет прямоугольную форму. Монтажный шип 13 на выносной опорной части 12 опорной консоли 4, выполнен с возможностью ввода при монтаже в соответствующий по форме и размерам паз 23 закладной детали в ригеле 2. Корпус 6 закладной детали колонны 1 включает упор 24 в задней части и опорную пяту 25 для упора после разворота опорной консоли 4 в монтажном положении, горизонтальную стяжку 11, закрепленную в боковых стенах 26 корпуса 6, переднюю пластину 27 в виде рамки прямоугольной формы с отверстием 28 для выпуска

[39]

выносной опорной части 12 опорной консоли при ее развороте в монтажное положение. Каждая закладная деталь 5 в комплекте закладных деталей на концевом участке 17 железобетонного ригеля 2 выполнена с образованием монтажной щели 20, направленной вниз и в торец 29 концевого участка ригеля и связана с поворотной опорной консолью 4 в развернутом монтажном положении, с образованием в своей верхней части 30 сквозного отверстия 31 для фиксаторов. При этом каждая закладная деталь 5 на концевом участке 17 ригеля 2, включает несущую торцевую П-образную пластину 18, а основной анкер 21 закладной детали ригеля выполнен в виде арматурного стержня, в начале жестко прикрепленного к несущей торцевой П-образной пластине 18 по типу крепления внахлестку 32 сверху вниз и далее с отгибом 33 направлен вдоль оси ригеля. Основные анкера 21 размещены симметрично относительно вертикальной оси Z-Z монтажной щели 19 и прикреплены по бокам к несущей торцевой П-образной пластине 18. Причем каждый дополнительный анкер 22 закладной детали ригеля выполнен в виде арматурного стержня, жестко прикреплен встык в верхней части 34 к несущей торцевой П-образной пластине 18 закладной детали ригеля и направлен вдоль оси ригеля. Несущая торцевая П-образная пластина оснащена усиливающей накладкой 35 П-образной формы, жестко прикрепленной к основной пластине.

[40]

Железобетонная колонна здания может иметь форму цилиндра, прямоугольной призмы или шестиугольной призмы и т.д., при этом форма выполнения колонны и ее размер не влияют на надежность и долговечность узла соединения с ней ригеля. Комплект закладных деталей в железобетонной колонне и на концевом участке ригеля, может быть от одного до десяти и более.

[41]

Монтаж узла осуществляется следующим образом. Четыре анкера 7 и 8, каждый из которых выполнен в виде короткого арматурного стержня с головкой, закрепляют перпендикулярно на

[42]

вертикальной стенке железобетонной колонны здания 1, имеющей форму прямоугольной призмы, и жестко связывают с корпусом 6 закладной детали 3 железобетонной колонны здания 1, Одновременно два анкера 9, выполненные в виде удлиненных арматурных стержней, отходящего вниз от закладной детали 3 железобетонной колонны 1 здания ориентируют параллельно вертикальной оси У-У железобетонной колонны здания 1 и прикрепляют верхней частью к нижней плоскости корпуса 6 закладной детали 3 железобетонной колонны здания 1. В гнезде закладной детали 3 железобетонной колонны 1 здания закрепляют вертикально установленную опорную консоль 4, при этом опорный выступ 14, расположенный в задне части опорной разъемной консоли устанавливается в упор в задней части корпуса 6 и одновременно нижняя опорная часть 16 опорной консоли устанавливается на опорную плату 25 корпуса 6 закладной детали 3 железобетонной колонны здания. На концевом участке 17 ригеля 2 устанавливается закладная деталь 5, при этом основные анкерные арматурные стержни прикрепляют сверху вниз к боковым ребрам П-образной пластины 18. Дополнительные анкерные арматурные стержни прикрепляют к верхней части П-образной пластины18 закладной детали на концевом участке ригеля 2, которая является опорой для анкерных арматурных стержней. При этом анкерные арматурные стержни ориентируют параллельно горизонтальной оси W-W ригеля. Усиливающую опорную П- образную накладку 35 жестко связывают с несущей торцевой П-образной пластиной закладной детали на концевом участке 17 ригеля 2, образующей монтажную щель 20, направленную вниз и в торец ригеля 2. С помощью монтажной щели 20 производят соединение закладной детали 5 на концевом участке 17 ригеля 2 с опорной консолью 4, связанной в свою очередь с закладной деталью 3 железобетонной колонны здания 1. Монтаж производят до упора передней пластины закладной детали на

[43]

концевом участке 17 ригеля 2, имеющей П-образную форму, с передней пластиной закладной детали 3, выполненной в виде рамки прямоугольной формы. При монтаже ригеля 2 с железобетонной колонной здания 1 используются фиксаторы ригеля 2, выполненные в виде клиньев, которые опускают в сквозное отверстие прямоугольной формы в корпусе 6 закладной детали 5 на концевом участке 17 ригеля 2. Заглушкой с крепежной деталью, закрывают монтажную щель снизу закладной детали на концевом участке ригеля 2 после соединения ригеля 2 с железобетонной колонной здания 1. Заднюю стенку корпуса закладной детали 5 на концевом участке17 ригеля 2 жестко связывают с боковыми ребрами П-образной пластины 18, обеспечивая закладной детали 2 дополнительную жесткость и прочность.

[44]

Собранный узел защищается антикоррозионным покрытием, а затем замоноличивается.

[45]

Железобетонная колонна здания может быть выполнена и в форме цилиндра или шестиугольной призмы при она может быть любых размеров, в соответствии с которыми принимают решение о комплекте закладных деталей в железобетонной колонне и на концевом участке ригеля (обычно, от одного до трех).

[46]

Применение настоящей полезной модели «Узел соединения ригеля с железобетонной колонной здания» позволит повысить надежность, прочность и несущую способность узла соединения ригеля с колонной при одновременном упрощении его конструкции и упрощение и сокращение сроков монтажа ригеля с колонной и за счет снижение трудоемкости при монтаже и монтажного времени работы подъемного крана на стройплощадке, а также создать быстромонтируемый полносборный каркас многоэтажного здания за счет упрощения монтажа на стройплощадке, упрощение технологии изготовления железобетонных линейных элементов каркаса, обеспечить возможность изготовления железобетонных элементов

[47]

каркаса на инвентарных мини ДСК с использованием высокорентабельных стендовых технологий.

Как компенсировать расходы
на инновационную разработку
Похожие патенты