патент
№ RU 58379
МПК B01D45/02

СЕПАРАТОР ГАЗОВЫЙ ВИХРЕВОГО ТИПА (ВАРИАНТЫ)

Авторы:
Биндас Валерий Григорьевич
Номер заявки
2006115966/22
Дата подачи заявки
10.05.2006
Опубликовано
27.11.2006
Страна
RU
Как управлять
интеллектуальной собственностью
Чертежи 
3
Реферат

[1]

Полезная модель предназначена для улавливания мелкодисперсных и аэрозольных жидких и твердых частиц из газового потока, и применяется в нефтяной, газовой, химической и других отраслях промышленности. Полезная модель обеспечивает повышение эффективности сепарации. Вариант 2 полезной модели дополнительно обеспечивает уменьшение высоты и снижение металлоемкости сепаратора. Сущность полезной модели по варианту 1: сепаратор содержит вертикальный цилиндрический корпус, входной, вертикальный выходной и сливной патрубки, дефлектор, улавливающий карман, сепарационный пакет, состоящий из вертикальных плоских изогнутых сепарационных пластин, которые в зоне нахлестки образуют щелевые каналы, ложное днище, карман-ловушку, расположенную в верхней части сепарационного пакета. При этом сепаратор дополнительно содержит горизонтальную перегородку, расположенную над сепарационным пакетом, и конусообразные направляющие конфузоры, расположенные преимущественно над горизонтальной перегородкой между сепарационным пакетом и выходным патрубком и соосно с ними. При этом направляющие конфузоры расположены один над другим с частичным перекрытием, и образуют в зоне перекрытия кольцевые зазоры. При этом дренажная трубка гидравлически соединяет пространство за конфузорами выше горизонтальной перегородки с нижней частью сепаратора. Сущность полезной модели по варианту 2: сепаратор содержит вертикальный цилиндрический корпус, входной, горизонтальный выходной и сливной патрубки, дефлектор, улавливающий карман, сепарационный пакет, состоящий из вертикальных плоских изогнутых сепарационных пластин, которые в зоне нахлестки образуют щелевые каналы, ложное днище, карман-ловушку, расположенную в верхней части сепарационного пакета. При этом сепаратор дополнительно содержит горизонтальную перегородку, расположенную над сепарационным пакетом, и тонкослойный отбойник, содержащий соосно расположенные над горизонтальной перегородкой конусообразные пластины разного размера, и кольцевой гидравлический карман. При этом дренажная трубка гидравлически соединяет гидравлический карман с нижней частью сепаратора. 2 н з.п., 4 з.п., 4 илл.

Формула изобретения

1. Сепаратор газовый вихревого типа, содержащий вертикальный цилиндрический корпус, верхнее и нижнее днища, входной, выходной и сливной патрубки, дефлектор, улавливающий карман, сепарационный пакет, состоящий из вертикальных плоских изогнутых сепарационных пластин, которые в зоне нахлестки образуют щелевые каналы, ложное днище, карман-ловушку, расположенную в верхней части сепарационного пакета, отличающийся тем, что выходной патрубок расположен вертикально, причем сепаратор дополнительно содержит горизонтальную перегородку, расположенную над сепарационным пакетом, и конусообразные направляющие конфузоры, расположенные преимущественно над горизонтальной перегородкой между сепарационным пакетом и выходным патрубком и соосно с сепарационным пакетом и выходным патрубком, при этом направляющие конфузоры расположены один над другим с частичным перекрытием, и образуют в зоне перекрытия кольцевые зазоры, причем сепаратор также содержит дренажную трубку, гидравлически соединяющую пространство, образованное конфузорами, верхней частью вертикального корпуса, верхним днищем и горизонтальной перегородкой с нижней частью сепаратора.

2. Сепаратор газовый вихревого типа по п.1, отличающийся тем, что нижний конец дренажной трубки снабжен гидравлическим затвором.

3. Сепаратор газовый вихревого типа по п.1, отличающийся тем, сепарационный пакет расположен в корпусе сепаратора со смещением в направлении от дефлектора на расстояние, равное половине среднего расстояния от дефлектора до корпуса сепаратора.

4. Сепаратор газовый вихревого типа, содержащий вертикальный цилиндрический корпус, верхнее и нижнее днища, входной, выходной и сливной патрубки, дефлектор, улавливающий карман, сепарационный пакет, состоящий из вертикальных плоских изогнутых сепарационных пластин, которые в зоне нахлестки образуют щелевые каналы, ложное днище, карман-ловушку, расположенную в верхней части сепарационного пакета, отличающийся тем, что выходной патрубок расположен горизонтально, причем сепаратор дополнительно содержит горизонтальную перегородку, расположенную над сепарационным пакетом, и тонкослойный отбойник, содержащий соосно расположенные над горизонтальной перегородкой конусообразные пластины разного размера, и кольцевой гидравлический карман, причем сепаратор также содержит дренажную трубку, гидравлически соединяющую гидравлический карман с нижней частью сепаратора.

5. Сепаратор газовый вихревого типа по п.4, отличающийся тем, что нижний конец дренажной трубки снабжен гидравлическим затвором.

6. Сепаратор газовый вихревого типа по п.4, отличающийся тем, сепарационный пакет расположен в корпусе сепаратора со смещением в направлении от дефлектора на расстояние, равное половине среднего расстояния от дефлектора до корпуса сепаратора.

Описание

[1]

Полезная модель предназначена для улавливания мелкодисперсных и аэрозольных жидких и твердых частиц из газового потока, и применяется в нефтяной, газовой, химической и других отраслях промышленности.

[2]

Среди газовых сепараторов известен, например, сепаратор для очистки газа (патент РФ на изобретение №2136350, МПК 6 B 01 D 45/12, 1999 [1]), содержащий вертикальный цилиндрический корпус, разделенный кольцевой перегородкой на нижнюю и верхнюю сепарационные камеры, входной и выходной патрубки, дефлектор, конфузор, сепарационный элемент с вертикальными пластинами, составляющими щелевые каналы, отражатель. Сепаратор также снабжен ложным и плоским днищами, соединенными радиальными пластинами, на наружной поверхности отражателя смонтирован кольцевой рассеиватель газового потока, а во внутреннем отверстии отражателя смонтирована труба, входящая с кольцевыми зазорами одним концом в выходной патрубок, а другим - в отверстие конфузора, вертикальные пластины сепарационного элемента по вертикали согнуты под тупым углом 150-165°, во входном нормально подведенном патрубке по противоположным сторонам вертикально установлены две направляющие криволинейные пластины.

[3]

Недостатком известного устройства является проскальзывание абразивных частиц на внутреннюю поверхность корпуса сепаратора, что за счет действия центробежных сил приводит его к истиранию, т.е. ослаблению корпуса; наличие в газожидкостном потоке мелкодисперсных и аэрозольных частиц на входе в сепаратор заставляет снижать нагрузку по газовой фазе во избежание уноса последней через выходной патрубок в магистраль; наличие конфузора над кольцевой перегородкой делает конструкцию этого узла нетехнологичной, а сужение в верхней части усеченного конуса приводит к увеличению потерь напора, снижению производительности.

[4]

Известен также СЕПАРАТОР СЦВ-5 (патент РФ на изобретение №2188062, МПК 7 B 01 D 45/12, 2002 [2]), содержащий вертикальный цилиндрический корпус, разделенный кольцевой перегородкой на нижнюю и верхнюю сепарационные камеры, входной и выходной патрубки, дефлектор, сепарационный элемент с вертикальными пластинами, составляющими щелевые каналы, отражатель. Во входном патрубке сепаратора установлен конус-рассекатель с закрепленными на

[5]

его поверхности спиральными пластинами с углом поворота по длине конуса на 180° с отношением высоты конуса к внутреннему диаметру входного патрубка (2,3-2,5):1 и кольцевым зазором, образованным внутренним диаметром патрубка и диаметром основания конуса, с отношением площади зазора к площади сечения патрубка 1:(2,8-3), при этом образующая конической поверхности пересекает внутреннюю образующую цилиндрической поверхности входного патрубка в точке, отстоящей от корпуса сепаратора на расстоянии двух внутренних диаметров входного патрубка, в конце по ходу движения газожидкостной смеси криволинейный дефлектор заканчивается наклоненным под острым углом к основанию дефлектора желобом-отбойником, на кольцевой горизонтальной перегородке установлены с незначительным перекрытием и кольцевым зазором концентрические кольца, над верхней кромкой которых смонтированы карманы-ловушки, состоящие из соединенных между собой горизонтальной шайбы и цилиндрического кольца.

[6]

Недостаток известного устройства заключается в том, что желоба, сужающиеся по ходу движения в них жидкостной пленки к внутренней поверхности корпуса аппарата, закрывают значительную часть живого сечения между корпусом и сепарационным пакетом, что в последнем случае приводит к росту потерь напора в аппарате и хаотическому движению газожидкостной смеси в этом пространстве и уносу значительной части жидкой фазы во внутрь сепарационного пакета; кроме того, щель, расположенная за желобами по ходу движения потока, полностью перекрыта, т.е. не участвует в сепарационном процессе и создает дополнительные потери напора.

[7]

Известен также МАЛОГАБАРИТНЫЙ ВЫСОКОЭФФЕКТИВНЫЙ СЕПАРАТОР СЦВ-5 (патент РФ на изобретение №2221625, МПК 7 B 01 D 45/12, 2004 [3]), содержащий вертикальный цилиндрический корпус, горизонтальную крышку, входной, выходной, сливной патрубки, дефлектор, вертикальный сепарационный пакет, состоящий из плоских изогнутых и дугообразных пластин, которые в зоне нахлестки образуют щелевые каналы. На внутренней поверхности вертикальной дугообразной пластины, расположенной по ходу движения газожидкостного потока непосредственно после плоских изогнутых пластин пакета, по всей высоте установлены сходящиеся дугообразные направляющие пластины, направленные под углом 30 к горизонтали, собирающие и транспортирующие пленочную жидкость с внутренней поверхности дугообразной пластины в зону щелевого канала, для транспортировки жидкой фазы из зоны щелевого канала к внутренней

[8]

поверхности корпуса аппарата предусмотрены прямоугольные открытые желоба, занимающие 1/7-1/8 часть площади сечения, ограниченного внутренней поверхностью корпуса и наружной поверхностью пакета, в верхней внутренней части сепарационного пакета в отверстии горизонтальной крышки установлена кольцевая карман-ловушка, образованная наружной нижней частью цилиндрической поверхности выходного патрубка, нижней поверхностью крышки и внутренней поверхностью верхней части сепарационных пластин.

[9]

Недостатком указанного сепаратора является то, что радиальный ввод газожидкостного потока в сепаратор приводит к лобовому удару о стенку дефлектора, что увеличивает сопротивление потоку и изменяет сложившуюся в газопроводе структуру потока, а это в свою очередь снижает качество сепарации. Другим недостатком указанного сепаратора является наличие вертикальной дугообразной пластины с закрепленными на ней дугообразными направляющими пластинами и прямоугольными открытыми желобами, что значительно усложняет конструкцию сепаратора. Третьим недостатком сепаратора СЦВ-5 [3] является конструктивное решение вывода очищенного газа, при котором выходной патрубок устанавливается непосредственно в отверстие горизонтальной крышки. Это приводит к тому, что весь поток газа с оставшейся мелкодисперсной жидкостью, не задержанной карманом-ловушкой, проходит в отверстие горизонтальной крышки и беспрепятственно устремляется по выходному патрубку к выходу из сепаратора. Наличие указанной выше мелкодисперсной жидкости на выходе из сепаратора обуславливает пониженную эффективность сепарации устройства.

[10]

По совокупности существенных признаков и реализуемому назначению наиболее близким техническим решением к заявляемому газовому вихревому сепаратору является МАЛОГАБАРИТНЫЙ ВЫСОКОЭФФЕКТИВНЫЙ СЕПАРАТОР "КОЛИБРИ" (патент РФ на изобретение №2244584, МПК 7 B 01 D 45/12, 2005 [4]), содержащий вертикальный цилиндрический корпус, горизонтальную перегородку, входной, выходной, сливной патрубки, дефлектор, вертикальный сепарационный пакет, состоящий из вертикальных плоских изогнутых сепарационных пластин, которые в зоне нахлестки образуют щелевые каналы. Изогнутые концы пластин направлены в разные стороны касательно к наружному и внутреннему диаметрам сепарационного пакета, осевая линия входного патрубка по горизонтали смещена относительно осевой линии корпуса аппарата на 1/2 диаметра входного патрубка, при этом диаметр входного патрубка не превышает 1/4 диаметра корпуса,

[11]

дефлектор, установленный по ходу вращения газожидкостного потока, имеет максимально допустимое сечение, причем по ходу потока он сужается по горизонтали и возрастает по высоте, сохраняя при этом площадь поперечного сечения, в конце верхней суженной части дефлектора установлена дугообразная пластина, нисходящая по ходу газожидкостного потока и направленная по отношению к горизонтали под углом 15-30°, по ходу вращения газожидкостного потока с зазором к внутренней стороне корпуса установлена изогнутая пластина, которая своим нижним концом заходит под нижнюю крышку дефлектора.

[12]

Недостатком указанного сепаратора является конструктивное решение вывода очищенного газа, при котором выходной патрубок устанавливается непосредственно в отверстие горизонтальной крышки. Это приводит к тому, что весь поток газа с оставшейся мелкодисперсной жидкостью, не задержанной карманом-ловушкой, проходит в отверстие горизонтальной крышки и беспрепятственно устремляется по выходному патрубку к выходу из сепаратора. Наличие указанной выше мелкодисперсной жидкости на выходе из сепаратора обуславливает пониженную эффективность сепарации устройства.

[13]

Техническим результатом, обеспечиваемым заявляемыми полезными моделями по вариантам 1 и 2, является повышение эффективности сепарации.

[14]

Дополнительным техническим результатом, обеспечиваемым заявляемой полезной моделью по варианту 2, является уменьшение высоты и снижение металлоемкости сепаратора.

[15]

Сущность полезной модели по варианту 1 состоит в том, что сепаратор газовый вихревого типа содержит вертикальный цилиндрический корпус, верхнее и нижнее днища, входной, выходной и сливной патрубки, дефлектор, улавливающий карман, сепарационный пакет, состоящий из вертикальных плоских изогнутых сепарационных пластин, которые в зоне нахлестки образуют щелевые каналы, ложное днище, карман-ловушку, расположенную в верхней части сепарационного пакета. При этом выходной патрубок расположен вертикально, причем сепаратор дополнительно содержит горизонтальную перегородку, расположенную над сепарационным пакетом, и конусообразные направляющие конфузоры, расположенные преимущественно над горизонтальной перегородкой между сепарационным пакетом и выходным патрубком и соосно с сепарационным пакетом и выходным патрубком. При этом направляющие конфузоры расположены один над другим с частичным перекрытием, и образуют в зоне перекрытия кольцевые зазоры. При этом сепаратор также содержит

[16]

дренажную трубку, гидравлически соединяющую пространство, образованное конфузорами, верхней частью вертикального корпуса, верхним днищем и горизонтальной перегородкой с нижней частью сепаратора.

[17]

Нижний конец дренажной трубки может быть снабжен гидравлическим затвором.

[18]

Сепарационный пакет расположен в корпусе сепаратора со смещением в направлении от дефлектора на расстояние, равное половине среднего расстояния от дефлектора до корпуса сепаратора.

[19]

Сущность полезной модели по варианту 2 состоит в том, что сепаратор газовый вихревого типа, содержит вертикальный цилиндрический корпус, верхнее и нижнее днища, входной, выходной и сливной патрубки, дефлектор, улавливающий карман, сепарационный пакет, состоящий из вертикальных плоских изогнутых сепарационных пластин, которые в зоне нахлестки образуют щелевые каналы, ложное днище, карман-ловушку, расположенную в верхней части сепарационного пакета. При этом выходной патрубок расположен горизонтально, а сепаратор дополнительно содержит горизонтальную перегородку, расположенную над сепарационным пакетом, и тонкослойный отбойник, содержащий соосно расположенные над горизонтальной перегородкой конусообразные пластины разного размера, и кольцевой гидравлический карман. При этом сепаратор также содержит дренажную трубку, гидравлически соединяющую гидравлический карман с нижней частью сепаратора.

[20]

Нижний конец дренажной трубки может быть снабжен гидравлическим затвором.

[21]

Сепарационный пакет расположен в корпусе сепаратора со смещением в направлении от дефлектора на расстояние, равное половине среднего расстояния от дефлектора до корпуса сепаратора.

[22]

На фигуре 1 показана схема сепаратора по варианту 1, продольный разрез; на фиг.2 - схема сепаратора по варианту 1 и 2, поперечный разрез (сечение А-А фиг.1 и 4); на фиг.3 - пример выполнения нижнего конца дренажной трубки; на фиг.4 - схема сепаратора по варианту 2, продольный разрез.

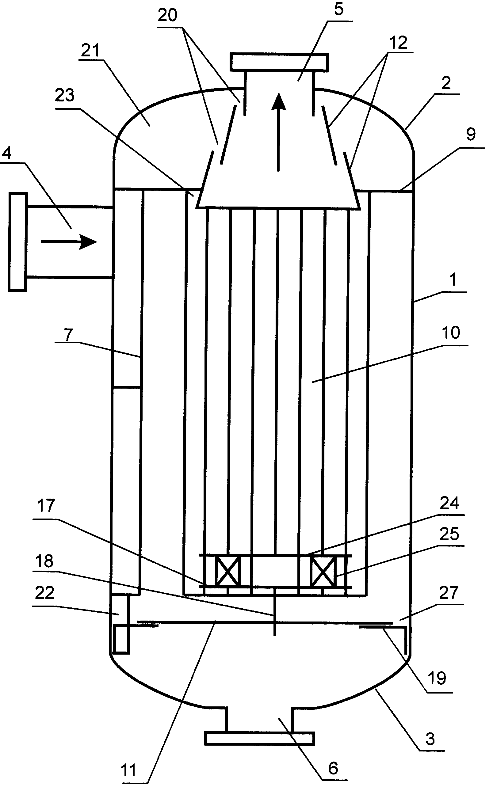
[23]

Сепаратор газовый вихревого типа по варианту 1 (фиг.1, 2) содержит вертикальный цилиндрический корпус 1, верхнее 2 и нижнее 3 днища, входной 4, выходной 5 и сливной 6 патрубки, дефлектор 7 с отражательной пластиной 8, жестко закрепленную в корпусе 1 горизонтальную перегородку 9, сепарационный пакет 10, ложное днище 11 и направляющие конфузоры 12.

[24]

Входной патрубок 4 расположен ниже горизонтальной перегородки 9 и жестко закреплен в цилиндрическом корпусе 1 сепаратора. Входной патрубок 4 расположен в корпусе 1 со смещением, так, что его ось лежит в плоскости поперечного сечения корпуса 1 и не пересекает ось корпуса 1.

[25]

Дефлектор 7 расположен у входного патрубка 4 и предназначен для формирования вращательного (вихревого) движения газового потока внутри сепаратора. Дефлектор 7 также препятствует поступлению газового потока в осевую зону сепаратора без его предварительного разделения. Внутренняя стенка корпуса 1, дефлектор 7 и отражательная пластина 8 образуют улавливающий карман 14. Карман 14 предназначен для отвода из вихревого потока движущихся жидкости и механических примесей, прижатых центробежной силой к внутренней стенке корпуса 1 сепаратора, и их транспортировки в нижнюю накопительную часть сепаратора.

[26]

Сливной патрубок 6 расположен в нижнем днище 3 сепаратора.

[27]

Сепарационный пакет 10 выполнен цилиндрической формы и содержит плоские изогнутые сепарационные пластины 15, расположенные в его образующей поверхности, и формирующие в зоне нахлестки одинаковые и постоянные по размеру щелевые каналы 16. Плоские изогнутые пластины 15 жестко закреплены в верхней части к горизонтальной перегородке 9, а в нижней части - к нижнему осевому диску 17. Палец 18, жестко закреплен одним концом к диску 17. Другим концом палец 18 расположен без зазора в отверстии ложного днища 11, расположенного с зазором к вертикальному корпусу 1, и жестко закрепленного в нескольких местах по периметру к корпусу 1 с помощью Г-образных пластин 19. При этом сепарационный пакет 10 расположен в осевой зоне сепаратора так, что ось сепарационного пакета 10 параллельна оси цилиндрического корпуса 1 сепаратора и смещена относительно нее.

[28]

В верхней части корпуса 1 сепаратора расположены конусообразные направляющие конфузоры 12. Конфузоры 12 расположены соосно с сепарационным пакетом 10 и выходным патрубком 5, расположенным в верхнем днище 2. Конфузоры 12 расположены один над другим с частичным перекрытием. Нижний конфузор расположен в выходном отверстии горизонтальной пластины 9. Верхний конфузор расположен под выходным патрубком 5 и частично перекрывает его. в зоне взаимного перекрытия и перекрытия с выходным патрубком конфузоры 12 образуют кольцевые зазоры 20, расположенные навстречу движения газового потока, и предназначенные для отвода пленочной

[29]

жидкости с поверхности конфузоров 12 в верхнюю накопительную камеру 21 сепаратора.

[30]

Сепаратор содержит также вертикальную дренажную трубку 22, расположенную в кармане 14. Один конец дренажной трубки 22 расположен в дренажном отверстии горизонтальной пластины 9, а другой конец расположен под ложным днищем 11.

[31]

В верхней части сепарационного пакета 10 между нижней наружной поверхностью нижнего конфузора 12 и внутренней поверхностью верхней части плоских изогнутых пластин 15 образован кольцевой зазор, который совместно с нижней поверхностью горизонтальной пластины 9 сформировал карман-ловушку 23.

[32]

Над нижним осевым диском 17 расположен верхний осевой диск 24, соединенный с ним посредством радиальных пластин 25. Пластины 25 также предназначены для исключения вращательного эффекта газового потока ниже зоны их расположения.

[33]

Примеры конкретного выполнения.

[34]

Пример 1.

[35]

Ось сепарационного пакета 10 смещена относительно оси корпуса 1 сепаратора в направлении от дефлектора 7 на расстояние, равное половине среднего расстояния от дефлектора 7 до корпуса 1 сепаратора.

[36]

Концы плоских изогнутых пластин 15 направлены в разные стороны по касательной к окружностям, расположенным в поперечном сечении сепаратора, одна из которых описана вокруг сепарационного пакета 10, а другая вписана в сепарационный пакет 10.

[37]

Сепаратор содержит два направляющих конфузора 12.

[38]

Пример 2.

[39]

Ось сепарационного пакета 10 смещена относительно оси корпуса 1 сепаратора в направлении от дефлектора 7 на расстояние, равное половине среднего расстояния от дефлектора 7 до корпуса 1 сепаратора.

[40]

Концы плоских изогнутых пластин 15 направлены в разные стороны по касательной к окружностям, расположенным в поперечном сечении сепаратора, одна из которых описана вокруг сепарационного пакета 10, а другая вписана в сепарационный пакет 10.

[41]

Сепаратор содержит три направляющих конфузора 12.

[42]

Нижний конец дренажной трубки 22 снабжен гидравлическим затвором 26 (фиг.3).

[43]

Реализация конструктивных элементов заявляемой полезной модели не ограничивается приведенными выше примерами.

[44]

Заявляемый газовый сепаратор вихревого типа по варианту 1 работает следующим образом.

[45]

Газ, подлежащий очистке (сырой газ), подводят в аппарат через входной патрубок 4. Установка входного патрубка, смещенного по горизонтали относительно осевой линии корпуса 1, позволяет создать скользящий удар о дефлектор 7.

[46]

Дефлектор 7 плавно изменяет направление движения газа, и формирует вихревое движение газа вокруг сепарационного пакета 10.

[47]

В пространстве, образованном стенкой корпуса 1 и сепарационным пакетом 10, из газового потока выделяется основная масса жидкости и механические примеси. Капли жидкости и механическая примесь отбрасываются центробежной силой на стенки корпуса 1 сепаратора и под действием гравитационных сил движутся вдоль этой стенки по нисходящей спирали по ходу вращения газового потока. Часть жидкости и механических примесей попадает при этом в улавливающий карман 14, и стекает по его стенкам вниз, к ложному днищу 11. Достигая плоскости ложного днища 11, жидкость и механические примеси (попавшие и не попавшие в улавливающий карман 14) проходят через кольцевой зазор 27 между корпусом 1 и ложным днищем 11, и транспортируются к сливному патрубку 6.

[48]

Мелкодисперсная капельная жидкость, не осевшая на стенке корпуса 1, попадает на наружную поверхность плоских изогнутых пластин 15, и транспортируется газовым потоком через щелевые каналы 16, на их внутреннюю поверхность. Опускаясь по внутренней поверхности пластин 15, частицы жидкости, приблизившись к нижним кромкам этих пластин 15, соскальзывают с них и попадают на поверхность ложного днища 11, откуда через кольцевой зазор 27 между корпусом 1 и ложным днищем 11 транспортируются к сливному патрубку 6.

[49]

Вращаясь в направлении газового потока, неотсепарированная пленочная часть жидкости захватывается карманом-ловушкой 23, (ее наружный диаметр больше внутреннего диаметра сепарационного пакета 10), и, продолжая свое вращательное движение в направлении газового потока, и будучи прижатой к горизонтальной перегородке 9, под действием центробежной силы, прижимается к

[50]

верхней внутренней части пластин 15. После накопления в кармане-ловушке 23 достаточного количества жидкости, она под действием силы тяжести стекает вниз по пластинам 15, и далее транспортируется на ложное днище 11, а затем - к сливному патрубку 6.

[51]

Оставшаяся более легкая пленочная часть жидкости, не задержанная карманом-ловушкой, поступает вместе с выходным газовым потоком в область конфузоров 12. Двигаясь в направлении газового потока вверх по поверхности конфузоров 12, пленочная жидкость попадает в кольцевые зазоры 20, откуда она транспортируется в верхнюю накопительную камеру 21. Накопленная в камере 21 жидкость под действием гравитационных сил отводится через дренажную трубку 22 в нижнюю часть сепаратора, а оттуда - к сливному патрубку 6.

[52]

Таким образом, из вышеизложенного следует, что в заявляемой полезной модели по варианту 1 заявляемый технический результат: повышение эффективности сепарации, достигается за счет того, что сепаратор содержит вертикальный выходной патрубок, горизонтальную перегородку, расположенную над сепарационным пакетом, и конусообразные направляющие конфузоры, расположенные преимущественно над горизонтальной перегородкой между сепарационным пакетом и выходным патрубком и соосно им. При этом направляющие конфузоры расположены один над другим с частичным перекрытием, с образованием в зоне перекрытия кольцевых зазоров. При этом сепаратор также содержит дренажную трубку, гидравлически соединяющую пространство, образованное конфузорами, верхней частью вертикального корпуса, верхним днищем и горизонтальной перегородкой с нижней частью сепаратора. При этом, как и в прототипе, сепаратор содержит вертикальный цилиндрический корпус, верхнее и нижнее днища, входной и сливной патрубки, дефлектор, улавливающий карман, сепарационный пакет, состоящий из вертикальных плоских изогнутых сепарационных пластин, которые в зоне нахлестки образуют щелевые каналы, ложное днище, карман-ловушку, расположенную в верхней части сепарационного пакета.

[53]

Сепаратор газовый вихревого типа по варианту 2 (фиг.4, 2) содержит вертикальный цилиндрический корпус 1, верхнее 2 и нижнее 3 днища, входной 4, выходной 5 и сливной 6 патрубки, дефлектор 7 с отражательной пластиной 8, жестко закрепленную в корпусе горизонтальную перегородку 9, сепарационный пакет 10 и ложное днище 11.

[54]

Входной патрубок 4 расположен ниже горизонтальной перегородки 9 и жестко закреплен в цилиндрическом корпусе 1 сепаратора. Входной патрубок 4 расположен в корпусе 1 со смещением, так, что его ось лежит в плоскости поперечного сечения корпуса 1 и не пересекает ось корпуса 1.

[55]

Дефлектор 7 расположен у входного патрубка 4 и предназначен для формирования вращательного (вихревого) движения газового потока внутри сепаратора. Дефлектор 7 также препятствует поступлению газового потока в осевую зону сепаратора без его предварительного разделения. Внутренняя стенка корпуса 1, дефлектор 7 и отражательная пластина 8 образуют улавливающий карман 14. Карман 14 предназначен для отвода из вихревого потока движущихся жидкости и механических примесей, прижатых центробежной силой к внутренней стенке корпуса 1 сепаратора, и их транспортировки в нижнюю накопительную часть сепаратора.

[56]

Сепарационный пакет 10 выполнен цилиндрической формы и содержит плоские изогнутые сепарационные пластины 15, расположенные в его образующей поверхности, и формирующие в зоне нахлестки одинаковые и постоянные по размеру щелевые каналы 16. Плоские изогнутые пластины 15 жестко закреплены в верхней части к горизонтальной пластине 9, а в нижней части - к нижнему осевому диску 17. Палец 18, жестко закреплен одним концом к диску 17. Другим концом палец 18 расположен без зазора в отверстии ложного днища 11, расположенного с зазором к вертикальному корпусу 1, и жестко закрепленного в нескольких местах по периметру к корпусу 1 с помощью Г-образных пластин 19. При этом сепарационный пакет 10 расположен в осевой зоне сепаратора так, что ось сепарационного пакета 10 параллельна оси цилиндрического корпуса 1 сепаратора и смещена относительно нее.

[57]

В верхней части корпуса 1 сепаратора расположен тонкослойный отбойник (не обозначено), содержащий соосно расположенные конусообразные пластины 28 разного размера, и кольцевой гидравлический карман 29. Пластины 28 расположены соосно с сепарационным пакетом 10 и образуют кольцевые зазоры 20.

[58]

Выходной патрубок 5 расположен горизонтально и жестко закреплен в цилиндрическом корпусе 1 сепаратора между горизонтальной перегородкой 9 и гидравлическим карманом 29. Сливной патрубок 6 расположен в нижнем днище 3 сепаратора.

[59]

Сепаратор содержит также вертикальную дренажную трубку 22, расположенную в кармане 14, и проходящую через отверстие в горизонтальной перегородке 9. Один конец дренажной трубки 22 расположен в дренажном отверстии кольцевого гидравлического кармана 29, а другой конец расположен под ложным днищем 11.

[60]

В отверстии горизонтальной перегородки 9, расположенном соосно с сепарационным пакетом 10, размещена труба 30, жестко соединенная с горизонтальной перегородкой 9. В верхней части сепарационного пакета 10 между наружной поверхностью трубы 30 и внутренней поверхностью верхней части плоских изогнутых пластин 15 образован кольцевой зазор, который совместно с нижней поверхностью горизонтальной пластины 9 сформировал карман-ловушку 23.

[61]

Над нижним осевым диском 17 расположен верхний осевой диск 24, соединенный с ним посредством радиальных пластин 25. Пластины 25 также предназначены для исключения вращательного эффекта газового потока в сепараторе ниже зоны их расположения.

[62]

Примеры конкретного выполнения.

[63]

Пример 1.

[64]

Ось сепарационного пакета 10 смещена относительно оси корпуса 1 сепаратора в направлении от дефлектора 7 на расстояние, равное половине среднего расстояния от дефлектора 7 до корпуса 1 сепаратора.

[65]

Концы плоских изогнутых пластин 15 направлены в разные стороны по касательной к окружностям, расположенным в поперечном сечении сепаратора, одна из которых описана вокруг сепарационного пакета 10, а другая вписана в сепарационный пакет 10.

[66]

Пример 2.

[67]

Ось сепарационного пакета 10 смещена относительно оси корпуса 1 сепаратора в направлении от дефлектора 7 на расстояние, равное половине среднего расстояния от дефлектора 7 до корпуса 1 сепаратора.

[68]

Концы плоских изогнутых пластин 15 направлены в разные стороны по касательной к окружностям, расположенным в поперечном сечении сепаратора, одна из которых описана вокруг сепарационного пакета 10, а другая вписана в сепарационный пакет 10.

[69]

Нижний конец дренажной трубки 22 снабжен гидравлическим затвором 26 (фиг.3).

[70]

Реализация конструктивных элементов заявляемой полезной модели не ограничивается приведенными выше примерами.

[71]

Заявляемый сепаратор газовый вихревого типа по варианту 2 работает следующим образом.

[72]

Газ, подлежащий очистке (сырой газ), подводят в аппарат через входной патрубок 4. Установка входного патрубка, смещенного по горизонтали относительно осевой линии корпуса, позволяет создать скользящий удар о дефлектор 7.

[73]

Дефлектор 7 плавно изменяет направление движения газа, и формирует вихревое движение газа вокруг сепарационного пакета 10.

[74]

В пространстве, образованном стенкой корпуса 1 и сепарационным пакетом 10, из газового потока выделяется основная масса жидкости и механические примеси. Капли жидкости и механическая примесь отбрасываются центробежной силой на стенки корпуса 1 сепаратора и под действием гравитационных сил движутся вдоль этой стенки по нисходящей спирали по ходу вращения газового потока. Часть жидкости и механических примесей попадает при этом в улавливающий карман 14, и стекает по его стенкам вниз, к ложному днищу 11. Достигая плоскости ложного днища 11, жидкость и механические примеси (попавшие и не попавшие в улавливающий карман 14) проходят через кольцевой зазор 27 между корпусом 1 и ложным днищем 11, и транспортируются к сливному патрубку 6.

[75]

Мелкодисперсная капельная жидкость, не осевшая на стенке корпуса 1, попадает на наружную поверхность плоских изогнутых пластин 15, и транспортируется газовым потоком через щелевые каналы 16, на их внутреннюю поверхность. Опускаясь по внутренней поверхности пластин 15, частицы жидкости, приблизившись к нижним кромкам этих пластин 15, соскальзывают с них и попадают на поверхность ложного днища 11, откуда через кольцевой зазор 27 между корпусом 1 и ложным днищем 11 транспортируются к сливному патрубку 6.

[76]

Вращаясь в направлении газового потока, неотсепарированная пленочная часть жидкости захватывается карманом-ловушкой 23, (ее наружный диаметр больше внутреннего диаметра сепарационного пакета 10), и, продолжая свое вращательное движение в направлении газового потока, и будучи прижатой к горизонтальной перегородке 9, под действием центробежной силы, прижимается к верхней внутренней части пластин 15. После накопления в кармане-ловушке 23 достаточного количества жидкости, она под действием силы тяжести стекает вниз

[77]

по пластинам 15, и далее транспортируется на ложное днище 11, а затем - к сливному патрубку 6.

[78]

Оставшаяся более легкая пленочная часть жидкости, не задержанная карманом-ловушкой, поступает вместе с выходным газовым потоком в пространство над горизонтальной перегородкой 9, где она за счет инерционных сил при повороте выходного газового потока попадает на конусообразные пластины 28 тонкослойного отбойника. Пленочная жидкость, двигаясь вверх по поверхности конусообразных пластин 28 в области зазоров 20, транспортируется в кольцевой гидравлический карман 29. Накопленная в этом кармане 29 жидкость под действием гравитационных сил отводится через дренажную трубку 22 в нижнюю часть сепаратора, а оттуда - к сливному патрубку 6.

[79]

Таким образом, из вышеизложенного следует, что в заявляемой полезной модели по варианту 2 заявляемый технический результат: повышение эффективности сепарации, достигается за счет того, что сепаратор содержит горизонтальный выходной патрубок, горизонтальную перегородку, расположенную над сепарационным пакетом, и тонкослойный отбойник, содержащий соосно расположенные над горизонтальной перегородкой конусообразные пластины разного размера, и кольцевой гидравлический карман. При этом сепаратор также содержит дренажную трубку, гидравлически соединяющую гидравлический карман с нижней частью сепаратора. При этом, как и в прототипе, сепаратор содержит вертикальный цилиндрический корпус, верхнее и нижнее днища, входной и сливной патрубки, дефлектор, улавливающий карман, сепарационный пакет, состоящий из вертикальных плоских изогнутых сепарационных пластин, которые в зоне нахлестки образуют щелевые каналы, ложное днище, карман-ловушку, расположенную в верхней части сепарационного пакета.

[80]

Заявляемый технический результат: уменьшение высоты и снижение металлоемкости сепаратора, достигается за счет горизонтального расположения выходного патрубка и того, что сепаратор содержит тонкослойный отбойник, содержащий соосно расположенные над горизонтальной перегородкой конусообразные пластины разного размера, и кольцевой гидравлический карман.

[81]

Заявляемый газовый сепаратор вихревого типа может быть изготовлен на машиностроительном предприятии.

[82]

ИСТОЧНИКИ ИНФОРМАЦИИ.

[83]

1. Патент РФ на изобретение №2136350, МПК6 B 01 D 45/12, 1999.

[84]

2. Патент РФ на изобретение №2188062, МПК 7 B 01 D 45/12, 2002.

[85]

3. Патент РФ на изобретение №2221625, МПК 7 B 01 D 45/12, 2004.

[86]

4. Патент РФ на изобретение №2244584, МПК 7 B 01 D 45/12, 2005.

Как компенсировать расходы
на инновационную разработку
Похожие патенты