патент
№ RU 55644
МПК B02C15/08

ЦЕНТРОБЕЖНАЯ МЕЛЬНИЦА НЕПРЕРЫВНОГО ТИПА

Авторы:
Аввакумов Евгений Григорьевич
Номер заявки
2006110987/22
Дата подачи заявки
04.04.2006
Опубликовано
27.08.2006
Страна
RU
Как управлять
интеллектуальной собственностью
Чертежи 
1
Реферат

[1]

Полезная модель направлена на повышение эффективности размола обрабатываемых материалов при работе в непрерывном режиме за счет увеличения энергии механических воздействий по мере продвижения материала по мельнице. Указанный технический результат достигается тем, что центробежная мельница непрерывного типа содержит вертикальный корпус, основной вал, расположенный вдоль оси корпуса, прижимные пластины, связанные с основным валом и закрепленными на них равноудаленными от центра вертикальными валами для кольцеобразных мелющих тел, объединенных в пакеты, разделенные горизонтальными перегородками, и составляющих секции, в пакетах мелющие тела с отверстиями в центре чередуются с мелющими телами с отверстиями, смещенными от центра, и смонтированы с возможностью контакта с внутренней поверхностью корпуса. Корпус выполнен в виде коаксиальных цилиндров, ступенчато возрастающих по ходу движения материала, каждая секция из пакетов мелющих тел, разделенных горизонтальными перегородками, дополнительно снабжена верхними и нижними прижимными пластинами с закрепленными на них валами для пакетов мелющих тел, диаметры секций увеличиваются в соответствии с увеличением размера коаксиальных цилиндров корпуса, а на нижних прижимных пластинах смонтированы лопатки для нагнетания воздуха в направлении движения обрабатываемого материала. 1 илл.

Формула изобретения

1. Центробежная мельница непрерывного типа, включающая вертикальный корпус, основной вал, расположенный вдоль оси корпуса, прижимные пластины, связанные с основным валом и закрепленными на них равноудаленными от центра вертикальными валами для кольцеобразных мелющих тел, объединенных в пакеты, разделенные перегородками, и составляющих секции, в пакетах мелющие тела с отверстиями в центре чередуются с мелющими телами с отверстиями, смещенными от центра, и смонтированы с возможностью контакта с внутренней поверхностью корпуса, отличающаяся тем, что корпус выполнен в виде коаксиальных цилиндров, ступенчато возрастающих по ходу движения материала, каждая секция из пакетов мелющих тел, разделенных горизонтальными перегородками, дополнительно снабжена верхними и нижними прижимными пластинами с закрепленными на них валами для пакетов мелющих тел, диаметры секций увеличиваются в соответствии с увеличением размера коаксиальных цилиндров корпуса, на нижних прижимных пластинах секций смонтированы лопатки для нагнетания воздуха в направлении движения обрабатываемого материала.

2. Центробежная мельница по п.1, отличающаяся тем, что диаметры секций и мелющих тел возрастают по мере увеличения диаметра цилиндров корпуса для сохранения контакта мелющих тел с внутренней поверхностью корпуса.

3. Центробежная мельница по п.1, отличающаяся тем, что валы для пакетов мелющих тел в секциях размещены от центрального вала на расстояниях, пропорциональных увеличению диаметру цилиндра.

4. Центробежная мельница по п.1, отличающаяся тем, что увеличение отношения диаметра наибольших секции и мелющего тела к диаметру наименьших секций и мелющего тела, должно быть не менее 1,2.

Описание

[1]

Изобретение относится к аппаратам для тонкого измельчения и активации твердых тел в химической, металлургической, строительной промышленности на стадиях подготовки сырья к химическому переделу.

[2]

Известна целая серия центробежных мельниц, в которых измельчение производится на контактах цилиндрических мелющих тел движущихся по внутренней поверхности цилиндрического корпуса (патенты РФ №2110327, 2104092, 2014892, 2164815, патент США 3618864, авт. свидетельства СССР №1333407, 1648556 и др.)

[3]

Известна центробежная мельница, содержащая вертикальный цилиндрический корпус, вал, расположенный вдоль оси корпуса, связанные с валом верхнюю и нижнюю прижимные пластины, выполненные с плечеобразными выступами, расположенными на равном расстоянии от вала, и жестко соединенные с пластинами множеством осей, кольцеобразные элементы, смонтированные на осях с возможностью контакта с внутренней поверхностью контейнера (патент РФ №2104092, Кл. В 02 С 15/08, опубл. 02.10.1998 г.). Недостатком данного решения является недостаточно высокая эффективность измельчения материала при работе в непрерывном режиме, поскольку в нем обрабатываемый материал измельчают путем передачи ему только сжимающего и срезающего усилий через кольцеобразные мелющие тела, вращающиеся вдоль внутренней поверхности корпуса мельницы.

[4]

Наиболее близким техническим решением, выбранным за прототип, является центробежная мельница непрерывного типа, отличающаяся от вышеописанной тем, что мелющие тела объединены в пакеты, в которых мелющие тела с отверстиями в центре, чередуются с мелющими телами, имеющие отверстия смещенные относительно центра, и дополнительно мельница снабжена горизонтальными перегородками, разделяющими пакеты мелющих тел (патент РФ на полезную модель №44265 Кл. В 02 С 15/08).

[5]

Задача, решаемая заявляемым техническим решением, заключается в повышении эффективности размола обрабатываемых материалов при работе в непрерывном режиме за счет увеличения энергии механических воздействий по мере продвижения материала по мельнице.

[6]

Поставленная задача решается благодаря тому, что в заявляемой центробежной мельнице непрерывного типа, включающей вертикальный корпус, основной вал, расположенный вдоль оси корпуса, прижимные пластины, связанные с основным валом и закрепленными на них равноудаленными от центра вертикальными валами для кольцеобразных мелющих тел, объединенных в пакеты, разделенные перегородками, и

[7]

составляющих секции, в пакетах мелющие тела с отверстиями в центре чередуются с мелющими телами с отверстиями, смещенными от центра, и смонтированы с возможностью контакта с внутренней поверхностью корпуса, корпус выполнен в виде коаксиальных цилиндров ступенчато возрастающих по ходу движения материала, каждая секция из пакетов мелющих тел, разделенных горизонтальными перегородками, дополнительно снабжена верхними и нижними прижимными пластинами с закрепленными на них валами для пакетов мелющих тел, диаметры секций увеличиваются в соответствии с увеличением размера коаксиальных цилиндров корпуса, и на нижних прижимных пластинах смонтированы лопатки для нагнетания воздуха в направлении движения обрабатываемого материала.

[8]

Предпочтительно, диаметры секций и мелющих тел возрастают по мере увеличения диаметра цилиндров корпуса для сохранения контакта мелющих тел с внутренней поверхностью корпуса.

[9]

Предпочтительно, валы для пакетов мелющих тел в секциях размещены от центрального вала на расстояниях, пропорциональных увеличению диаметру цилиндра.

[10]

Предпочтительно, увеличение отношения диаметра наибольших секции и мелющего тела к диаметру наименьших секции и мелющего тела, должно быть не менее чем в 1.2 раза.

[11]

Существенными отличительными признаками заявляемого решения являются:

[12]

- корпус выполнен в виде коаксиальных цилиндров ступенчато возрастающих по ходу движения материала;

[13]

- диаметры секций, состоящих из пакетов мелющих тел, разделенных горизонтальными перегородками, ступенчато возрастают по мере увеличения диаметра цилиндров корпуса для сохранения контакта с внутренней поверхностью корпуса;

[14]

- каждая секция имеет верхнюю и нижнюю прижимные пластины с закрепленными на них валами для пакетов мелющих тел;

[15]

- на нижних прижимных пластинах секций смонтированы лопатки для улучшения транспортировки обрабатываемого материала.

[16]

То, что в заявляемом техническом решении размеры секций и мелющих тел увеличиваются по направлению движения материала позволяет подвергать обрабатываемое вещество действию возрастающих по ходу движения материала ударных воздействий. Известно, что с уменьшением размера частиц энергия, необходимая для разрушения, возрастает в соответствии с уравнением [Фридель Ж. Дислокации. М.: Мир. 1967. 643 с.]:

[17]

σd0+Kd-1/2,

[18]

где σ0 - предел прочности монокристалла, d - размер кристалла, К - постоянная величина, равная , Е - модуль Юнга, γ - поверхностное натяжение. В соответствии с этой формулой при изменении размера частиц от 50 мкм до 0,25 мкм (реальный случай) прочность частицы возрастает в 1,5 раза. Поэтому необходимо увеличить давление мелющего тела (диска) на поверхность обката несколько больше, чем в 1,5 раза, чтобы мелкая частица могла подвергаться дальнейшему разрушению.

[19]

Давление мелющего тела (диска) на поверхность обката в поле центробежных сил равно ускорению центра диска, помноженному на массу диска:

[20]

Р=πRω2М=πRω2(R2-r2)hρ0,

[21]

где R, r - внешний и внутренний радиусы диска, ω - круговая частота вращения вала, h, ρ0 - толщина и плотность материала диска. Из формулы следует, что увеличения давления мелющего диска в 1,5 раза можно добиться изменением внешнего радиуса диска (при неизменном внутреннем радиусе и материале диска) в 1,1-1,2 раза. Таким образом, на основании приведенных расчетов следует, что мельница должна содержать элементы с мелющими телами, различающимися в размерах самого наибольшего от размера самого наименьшего не менее, чем в 1,2 раза. Для увеличения этого отношения в большую сторону ограничений не существует.

[22]

Кроме того, увеличение диаметра секций и мелющих тел по ходу перемещения обрабатываемого материала обеспечивает вентиляторный эффект, т.е. возникает тяга воздуха при скоростном вращении секций с разными диаметрами в направлении от меньших диаметров к большим. Это способствует перемещению материала вдоль стенок корпуса, где происходит измельчение материала путем раздавливания (дисками с отверстиями в центре) и удара (дисками с смещенными относительно центра отверстиями). Обрабатываемый материал в виде порошка может подаваться в мельницу как сверху, так и снизу, а также возможно горизонтальное положение мельницы. При подаче порошка сверху он будет перемещаться вниз как под действием сил тяжести, так за счет тяги воздуха, возникающей от наименьших диаметров секций к наибольшим при их скоростном вращении вокруг общей оси, что способствует повышению производительности мельницы. При подаче порошка снизу необходимо секцию и коаксиальный цилиндр с наибольшими диаметрами устанавливать в верхней части мельницы. Порошок затягивается в рабочую зону за счет вентиляторного эффекта, после измельчения наиболее мелкие частицы увлекаются потоком воздуха, уносятся из мельницы и собираются в приемнике, например, циклоне, более крупные частицы центробежными силами прижимаются к внутренней стенки корпуса и подвергаются повторному измельчению. Для усиления тяги воздуха через мельницу на поверхности

[23]

прижимных пластин размещены лопатки различной конфигурации. Таким образом, наряду с измельчением происходит сепарация частиц.

[24]

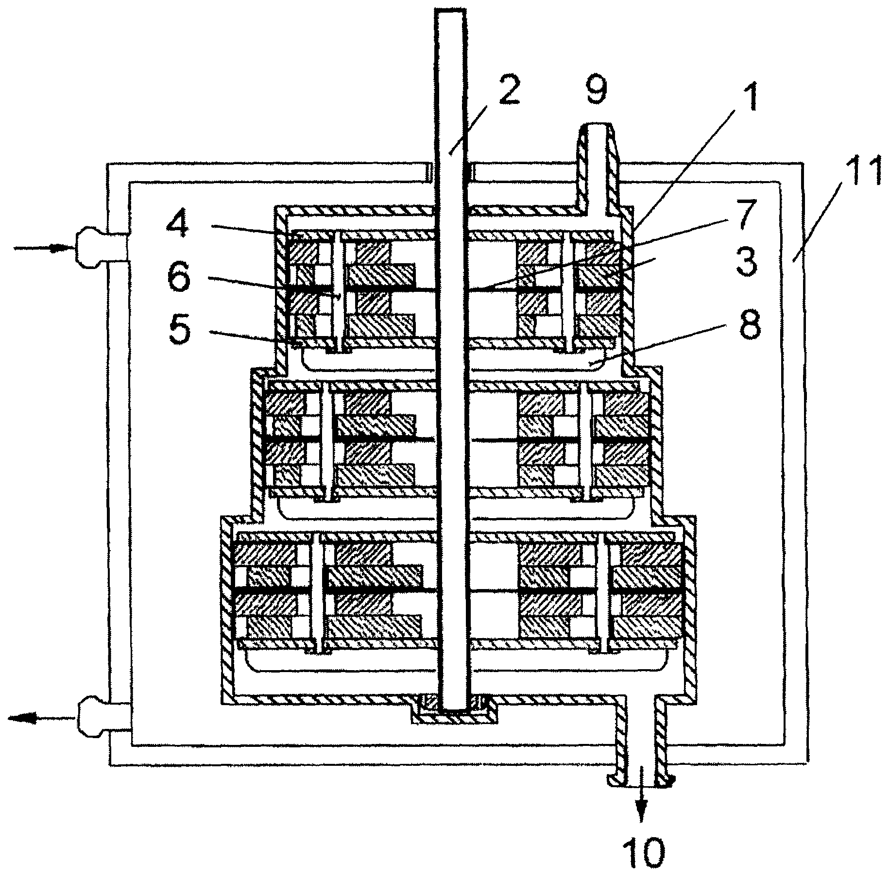
На фиг.1 показан продольный разрез мельницы по А-А. Мельница содержит корпус из коаксиально соединенных цилиндров 1, вал 2, расположенный вдоль оси корпуса, на котором закреплены секции 3, содержащие верхнюю и нижнюю прижимные пластины 4 и 5, валы для кольцеобразных мелющих тел 6, закрепленные на прижимных пластинах 4, 5 на равном расстоянии от центрального вала 2, на валах надеты мелющие тела в виде круглых дисков с отверстиями в центре, и мелющие тела с отверстиями, смещенными относительно центра. Размер отверстий дисков значительно (в 2-3 раза) превосходит диаметр вала. Мелющие тела объединены в пакеты, разделенные перегородками 7, в которых мелющие тела с отверстиями в центре, чередуются с мелющими телами с отверстиями, смещенными относительно центра. Прижимные пластины имеют отверстия для центрального вала и пазы для жесткой связи с валом, на котором имеется выступ. Секции выполняются съемными для возможности смены мелющих тел путем их разборки. На нижних прижимных пластинах размещены лопатки 8 для нагнетания воздуха. Корпус имеет патрубок 9 для загрузки исходного материала и патрубок 10 для выгрузки измельчаемого материала и помещен в кожух 11 с возможностью подачи в жидкости для охлаждения корпуса 1.

[25]

Заявляемая мельница работает следующим образом. Измельчаемый материал через патрубок 9 поступает внутрь корпуса мельницы 1. Вал 2 вовлекает во вращение секции и пакеты с мелющими телами на валах. При попадании материала на верхнюю прижимную пластину каждой секции он под действием центробежных сил попадает на стенку корпуса и подвергается воздействию кольцеобразных мелющих тела, которые под действием центробежных сил либо катаются (мелющие тела с отверстием в центре), либо ударяют (мелющие тела со смещенным центром) по стенке. При вращении центрального вала диски с центральным отверстием взаимодействуют с валами только в момент разгона, напротив, диски со смещенными отверстиями все время взаимодействуют с валами, обеспечивая при этом удар и волочение диска по стенке корпуса. Увеличение диаметра секций и мелющих тел по ходу движения обрабатываемого вещества приводит к тому, что возрастает энергия раздавливания и удара мелющих тел по частицам вещества, и следовательно, степень его измельчения и активации. Кроме того, создание вентиляторного эффекта способствует движению материала в направление выходного патрубка 10 и повышает ее производительность. Данные преимущества предложенной мельницы по сравнению с известными существенно расширяют область ее применения при измельчении материалов с разными физико-химическими свойствами.

Как компенсировать расходы
на инновационную разработку
Похожие патенты