патент
№ RU 5456
МПК G01N27/26

ПРИБОР ДЛЯ ВЫСОКОВОЛЬТНОГО ЭЛЕКТРОФОРЕЗА В КВАРЦЕВОМ КАПИЛЛЯРЕ

Авторы:
Шкирта Ю.М.
Номер заявки
95101875/20
Дата подачи заявки
21.02.1995
Опубликовано
16.11.1997
Страна
RU
Как управлять
интеллектуальной собственностью
Чертежи 
4
Реферат

1. Прибор для высоковольтного электрофореза в кварцевом капилляре, содержащий последовательно соединенные систему подачи подвижной фазы, емкость с пробой, узел ввода пробы, снабженный распределителем, выполненным в виде узла контактирования, колонку, выполненную в виде капилляра - гибкого прозрачного световода с отверстием вывода подвижной фазы в проводящем слое, фотоприемник, взаимосвязанный с детектором и источником излучения, отличающийся тем, что в прибор введены блоки усиления и первичного детектирования, а также высоковольтный источник, один выход которого подключен к электроду, который имеет возможность контакта с раствором пробы в емкости, установленной в герметизированной рабочей полости распределителя, один конец колонки, выполненной в виде кварцевого капилляра, введен в герметизированную рабочую полость распределителя и имеет контакт с раствором пробы, например многокомпонентной смесью в емкости, второй выход высоковольтного источника подключен к электроду противоположной полярности, имеющему возможность контакта с раствором в емкости для слива совместно с вторым концом кварцевого капилляра, который зафиксирован в блоке первичного детектирования, выходы блока первичного детектирования связаны с входами блока усиления, один выход которого является выходом для подачи электропитания к источнику излучения и подключен к входу блока первичного детектирования, а другие выходы блока усиления являются выходами прибора и подключаются к входам устройств регистрации.2. Прибор по п.1, отличающийся тем, что в конструкцию узла ввода пробы введены механизмы, содержащий ползун, устройство для созда

Формула изобретения

1. Прибор для высоковольтного электрофореза в кварцевом капилляре, содержащий последовательно соединенные систему подачи подвижной фазы, емкость с пробой, узел ввода пробы, снабженный распределителем, выполненным в виде узла контактирования, колонку, выполненную в виде капилляра - гибкого прозрачного световода с отверстием вывода подвижной фазы в проводящем слое, фотоприемник, взаимосвязанный с детектором и источником излучения, отличающийся тем, что в прибор введены блоки усиления и первичного детектирования, а также высоковольтный источник, один выход которого подключен к электроду, который имеет возможность контакта с раствором пробы в емкости, установленной в герметизированной рабочей полости распределителя, один конец колонки, выполненной в виде кварцевого капилляра, введен в герметизированную рабочую полость распределителя и имеет контакт с раствором пробы, например многокомпонентной смесью в емкости, второй выход высоковольтного источника подключен к электроду противоположной полярности, имеющему возможность контакта с раствором в емкости для слива совместно с вторым концом кварцевого капилляра, который зафиксирован в блоке первичного детектирования, выходы блока первичного детектирования связаны с входами блока усиления, один выход которого является выходом для подачи электропитания к источнику излучения и подключен к входу блока первичного детектирования, а другие выходы блока усиления являются выходами прибора и подключаются к входам устройств регистрации.

2. Прибор по п.1, отличающийся тем, что в конструкцию узла ввода пробы введены механизмы, содержащий ползун, устройство для создания пневматического давления, состоящее из воздуховода, связанного с эластичной емкостью, имеющей всасывающий клапан и механически связанной с подвижными губками, приводимыми в движение, например, двуплечным рычагом-толкателем, устройство для горизонтального перемещения пробирок барабанного типа, снабженное съемной ручкой с лимбом и набором емкостей, выполненных в виде ряда съемных пробирок, установленных в пробиркодержатели, причем одна из пробирок содержит, например, раствор пробы и установлена соосно с ползуном с возможностью вертикального перемещения в герметизированную изолированную рабочую полость распределителя, в которой расположены конец кварцевого капилляра (колонки), электрод и выход устройства для создания пневматического давления, а другие пробирки содержат различные растворы в последовательности, например, необходимой для зонного электрофореза или электрокинетической мицеллярной хроматографии и имеют возможность последовательного горизонтального перемещения по окружности для установки соосно с рабочей полостью распределителя и ползуном.

3. Прибор по п.1 или 2, отличающийся тем, что блок первичного детектирования выполнен в виде фотоприемного устройства, в котором установлены фотодиоды, соответственно оптически связанные с кюветой, являющейся частью кварцевого капилляра, фиксированного в оптических губках, и через светофильтр - с источником излучения, выполненным в виде съемного, снабженного входом, электропитания, модуля, внутри блока первичного детектирования установлена емкость для слива, выполненная в виде пробирки, установленной с возможностью горизонтального и вертикального перемещения.

Описание

[1]

ОБЪЕКТ-УСТРОЙСТВО Авторы полезной модели: Козлов Виктор ЮяеноЕич

[2]

ПРИБОР ДМ ВЫСОКОВОЛЬТНОГО ЭЛЕКТРОФОРЕЗА В КВАРЦЕ

[3]

КАПШЬШРЕ.

[4]

Устройство (долезнал модель) относится к области аналитического приборостроения и может быть использовано в алалитической ХШЛИИ, биoxшvшчecкиx исследованиях, молекулярной биологии , биотехнологии, экологии, медацине при выполнении высокоэффективных анализов состава многокогшонентных смесей методвАШ разделения частиц и ионов.

[5]

Прибор для высоковольтного электрофореза в кварцевом капилляре относится к классу анали.тических сепарационных приборов и позволяет реализовать следующие методы разделения частиц и ионов в электрическом поле:

[6]

-зонный электрофорез;

[7]

-электрокинетическую мицеллярную хромографию;

[8]

-изоэлектрическое фокусирование;

[9]

-изотахофорез.

[10]

1ЖЖ GDI/ 30/02;

[11]

G OIV 27/26;

[12]

G 01 У 30/20. УДК541.275;

[13]

543.544

[14]

ТитоЕ Виктор МихшЬгович П1кирта Юрий ийхайлович

[15]

Лвалоопг пшсвзвов нодвян - хфиборв дхя високбвоогьтшго 9дек7ро$орв8а в кващввен каятадире;

[16]

ИВВОСТВО устройство две ЯБСЯвХОВ&1ВШ вЛС0ВШС (жЦЩЯПС)

[17]

ввцеетв ооособои дяектрефореза, еодержацее хорцгс в котором шеотся padoiaa хаиора, нооятедь, электрода /Штэвт GDUL 3499833, МШ - В 01 К 5/00, 1970 г./.

[18]

Недостатком данного устройства явяяется трудоемкая oneрациа по внеике центральЕого стакана с обечавЕсоб яз рабочей катерн для заволненщ носителев рабочего цространства г возможное швреждение готовой электрофореграммн прж её внем вестно также устройство для осуществления способа

[19]

электрофореза в свободшш потоке, содержащее проточную камеру разделения точнне электротшне отделенжа с электро Ойн, жзолярованнне от камера разделешкя полупронща шмж мембравамя , жшсектор $ракцЕй, источник постоянного электрического напряжения, блок оптического сканирования ракЕЩй в камере разделения, блок фотоцриошшса и блок регистрации кривой распределения фракций /Штент fiPT )1 2508844, ШИ - G- 01 Л 27/26, 1976 г./.

[20]

Не достатками данного устройства являются вгшичие болшо- го объёвва анализируемой смеси (проба) и малая точность за счёт введения в слой буфера добавок электролита, содержащего мн(ХЕЧ валентнне ионы и каог7ля1ЩЕ частиц ашлизиру еиого раствсра , обусловленная многсвалентнЕШИ ионами добавок электролита .

[21]

Швестно также устройство для электрофореза в свободной среде, содержащее камеру разделения, соединённую с катодншш и аттйняиия сосудами ДЛЯ буферного раствора с электродами, Ьтенка одного из сосудов дгш буферного раствора снабжена

[22]

иои гериэтвта® захрв Ш упругой изибраной с опорной шсаотшой, связанной с щжводом /А.С. СССР Л IOI2II7, МКИ - G- 01 Л 27/26, 1983 г./.

[23]

Недостатком дашюго устройства является вязкая pa3peiaa Diщая способность устройства и значительное время, затрачивашое на проведевие ашлиза. Кроме того ддя обнаругения разделенннх комп&нентоЁ 1фобЁ1, необходшо пронзводэть их изъятие исз устройства для проведения последующих яшическиз: анализов

[24]

Шиболее близким к предложенной полезной модели (прототип ) является устройство - хроматограф; которое содержит систещ подачи подвижной фазы, вклияающус ёмкость с подвижшй фазой, фильтры очистки, запорно-регулирущую аппаратуру и бАок у авления, дозатор, капшишр(ую колош г, выполненную в виде полого канала в проводящем слое световода; детектор с источником света светсшод вводд, световод BHBOI и фотоприёмники Кашгал вая колонка распгложена между световодом ввода и све товодом вывода и соединена с ними через узлы контактирования, в которых выполнены кавшш, в которые введены штуцеры. Каждый штуцер опирается ш прокладку и имеет возможность возвратнон 0ступатального движения вдоль каве1ла / А. С. СССР «1516969, МКИ-G-OI К 30/02, 1989г./.

[25]

Недостатком указанной конструкции устройства - хроматографа является низкий уровень её разрешавшей способности, вследствии сшсьного послеколоночного размывания разделённых комшнентов пробы за счёт шличин застойных зон ва входе капиллярной колонки и ш выходе из неё. Нэдостаткои данного устройства является также болшой детектируемый объём анализируемого раствора (пробы).

[26]

- а электрофореза в кварв евш капшшяре:

[27]

I&BecTHO устройство дда ввода проб в катоигярную кояояху иетожои электршшграции нонов из гщфавля еского делятеоа нотшсов /Штент ЧССЗР « 25I27I, ИШ -G- 01 Я 30/16,1987i«./ Ланное устройство представляет из себг щвфавлэтесквй тройпос, однш яз которого является катпияярвая колонка, а дщгяе вшсодн соедивеш с длектродщши ёнкостяик Шжду вцвой из длектродша ёшсоотей н кощбн катпстлярной колонкв распело гается крав-яозатор ва шстоявввй объёк . , введеняая в крав-даватор вод действием электрического ноля перемещается шшю конца канил.яяра к другой электродной ёмкости. Количество введённой в кавкоярную колонку щюбн определяется соотношением токов на тройника.

[28]

Недостатком данного устройства является сложность обеспечения воспроизводимых условий дозирования, а тате размывание зоны цробы

[29]

Швестш также устройство для ввода пробы в кацднлярцую колонку за счёт перемещения дозируемого объёма жидкости, содержащейся в подвижном диске барабана, заключённого между ДВУ1Ш веподвижшши щеками, в одш}м из которых установлена, кашгалярная колонка /:flnaE, С hem. 1987, с.59, 5, р.799 - 800. T.T udia; T. У. ; Rt)b(tu - .ctoz /or cia./:)(.f6oLt one 2fto/) /.

[30]

Недостатком данного устройства является сложность в изменении доз1фуеяого обьёк1а, а также болшсй объём пробы, вводимый в капиллярную КОЛОНЕ

[31]

/

[32]

irpo(k является устройство (нрототип) подачи хщскг: щюб в ка шюярвую коловку, содержащее делятеяь штова7 установленвнй на входе в колонку, дозатор, кран-переклшчатель и побудитель расхода подвтешй фазы/ шеющий привод, побудитель расхода cHa(keH нагнетащей и всаснващей камерами, шегощвш общий ШТОК7 при этом нагнетающая камера через делитель потока и кран-шреклжяатель соединена с всасыващей камерой /A.C.GOCP Л I68I234, 30/20. I99I г./.

[33]

Данное устройство наряду с достоинством малым обьшом хгробн имеет недостаток - повншеннзгю техничесх т сл ность воспроизводимости процесса дозирования и сложность стандартизации режима работа, вследствии мшговараметритаости устройства шдэчн проб в капиллярную колошо, за счёт болшого количества используемых вспомогательных элементов, например, кран-переключатель, шприцевой насос, четыре дополнительных подключаемых соединительных кашшщра обладащих при работе собственным уровнш основных погрешностей вносимых в цроцесс дозхсрования

[34]

Аналоги блока первичного детектирования црнбора дяя внсоковольтного электрофореза в кварцевбн катпргдяре;

[35]

вестш) устройство оптического детектирования, содержащее источник света, фотоприёмник и колошог, частично зашшнев ную неподвижной фазой и имеющую корпус с вншним покрытием, входными и выходными торцами, а Taicse прозрачшш участком, расположенным после неподвгбшой фазы ш лути света от источнв ка к фотоприёмниву; корпус устройства выполнен из градантов с внутренним и внешним светоотражающими слоями и расположенным между ними световедущим слоем, выходной торец устройства оптически соединён с источником света, а в прозрачном участке

[36]

/. Х/

[37]

корпуса удалён внутренний оветоотражащий слой /А.С. СССР Л I40836I, МКИ - & Olir 30/00, 1988 г./.

[38]

Основным недосфаткош т анного.аптшэскогр устройства является внсокая техногогшесвая сложность изготовления устройства оптшескбго детвкт1 ования, а таяке sBEHZTeabHEdi объём, нспользув1шй Д91Я детвктярованЕя разделенных кеишневтов, щюбн .

[39]

Известно также устройство - оятшеский датчш определённых веществ, растворённых в жндв(ости, который ииеет два кор пуса; установленных в одном держателе. Положение корпусов относительно друг можно регулировать. В ни:с расположены линзы с элементами дня соединения с волоконно опти11есквм кабелем . Корпуса обращены друг к другу и разделены зазором, через который протекает текучая среда. Линзы установлены на одной оптической оси, поэтому свет, цршедошй через одну 1з@ них, проходит через зазор к другой. Цри этом часть света поглоща ется текучей средой в зазоре между корпусами / Р.Ж. J6 17-18 Изобретения стран М1, 1994 г., с.7 и 7а, ЕПВ 1 0540035, 1993 г. МКИ - G- 01 К 21/85 /.

[40]

Недостатком данного устройства является низкая точность измерения за счёт отсутствия фиксации объема анализирушюго раствора, а также большой объём используемой дгш анализа жидкости Спробы),

[41]

ЗЕшболее близким к предлагаемов г устройству - блоку первичного детектирования является известное устройство - рет лируешя по высоте и ширине апертура дгя капилжрного элемента $отопришика, с целью фотозлзктрического измерения света, 11роходящего через капшЕляр, содержит источник света, форни рующий световой пучёк с определённым ограничением в вертикальНОИ надравяенш, Ериспособяеше свдектившго огранячевиз хгротаасёняостг светового лзгча в горлзонзядьнон вацравленш так, 4TodH бшсо эту ххротяквнноеть варьировать, мехавизн дзш ye BiiXBKz хашшшра тазсяи образои, чтобы его дкшгетраль нов направление находилось в вертикальной навраввении светового луча и чтобн евет хгроходш через кашсощр в его диаяетральном направлении (кшету оптического детектора) /Оптант США Л 5124020 шеи - G 01 I 27/26, В 01 Л) 57/02; НКИ - 204-229

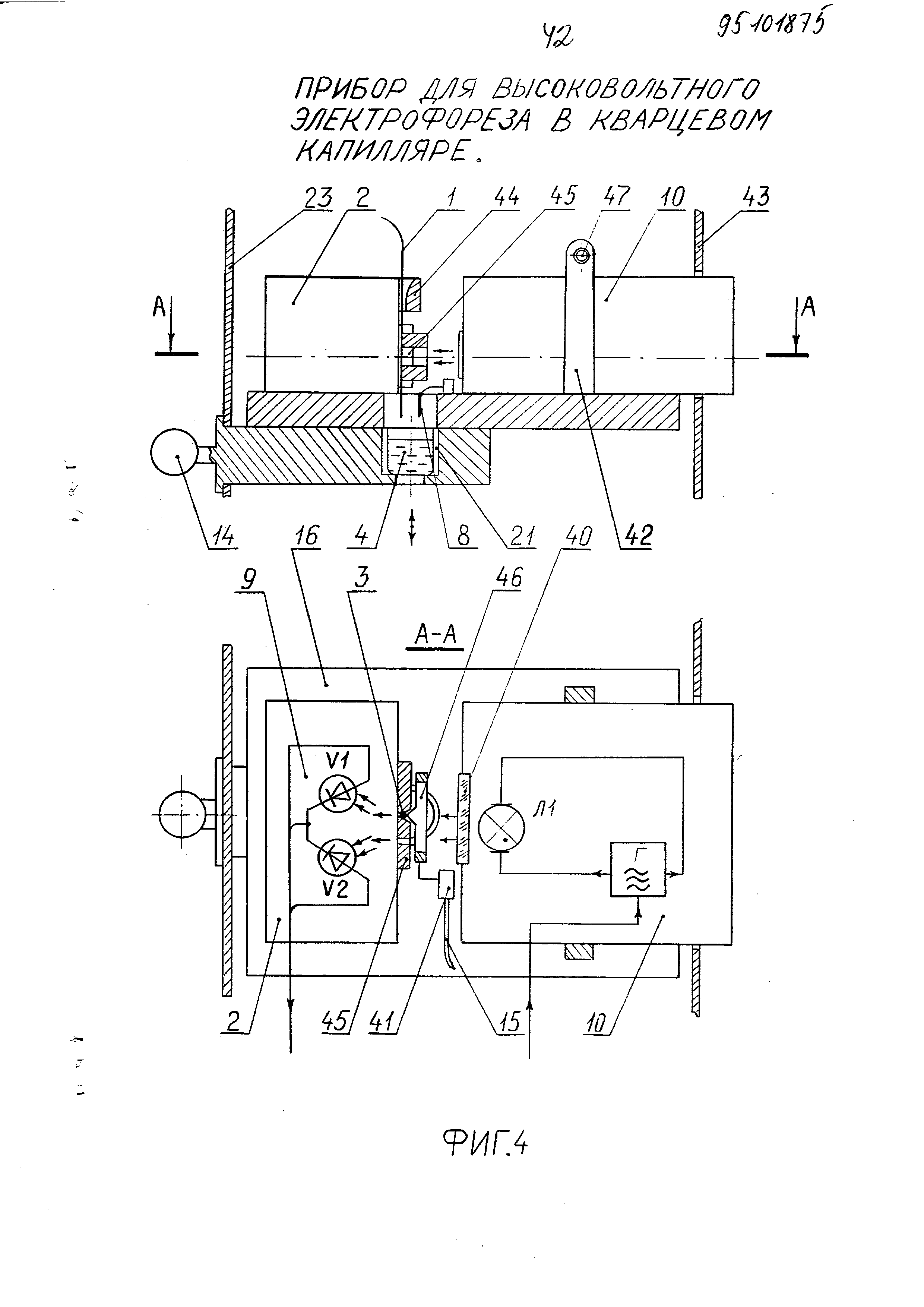
[42]

1992г./.

[43]

К ведостатвая давного устровотва следует отнести слог ность коштруктившго исполнения уст юйБтва, за счет введении элементов огранЕчения светового пучка но ширине и шсоте а также введения хгрв&пособлениг для селективного ограничения цротяхённости светового луча в горизовтальнш ншгравлеиии шеющего возможность изменять (варьировать) эту хфотягёвность.

[44]

[45]

Дэлью созданта полезной гюдвлн - првбора icia высоко водьтного электрофореза в кващев(Ж кашшшре является:

[46]

- расашрвние фунюунотшгьтшт возшжвостад, за счёт констр рстиввого выполнения блока детектора-дозатора, содержащего узел ввода пробы, кварцевЕгй капилщр и блок первичного детектгрсшания , что в совокупности с остальныни блоками и неханнзиасш црибора позволяет реализовать разли хвые методы разделении частиц и ионов в электрическом поле.

[47]

-Уменжение габаритов црибЬра, за счёт вбпользования спехщалшоб конс1х 1щии узла ввода жидкой пробы (см. Фиг.3), что обеспечивает уменьшение объёу|а про(, а также, за счёт встроенного миниатюрного нагнетателя воздуха, ускоряет проведение подготовительной операции - промывки кварцевого капни ляра .

[48]

- )остота конструкции прибора и портативность, что обес печивает улучшение условий при транспортировке.

[49]

Сокращение времени выполнения анализа состава много к (Н1ШОнентной смеси, малые экспгуатационные расходы и долго вечность эксплуатации, за счет применения кварцевого капилляра , практически не имеющего износа.

[50]

-Удобство обработки результатов анализа многокомпонентных смесей, за счёт обеспечения их графического отображения, ва11ример,на ШШ С см.иг.Х).

[51]

-Увеличение эффективности сепарации компонентов пробы, повышение возцрожзводшгости анализа и надёжность работы црибора .

[52]

. В «9S o/ejA

[53]

Шречбяь фжтр чертежей.

[54]

Ф&Г.1 - Общая | уЕКциональшя схема npzdopa дш высоковольтного электрофореза в кварцевсж кашшляре.

[55]

Обозначение элементов на Фгг.Х:

[56]

1.Кварце Ё кашшдяр;

[57]

2. перввчного детектщюваниЕ.

[58]

3.Кювета оитотескозто детектора.

[59]

4.Ьикость (цробарка).

[60]

5.Блок усияенЕя (БУ).

[61]

6.Шточнж высокого на1гряжен ш (ВЮ.

[62]

7.Узел ввода хгробн.

[63]

8.Электроды СхгротгвопологЕНой полярности).

[64]

(liir.2 - Cizeiea располохензш блоков в узлов в 1гредлагаеиой полезной модели щжбора ДЛЕ высоковольтного электрофореза в кварцевом капилляре.

[65]

Обозначение элшяентов ш Шит. 2:

[66]

1.Кварцевый капилляр.

[67]

2.EttOK первитаого детектирования.

[68]

3.Кювета оптического детектора.

[69]

4.Пробирки.

[70]

5.Елок усиления (БУ).

[71]

6.Б11соковольтный источник (ВЮ.

[72]

7.Узел ввода цробы.

[73]

8.Электроды.

[74]

-а12 .Устройство для создания пневматического давления.

[75]

13.Рас1гредвлшвяь.

[76]

14.7cTpoftcfBO для шрешещенвя слявной щ общжи.

[77]

15.Кабель васокого напряхения.

[78]

Фиг.З. КонструЕцж ysjaa ввода пробы прибора длн высоковольтного электрофореза в кварцевом кашсищре. Обозначенге элементов ш иг.З:

[79]

I.Квар1(Е1й кашшшр 4. Пробирки.

[80]

7.Узел ввода жробн.

[81]

8.Электрод.

[82]

II.Устройство для горизонтального перемещении пробирок.

[83]

12.Устройство для создания пневматического давления.

[84]

13.Распределитель.

[85]

15.Кабель высокого напряжения.

[86]

16.Опорная шшта.

[87]

17.Ш анизм подьшна (пробцрки).

[88]

18.Эксцентрик.

[89]

19.Опорные CTotRZ.

[90]

20.Ползун.

[91]

21.Пробврсодержатель.

[92]

22.Пружина.

[93]

23.Лицевая панель.

[94]

24.Верхняя крышка.

[95]

25.Поворотная ручка.

[96]

26.Винты.

[97]

- ТО 29 .Фиксатор.

[98]

30,Выталкиватель. 81, Рукоятка.

[99]

32,Эяа0тшшя шосость.

[100]

33,Клапан всаснващий.

[101]

34,Подвижные губки,

[102]

35. Двупл0чннй рнчаг - толкатель.

[103]

36.Резиновые хгрокладкж,

[104]

37.Окно.

[105]

38.Выключатель.

[106]

39.Резиновое кол.-що.

[107]

Фиг.4. Конструкции, блока пврвишсшо детектирования d&pi ТЩЕ высоковольтного электрофореза в кварцевом капилляре.

[108]

Обозшчение элевхентов на $zr.4: I. Вварцввнй касиюшр. 2, Блок первичного детектирования.

[109]

3.Совета оптического детектора.

[110]

4.Пробирка.

[111]

8.Электрод.

[112]

9.Фотопришное устройство.

[113]

10.Источник излучения.

[114]

14.Устройство джя пербмещешш сливной пробирки.

[115]

15.Кабель высокого напряжения.

[116]

16.Опоршя пяита. 21. Пробиркодергатель. 23, Лицевая панель.

[117]

//

[118]

Дг т

[119]

42« ZosQTT.

[120]

43« Задняя етенва.

[121]

44.Вагравляющаг пзанЕа.

[122]

45.Оптические .

[123]

46.inscaTop.

[124]

47.Винт.

[125]

.

[126]

- Т2 Прибор для внеоковольтного электрофореза в кващевои ваШБшяре , федстэвд енш в виде фушсциовальной схшв ш , состоит из гибЕси о i ospa iHoro кварцевого тсатпот.дяра I, который раеподогается жроизвольво иехду блоком 2 первичного де тектирования и узлом 7 ввода жидкой жробн.

[127]

В комплект прибора вгодат црозрачше гибкие кварцевне ga nnaipiypw имеющие различцую длину и внутреивий диаметр отверстия (капилляра), вавример, при дливе - 500 ми диаметр капилляра - 0,05 шй, что обеспечивает стабильность и точность ра боты прибора

[128]

Кошщ зашлневвого электролитом кварцевого капшсляра I установлены в одну из пробирок 4 (рабочую) узла 7 ввода пробы и в пробирку 4 - ёмкость для слива. В те ге пробирки погружены электроды 8 противоположной полярности, подключенные к выходам источника высокого напряженш (высоковольтното источника - ВИ) 6.

[129]

Небольшой участок хфозрачного кварцевого капилляра I фиксированный в блоке 2 первичного детектщювания выполняет вкцию кюветы 3 оптического детектора. Выход блока 2 детектнро вания с эязан с входом блока 5 усиления, который имеет два выхода: А - ш самошюец и В - на ПЭШ.

[130]

il-.

[131]

-TSКонструктивно предлагаемая полезная модель прибора для высоковольтного электрофореза в кварцевой капилщре, представленная на Шит.2, вшюлнена в вцде трёх блоков:

[132]

-Бюк детектора - дозатора (БЖ).

[133]

-ЕЕОК усиленш, электропитания и масштабирования (Б7).

[134]

-Высоковольтный источник (БИ).

[135]

EttOK детектора - дозатора (ДПД) и блок усиления (БУ) являются конструктивными модулями собранными в единый блок прибора для высоковольтного электрофореза в кварцевом капюшяре, где герметичный корпус блока усиления (Б7) снабжённый входными и выходшши разъёшми, является основанием прибора. Все электрические связи для выполнения блоком усиления (БУ) функций усшЕения, электропиташкЕ и масштабирошния выполнены сое- динительншш кабелшю внутри корпуса прибора, за исклвнением внешнего подвода электропитания и двух выходов А и В, соответственно ва самописец, являщийся потенциометром двухканальнш особопомехозащщённым автомати11еским самопишущим, например, типа КСШМ, и (шш) ШШ.

[136]

Бяок уохшенгг (Б7) содерхит усялитвяь шпряхеягй постоянного ФОка; нахгример, стандартный усшштель электрометрический типа 75-8,

[137]

Елок детектора - дозатора (ЩД) содержит гибкий кварцевый капилляр I, один конщ которого через распределитель 13 помещён в цробирву 4, содержащую цробу анализзЕ ушвого многокомпонентного раствора, а другой через блок 2 первичного детектирования в цробирку 4, предназначенную для слива пробы раствора, установленную в устройство 14 для перемещения сливной пробиргки.

[138]

- 14 полярности , создащие высокую разность потенциалов между концани кварцевого капилляра I при вводе проб в капилляр, в процессе разделения смесей.

[139]

Пробирка 4 с пробой анализируемого вшогокомпонентного раствора распологается в узле 7 ввода пробы, где в процессе внполненш анализа герметизируется, путем СТЕОСОВКИ с расхфеделителем 13, с целью подключения к устройству 12 для созддния пневматического давление:, которое обеспечивает заш лнеяш полости, образуемой над поверхностью раствора в пробирке 4 при её стыковке с поверхностью распределителя 13, избыточным воздушным давлением. Одновременно это замкнутое цространство, образованное поверхностью пробирки 4 и внутренней полостью распределителя 13, изготовленных из электроизолирующих ди - электрических материалов препятствует дальнейшему поверх ностному растеканию высоковольтных положительных зарядов напряжением порядка 22 кВ, которое поступает на электрод 8 от высоковольтного источника (БИ) б через кабель 15 высокого напряжения , что обеспечивает электробезопасность при работе полезной модели.

[140]

Устройство II для перемещения цробирок конструктивно выполненное в ЬЩ, обеспечивает оперативную замену пробирок 4, с целью установки заданных проб смесей шш растворов, в том числе промывочного шш буферного растворов.

[141]

Вюк 2 первичного детектзфовангя, с целью обеспечения первичного фотометрического амшштудного детектщ)ования, содержит кшету 3 оптического детектора конс труктивно представленную в виде отрезка прозрачного гибкого кварцевого капилляра I, фиксированного в определённом положении относительно фотоприёшого устройства 9, выполненного на базе кремниевых

[142]

- J5 -./yd7/cPxi

[143]

фотодшдов, ж источника 10 талучвнш, цретшазшченного для созданж стабЕяьшго во вршенз светового потока 7дьтра|ш2еTOBOt области ежектра, за счёт использовавин специальной тлл пн и светофильтра, внбор которого определяется типом прииевяеной лавош.

[144]

Узел вводд жидкой цробы хфибора для внсоковольтного электрофореза в кварцевой капилляре, представленной на зхг.З, конструктивно установлен в Щ (cM.iiEir.2).

[145]

7зе1Л 7 ввода проба; состоит из гибкого кварцевого капилляра I, предназначенного для форвщрования пространства в которой нроиюходит разделение частиц и шш, один коиед гибкого кварцевого капилляра I через распредвяитеось 13 понещвв в пробирку 4, соде 1сащую авализи ем 1й многок ишонентнвй раствор - .

[146]

Распределитель 13, изготовленной, ширшер из ор(ганичесК0ГО стекла, обеспечивает герметическую стнковку со стеклянной пробиркой 4 установленной в пробиркодергатель 21.

[147]

распределитель 13 с ввинченншш в него тремя винтами 26, свабхеннЕОйи отверстшваи геряетвзи ванными изсхогрущи- ми, ушготнительннми резиновыми .iiigB 36, в изолированную зону размещения пробирки 4 с ашлизируемЕШ раствором пробой введены: конец кварцевого капилляра I, кабель 15 высокого напряжения, подключенной к электроду 8, изготовленному из химически стойкого металла, например, платины, и воздуховод 27 от устройства 12 для создавзая пневматического давления (миниат :грннй нагнетатель воздузз.).

[148]

. и. g o/fjf

[149]

для пополнения запаса воздуха в устройстве 12.

[150]

Эластичная ёмкость 82 непотшшно закреплена на одноб из 1етырёх опорншс стоек 19, удерЕКващих направлшощие пластины 28, в которнх установлено устройство II для перемещения пробирок .

[151]

Эластичная емкость 32 установлена между подаикннми рубкагш 34, цриводшЕШИ в двуилечным рнчагом - толкателем 35.

[152]

Дш1 обеспечения электробезопасности при работе с прибором , ИШБЩИМ высокое напряжение 22 кВ на электроде 8, узел 7 ввода пробы содержит выключатель 38, иехавически связанввй с диском эксцентрика 18 механизма 17 подъёма 1гробир1ки 4 в рабочую полость распределителя 13 и включённый последовательно с кабелем 15,

[153]

Выключатель 38 обеспечивает отключение высокого напряжения подаваемого на электрод 8 жри разгерметизации рабочей полости распределителя 13 за счет опускания пробирси 4 ползуном 30.

[154]

Аналогичной блокировкой Сна чертеже условно не показана) снабжена верхняя крышка 24, при вскрнтии которой откшочается подача высокого напряжения на электрод 8.

[155]

Устройство II для горизонтального перемещения пробнгрок, барабанного типа имеет несколько иробирко-держателей 21 размещённых по окружности, например, шесть, в которых установлены пробирки 4 с жидкивш растворами в следующей последовательности;

[156]

1.Первая авализируеиая многокомпонентная смесь.

[157]

о2 --i 5 .Б(уфврннй paofBOp.

[158]

6.15)омывочный раствор.

[159]

Уотройотво II для леремещенин пробирок снабжено поворотной ручкой 25 с указывающим номера пробирок лвмбом. Поворотная ручка 25 ямеет квадратное сечение обеспечгващее перемещение пробиркодержателей 21 по окружности. При поднятой по-воротной ручке 25 устройство II для перемещения пробирок может бэть через окно 37 конструктивно выполненное в виде прорези в лщавой панели 23, путей перемещения устройства II горизонтально по опорной шште 16 рукояткой 31, приводящей в движение выталкиватель 30 с фиксатором 29.

[160]

Назначение подпружиненного фжсатора 29, конструктивно выполненного например в виде подпружиненного шарика, за креплённого в замкнутой полости выталкивателя 30, обеспечить точную $1шсацию устройства II для перемещения пробирок, с целью установки рабочей пробирки 4 точно - соосно с рабочей полостью распределителя 13 и ползуном 20.

[161]

Узел 7 ввода пробй снабжен механизмом 17 подъёна пробирки , состоящим из дксцентрика IS и ползуна 20, преобразующих вращательное двшсение, например, от вала враща е/ шго поворотной рукояткой или электродвигателем (на чертеже не показано ), в поступательное

[162]

Ползун 20 снабжён возвратной пружиной 22, обеспечиваю щей надежную работу механизма 17 подъёш пробирки. Ползун 20 через отверстие в дне иробиркодержателя 21 упирается в дно пробирки 4 и обеспечивает ее подъём в рабочую полость распределителя 13, сшбженную изолшрукдим и герметизищющим, уплотни- телышм резиноБвш колщом 39. Возврат пробирки 4 в щюбирко4/ ,.

[163]

-18 де сатель 21 обеспечивается под действием собственного веса при опускании ползуна 20.

[164]

Блок первичного детектгровашш прибора для внсоковольного электрофореза в кварцевом капшшяре, представленной на $1ЕГ.4, является частью конструкции ЩД (см..2).

[165]

Шок 2 первичного фотометрического аяЕзштудного детектирования , содержит кювету 3 оптического детектора, констигктивно вшголненную в виде отрезка прозрачного гибкого кварцевого капшищра I, конец которого помещён в рабочую зону сливной пробирш 4, где расположен закрехшённый в держателе 41 электрод 8, обеспечиващий, за счёт подаваемого по кабелю 15 внсокого шпряхениг от источника 6 СВИ см.вг.2), создание раз ности потен ралов на кварцевого капшишра X.

[166]

Шдъш сливной жробирвк 4 в рабочую зову осуществляется ори пвиоци механизма 17 подъёма пробирки, аналогичного пред отавленноиу на &ir.3, состоящего из зкцентрика и ползуна, снабженного возвратной 11ружиноё.

[167]

Дзш оперативной замены пробирси 4 она усташвлена в пробиркодероатель 21, являющийся частью устройства 14 для пере мещения сливной пробирки по нажравляЕжрш опорной шштн 1в через окно (прорезь) в лицевой панели 23

[168]

В состав блока 2 перБИчногз детект1фования входит фото при€шое устроЁС Шо 9, выполненное ш базе двух, например, кремниевых фотодиодов У1 и V2 типа Щ&101А2, электрически связаншсс с предварительным усшштелем в БУ и оптически совиещеннБгх соответственно с кюветой 3 оптического детектора и источником 10 излцт ении.

[169]

:ff

[170]

- 59 -

[171]

см.Фаг,2). В модуле источника 10 излучения установлена, например , без электродная лашха низкого, давления с ртутном на полнителем типа ВСБ-2 Щ « ЩО,337.002 ТУ ГОСЗТ 21195-75, воз(укдаешя СВЧ - полем от генератора СВЧ, , генератора СВЧ частотой 100 150 иТц прибора типа ШМ-ЗМ.

[172]

Шжду кюветой 3 оптического детектора и источником 10 излучения установлен оптически светофшсьтр 40, например, ультрафиолетовый типа , выбор типа светофшгьтра зависит от типа лашш установленной в модуле источника 10 излучввш, т.е. от длшш волнн излучаемого света.

[173]

Модуль источнивЕа 10 излученжс крепится в бжоке 2 при помощи хсщута 42, конструкция которого совместно с винтом 47 обеспечивает быструю замену источника 10 (лампы) через заднюю стенщу 43.

[174]

Шправлякщая планка 44 предназначена для оперативного введения конца кварцевого капшсляра I через оптические губки в рабочую зону пробирки 4 для слива.

[175]

Оптические губки 45 выполнены из нецрозрачного материала и окрашены в матовый чёрный хрет, они образуют вертикальную щель, в которой фиксатором 46 надёжно удерживается часть гибitoro прозрачного кварцевого капилляра I, образующая ккшету 3, оптически связаннзгю с фотодиодом У1.

[176]

Одна из оптических губок 45 вмеет прямоугольную прорезь, равную по площади с шгощадью кюветы 3, эта прорезь обеспечивает свободное прохождение излучения на второй фотодиод V2.

[177]

ffli

[178]

Прибор для высоковольтного электрофореза в кварцевом капилляре работает следущим образом.

[179]

Перед началом работы, о целью безопасной работа на приборе , имеющем опасное высокое напряжение до 22 кВ цри токе до 100 мкА., цроверяется наличие заземления корпуса и отрицательного электрода 8,

[180]

Процесс подготовки прибора к работе:

[181]

I Установка кварцевого капилляра в црибор.

[182]

-Ослабить на распределителе 13 винт 26, обеспечивающий прижим и, совместно с прокладкой 36, последующую герметизацию, через отверстие в винте 26 пропустить конец гибкого кварцевого капЕшшра I на глубину 38 вш (обусловлено конструкцией полезной модели) - расстояние между концом кварцевого капияляра I

[183]

и горизонтальной поверхностью винта 25, Затянуть винт 26 для герметизации рабочей полости распределителя 13,

[184]

-С противоположного конца гибкого кварцевого капилляра I, нацример, длиной - 500 мм с внутренним диаметром - 50 микрометров , на расстоянии - 14 мм от конца (обусловлено конструкцией полезной модели) удалить защитный поверхностный слой, например, зеркальный покрывающий кварцевый капилляр I снару , Покрытие удалить на длине 2 4 3 ми,

[185]

Допустить конец гибкого кварцевого капшЕляра I через направляющую Елашсу 44 на корпусе фотопрнепного устройства 9, вредварительно отжав фиксатор 46, в рабочую щель оптических губок 45, Лаубину опускания конца гибкого кварцевого капшсляра I установить равной - 52 гш (обусловлено конструкцией полезной модели) - расстояние между концом кварцевого капшишра I и верхней горизонтальной поверхностью пяанки 44, Прижать кварцевый капшищ) фиксатором 46 в щель оптических губок 45,

[186]

i SI - Свернуть гибкий кварцевый кашшшр I в бухту ж закрепить ее в держателях. Убедиться, что кварцевый капилляр I не выступает за верхний га 5арит прибора и не перекрывает отверстие для съёвгаой поворотной ручки 25 в узле 7 ввода гробы

[187]

2. Промывка кварцевого капшишра.

[188]

Заполнить пробирку 4 (пробирки) провшващщ раствором, например/ дистишпфованной водой, установить пробир1ог 4 в пробиркодержатель 21 устройства II для горизонтального перемещения пробирок (предварительно вынутое из прибора, при снятой поворотной ручке 25, с помощью рукоятки 31), которое че рез окно 37 в лицевой панели 23 прибора вводится в узел 7 ввода пробы. При помощ поворотной ручки 25, ииекщей указательный лимб, установить пробирку 4 цри помощи фиксатора 29, входящего в углубление барабана устройства II, соосно с рабочей полостью расхгро делэтела 13 и полвунш 20.

[189]

Установить 1гр@бжрку 4 для слвва в б1рК9дер91Еатвкь 21, являющийся частью устройства 14 для перемещения сливной хфобщяся

[190]

Устройсзяо 14 через окно в лицевой панели 23 по направ ляющим опорной ШЕИты 16 установить до упора в корпус прибора.

[191]

Поворотом ручки, связанной с экецентрикаваи 18 механизмов 17 подъема цробирок 4 в узле 7 ввода пробы и в блоке 2 пер вичного детектирования при помощи штоков 20 пробирки 4 уста навливаются (поднишштся) соответственно одна в рабочую по лость распределителя 13, а другая в рабочую зону сливной цробирки 4 блока 2.

[192]

(

[193]

полости которого 1гри помощи устройства 12 создаётся пневваативеское давленге.

[194]

Устройство 12 для создания пневматического давления работает следующш образом:

[195]

Двжением, например, возвратно-поступательннм рнчага - толкателя 35 взаимосвязанного с подввашнкш губками 34 (как вариант конструктивного исполнения, возможно приведение в движение подвижных губок 34 вращательвым движением рукоятки при помощи дополнительного механизма, содержащего эксцентрик,связанный с р укояткой, приводящей в двззжение два ползуна, связанных с подвиаснвпви губками 34), которые осуществляют сжатие эластичной емкости 32. Эластичная ёмкость 32 для пополнения запаса воздуха снабжена всасывающим клапаном 33 и связана с воздуховодом . В процессе сжатия эластичной ёмкости 32 воздух по воздуховоду 27, проходящему через отверстие винта 26, установленного в распределителе 13 и имеющего згплотнительщ резиновую прокладку 36, попадает в герметиззггрованную рабочую полость распределителя 13, что обеспечивает создание давления над промывающим расгоором в пробирке 4.

[196]

Избыточное воздушное давление в цробщосе 4 с цроашвахщим раствором, установленной в узле 7,обеспечзг вает проток прошшающего раствора подвижной фазы) через кварцевый капилляр I в сливцую щ)обирку 4 установленную в блоке 2. Данная цромывка происходит в течение 2-3 минут.

[197]

А. Проведение разделение методами зонного электрофореза и электрокинетической мицеллярной хроматографии.

[198]

,

[199]

электропроводной среде под действием электрического поля от высоковольтного источника 6. ВДерный раствор, которым заполняется кварцевый капилляр I и в котором происходит шаграцш ионов, поддерживает одинаковые физические параметры (электропроводность , рН, вязкость и др.) в любой точке кварцевого капилляра I. Иош пробы, введёнвне с одного ковца кварцевого капилляра I, под действием электрического поля двигаются с различной скоростью, разделяясь на зоны отделенные друг буферным раствором. Очевидно, что длина зоны отдельного иона не может быть меньше длины стартовой зоны смеси ионов. Таким образом, при использовании одного буферного раствора метод

[200]

является только разделяюощм. При использовании нескольким буферных растворов с различными физическими характеристиками

[201]

возможно достижение концентрирущего эффекта.

[202]

Штод зонного электрофореза наиболее эффективен в анализе смесей сильно ионизированных ионов, а также макромолекул и коллоидных частиц.

[203]

Мэтод электрокинетической мицеллярной хроматографии разделения ионов основывается на различном сродстве ионов к гидрофобной фазе, находящейся внутри мицелл, образованных некоторыми бифильными органическшш молекулами. Известно, что молекулы , имеющие гидрофобный хвост и полярную головку, склонны к агрегации в водной среде с образованием коллоидных частиц (мицелл). В охфеделённом диапазоне концентрации этих молекул формируются сферические мицеллы. TSQJL этом ядро мицеллы состоит из гидрофобных хвостов, а поверхность мщеллы из гидрофильных головок. Шцеллы высокоподвяасны в электрическом поле за счёт высокого заряда поверхностей.

[204]

[205]

- 24s -

[206]

В соответствии со степенью гидрофобности, находясь в динамическом равновесии в системе:

[207]

Ядро мицеллы - буферный раствор.

[208]

Чегд сшЕьнее взаимодействие молекул пробы с мицеллой, тем выше скорость её двшсениЕ в электрическом поле.

[209]

В методе электрокинетической шщеллярной хроматографии мицеллообрагущее вещество добавляют как в буферный раствор, так и в раствор пробы.

[210]

Дробу, как и джя зонного электрофореза, вводят с одного конца кварцевого капилляра I и (после приложения электрического поля) мицеллы двигаются в сторону блока 2 первичного де тектированиа.

[211]

В настоящее время, данный метод известен как разделяю щи@ , но не к®нцентрЩ7юор й.

[212]

Метод наибсилее эффективен при анализе малорасхворшых к нерасзворшшс в воде веществ.

[213]

Дкя проведенш зонного электрофореза и электрокинетической мицеллярной хроматографии заполнить пробирки 4 растворами и установить их в пробиркодержатели 21 устройства II для перемещения пробирок в узле 7 ввода цробы в следующей последовательности:

[214]

-буферный раствор;

[215]

-раствор пробы;

[216]

-буферный раствор;

[217]

- 1ромБшающЕй раствор.

[218]

Заполнить хгробщжу 4 для слива буферным раствором и поднять ее в рабочую зону.

[219]

держвшш кварцевый вашшщр I.

[220]

Для этого воспользоваться органом зщравления пржводапцим в действие устройство 12 джя создания пневматагаеского давления на короткое время. Опустить пробирку 4 с буферНЕШ раствором, поворотной ручкой 25 повернуть устройство П с пробиркодержателями 21 таким образом, чтобы под распределителем 13 оказалась пробирка 4 с раствором пробы (вторая по указывающему лимбу на ручке ),

[221]

Поднять 1гробир Едг 4 с раствором пробы, в рабочую полость распределителя 13.

[222]

кратковреиенного вклкяения напряжения высоковольтного источника 6 подать через высоковольтный кабель 15 напряжение на электроды 8, что обеспечит попадание ионов пробы в кашшляр I на определенную длину. Величиной высокого нацряйсенж и продолжительностью вклЕзчения высоковольтного источника 6 определяется количество пробы, вводимое в кварцевый капилляр I. После ввода пробы опустить пробирку 4 с пробой в пробиркодержатель 21 и, поворотом (.съемной) ручки 25, установить под распределителем 13 пробирку 4 с буферным раствором С третья по указывающему лимбу на ручке 25). Поднять пробирку 4 с буферным раствором в рабочую полость распределителя 13. Включить высокое напряжение от Вй&оковольтного источника 6 - происходит процесс движения ионов по кварцевому капилляру I в стороцу блока 2 первичного детектирования, за счёт различной скорости движения ионов в электрическом поле, ионы разделяются и в разлитаое время достигают кюветы 3 оптического детектора. От источника 10 излучения световой поток ультрафиолетовой части спектра падает через кювету 3 оптического

[223]

2 - -

[224]

детектора, фиксированную в оптических губках 45 блока 2, на окно в корпусе фотодиода YI, где освещает Р - а - переход.

[225]

Под воздействием ультрафиолетового света в фотодиоде VI возникает электродвизкущая сжяа пропорциональная сипе света прошещей через кювету 3. Эта сила света меняет свою интенсивность вследствии различной степени прозрачности образующихся разделённнх зон ионов (шш различной прозрачности шщелл) раствора пробы, что вызывает ампяитутную модуляцию сигнала от фотодиода VI.

[226]

Этот сигнал поступает на вход блока 5 усиления, на другой вход которого поступает сигнал от фотодиода V2. Через окно в корпусе фотодиода V2 на его р-/г-переход падает постоянный во времени свет от источника 10 излучения, проходящий только через ультрафиолетовый оптический светофильтр 40.

[227]

Наличие сигнала от фотодиода V2 на втором входе блока 5 усижешай позволяет осуществлять масштабирование сигнала при записи сигналов, например, с помощью потенциометра двухкашльного особопомехозащищенного автоматического самопшну щего типа КОШМ, что обеспечит оперативность и удобство при обработке результатов анализов выполненшЕ методами зонного электрофореза или электрокинетической мицеллягрной хроматогра3 aC O li

[228]

- -

[229]

Шсле проведения каждого анализа производится процесс подготовки прибора к работе, в частности обязательш выполшсется п. 2 промывка кварцевого капилляра I.

[230]

Б. Проведение разделешн методом изоэлектрического фокус1грованнЕ«

[231]

Шэтод изоэдектрического фокусирования путем разделения ионов предполагает формирование устойчивого градиента рН вдоль кварцевого калшьляра I за счет использования смеси амфолитов - носителей. Амфолиты являются смесью тысяч различных акшнокарбонов 1х кислот, имеющих различные значения своих изоэлектрическвк точек.

[232]

Если кварцевый капилляр I заполнить смесью ам олитов, а ка тодную (-) и анодную (+) пробирки 4 щелочным и кислотным растворами соответственно, то после появления электрического поля, молекулы авйфолитов начнут двшсение к тем точкам в кварцевом капилляре I, где их заряд станет равен нулю. Ч)ерез некоторое время сформируется устойчивый г|адиент рН между катодной и анодной пробирками 4.

[233]

Ионы пробы амфолитов также будут двигаться к точкам своего нулевого заряда (изоэлектрическим точкам). После распределения ионов пробы по своим изоэлектрическгм точкам, содержимое кварцевого капилляра I перемещают мимо блока 2 первичного детектирования обнаруживая в кювете 3 разделённые ксшпаненты.

[234]

Метод является концентрирзгющщ и разделшощщ

[235]

Доя проведения изоэлвктр ескего фо К7сяр0вания1 занохнять пробирки 4 узла ВВ0ДД пробы в следующей последовательности:

[236]

-раствор пробы смешанный с аггфолитами;

[237]

-раствор ортофосфорной кислоты ОД Н (децинормальвый);

[238]

-промывающий раствор.

[239]

Заполнить пробирку 4 для слива 0,1 Н (децинормальным) раствором гидроокиси калия и поднять её в рабочую зону.

[240]

и.

[241]

- воположноё полярности растворн ор гофос$оршй кислохы и гидроокиси ЕалиЕ дсйЕжнн поменЕться местами расположения.

[242]

Заполнить кварцевый капилляр I раствором пробы смешанным с ав/фолитами. Установив в рабочую полость распределителя 13 пробирку 4 с раствором ортофосфорной кислоты обеспечить её контакт с раствором пробы, смешаншш с а1 олиташ1, находящимся в кварцевом капилляре Т, второй конец кварцевого капилляра I погружен в раствор гидроокиси калия, находящийся в пробирке 4 для слива. ВКЛЕИИТЬ высоковольтный источник б - процесс изоэлектрического фокусирования продолжается в течение 15 - 20 минут. Ш прошествии данного времени обеспечить небольшое избыточное давление над содержимым пробирки 4 в узле 7 ввода пробы, за счет подачи воздуха устройством 12, и произвести перекачивание жидкости по кварцевому капшгляру I.

[243]

Разделённые компаненты пробы, проходя в блоке 2 через кювету 3 оптического детектора, определяют его выходной сигнал .

[244]

В. Проведение разделения методом изотаяофореза.

[245]

Метод изотахофореза основан ва формировании в кварцевом кашшляре I таких условий, при которых все ионы пробы двигаются с одинаковой скоростью, но в последовательности, соответствующей их электрической подвижности.

[246]

Равная скорость всех ионов является одновременно причиной и следствием ступенчатого распределения напряженности электрического поля вдоль кварцевого капилляра I. этом каждой ступеньке соответствует зона оцределённого сорта ионов и зоны следуют одна за другой без разрыва.

[247]

33

[248]

в ней, соответствует электрической подвикнооти иона, из которых она состоит.

[249]

Шред началом анализа, кварцевый кантаишр I заполняется pacTBOpoMj в котором содераится только один ион (катион или анион) с цротивоионои (лидирушиЗ электролит).

[250]

Электрическая ШДВИЗЕНОСТЬ данного иона должна цревосхо дить подвижность иона пробы.

[251]

Ионы пробы вводятся с одного конца кварцевого капилляра I, после появления электрического поля; начинают движение, постепенно образуя зоны чистых ионов о соответствувщими сту пеньками напряженности электрического поля на каждой зоне. Замыкает череду зон заныкащий электролит, содержащий ион с наименшей подвижностью. Система последовательно следукщих друг за другом зон чистых ионов является самоорганизующейся, а метод изотахофореза - концентрирующим и разделяющим.

[252]

В настоящее время данный метод наиболее широко црименяется в анализе смесей низкомолекулярннх анионов (органических и неорганических кислот), но может найти применение и в анализе смесей катионов.

[253]

Условие применимости метода - высокий уровень зарядов ионов, составляющЕо: пробу.

[254]

цроведения изотахофореза запшшить жробвря 4 в узле 7 ввода пробн paeiBopauE в елвдувцвй гослвдоватвлыюстж:

[255]

рвствор лидцртщбро вош;

[256]

-paefBQp apedli;

[257]

-раствор за швшщего иона; - цромыващий раствор.

[258]

.- и доднЕТь её в рабочую зо. Установить в рабочую полость распределителя 13 пробирку 4 о раствором лидирующего иона и при поиощи устройства 12 заполпить Еварцевый калшищр I раствором лидирущего иона. Установить в рабочую полость рас1гределителя 13 пробирку 4 с раствором пробы и кратковременгш включением высоковольтного источника 6 обеспечить попадание ионов пробы в кварцевый капияляр I. Установить в рабочую полость распределителя 13 цробщрку 4 с раствором замыкающего иона и включением высоковольтного источника 6 обеспечить самоорганизалда последовательно следующих друг за другом зон чистых ионов, которые проходя через кювету 3 оптического дитектора, установленную в блоке 2 определяют его выходной сигнал, который через блок 5 усиления поступает , например, на ШШ, Рекомендации по работе с прибором для высоковольтного электрофореза в кварцевом капилляре. 1.Дан эффективного проведения анализов оператор должен быть ознакомлен с описанием методик проведения анализов раз литаых растворов проб. 2.Допускается использование в приборе гибких кварцевых капилляров с наружным диаметром (общим, вместе с покрытием) до I мм и внутренним диаметром не менее 30 микрометров. 3.Кроме дистиллированной воды, допускается использование, в качестве растворов для промывки, органических растворителей, а также сильных кислот и концентрированной щелочи. -Ш-Jb Of

[259]

кашЕлляра крвмнийорганичвскшаи агентами, например, дииетилдихяорсиланом .

[260]

5.Шшшальная длина кварцевого капилляра, используемого в приборе, должна быть не менее 250 1ш, шксшшльная джина

[261]

- не ограничена.

[262]

6,Минимальная хгродолкительность включения высоковольтного источника для ввода пробы в кварцевый капилляр - не менее

[263]

2 сек

[264]

зГ

[265]

-82 ФОРМУЛА

Как компенсировать расходы
на инновационную разработку
Похожие патенты