патент
№ RU 54514
МПК A61M5/168

УСТРОЙСТВО ДЛЯ ВНУТРИКОСТНОГО ВВЕДЕНИЯ ЛЕКАРСТВЕННЫХ ПРЕПАРАТОВ В НИЖНЮЮ ЧЕЛЮСТЬ

Авторы:
Мухаев Хамит Хамзеевич Ярыгина Елена Николаевна Воробьёв Александр Александрович
Все (9)
Номер заявки
2005139976/22
Дата подачи заявки
20.12.2005
Опубликовано
10.07.2006
Страна
RU
Как управлять
интеллектуальной собственностью
Чертежи 
1
Реферат

[1]

Устройство для внутрикостного введения лекарственных препаратов содержит инъекционную иглу, имеющую канюлю с внутренней резьбой, вводимую в кость нижней челюсти путем ее вращения бормашиной с которой инъекционная игла соединена на резьбе посредством насадки инъекционной иглы и шприца, соединяющегося с канюлей инъекционной иглы с внутренней резьбой посредством резьбы канюли шприца, раствор из которого поступает в кость нижней челюсти в результате давления поршня, перемещающегося за счет вращения ручки винта и винта поршня, поворот которых соответствует определенному количеству вводимого раствора, обеспечивая строгое дозирование вводимого препарата.

Формула изобретения

Устройство для внутрикостного введения лекарственных препаратов в нижнюю челюсть, отличающееся тем, что содержит насадку для введения инъекционной иглы бормашиной, шприц с расположенным в корпусе поршнем, перемещающимся за счет вращения в фиксирующей гайке винта поршня, и фиксирующуюся на резьбе канюли шприца инъекционную иглу и обеспечивает строго дозированное введение лекарственного препарата в кость нижней челюсти при ее минимальной травматизации.

Описание

[1]

Полезная модель относится к медицинской технике, а именно к устройствам для внутрикостного введения лекарственных препаратов в нижнюю челюсть и может использоваться в хирургической стоматологии при лечении деструктивных процессов в нижнечелюстной кости, а также для выполнения внутрикостной анестезии.

[2]

Для создания максимальной локальной концентрации антибиотиков в патологическом очаге предложена игла с винтовой нарезкой для внутрикостного введения лекарственных препаратов, которая вкручивается в кость нижней челюсти вручную [Бажанов Н.Н., Чикорин А.К., Шалабаев О.Д. Остеоперфорация и внутрикостный лаваж в лечении острого остеомиелита нижней челюсти. //Стоматология - 1985. - №3. - с.44]. Однако предложенное устройство не обеспечивает строго дозированного введения лекарственного препарата в область патологического очага, а большой диаметр иглы и невозможность четкой фиксации оси иглы в момент ее вкручивания рукой наносят дополнительно существенную травму кости.

[3]

Предложено устройство для внутрикостного введения препаратов, представляющее собой иглу, вводимую в кость посредством ее соединения с хвостовиком и бормашиной, а также шприца, при пальцевом давлении на поршень которого раствор поступает в кость [Конобевцев О.Ф., Макиенко М.А., Бережной В.П. Методика внутрикостной анестезии в стоматологии. //Стоматология. - 1978. - №4. - С.17-19]. Недостатком этого устройства является

[4]

невозможность осуществления строго дозированного введения лекарственного препарата при пальцевом давлении на поршень и недостаточно жесткая фиксация конуса насадки в канюле иглы (винт), что зачастую приводит к прокручиванию иглы при введении ее в кость.

[5]

Цель, достигаемая с помощью полезной модели - обеспечение строго дозированного введения лекарственного препарата в кость нижней челюсти, с минимальной ее травматизацией.

[6]

Указанная цель достигается тем, что устройство для внутрикостного введения лекарственных препаратов содержит инъекционную иглу, имеющую канюлю с резьбой, шприц, представляющий собой металлический цилиндр с поршнем, перемещающимся в нем посредством вращения винта с резьбой в фиксирующей гайке, насадку для фиксации и введения инъекционной иглы в кость нижней челюсти с помощью бормашины.

[7]

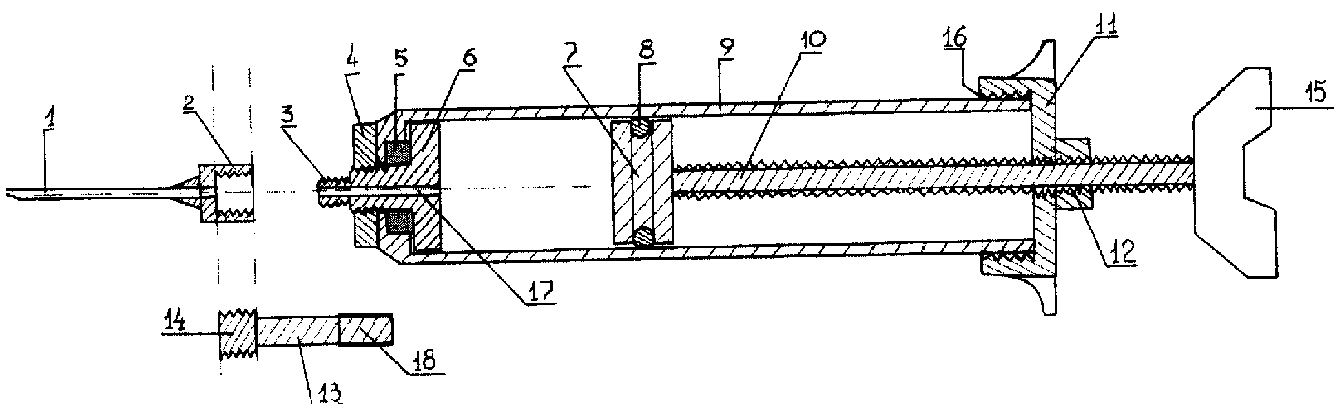
На фиг.1 изображен шприц для внутрикостного введения лекарственных препаратов и насадка для введения инъекционной иглы, общий вид;

[8]

Устройство для внутрикостного введения лекарственных препаратов в нижнюю челюсть выполнено из нержавеющей стали с хромовым металлопокрытием, и состоит из инъекционной иглы 1 с канюлей 2, имеющей на внутренней поверхности резьбу, обеспечивающую возможность соединения с канюлей шприца 6 посредством резьбы 3, шприца, имеющего цилиндрической формы корпус 9, с расположенной в его передней части и фиксированной посредством прижимной гайки 4 и уплотнительного кольца 5, изготовленного из силикона, к корпусу шприца 9 канюли шприца 6, фиксированного посредством

[9]

резьбового соединения в задней части корпуса шприца 9 фиксирующей гайки 11, в центре которой имеется отверстие с резьбой 12, в котором перемещается посредством резьбы винт поршня 10 с поршнем 7, герметизированного и стабилизированного внутри корпуса шприца 9 уплотнительным кольцом поршня 8, изготовленного из силикона и расположенным на задней части винта поршня 10 ручкой винта поршня 15, для введения инъекционной иглы 1 в кость нижней челюсти используется насадка инъекционной иглы 13, включающая резьбовую часть 14, на которую накручивается канюля иглы с внутренней резьбой 2 перед введением иглы в кость нижней челюсти с использованием бормашины, и стыковочную часть 18, соответствующую форме замка наконечника бормашины.

[10]

Устройство работает следующим образом.

[11]

В асептических условиях инъекционная игла 1 накручивается на резьбовую часть 14 насадки инъекционной иглы 13. Стыковочная часть 18 насадки инъекционной иглы 13 фиксируется в наконечнике бормашины. После обезболивания места будущего вкола производят прокол слизистой оболочки (при внутриротовом доступе) или кожи (при внеротовом доступе) до соприкосновения кончика иглы с костью. При незначительном давлении на наконечник бормашины и инъекционную иглы 1, на низкоскоростном вращении бора, инъекционная игла 1 проводится через кортикальную пластинку в губчатый слой кости, что определяется по характерному ее «проваливанию». Инъекционная игла 1 откручивается от резьбовой части 14 насадки для введения инъекционной иглы 13. Осуществляется сборка шприца для внутрикостного

[12]

введения лекарственных препаратов, которая включает: установку через просвет корпуса шприца 9 канюли шприца с уплотнительным кольцом 5 и ее фиксация к корпусу шприца 9 путем затягивания снаружи на резьбе прижимной гайки 4; установку в просвет корпуса шприца 9 поршня 7 с уплотнительным кольцом поршня 8, расположенного на винте поршня 10; закрытие задней части корпуса и фиксация оси движения винта поршня 10 посредством накручивания на резьбу корпуса шприца 16 фиксирующей гайки 11. После этого резьба канюли шприца 3 вкручивается в канюлю иглы с внутренней резьбой 2, чем достигается совмещение инъекционной иглы 1 со шприцем для внутрикостного введения лекарственных препаратов. Осуществление внутрикостного введения лекарственных препаратов в кость нижней челюсти достигается путем вращения вокруг оси ручки винта поршня 15 и самого винта поршня 10 в фиксирующую гайку 11. При этом перемещение винта поршня 10 приводит к перемещению поршня 7 с уплотнительным кольцом 8, который оказывает давление на жидкость (лекарственный препарат) расположенную между поверхностью поршня 7 и внутренней поверхностью канюли шприца 6. В результате оказываемого давления, лекарственных препарат проходит через канал канюли шприца 17 в инъекционную иглу 1 и губчатое вещество кости нижней челюсти. При этом каждый полный оборот ручки винта поршня 15 позволяет продвинуть поршень 7 на определенное расстояние, что позволяет вводить строго дозированный объем жидкости. Например, при внутреннем диаметре шприца 16 мм и шаге резьбы винта 1,25 мм 5 оборотов винта позволяет ввести 1,3 мл. раствора.

[13]

Предлагаемое устройство является разборным, его детали изготовлены из термостойких материалов, что позволяет производить достаточную стерилизацию. Устройство компактно, просто по конструкции, удобно в обращении. При этом установлено, что предлагаемое устройство позволяет обеспечить строго дозированное введение лекарственных препаратов в кость нижней челюсти.

Как компенсировать расходы
на инновационную разработку
Похожие патенты