Детектор прямой зарядки (ДПЗ) относится к технике измерения ионизирующих излучений, является внутриреакторным датчиком контроля энерговыделения и может использоваться для внутриреакторных измерений плотности потока нейтронов и флюенса нейтронов. Детектор прямой зарядки содержит коллектор, изготовленный из электропроводящего материала с малым сечением взаимодействия с нейтронами, в котором размещен эмиттер, изготовленный из материала с высоким сечением взаимодействия с нейтронами, испускающего вследствие этого электроны, изоляционный элемент, расположенный между эмиттером и коллектором и изготовленный из материала с малым сечением взаимодействия с нейтронами, кабель с токоведущей жилой и оболочкой, герметично присоединенной к коллектору. Детектор прямой зарядки дополнительно содержит центрирующий элемент в виде втулки, один конец которой жестко соединен с эмиттером с обеспечением электрического контакта между ними, при этом с другой стороны на центрирующий элемент с возможностью его охвата установлена спираль, сформированная из токоведущей жилы кабеля, конец которой жестко соединен с центрирующим элементом с обеспечением электрического контакта. Спираль позволяет компенсировать механические воздействия в месте соединения токоведущей жилы кабеля с эмиттером, а также термические расширения токоведущей жилы кабеля и ДПЗ в целом.
Детектор прямой зарядки, содержащий коллектор, изготовленный из электропроводящего материала с малым сечением взаимодействия с нейтронами, в котором размещен эмиттер, изготовленный из материала с высоким сечением взаимодействия с нейтронами, испускающего вследствие этого электроны, изоляционный элемент, расположенный между эмиттером и коллектором и изготовленный из материала с малым сечением взаимодействия с нейтронами, кабель с токоведущей жилой и оболочкой, герметично присоединенной к коллектору, отличающийся тем, что он дополнительно содержит центрирующий элемент в виде втулки, один конец которой жестко соединен с эмиттером с обеспечением электрического контакта между ними, при этом с другой стороны на центрирующий элемент с возможностью его охвата установлена спираль, сформированная из токоведущей жилы кабеля, конец которой жестко соединен с центрирующим элементом с обеспечением электрического контакта.
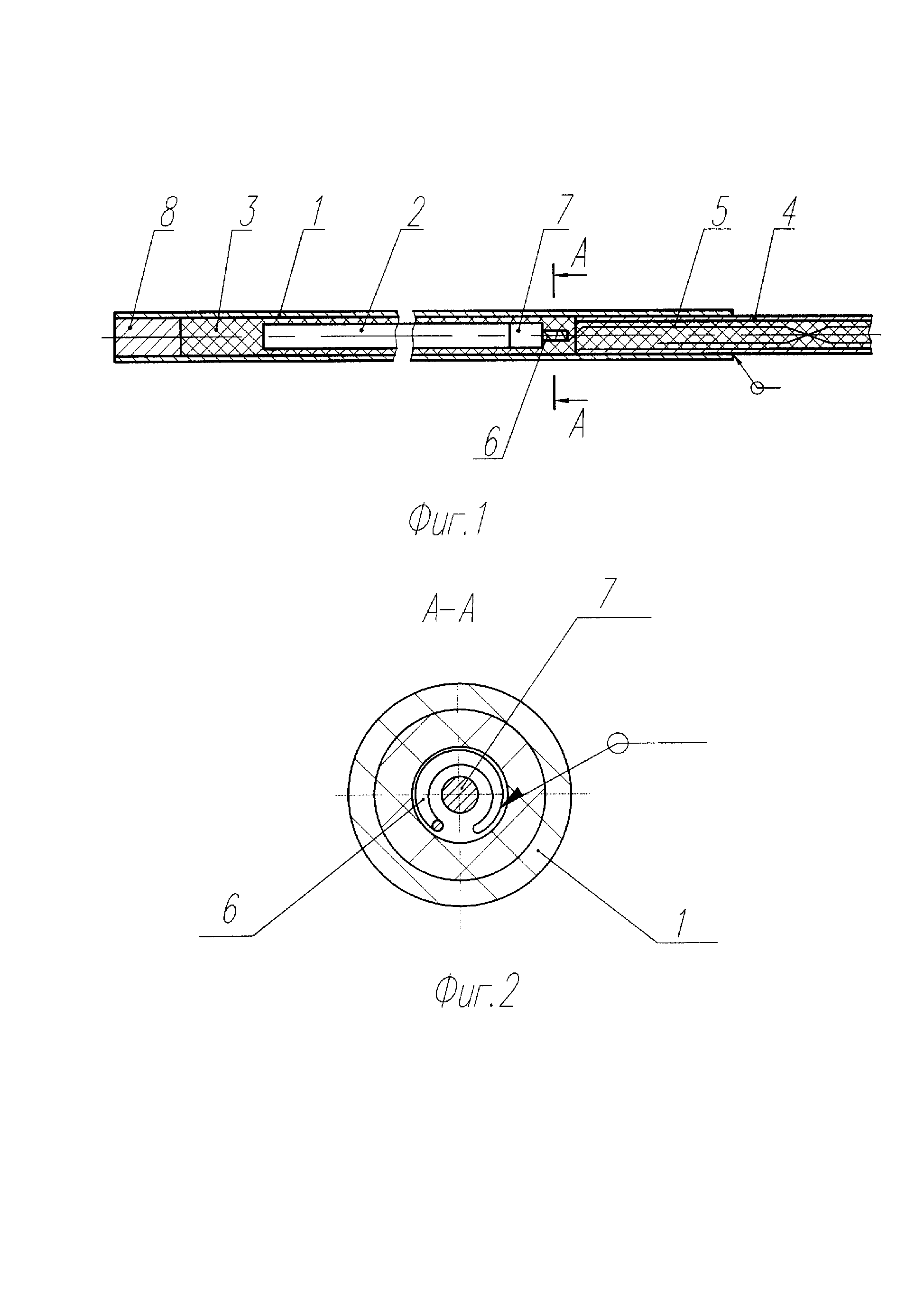
Полезная модель - детектор прямой зарядки (обозначаемый далее «ДПЗ») относится к технике измерения ионизирующих излучений, является внутриреакторным датчиком контроля энерговыделения и относится к оборудованию системы внутриреакторного контроля. Детекторы прямой зарядки (ДПЗ) могут использоваться для измерения распределения энерговыделения по объему активной зоны и применяются, преимущественно, для внутриреакторных измерений плотности потока нейтронов и флюенса нейтронов. ДПЗ функционируют в тяжелых условиях работы: высокая температура, интенсивное у- и нейтронное излучение. При этом, ДПЗ должны обладать достаточно высокими метрологическими и надежностными характеристиками, иметь небольшие размеры и конструктивно сопрягаться с внутрикорпусными агрегатами. ДПЗ по сравнению с другими типами нейтронно-чувствительных детекторов обладают следующими преимуществами: а) возможность размещения в реакторе большого количества детекторов вследствие малых собственных габаритов; б) срок службы детекторов может достигать не менее одной кампании реактора, а их чувствительность корректируется расчетным путем; в) простота конструкции детекторов и хорошая технологическая воспроизводимость параметров - разброс чувствительности не более ±1%. Известен детектор прямой зарядки, состоящий из эмиттера и коллектора, между которыми находится изолятор (В.А.Брагин, И.В.Батенин, М.Н.Голованов и др.; Под ред. Г.Л.Левина. - Системы внутриреакторного контроля АЭС с реакторами ВВЭР. М.: Энергоатомиздат, 1987, с.19-22). При облучении нейтронами эмиттер излучает электроны, которые через изолятор попадают на коллектор и образуют во внешней цепи электрический ток. По кабелю выходной сигнал ДПЗ выводится за пределы корпуса реактора. Эмиттер ДПЗ типа ДПЗ-1М представляет собой родиевую проволоку диаметром 0,5 мм и длиной 200 мм. Изолятор изготовлен из кварцевой трубки, коллектор - из нержавеющей трубки диаметром 1,3 мм. В качестве линии связи используется двухжильный кабель типа КТМС с изоляцией из окиси магния. Токоведущая жила кабеля служит для вывода за пределы корпуса реактора выходного сигнала ДПЗ. Вторая (фоновая) жила вырабатывает фоновый ток вследствие воздействия на нее внутриреакторных излучений, который в измерительной аппаратуре вычитается из тока токоведущей жилы. Выходной сигнал ДПЗ пропорционален плотности нейтронного потока в месте его расположения, который в свою очередь связан с энерговыделением в ближайших твэлах. Существенным недостатком указанной конструкции является ее низкая эксплуатационная надежность вследствие высокой вероятности разрушения изолятора при установке ДПЗ в искривленной измерительный канал реакторной установки, что может приводить к короткому замыканию эмиттера и коллектора и потере работоспособности ДПЗ. Известен детектор прямой зарядки, содержащий коллектор, изготовленный из электропроводящего материала с малым сечением взаимодействия с нейтронами, в котором размещен эмиттер, изготовленный из материала с высоким сечением взаимодействия с нейтронами, испускающего вследствие этого электроны, изоляционный элемент, расположенный между эмиттером и коллектором и изготовленный из материала с малым сечением взаимодействия с нейтронами, кабель, токоведущая жила которого присоединена к эмиттеру, а оболочка герметично присоединена к коллектору (Патент РФ №2138833, оп. 27.09.1999, МПК6 G 01 Т 3/00, Н 01 J 47/12. Детектор нейтронов прямого заряда). В указанной конструкции токоведущая жила имеет утолщение на концевом участке, примыкающем к эмиттеру, и присоединена к нему посредством сварного соединения. Такое торцевое стыковое соединение эмиттера с токопроводящей жилой кабеля характеризуется недостаточной прочностью, а следовательно, и низкой надежностью, так как в процессе эксплуатации ДПЗ происходит термическое расширение его конструкционных элементов и, как следствие, обрыв токоведущей жилы кабеля. Наиболее близким по технической сущности к заявленному техническому решению является детектор прямой зарядки, содержащий коллектор, изготовленный из электропроводящего материала с малым сечением взаимодействия с нейтронами, в котором размещен эмиттер, изготовленный из материала с высоким сечением взаимодействия с нейтронами, испускающего вследствие этого электроны, изоляционный элемент в виде плотной набивки, расположенный между эмиттером и коллектором и изготовленный из материала с малым сечением взаимодействия с нейтронами, кабель с токоведущей жилой и оболочкой, герметично присоединенной к коллектору. Коллектор выполнен в виде цилиндра, который с одной стороны имеет герметизирующий элемент с внутренним изоляционным слоем, а с другой стороны - изоляционную втулку, расположенную между эмиттером и оболочкой кабеля. Токоведущая жила кабеля жестко установлена в угловой прорези, выполненной в эмиттере ДПЗ (Патент РФ на полезную модель №29380, оп. 10.05.2003, МПК7 G 01 Т 3/00. Детектор прямой зарядки). Данная конструкция по сравнению с аналогом обладает более высокой технологичностью и повышенной надежностью за счет более качественных и прочных изоляционных элементов и более высокой надежности электрических соединений внутри ДПЗ на всех этапах жизненного цикла детектора. Однако, прототипу присущ тот же недостаток, что и предыдущего аналога - обрыв токоведущей жилы кабеля в месте соединения с эмиттером вследствие термического расширения конструкционных элементов ДПЗ в процессе эксплуатации датчика. Перед авторами стояла задача предотвратить обрыв токоведущей жилы кабеля в процессе эксплуатации ДПЗ. Поставленная задача достигается тем, что детектор прямой зарядки, содержащий коллектор, изготовленный из электропроводящего материала с малым сечением взаимодействия с нейтронами, в котором размещен эмиттер, изготовленный из материала с высоким сечением взаимодействия с нейтронами, испускающего вследствие этого электроны, изоляционный элемент, расположенный между эмиттером и коллектором и изготовленный из материала с малым сечением взаимодействия с нейтронами, кабель с токоведущей жилой и оболочкой, герметично присоединенной к коллектору, дополнительно содержит центрирующий элемент в виде втулки, один конец которой жестко соединен с эмиттером с обеспечением электрического контакта между ними, при этом с другой стороны на центрирующий элемент с возможностью его охвата установлена спираль, сформированная на конце токоведущей жилы кабеля, которая жестко соединена с центрирующим элементом с обеспечением электрического контакта. Таким образом, с целью предотвращения обрыва токоведущей жилы кабеля в процессе эксплуатации ДПЗ предложено осуществлять ее соединение с эмиттером посредством термокомпенсационного устройства, состоящего из центрирующего элемента, один конец которого электрически связан с эмиттером, а другой - с токоведущей жилой. При этом конец токоведущей жилы со стороны эмиттера представляет собой спираль, установленную с возможностью охвата центрирующего элемента. Спираль позволяет компенсировать не только термические расширения токоведущей жилы кабеля и ДПЗ в целом, но механические воздействия в месте соединения токоведущей жилы кабеля с эмиттером. На фиг.1 изображен общий вид ДПЗ, а на фиг.2 показано поперечное сечение (вид А-А) эмиттера в области соединения с токоведущей жилой кабеля. ДПЗ содержит коллектор 1 (см фиг.1), изготовленный из электропроводящего материала с малым сечением взаимодействия с нейтронами, в котором размещен эмиттер 2, изготовленный из материала с высоким сечением взаимодействия с нейтронами, испускающего вследствие этого электроны, изоляционный элемент 3, расположенный между эмиттером и коллектором и изготовленный из материала с малым сечением взаимодействия с нейтронами, кабель 4, токоведущая жила 5 которого, имеющая на конце спираль 6, присоединена к центрирующему элементу 7. Изоляционный элемент 3 выполнен в виде плотной набивки, коллектор 1 выполнен в виде цилиндра, который с одной стороны имеет герметизирующий элемент 8, а с другой стороны герметично присоединен по периметру к оболочке кабеля 4. Место присоединения обозначено на фиг.2 стрелкой. Вывод токоведущей жилы 5 кабеля 4 со стороны эмиттера 2 представляет собой спираль 6, выполненную с возможностью охвата центрирующего элемента 7. Наружная поверхность спирали не выходит за габаритные размеры боковой поверхности эмиттера 2, соединенного с центрирующим элементом, внутренней поверхностью (диаметром) спираль 6 установлена на центрирующий элемент 7, что позволяет ограничить механические нагрузки на спираль в процессе сборки и эксплуатации ДПЗ. Конец спирали 6 токоведущей жилы кабеля 5 жестко присоединен к центрирующему элементу 7, а центрирующий элемент жестко присоединен к эмиттеру 2, например, лазерной сваркой. Место присоединения спирали токоведущей жилы к центрирующему элементу обозначено на фиг.2 (Вид А-А) стрелкой. ДПЗ изготавливается следующим образом. Коллектор 1 детектора изготовлен из электропроводящего материала с малым сечением взаимодействия с нейтронами, например, из трубки диаметром от 2 до 3 мм и длиной от 70 до 200 мм из стали 12Х18Н10Т. В коллекторе 1 размещен эмиттер 2. Эмиттер 2 изготовлен из материала с высоким сечением взаимодействия с нейтронами, испускающего вследствие этого электроны, например, из родиевой проволоки диаметром от 1 до 1,5 мм и длиной от 60 до 180 мм Изоляционный элемент 3 расположен между эмиттером 2 и коллектором 1. Изоляционный элемент 3 изготовлен из материала с малым сечением взаимодействия с нейтронами, например, из мелкодисперсного порошка окиси магния запрессовкой порошка между эмиттером 2 и коллектором 1. Таким образом, изоляционный элемент 3 выполнен в виде плотной набивки. В качестве линии связи детектора нейтронов прямого заряда с измерительным блоком (на фиг.1 не показан) используется «твистированный» двухжильный кабель 4 с минеральной изоляцией и проводящей оболочкой, например, кабель типа КНМССТ диаметром 1,5 мм. Токоведущая жила 5 кабеля присоединена к центрирующему элементу 7, центрирующий элемент к эмиттеру 2, а оболочка кабеля герметично присоединена по периметру к коллектору 1, например лазерной сваркой. Вторая жила кабеля 4, изолированная от токоведущей жилы 5, является фоновой жилой для контроля фонового тока и используется для повышения точности измерения и дополнительного контроля характеристик детектора в процессе эксплуатации. Токоведущая жила 5 и фоновая жила через узел герметизации соединены с гибкими проводниками, которые присоединяются к измерительному блоку. Узел герметизации выполнен, например, на основе эпоксидной втулки с наполнителем для обеспечения герметичности внутреннего пространства детектора и изолирует между собой области присоединения токоведущей жилы 5 и фоновой жилы с гибкими проводниками. С одной стороны коллектор 1 соединен герметично по периметру, например, с помощью лазерной сварки, с герметизирующим элементом 8. Герметизирующий элемент 8 представляет собой цилиндр диаметром, не превышающим внутреннего диаметра коллектора. Со стороны кабеля между эмиттером 2 и токоведущей жилой 5 кабеля 4 установлен центрирующий элемент 7, при этом конец токоведущей жилы со стороны центрирующего элемента выполнен в виде спирали 6, установленной с возможностью охвата центрирующего элемента внутренним диаметром. Работа детектора нейтронов прямого заряда известна и описана, в общедоступной литературе (см., например, В.А.Брагин, И.В.Батенин, М.Н.Голованов и др.; Под ред. Г.Л.Левина. - Системы внутриреакторного контроля АЭС с реакторами ВВЭР. М.: Энергоатомиздат, 1987, с.19-22). В активной зоне реактора несколько ДПЗ расположены на одной вертикали и конструктивно объединены в нейтронно-измерительный канал. После воздействия потока нейтронов на эмиттер 2, его материал становится радиоактивным и испускает электроны, которые проходят через изоляционный элемент 3 и поглощаются коллектором 1. При этом эмиттер 2 заряжается положительно, коллектор 1 - отрицательно, а в замкнутой цепи, образованной эмиттером 2, коллектором 1, оболочкой кабеля 4, измерительным блоком (на фиг.1 не показан), гибким проводником и токоведущей жилой 5 кабеля 4, возникает электрический ток, величина которого пропорциональна величине потока нейтронов в месте расположения ДПЗ в активной зоне реактора, который в свою очередь связан с энерговыделением в ближайших твэлах. Вторая (фоновая) жила кабеля 4 вырабатывает фоновый ток вследствие воздействия на нее внутриреакторных излучений, фоновый ток передается гибким проводником в измерительный блок, в котором фоновый ток вычитается из тока токоведущей жилы 5. Восстановление поля энерговыделения по сигналам ДПЗ осуществляется на основе коэффициентов пропорциональности, значения которых находят расчетным путем. В сравнении с известными заявленный детектор нейтронов прямого заряда характеризуется повышенными надежностными характеристиками и улучшенной технологичностью за счет более качественного выполнения электрического соединения эмиттера и токоведущей жилы кабеля с помощью центрирующего элемента и спирали, сформированной из жилы кабеля, внутри ДПЗ на всех этапах жизненного цикла детектора, включая этап эксплуатации, а также этап испытаний детекторов, поскольку меньше изготовленных детекторов отбраковывается, и этапы транспортировки и размещения детектора в измерительный канал реакторной установки, так как вводимые элементы конструкции своим выполнением и размещением сохраняют электрические цепи детектора. За счет повышенной технологичности изготовления и введения компенсирующих элементов отбраковка заявленных детекторов после изготовления до этапа размещения в измерительный канал реакторной установки снизилась более чем на 20% в сравнении с известными детекторами. ФГУП «НИИ НПО «Луч» были разработаны, спроектированы и изготовлены опытные партии заявленных ДПЗ в соответствии с ГОСТ Р 15.201-2000 СРПП «Продукция производственно-технического назначения. Порядок разработки и постановки продукции на производство» и ОСТ 95 332-93 «Изделия ядерного приборостроения и радиационной техники. Правила приемки».