патент
№ RU 48014
МПК F16F1/34

ТОРЦЕВОЕ УПЛОТНЕНИЕ ВРАЩАЮЩЕГОСЯ ВАЛА И КОНИЧЕСКАЯ ПРУЖИНА ДЛЯ ТОРЦЕВОГО УПЛОТНЕНИЯ

Авторы:
Галямичева Т.Н. Красников Н.Б. Сафронов И.В.
Все (6)
Номер заявки
2005107732/22
Дата подачи заявки
21.03.2005
Опубликовано
10.09.2005
Страна
RU
Как управлять
интеллектуальной собственностью
Чертежи 
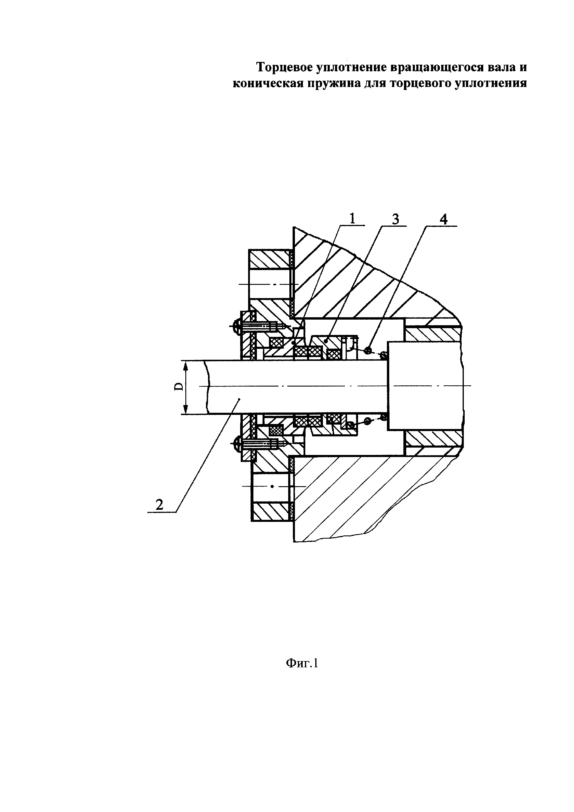
3
Реферат

[1]

Полезная модель относится к машиностроению, а именно, к конструкциям торцевых уплотнений и пружин для этих уплотнений, предназначенных как для восприятия усилий сжатия-растяжения, так и для передачи крутящего момента от одного механизма или детали к другой. Торцевое уплотнение вращающегося вала содержит неподвижное кольцо трения и размещенное на валу подвижное кольцо трения, причем на валу образован уступ, между которым и подвижным кольцом трения установлена пружина, поджимающая последнее к неподвижному кольцу трения, при этом один конец пружины зафиксирован относительно подвижного кольца трения и направление навивки пружины выполнено противоположным направлению вращения вала, а пружина выполнена конической, ее меньшее основание расположено со стороны уступа, в подвижном кольце трения выполнена прорезь, конец пружины в большем основании отогнут в радиальном направлении и вставлен в прорезь кольца трения, при этом внутренний диаметр «d» меньшего основания пружины меньше диаметра «D» вала. Коническая пружина для торцевого уплотнения содержит намотанные по спирали витки, при этом конец пружины со стороны большего основания отогнут в радиальном направлении наружу, а внутренний диаметр «d» меньшего основания пружины в ее исходном состоянии составляет от 0,89 до 0,99 диаметра «D» вала. В результате достигается повышение надежности работы торцевого уплотнения за счет сочетание в одной конической пружине функций пружины сжатия и пружины кручения, служащей для передачи усилий сжатия и крутящего момента подвижному кольцу трения.

Формула изобретения

1. Торцевое уплотнение вращающегося вала, содержащее неподвижное кольцо трения и размещенное на валу подвижное кольцо трения, причем на валу образован уступ, между которым и подвижным кольцом трения установлена пружина, поджимающая последнее к неподвижному кольцу трения, при этом один конец пружины зафиксирован относительно подвижного кольца трения и направление навивки пружины выполнено противоположным направлению вращения вала, отличающееся тем, что пружина выполнена конической, ее меньшее основание расположено со стороны уступа, в подвижном кольце трения выполнена прорезь, конец пружины в большем основании отогнут в радиальном направлении и вставлен в прорезь кольца трения, при этом внутренний диаметр d меньшего основания пружины в ее исходном состоянии меньше диаметра D вала.

2. Коническая пружина для торцевого уплотнения, содержащая намотанные по спирали витки, отличающаяся тем, что конец пружины со стороны большего основания отогнут в радиальном направлении наружу, а внутренний диаметр d меньшего основания пружины составляет от 0,89 до 0,99 диаметра D вала.

3. Коническая пружина по п.2, отличающаяся тем, что она выполнена из проволоки круглого или квадратного поперечного сечения с одинаковым шагом витков пружины или одинаковым углом подъема витков.

4. Коническая пружина по п.2, отличающаяся тем, что угол конусности пружины составляет от 3 до 140°.

Описание

[1]

Полезная модель относится к машиностроению, а именно, к конструкциям торцевых уплотнений и пружин для этих уплотнений, предназначенных как для восприятия усилий сжатия-растяжения, так и для передачи крутящего момента от одного механизма или детали к другой.

[2]

Известны торцевые уплотнения, включающие расположенный на валу опорно-нажимной узел, выполненный в виде ведущего и ведомого элементов и размещенной между ними осевой пружины с нешлифованными крайними витками с направлением навивки противоположно направлению вращения вала и поджимающей вращающееся кольцо к неподвижному, установленному в корпусе (Голубев Г.А. и др., Контактные уплотнения вращающихся валов, Москва, Машиностроение, 1976, с.209).

[3]

Из этой же книги известна пружина для торцевого уплотнения, содержащая намотанные по цилиндрической спирали витки с направлением навивки противоположно направлению вращения вала.

[4]

В данном торцевом уплотнении поверхности ведущего и ведомого элементов, обращенные к осевой цилиндрической пружине, выполнены вертикально к оси вращения вала. В результате плоскости нешлифованных крайних витков пружины имеют значительную неперпендикулярность к ее образующей. В результате не обеспечивается контакт крайних витков пружины с ведущим и ведомым элементами торцевого уплотнения, что является причиной неравномерного распределения усилия пружины на контактную площадь колец трения. Как следствие имеют место утечки уплотняемой среды через зазор пары трения, вызываемые неравномерным распределением усилия пружины на контактную площадь колец трения.

[5]

Наиболее близким к заявляемому торцевому уплотнению, как объекту полезной модели, является торцевое уплотнение вращающегося вала, содержащее неподвижное кольцо трения и размещенное на валу подвижное кольцо трения, причем на валу образован уступ, между которым и подвижным кольцом трения установлена пружина, поджимающая последнее к неподвижному кольцу трения, при этом один конец пружины зафиксирован относительно подвижного кольца трения и направление навивки пружины

[6]

выполнено противоположным направлению вращения вала (см., патент RU №2098705, кл. F 16 J 15/34, 10.12.1997).

[7]

Наиболее близкой к заявляемой пружине, как объекту полезной модели, является коническая пружина для торцевого уплотнения, содержащая намотанные по спирали витки (см., патент US №4436314, кл. F 16 J 15/36, 13.03.1984).

[8]

Однако данная конструкция торцевого уплотнения имеет много деталей сложной конфигурации, что усложняет конструкцию торцевого уплотнения, а известная коническая пружина размещена в эластичной манжете, что не позволяет в полной мере использовать ее свойства в части передачи крутящего момента к подвижному кольцу трения от вала, на котором установлена коническая пружина.

[9]

Основным недостатком указанной пружины является то, что эта пружина может работать на кручение, но не может работать на сжатие-растяжение. Витки пружины навиты вплотную или с небольшим зазором между витками во избежание трения между витками, а также с учетом деформации пружины при скручивании. При передаче крутящего момента оба упора, выполненные на торцах пружины, должны быть жестко закреплены, при этом размеры элементов крепления на сопряженных деталях всецело зависят от диаметра пружины.

[10]

Задачей, на решение которой направлена настоящая полезная модель, является повышение надежности работы торцевого уплотнения за счет сочетания в одной конической пружине функций пружины сжатия и пружины кручения, служащей для передачи усилий сжатия и крутящего момента подвижному кольцу трения.

[11]

Указанная задача в части торцевого уплотнения, как объекта полезной модели, решается за счет того, что торцевое уплотнение вращающегося вала содержит неподвижное кольцо трения и размещенное на валу подвижное кольцо трения, причем на валу образован уступ, между которым и подвижным кольцом трения установлена пружина, поджимающая последнее к неподвижному кольцу трения, при этом один конец пружины зафиксирован относительно подвижного кольца трения и направление навивки пружины выполнено противоположным направлению вращения вала, а пружина выполнена конической, ее меньшее основание расположено со стороны уступа, в подвижном кольце трения выполнена прорезь, конец пружины в большем основании отогнут в радиальном направлении и вставлен в прорезь кольца трения, при этом внутренний диаметр «d» меньшего основания пружины в ее исходном состоянии, т.е. состоянии, когда она не надета на вал, меньше диаметра «D» вала.

[12]

Указанная задача в части пружины, как объекта полезной модели, решается за счет того, что коническая пружина для торцевого уплотнения содержит намотанные по

[13]

спирали витки, при этом конец пружины со стороны большего основания отогнут в радиальном направлении наружу, а внутренний диаметр «d» меньшего основания пружины составляет от 0,89 до 0,99 диаметра «D» вала.

[14]

Коническая пружина может быть выполнена из проволоки круглого или квадратного поперечного сечения с одинаковым шагом витков пружины или одинаковым углом подъема витков, а угол конусности пружины может составлять от 3° до 140°.

[15]

При передаче крутящего момента, рабочий момент, скручивает пружину, что делает ее работу устойчивой и предотвращает проскальзование меньшего основания пружины относительно вала. При передаче усилий сжатия меньшее основание конической пружины опирается на образованный на валу уступ, причем последний может быть выполнен как в виде проточки, так и образован посредством специально закрепленной на валу детали. Другое основание конической пружины имеет упор-поводок, образованный отогнутым в радиальном направлении концом пружины, входящий в прорезь вращающегося кольца трения торцевого уплотнения и передает ему тем самым крутящий момент от вала, причем пружина опирается на подвижное кольцо трения и тем самым воспринимает осевые усилия сжатия-растяжения. Выполнение внутреннего диаметра «d» меньшего основания пружины меньше 0,89 приводит к усилению износа вала в месте контакта его с основанием конической пружины, а выполнение меньшего основания конической пружины более 0,99 диаметра «D» вала не обеспечивает передачу пружиной крутящего момента от вала к подвижному кольцу трения в результате слабого контакта меньшего основания пружины с валом.

[16]

Угол конусности пружины может составлять от 3° до 140°.

[17]

Благодаря конической конфигурации пружины, ее можно подобрать (рассчитать) для практически любых конкретных размеров вала и кольца трения и любого усилия сжатия и крутящего момента, при этом она не будет своими витками касаться поверхности вала (кроме витка меньшего основания) и тем самым изнашивать ее при передаче усилий сжатия-растяжения. При этом отпадает надобность в применении (разработке) различного рода дополнительных устройств (поводков, направляющих и т.п.), служащих для передачи крутящего момента от одного механизма (детали) к другому. Роль поводка выполняет выполненный на торце большего основания пружины радиально отогнутый относительно оси пружины упор-поводок, который входит в прорезь вращающегося подвижного кольца трения торцевого уплотнения, передавая ему тем самым крутящий момент.

[18]

На фиг.1 представлен продольный разрез торцевого уплотнения, на фиг.2 представлен продольный разрез торцевого уплотнения (второй вариант), на фиг.3

[19]

представлен вид сбоку на коническую пружину для торцевого уплотнения, на фиг.4 представлен вид спереди на коническую пружину для торцевого уплотнения, на фиг.5 представлено подвижное кольцо трения торцевого уплотнения.

[20]

Торцевое уплотнение вращающегося вала (см. фиг.1, 2 и 5) содержит неподвижное кольцо трения 1 и размещенное на валу 2 подвижное кольцо трения 3, причем на валу 2 образован уступ. На фиг.1 уступ образован ступенчатым валом 2, а на фиг.2 роль уступа выполняет расположенное на валу рабочее колесо насоса. Между уступом и подвижным кольцом 3 трения установлена пружина 4, поджимающая последнее к неподвижному кольцу трения 1. Один конец пружины 4 зафиксирован относительно подвижного кольца трения 3 и направление навивки пружины 4 выполнено противоположным направлению вращения вала 2. Пружина 4 выполнена конической, ее меньшее основание расположено со стороны уступа вала 2. В подвижном кольце трения 3 выполнена прорезь 5 (см. фиг.5). Конец 6 пружины 4 в большем основании отогнут в радиальном направлении и вставлен в прорезь 5 подвижного кольца трения 3, при этом внутренний диаметр «d» меньшего основания пружины 4 в ее исходном состоянии меньше диаметра «D» вала

[21]

Коническая пружина 4 (см. фиг.2 и 3) для торцевого уплотнения содержит намотанные по спирали витки, при этом конец 6 пружины 4 со стороны большего основания отогнут в радиальном направлении наружу, а внутренний диаметр «d» меньшего основания пружины 4 составляет от 0,89 до 0,99 диаметра «D» вала 2.

[22]

Коническая пружина 4 может быть выполнена из проволоки круглого или квадратного поперечного сечения с одинаковым шагом «t» витков пружины 4 или одинаковым углом α подъема витков, а угол β конусности пружины 4 может составлять от 3° до 140°.

[23]

При работе торцевого уплотнения рабочее усилие сжатия-растяжения прилагают вдоль оси пружины 4, а рабочее усилие крутящего момента передается от вращающегося вала 2 через пружину 4, меньшее основание которой надето с натягом на вал 2, подвижному кольцу трения 3 благодаря тому, что упор-поводок, образованный отогнутым концом 6 пружины 4, расположен в прорези 6 подвижного кольца трения 3. Поскольку направление навивки пружины 4 противоположно направлению вращения вала 2, пружина 4 работает на скручивание, что усиливает обжим меньшим основанием пружины 4 вала 2 и практически полностью исключает проскальзование пружины 4 относительно вала 2 при штатной работе торцевого уплотнения. Под действием осевого усилия сжатой пружины 4 подвижное кольцо трения 3 прижимается к неподвижному кольцу трения 1, обеспечивая герметизацию по плоскости их контакта.

[24]

Настоящая полезная модель, может быть использована в машиностроении, нефтедобывающей и газодобывающей промышленности в насосах, турбинах и других видах машин, где требуется обеспечить герметичность между вращающимся валом и неподвижными элементами, например корпусом насоса или турбины.

Как компенсировать расходы
на инновационную разработку
Похожие патенты