патент
№ RU 43000
МПК B63H1/22

ТРАНСПОРТНОЕ СРЕДСТВО ТИПА АМФИБИИ

Авторы:
Седов И.В.
Номер заявки
2004116529/22
Дата подачи заявки
03.06.2004
Опубликовано
27.12.2004
Страна
RU
Как управлять
интеллектуальной собственностью
Чертежи 
3
Реферат

1. Транспортное средство типа амфибии, содержащее корпус, включающий носовую, торцевую части, борта и дно корпуса, под которым помещены пневмобаллоны и гибкое защитное амортизирующее днище в виде обшивки, состоящей из ряда полос, выполненных из материала с повышенными характеристиками на стирающуюся способность и уложенных с нахлестом друг на друга, привальный брус, моторную установку и управляющий элемент, отличающееся тем, что носовая часть корпуса выполнена удлиненной, а перед носовой частью корпуса в фронтальной плоскости выполнен обтекаемым и расширенным влево и вправо и уплощен снизу, каждая из полос обшивки имеет протяженность в поперечном сечении корпусаl=d+2h,где l- протяженность полосы обшивки;d- ширина дна корпуса;h- высота борта ≥ расстояния от дна корпуса до привального бруса.2. Транспортное средство типа амфибии по п.1, отличающееся тем, что протяженность носовой части корпуса подчинена соотношениюl≥/l,где l- длина носовой части корпуса;l- длина корпуса.3. Транспортное средство типа амфибии по п.1 или 2, отличающееся тем, что крепление полос обшивки выполнено в виде тросовой шнуровки на борту с внешней стороны амфибии по периметру.4. Транспортное средство типа амфибии по пп.1 и 2, отличающееся тем, что, при наличии и расположении на бортах привального бруса, крепление в виде тросовой шнуровки осуществлено на нем и выполнено посредством люверсов.

Формула изобретения

1. Транспортное средство типа амфибии, содержащее корпус, включающий носовую, торцевую части, борта и дно корпуса, под которым помещены пневмобаллоны и гибкое защитное амортизирующее днище в виде обшивки, состоящей из ряда полос, выполненных из материала с повышенными характеристиками на стирающуюся способность и уложенных с нахлестом друг на друга, привальный брус, моторную установку и управляющий элемент, отличающееся тем, что носовая часть корпуса выполнена удлиненной, а перед носовой частью корпуса в фронтальной плоскости выполнен обтекаемым и расширенным влево и вправо и уплощен снизу, каждая из полос обшивки имеет протяженность в поперечном сечении корпуса

lпол=dш+2hб,

где lпол - протяженность полосы обшивки;

dш - ширина дна корпуса;

hб - высота борта ≥ расстояния от дна корпуса до привального бруса.

2. Транспортное средство типа амфибии по п.1, отличающееся тем, что протяженность носовой части корпуса подчинена соотношению

lн1/2lк,

где lн - длина носовой части корпуса;

lк - длина корпуса.

3. Транспортное средство типа амфибии по п.1 или 2, отличающееся тем, что крепление полос обшивки выполнено в виде тросовой шнуровки на борту с внешней стороны амфибии по периметру.

4. Транспортное средство типа амфибии по пп.1 и 2, отличающееся тем, что, при наличии и расположении на бортах привального бруса, крепление в виде тросовой шнуровки осуществлено на нем и выполнено посредством люверсов.

Описание

[1]

Полезная модель относится к области судостроения, а именно к конструкциям транспортных средств по типу амфибий и предназначена для осуществления перемещения по воде, льду, снегу, сильно наклоненным откосам, возвышенностям и берегам. Может быть использована в службе спасения людей при наводнениях, а также охотниками, геологами и другими группами специалистов для доставки грузов и людей в труднодоступные места.

[2]

Известны транспортные средства - вездеходы, аэросани, амфибии (патенты RU №2033339, 2037432, 2048993, 2086461, 2089404, 2106280, 2150393, 2171749) [1].

[3]

Наиболее близким аналогом из них к заявляемому транспортному средству является амфибия (патент RU №2106280, 1998 г.[2], материал публикации в журнале ″Катера и яхты″ №3 (169) 1999 г, http://www.katera.ru/magazines/169/раgе03.html [3], а также http:7/zavrin.chat.ru/right2.htm) [4]). Она имеет днище корпуса, содержащее неподвижную часть, амортизирующую подвижную часть в виде пластины, закрепленной своим передним поперечным краем на неподвижной части днища и эластичные пневмобаллоны, размещенные между неподвижной и подвижной частями днища корпуса. Пневмобаллоны и подвижная часть днища установлены по всей поверхности неподвижной части днища. При этом подвижная часть днища выполнена гибкой, упругой, из материала со свойствами несмачиваемости и закреплена на неподвижной части продольными краями посредством гибкого соединительного элемента с образованием на продольных краях упругого изгиба. Подвижная часть днища образована набором пластин, имеющих размах, соответствующий ширине днищевой поверхности и установленных внахлест относительно друг друга по всей

[4]

длине днища. Гибкий соединительный элемент выполнен в виде эластичной ленты, продольно изогнутой и жестко, с натягом, закреплен своими краями на неподвижной части днища. Подвижная часть закреплена на изогнутой поверхности эластичной ленты. Один из краев ленты закреплен с возможностью переналадки на боковой поверхности неподвижной части днища, образуя сопряжение последней с подвижной частью. Данная амфибия имеет кормовую, носовую и бортовые части судна. В кормовой части расположены аэродинамические рули, моторама, двигатель на ней. Винтомоторная установка по ширине вписывается в общие габариты амфибии. Архитектура ограждения винтомоторной установки увязана с кормовой нишей. Амфибия [3] отличается от [4] тем, что вместо двух высоких рулей в последующей конструкции авторы установили три укороченных, не меняя их общую площадь. На судне установлен четырехлопастной винт. На специальных анкерных гайках смонтирована окантовка лобового стекла. Винтомоторная установка выполнена как единый сборочный узел из металлических тонкостенных труб прямоугольного сечения. В центре этого каркаса находится моторная рама, на которой на амортизированных сайлентблоках подвешен двигатель ″Буран-авиа″. Над двигателем смонтирован пятиручьевой клиноременный редуктор, на валу которого закреплен воздушный винт. Этот, по информации из публикации готовый узел, заимствован от мотодельтаплана ″Фрегат″. Винтомоторный агрегат выполнен съемным. Две продольные соединительные штанги служат опорным элементом крепления тента. Сиденья снабжены ремнями безопасности.

[5]

Однако, носовая часть данного транспортного средства (амфибии) достаточна коротка, что приводит к эффекту заныривания при сходе с толстого льда и при высокой волне. К тому же носовая часть имеет крутой подъем днища, что затрудняет выезд на лед и ухудшает гидродинамику судна.

[6]

Задачей заявляемой полезной модели является повышение мобильности и надежности транспортного средства.

[7]

Сущность заявляемой полезной модели заключается в том, что в транспортном средстве типа амфибии, содержащем корпус, включающий носовую и торцевую части, борта и дно корпуса, под которым помещены пневмобаллоны и гибкое защитное амортизирующее днище в виде обшивки, состоящей из ряда полос, выполненных из материала с повышенными характеристиками на стирающуюся способность и уложенных с нахлестом друг на друга, привальный брус, моторную установку и управляющий элемент, носовая часть корпуса выполнена удлиненной, а перед носовой

[8]

части корпуса в фронтальной плоскости выполнен обтекаемым и расширенным влево и вправо и уплощен снизу, каждая из полос обшивки имеет протяженность в поперечном сечении корпуса

[9]

lпол.=dш.+2hб.,

[10]

где lпол. - протяженность полосы обшивки,

[11]

dш. - ширина дна корпуса,

[12]

hб. - высота борта ≥ расстояния от дна корпуса до привального бруса.

[13]

Кроме того, протяженность носовой части корпуса подчинена соотношению:

[14]

lн≥½jk;

[15]

где lн.- длина носовой части корпуса, lк. - длина корпуса.

[16]

Заявляется также вариант полезной модели с креплением полос обшивки, выполненным в виде тросовой шнуровки на борту с внешней стороны амфибии по периметру.

[17]

Кроме того, при наличии и расположении на бортах привального бруса, крепление в виде тросовой шнуровки осуществлено на нем и выполнено посредством люверсов.

[18]

Технический результат заключается в достижении поставленной задачи -повышение мобильности, надежности судна за счет улучшения обтекаемости переда судна, изменения пропорции корпуса и упрочнения его бортов, а не только днища. Это делает его всесезонным и пригодным к эксплуатации в разных климатических условиях и географических зонах.

[19]

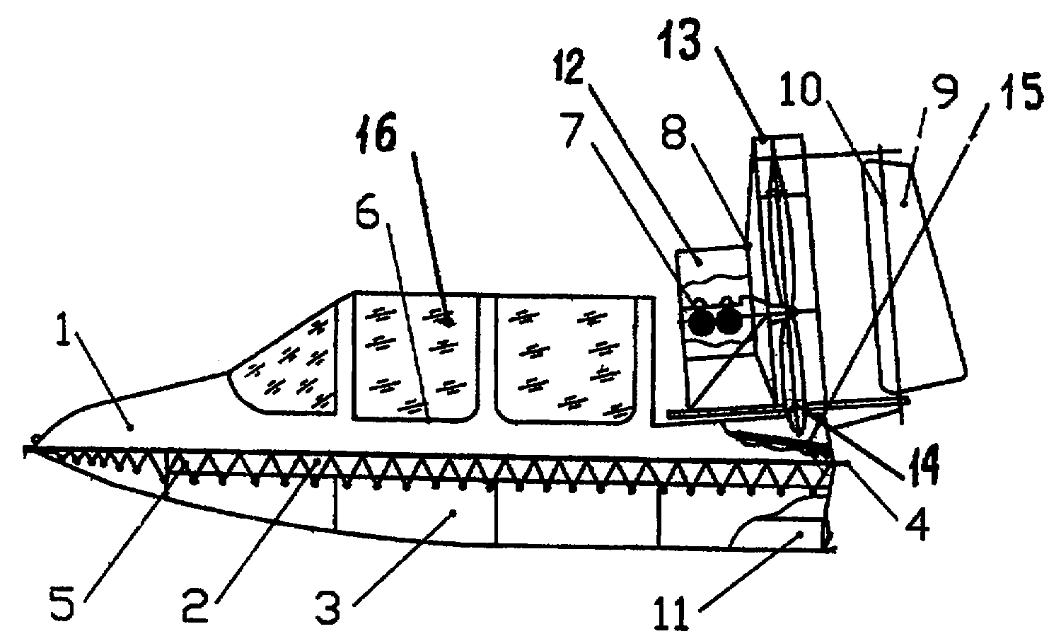
Полезная модель описана подробно с помощью фиг.1, на которой позициями обозначены: корпус 1, борт 2, днище 3, привальный брус 4, крепление днища 5, палуба 6, двигатель 7, моторама 8, аэродинамические рули 9, вертикальный участок 10 моторамы 8, пневмобаллоны 11, капот двигателя 12, защитное кольцо 13, воздушный винт 14, кормовая ниша 15, защитное ограждение из оргстекла 16.

[20]

На фиг.2 представлено фото экспериментального образца заявляемого устройства - вид спереди.

[21]

На фиг.3 - фото - соответственно вид сверху.

[22]

Пример.

[23]

На одном из предприятий г.Саратова прошла апробацию конструкция заявленной полезной модели и подтвердила высокую ее эффективность. Заявляемое транспортное средство является всесезонным, предназначенным для передвижения по воде, снегу, льду, болоту, камышам, отмелям и перекатам. Конструктивно выполнена в

[24]

виде корпуса с пневмобаллонами, моторной установкой, элементом управления и адаптивным амортизирующим днищем, воспринимающим внешние нагрузки. Использование обшивки днища, охватывающей не только днище, но и борт корпуса значительно выше общепринятых норм, не ограничиваясь непосредственно дном корпуса, а распространяя ее (обшивку) и на борта корпуса, подчиняясь значению 1полосы≥dКорпуса+2hборта позволяет значительно повысить надежность, прочность, ресурс амфибии. Расположение обшивки с гарантированным зазором относительно бортов корпуса образуется за счет выступания крайних баллонов за габариты дна корпуса с одной стороны и места крепления верха листов, из которых состоит обшивка, с другой стороны. Крепление листов гибкой обшивки осуществлено шарнирно, посредством тросовой шнуровки и крепления обшивки на борту жесткого корпуса или на привальном брусе, если он имеется в конкретных конструкциях. Это позволяет листам обшивки деформироваться и немного перемещаться друг относительно друга во всех направлениях при наезде на препятствие. Крепление на шнуровке позволяет фиксировать защитную обшивку борта и убрать крепежные элементы гибкого днища из зоны ударов и износа, что ощутимо защищает транспортное средство и продлевает срок его жизни.

[25]

Измененные пропорции общепринятых традиционных амфибий, с удлинением носовой части до половины длины корпуса и более, делает судно устойчивым и повышает его мобильность при прохождении по скосам, в частности. Корпус становится как бы короткой и широкой лыжей. Этому же принципу соответствует и изменение размеров переда носовой части (см. фото 2) с высоко выраженной его обтекаемостью и расширением влево и вправо. Такая форма переда носа и низа носовой части судна при наличии достаточной мощности двигателя позволяет проходить камыши, кустарники без особых проблем. Судно валит своей передней частью по ходу движения растительность, включая и кустарник, и делает его высоко проходимым.

Как компенсировать расходы
на инновационную разработку
Похожие патенты