патент
№ RU 42563
МПК E04H6/12

ПОДЪЕМНИК АВТОМОБИЛЬНЫЙ

Авторы:
Порхунов Александр Иванович (UA)
Номер заявки
2004120169/22
Дата подачи заявки
06.07.2004
Опубликовано
10.12.2004
Страна
RU
Как управлять
интеллектуальной собственностью
Чертежи 
8
Реферат

[1]

Подъемник автомобильный относится к автосервисному оборудованию. Цель полезной модели - повышение надежности подъемника и улучшение условий труда на рабочем месте. Подъемник содержит две нерегулируемые по ширине рампы с пневмосистемой подъема рамп и самоустанавливающимися замками безопасности на каждой рампе, снабженные "встроенными" ножничными подъемниками с пневмоагрегатами и самоустанавливающимися замками безопасности на каждом подъемнике, поворотными трапами для въезда и выезда автомобиля и автоматически открывающимся упором для задних колес. Новым в автомобильном подъемнике является введение торсиона -жесткой связи между рампами, резервуара-отстойника для сливаемого из картера автомобиля отработанного масла, сливного бачка для слива отстоявшегося отработанного масла и тросовой системы разблокирования замков безопасности "встроенных" ножничных подъемников и рамп.

Формула изобретения

1. Автомобильный подъемник, содержащий две нерегулируемые по ширине наклонные рампы, снабженные поворотными трапами для въезда и выезда автомобиля, а одна из них - автоматически открывающимся упором для предотвращения самопроизвольного съезда автомобиля с подъемника, приводимые в горизонтальное положение вращением вокруг общей горизонтальной оси с помощью двух вертикальных пневмоцилиндров и удерживаемые в этом положении поворотными самоустанавливающимися замками безопасности, выполненными в виде вертикальных откидных стоек, подпружиненных в плоскости поворота, примыкаемый к рампам помост с горизонтальным настилом, выполненном в том же уровне, что и настил рамп в их горизонтальном положении, два "встроенных" ножничних подъемника, оборудованных замками безопасности, для вывешивания колес автомобиля, траверсы которых содержат поворотные в горизонтальной плоскости штанги под переднюю и заднюю оси автомобиля, на которых смонтированы оснащенные резиновыми подушками подхваты с возможностью возвратно-поступательного перемещения вдоль штанг, систему подъема ножничных подъемников, включающую горизонтально расположенные на левой рампе пневмоцилиндры по числу ножничных подъемников и соответственно приводные канатные механизмы, воздушный компрессор с осушителем воздуха, систему воздуховодов, запорно-регулирующую арматуру, станцию управления пневмоприводом, электросветильники и элементы их крепления и включения, отличающийся тем, что рампы соединены между собою жесткой связью в виде торсиона кольцевого сечения, на подъемнике смонтированы отстойник для слива и отстаивания отработанного масла из картера автомобиля и сливной бачок для слива отстоявшегося масла, а замки безопасности "вмонтированных" ножничных подъемников и рамп оборудованы системой разблокирования, состоящей из приводного механизма и тросовых тяг.

2. Автомобильный подъемник по п.1, отличающийся тем, что торсион закреплен на рампах съемно.

3. Автомобильный подъемник по п.1, отличающийся тем, что каждый замок безопасности ножничного подъемника, оборудованный храповиком и стопором, дополнительно имеет ворот, предназначенный для разъединения храповика и стопора во время опускания ножничного подъемника.

4. Автомобильный подъемник по п.1, отличающийся тем, что отстойник выполнен с возможностью возвратно-поступательного движения вдоль рамп.

5. Автомобильный подъемник по п.1, отличающийся тем, что отстойник оборудован сливным отверстием, которое прикрывается подпружиненным шаровым клапаном.

6. Автомобильный подъемник по п.5, отличающийся тем, что шаровой клапан отстойника подпружинен фасонной пружиной.

7. Автомобильный подъемник по п.6, отличающийся тем, что фасонная пружина выполнена конической.

8. Автомобильный подъемник по любому из пп.1-7, отличающийся тем, что над сливным отверстием отстойника смонтирована переливная труба, которая оборудована отверстиями, расположенными на некотором расстоянии от днища отстойника и предназначенными для слива отстоявшегося масла.

9. Автомобильный подъемник по п.1, отличающийся тем, что сливной бачок установлен по уровню ниже, чем отстойник, и оборудован рукавом и толкателем, предназначенным для открывания клапана отстойника при их взаимодействии.

10. Автомобильный подъемник по п.9, отличающийся тем, что толкатель выполнен регулируемым по высоте и оснащен сферической головкой.

11. Автомобильный подъемник по п.3, отличающийся тем, что ворот смонтирован на неподвижном двуплечем кронштейне и оборудован тремя рычагами, к одному из которых прикладывается усилие от приводного механизма, передаваемое тросовой тягой, второй рычаг, взаимодействующий при повороте ворота с храповиком, предназначен для разъединения храповика и стопора, третий - служит ограничителем поворота ворота.

12. Автомобильный подъемник по п.11, отличающийся тем, что для передачи приводного усилия от тросовой тяги к вороту на первом рычаге смонтирована ось, на которой, с возможностью вращения вокруг оси, установлена подпружиненная с двух сторон в направления приводного усилия планка, причем со стороны тросовой тяги пружина имеет большую жесткость и присоединена к ней через промежуточную планку, которая кинематически связана с тросовой тягой замков безопасности рамп.

Описание

[1]

Полезная модель относится к автосервисному оборудованию, а точнее, к автомобильным подъемникам, которые используются на станциях технического обслуживания и в гаражных мастерских во время ремонта и технического обслуживания легковых автомобилей и автобусов малого класса массой до двух тонн.

[2]

Известен гидравлический одноплунжерный подъемник [1], который состоит из размещаемого в колодце корпуса, с направляющим цилиндром которого взаимодействует тесно связанный с балками платформы уплотнительный плунжер, гидропривода для подъема и опускания платформы подъемника, включающего расходный бак для масла, насос, реверсивный привод насоса, гидросистему и элементы гидроарматуры, предназначенные для автоматического перекрытия нагнетательного трубопровода цилиндра в момент прекращения работы цилиндра, регулирования скорости опускания плунжера, перекачки масла из цилиндра в масляный бак в момент прекращения подъема плунжера, перемещающихся по балкам платформы подхватов под переднюю и заднюю оси автомобиля, откидывающихся стоек, прикрепленных к платформе для предотвращения самопроизвольного опускания платформы вместе с автомобилем. Отличительной особенностью подъемника является то, что плунжер подъемника в поднятом положении находится под давлением масла, поэтому платформа вместе с автомобилем может быть легко повернута вокруг своей вертикальной оси.

[3]

Недостатками подъемника являются:

[4]

1) низкая производительность ремонтных работ вследствие очевидного ограничения числа рабочих мест (одно или - в некоторых случаях - два рабочих места только при следующей организации последовательности выполнения ремонтных работ: последовательной или параллельно -последовательной);

[5]

2) вероятность повреждения плунжера вследствие перекоса подъемника, вызванного несовпадением вертикальной оси, проходящей через центр тяжести автомобиля, с вертикальной осью плунжера.

[6]

Из-за указанных недостатков упомянутый подъемник не нашел широкого применения на практике.

[7]

Среди подъемников для подъема автомобилей достаточно эффективным является подъемник [2], конструкция которого содержит четыре опорные стойки с установленными в них грузоподъемными винтами, подъемную платформу и аппаратный шкаф с электропусковой аппаратурой, платформа которого состоит из двух продольных балок и двух поперечин и с помощью грузонесущих гаек подвешена на грузоподъемных винтах, каждый винт приводится во вращение от электродвигателя через одноступенчатый редуктор и резиновую муфту, поперечины снабжены парой гидравлических домкратов для вывешивания колес автомобиля, продольные балки имеют наклонные трапы для въезда и выезда автомобиля и автоматически открывающиеся упоры для предохранения автомобиля от самопроизвольного съезда с подъемника, концы платформы подъемника опираются на гайки грузоподъемных винтов через сферические шайбы (для исключения передачи на винт другой нагрузки, кроме осевой), для горизонтирования платформы в крайнем верхнем положении предусмотрены концевые выключатели по числу опорных стоек, для экстренной остановки подъемник оборудован кнопкой отключения электродвигателей.

[8]

Недостатками подъемника являются:

[9]

1) низкая производительность ремонтных работ, вызванная, как в предыдущем случае, ограничением числа рабочих мест;

[10]

2) необходимость в сезонной замене масла в гидродомкратах и винтовых парах;

[11]

3) износ гаек.

[12]

В настоящее время в Украине Черкасским заводом "Элеваторсбыт" изготавливается следующее автосервисное оборудование [3]:

[13]

1) двухстоечный подъемник типа "Атлант" для подъема легковых автомобилей и автобусов малого класса при их техническом обслуживании и ремонте с характеристиками:

[14]

грузоподъемность, т4
высота подъема, м1,8
отребляемая мощность одного двигателя, кВт/(об/мин)1,5-2,2/1000
напряжение питания, В380
высота стойки, м2,6
масса, кг950

[15]

2) четырехстоечный подъемник типа "Титан" для подъема легковых автомобилей и автобусов малого класса при их техническом обслуживании и ремонте, включая выполнение проверки углов установки колес автомобиля с характеристиками:

[16]

грузоподъемность, т3
высота подъема, м1,7
потребляемая мощность, кВт4
напряжение питания, В380
масса, кг2100
габаритные размеры, мм5000×2000×1500

[17]

Подъемник "Атлант" состоит из двух опорных стоек с установленными в них грузоподъемными винтами, приводящимися во вращение вокруг вертикальной оси с помощью электродвигателей через цепную передачу. С винтами взаимодействуют две гайки (бронзовая и стальная), к которым жестко крепится каретка, снабженная двумя поворотными полыми лапами коробчатого сечения, внутри которых размещены выдвижные плиты с регулируемыми по высоте подхватами. Подъемник снабжен аппаратным шкафом с электропусковой аппаратурой. Недостатками подъемника являются:

[18]

1) низкая производительность ремонтных работ из-за ограниченного числа рабочих мест (возможна только следующая последовательность

[19]

выполнения ремонтных работ: последовательная или параллельно -последовательная);

[20]

2) износ подвижных элементов каретки вследствие их нагружения боковыми силами.

[21]

Подъемник "Титан" по своей конструкции напоминает подъемник "Атлант". Отличие заключается в том, что этот подъемник оборудован одним электродвигателем и цепным приводом на все четыре грузоподъемных винта, чем достигается синхронизация перемещения гаек на винтах и упрощается горизонтирование платформы, наклонные трапы для въезда автомобилей заменены "упорными" башмаками. Подъемник дополнительно оборудован площадкой для размещения лазерного устройства "развал-схождение", позволяющего производить одновременно комплексное измерение с регулированием большого количества параметров ходовой части автомобиля: схождение передних колес, развал передних колес, продольный наклон оси поворота передних колес, угол поворота передних колес.

[22]

Недостатками данного подъемника являются:

[23]

1) недостаточная производительность ремонтных работ из-за невозможности реализации принципа параллельной последовательности их проведения;

[24]

2) отсутствие дополнительных подъемников для вывешивания колес автомобиля, что ограничивает технологические возможности подъемника.

[25]

Аналогическую конструкцию с подъемником "Титан" имеют подъемники США [4]:

[26]

1) четырехстоечный Bend-Pak модели PP-12AL (развал-схождение с ножницами) грузоподъемностью 5,4 т с цепной системой подъема и замками безопасности на каждой стойке, оснащенный "встроенными" ножничными подъемниками грузоподъемностью 3,2 т с электрогидравлическим агрегатом, поворотными пластинами, пластинами для задних колес, автоматической системой контроля равномерности подъема, регулируемой по ширине рампой, которая может быть выполнена со сквозным проездом;

[27]

2) четырехстоечный Bend-Pak модели BP-12ALX (развал-схождение с ножницами удлиненный) грузоподъемностью 5,4 т;

[28]

3) четырехстоечный Bend-Pak модели BP-12LS (развал-схождение) грузоподъемностью 5,4 т, отличающийся от предыдущих моделей отсутствием ножничного подъемника;

[29]

4) четырехстоечный Bend-Pak модели BP-12LSX (развал-схождение удлиненный) грузоподъемностью 5,4 т.

[30]

Недостатком всех вышеперечисленных подъемников является низкая производительность ремонтных работ из-за невозможности реализации принципа параллельной последовательности их выполнения.

[31]

Наиболее близким по технической сущности и достигаемому эффекту является подъемник [5] (прототип), который имеет две нерегулируемые по ширине наклонные рампы, снабженные поворотными трапами для въезда и выезда автомобиля, а одна из них - автоматически открывающимся упором для предотвращения от самопроизвольного съезда автомобиля с подъемника, приводимые в горизонтальное положение путем вращения вокруг общей горизонтальной оси с помощью двух вертикальных пневмоцилиндров и удерживаемые в этом положении поворотными самоустанавливающимися замками безопасности, выполненными в виде вертикальных откидных стоек, подпружиненных в плоскости поворота, примыкаемый к рампам помост с горизонтальным настилом, выполненном в том же уровне, что и настил рамп в их поднятом положении, два "встроенных" ножничных подъемника, оборудованных замками безопасности, для вывешивания колес автомобиля, траверсы которых содержат поворотные в горизонтальной плоскости штанги под переднюю и заднюю оси автомобиля, на которых смонтированы оснащенные резиновыми подушками подхваты с возможностью возвратно-поступательного перемещения относительно штанг, систему подъема ножничных подъемников, включающую горизонтально расположенные на левой рампе пневмоцилиндры по числу ножничных подъемников и соответственно канатные механизмы, воздушный компрессор с осушителем

[32]

воздуха, систему воздуховодов и запорнорегулирующую арматуру, станцию управления пневмоприводом, электросветильники и элементы их крепления и включения. Замки безопасности рамп ножничных подъемников позволяют избегать их опускания в случае утечек воздуха из рабочих полостей пневмоцилиндров и пневмомагистралей.

[33]

Подъемник позволяет реализовать принцип параллельной последовательности выполнения ремонтных работ, т.е. производить одновременно несколько операций (например, слив и замену отработанного масла, осмотр, регулировку и ремонт ходовой и моторной частей автомобиля и др.), что повышает производительность труда за счет обеспечения одновременного подхода к автомобилю сбоку, спереди, сзади (используются рампы) и снизу (используется приямок).

[34]

Недостатки подъемника заключаются в следующем:

[35]

1) рампы не связаны между собой поперечиной, которая обеспечивала бы жесткую связь между ними и предотвращала бы самопроизвольное опрокидывание автомобиля в случае поломки одного из вертикальных пневмоцилиндров или разгерметизации подводящей пневмомагистрали сжатого воздуха;

[36]

2) подъемник не оборудован отстойником и сливным бачком для отработанного масла, что приводит к неудобствам при сливе, в случае необходимости, отработанного масла из картера автомобиля;

[37]

3) подъемник не оборудован системой разблокирования замков безопасности, что создает определенные неудобства при эксплуатации подъемника, снижает производительность труда и повышает утомляемость обслуживающего персонала.

[38]

Целью полезной модели является устранение указанных недостатков. Указанная цель достигается тем, что в известном подъемнике рампы соединены между собой торсионом, служащим для восприятия и передачи внешней нагрузки с одной рампы на другую в случае внезапного выхода из строя одного из вертикальных пневмоцилиндров во время подъема рамп; для

[39]

удобства слива отработанного масла из картера автомобиля на подъемнике смонтированы отстойник с возможностью возвратно-поступательного перемещения вдоль рамп, снабженный подпружиненным шаровым клапаном диаметром 50 мм и сливной бачок, причем торсион смонтирован съемно с целью упрощения транспортирования и монтажа составных частей подъемника на месте эксплуатации; стойки замков безопасности рамп присоединены дополнительно к тросовым тягам; каждый замок безопасности ножничного подъемника, включающий храповик и стопор, дополнительно содержит ворот, смонтированный на неподвижном двухплечем кронштейне;

[40]

ворот оборудован тремя радиальными рычагами, к одному из которых передается усилие от тросовой тяги приводного механизма, второй рычаг, взаимодействующий с храповиком при повороте ворота, предназначен для разъединения храповика и стопора, третий - служит ограничителем поворота ворота; для передачи приводного усилия от тросовой тяги к вороту на первом рычаге смонтирована ось, на которой с возможностью вращения вокруг нее установлена планка, присоединенная к пружинным тягам в направлении передаваемого усилия, причем со стороны тросовой тяги пружинная тяга имеет большую жесткость и присоединена к ней через промежуточную планку, кинематически связанную с тросовой тягой замков безопасности рамп.

[41]

Сливной бачок установлен неподвижно и по уровню ниже отстойника и оборудован рукавом для слива отстоявшегося в отстойнике масла и толкателем, предназначенным для открывания клапана отстойника при взаимодействии толкателя и клапана.

[42]

Шаровой клапан отстойника, с целью уменьшения габаритных размеров затвора, подпружинен фасонной, в частности, конической пружиной.

[43]

Над сливным отверстием отстойника смонтирована переливная труба, снабженная отверстиями, расположенными на некотором расстоянии от днища отстойника и предназначенными для слива отстоявшегося масла.

[44]

Толкатель бачка выполнен по высоте регулируемым и снабжен сферической головкой.

[45]

Технических решений с подобными признаками не выявлено, поэтому можно сделать вывод о том, что техническое решение, которое предлагается, является новым. Оно также имеет промышленное применение (см. ниже).

[46]

Изложенная суть полезной модели, которая предлагается, поясняется чертежом.

[47]

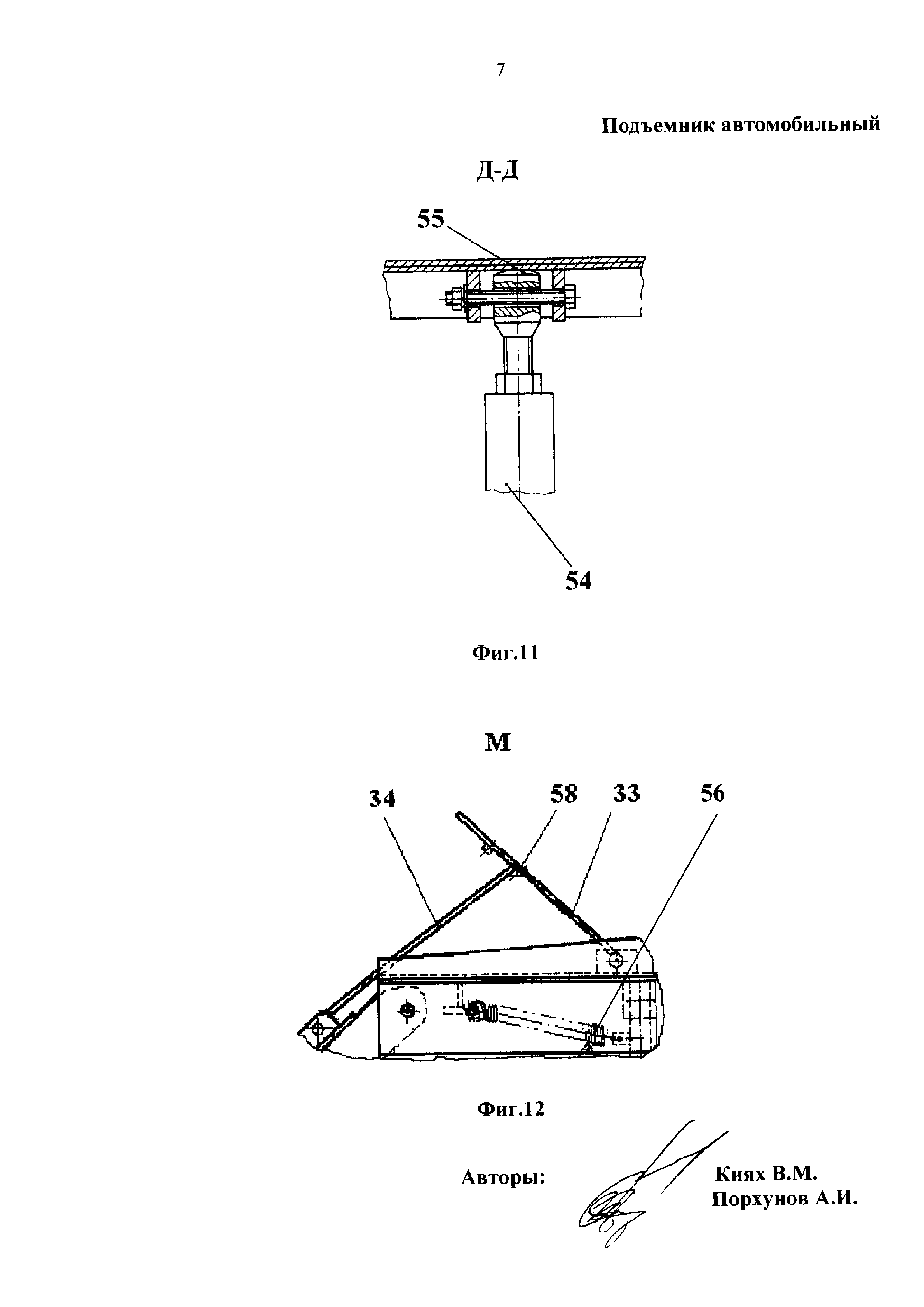
На фиг.1 изображен общий вид полезной модели (вид сверху на описываемый подъемник), на фиг.2 - продольный разрез по А-А на фиг.1, на фиг.3 - вид Г на фиг.2, на фиг.4 - вид Е на фиг.2 (вид на блок 21), на фиг.5 -разрез по Г-Г на фиг.4, на фиг.6 - разрез по Б-Б на фиг.1, на фиг.7 - вид Д на фиг.1 (вид на рампу 2), на фиг.8 - разрез по Е-Е на фиг.2, на фиг.9 - разрез по К-К на фиг.1, на фиг.10 - вид П на фиг.2 (вид на сливной бачок 50), на фиг.11 - разрез по Д-Д на фиг.2, на фиг.12 - вид М на фиг.2, на фиг.13 - вид Н на фиг.2, на фиг.14 - вид К на фиг.13.

[48]

Подъемник включает две нерегулируемые по ширине наклонные рампы 1 и 2, на которых закрепляются все другие элементы конструкции. Рампы соединены между собой жесткой связью - торсионом 3, выполненным в виде полого цилиндра, который может воспринимать и передавать внешнюю нагрузку с одной рампы на другую в случае внезапного выхода из строя одного из пневмоцилиндров или утечки сжатого воздуха из подводящей пневмомагистрали во время подъема рамп. С помощью двух вертикальных пневмоцилиндров 4 рампы могут переводиться в горизонтальное положение вращением вокруг соосных горизонтальных осей 5 и удерживаться в этом положении с помощью замков безопасности рамп, представляющих собой стойки 6 прямоугольного или квадратного сечения. В систему подъема рамп входят рычаги 7 и 8, которые к тому же обеспечивают поперечную устойчивость рамп. Рампы 1 и 2 состоят соответственно из силового каркаса 9 и 10 и включенных в силовой каркас настилов 11 и 12 с проемом 13, в котором утапливаются в сложенном состоянии элементы "встроенного"

[49]

ножничного подъемника 14. Рампы 1 и 2 - через оси 5 - связаны с помостом 15, снабженным горизонтальным настилом, выполненном в том же уровне, что и настил рамп в их поднятом положении. Для удобства помост оборудован ступенями 16 и полкой 17 для размещения рабочего инструмента и принадлежностей.

[50]

Подъем ножничных подъемников производится двумя одинаковыми горизонтально расположенными пневмоцилиндрами 18 с помощью приводных канатных механизмов 19 и 20. Канат механизма 19 перекинут через блоки 21. Пневмоцилиндры установлены так, что торцы штоков 22 пневмоцилиндров находятся в любой момент времени в одной плоскости, перпендикулярной к продольной оси подъемника. К торцам пневмоцилиндров присоединена с помощью болтов 23 общая планка 24, снабженная для жесткости ребрами 25. Предварительное натяжение канатов, а тем самым и регулирование одновременности срабатывания подъемников 14, производится затяжкой гаек 26. Траверсы 27 ножничных подъемников оснащены штангами 28 с возможностью их вращения вокруг вертикальных осей. Штанги снабжены подхватами 29 под переднюю и заднюю оси автомобиля, которые могут свободно перемещаться вдоль штанги. С целью исключения жесткого контакта осей автомобиля с подхватами последние оснащены резиновыми подушками 30. В поднятом состоянии каждый ножничный подъемник 14 удерживается замком безопасности - храповиком 31.

[51]

Рампы оборудованы поворотными трапами 32 и 32' для въезда и выезда автомобиля, а одна из рамп - автоматически открывающимся упором 33 для заднего колеса с целью предотвращения самопроизвольного съезда автомобиля с подъемника и фиксирующей пластины 34 для упора 33. Для управления подъемом рамп и "встроенных" ножничных подъемников используется станция управления, содержащая воздушный компрессор 35 (не показан) с осушителем воздуха 36 (не показан), систему трубопроводов 37 (не показано), обратный клапан 38 (не показан), редуктор давления 39 (не показан), пневмораспределитель 40 (не показан), манометр 41 (не показан),

[52]

станцию управления пневмосистемою 42 (не показана). Для работы в вечернее время подъемник оборудован съемными светильниками 43 и 43'.

[53]

Для слива отработанного масла из картера автомобиля и его отстаивания подъемник оборудован отстойником 44 в форме параллелепипеда. С помощью колес 45 отстойник может передвигаться в направляющих 46. В крайнем переднем положении он фиксируется от перемещения стопором 47 (не показан). В днище отстойника предусмотрен стальной сферический клапан 48 диаметром 50 мм, подпружиненный фасонной пружиной 49. Для уменьшения габаритных размеров клапанного узла фасонная пружина выполнена конической. Слив отстоявшегося масла из отстойника осуществляется через сливной бачок 50, располагающийся по уровню ниже, чем отстойник. Бачок 50 оборудован сливным рукавом 51 и толкателем 52, регулируемым по высоте и имеющем на конце сферическую головку 53. Толкатель 52 при соответствующей регулировке на срабатывание автоматически открывает клапан 48 отстойника при взаимодействии с ним. Снабжение толкателя сферической головкой 53 позволяет облегчить процесс открытия клапана.

[54]

С целью облегчения монтажно-регулировочных работ при монтаже подъемника шток 54 вертикального пневмоцилиндра 4 выполнен регулируемым по длине и снабжен сферическим хвостовиком 55 для исключения передачи на шток другой нагрузки, кроме осевой.

[55]

Подъемник может быть оборудован площадкой для расположения лазерного устройства "развал-схождение" для измерения и регулирования параметров ходовой части автомобиля.

[56]

Подъемник работает следующим образом.

[57]

После въезда автомобиля на подъемник с помощью пневмораспределителя 40 подается сжатый воздух в вертикальные пневмоцилиндры 4, которые переводят рампы подъемника вместе с автомобилем в горизонтальное положение, в этом положении стойки 6 замков безопасности рамп под действием пружин растяжения 56 вывешиваются в

[58]

вертикальное положение и блокируют опускание рамп подъемника путем замыкания на упоры 57. В положении, когда стойки б занимают вертикальное положение, пружины растяжения 56 находятся в исходном (сжатом) состоянии и не воздействуют на стойки.

[59]

По мере подъема рамп фиксирующая пластина 34 автоматически поворачивается вместе с трапом 32, заставляя поворачиваться упор 33 для заднего колеса, который фиксирует ее на защелку 58, расположенную на упоре 33. Для простоты в обслуживании пластина 34 и упор 33 установлены на одной стороне со станцией управления 42. Защелка 58 предотвращает опускание пластины 34 под собственным весом при опускании (повороте) рампы, а пластина 34, в свою очередь, мешает повороту упора 33, оставляя его в положении на защелку до особого вмешательства со стороны обслуживающего персонала.

[60]

В таком положении подъемника выполняют внешний осмотр автомобиля: двигателя, ходовой части, управления, слив и замену отработанного масла. По результатам осмотра принимают решение о вывешивании колес.

[61]

Слив отработанного масла производят в отстойник 44, для чего его с помощью ручек 59 перемещают по направляющим 46 в нужное положение и открывают створки 60 и 61. Отработанное масло из картера автомобиля через сливное отверстие в картере поступает в отстойник и, проходя через сетку 62, отстаивается в нем. Слив отстоявшегося масла через бачок 50 при открытом клапане отстойника осуществляется через переливную трубу 63, в которой на некотором расстоянии от днища отстойника выполнены отверстия. Таким образом, осадок в сливаемое масло не попадает. По мере необходимости, осадок из отстойника периодически удаляется. Отстоявшееся масло сливается через рукав 51 сливного бачка 50. Для этого отстойник 44 перемещают в сторону сливного бачка до тех пор, пока сферический клапан 48 отстойника не совпадет с головкой толкателя 53 сливного бачка. В этом

[62]

положении отстойника клапан 48 открывается и производится слив отстоявшегося масла.

[63]

Вывешивание колес автомобиля, при необходимости, выполняют с помощью "встроенных" ножничных подъемников 14. Для этого пневмораспределитель 40 переводят в положение подачи сжатого воздуха в горизонтальные пневмоцилиндры 18, которые с помощью канатных механизмов 19 и 20 переводят "встроенные" ножничные подъемники 14 в поднятое положение. В промежуточном положении ножничных подъемников подхваты 29, которые размещаются на штангах 28, перемещают вдоль штанг в нужное положение и вместе со штангами заводят под переднюю и заднюю оси автомобиля. В крайнем верхнем положении ножничные подъемники удерживаются замками безопасности - храповиками 31. В этом положении зуб храповика упирается в стопор 64, предотвращая опускание подъемника.

[64]

В таком положении подъемника проводят измерение и регулирование параметров ходовой части автомобиля: развал-схождение и развал передних колес, продольный наклон оси поворота передних колес автомобиля, угол поворота передних колес автомобиля.

[65]

По завершении работ ножничные подъемники 14 опускают. Для этого замки безопасности ножничных подъемников сначала разблокируют, действуя на них с помощью тросовых тяг 65 и 66. Например, усилие тяги 65, создаваемое с помощью ворота 67, к которому тяга прикрепляется одним концом, передается планке 68, к которой тяга прикрепляется другим концом, а от нее через пружину растяжения 69 - планке 70, расположенной на оси 71 одного из рычагов ворота 72. С противоположной стороны планка 70 прикрепляется к пружине растяжения 73. Следует отметить, что жесткость пружины 69 превышает жесткость пружины 73. Поэтому планка 70 сначала перемещается под действием приложенного усилия за счет растяжения пружины 73. При перемещении планки 70 в направления усилия, прикладываемого со стороны тяг 65 (или 66), ворот 72 поворачивается и воздействует рычагом 74 на зуб храповика 31, освобождая его от

[66]

взаимодействия со стопором 64. Дальнейший поворот ворота 72 ограничивается упором 75, который после соответствующего поворота упирается своим плечом в стенку кронштейна 76. В этом положении храповика 31 стравливается воздух из горизонтальных пневмоцилиндров 18 и под действием веса автомобиля и собственного веса ножничные подъемники 14 опускаются в исходное положение. Автомобиль при этом устанавливается на рампах на колеса.

[67]

Для того чтобы опустить рампы, проводят следующие операции.

[68]

С помощью вертикальных пневмоцилиндров 4 немного поднимают рампы, чтобы исключить контакт замков безопасности рамп с их опорной поверхностью 57, после чего с помощью тросовых тяг 77 и 78 разблокируют работу пневмоцилиндров 4, поворачивая стойки 6 вокруг горизонтальных осей 79 по направлению действия тяговых усилий тросов. Тяговые усилия, которые прикладываются к стойкам 6, создаются приводным механизмом 67. При этом планка 70 остается на месте, а пружины 69, а потом и 56 растягиваются под действием приложенного к тяге усилия. С помощью станции управления стравливают сжатый воздух из вертикальных пневмоцилиндров 4, при этом рампы опускаются, стойки 6 скользят своими концами по направляющим 80, расположенным в приямках 81, еще больше растягивая пружины 56. В это же время приводной механизм 67 возвращают в начальное положение.

[69]

По возвращении рамп в свое исходное состояние производится съезд автомобиля с подъемника. Перед съездом автомобиля пластину 34 снимают с защелки 58, после чего пластину 34 и упор 33 возвращают в исходное положение.

[70]

После въезда очередного автомобиля на рампы процесс повторяется в описанной выше последовательности.

[71]

Преимущества предложенного подъемника по сравнению с известными заключаются в следующем:

[72]

1) введение в состав подъемника торсиона в качестве жесткой связи между рампами 1 и 2 позволяет повысить надежность подъемника, так как при этом становится возможным предотвращение наклона или падения автомобиля с подъемника при внезапном выходе из строя одного из пневмоцилиндров или трубопровода подачи сжатого воздуха;

[73]

2) введение в состав подъемника подвижного отстойника 44 для отработанного масла и сливного бачка 50 позволяет по сравнению с известным подъемником ускорить и упростить работу по сливу отработанного масла из картера автомобиля, а также облегчить условия труда на рабочем месте. Кроме того, слитое из картера автомобиля масло отстаивается в отстойнике 44 и с помощью бачка 50 в дальнейшем сливается только осветленное масло (с целью дальнейшей утилизации);

[74]

3) оснащение автомобильного подъемника системой разблокирования замков безопасности "встроенных" ножничных подъемников и рамп дает возможность выполнить работы по опусканию рамп подъемника и "встроенных" ножничных подъемников одним оператором в отличие от известного подъемника, где разблокирование замков безопасности приходится выполнять вручную и вдвоем (поднимать, с одной стороны, храповики 31 и блокировать их опускание под собственным весом каким-то вспомогательным рычагом, а с другой, - освобождать стойки 6 от замыкания с опорной поверхностью 57).

[75]

Испытания показали надежность действия подъемника и возможность проведения ремонта и обслуживания автомобилей и автобусов малого класса с достаточной степенью удобства. По сравнению с известным подъемником повысилась производительность труда на 5%.

[76]

Намечен серийный выпуск автомобильных подъемников.

[77]

Литература

[78]

1. Афанасьев Л.Л. и др. Гаражи и станции технического обслуживания автомобилей: (Альбом черт.).- 3-е изд., перераб. и доп. - М.: Транспорт, 1980. - 216 с.

[79]

2. Березкин В.Н., Краснов К.А. Оборудование для гаражей и станций обслуживания автомобилей. - Изд. 2-е изд., перераб. и доп. - М.: Транспорт, 1964. - 463с.

[80]

3. Сведения об автосервисном оборудовании, выпускаемом предприятием "Элеваторсбыт", г. Черкассы (факс от 15 сентября 2003 г.) - копия факса прилагается.

[81]

4. Сайт Iнтернета http://www. ukrsov. kiev. ua.

[82]

5. Der Wagenaufzug Pervte tip 05, Tragfahigkeit 2 to. Die Technische Lieferbedingungen. -BRD, Rheine, M.-F., Sanbkampstr., 90.

Как компенсировать расходы
на инновационную разработку
Похожие патенты