патент
№ RU 41086
МПК F02C7/06

СИСТЕМА НАДДУВА ОПОР РОТОРА ГАЗОТУРБИННОГО ДВИГАТЕЛЯ

Авторы:
Махаринский Е.А.
Номер заявки
2004119290/22
Дата подачи заявки
30.06.2004
Опубликовано
10.10.2004
Страна
RU
Как управлять
интеллектуальной собственностью
Чертежи 
1
Реферат

Полезная модель относится к опорам ротора газотурбинного двигателя, в частности, к системе наддува опор ротора, и может быть использована в авиадвигателестроении, машиностроении и других областях техники. В системе наддува опор ротора газотурбинного двигателя, содержащей магистрали отбора воздуха, подсоединенные ко входу переключателя наддува, выход которого сообщен с полостью наддува задней опоры ротора компрессора низкого давления, при этом полость наддува задней опоры ротора компрессора низкого давления сообщена с полостями наддува опор ротора двигателя через отверстия, выполненные в цапфе компрессора низкого давления, согласно полезной модели, между опорами расположена полая шлицевая труба, закрепленная на цапфах компрессора низкого давления, а полость наддува задней опоры ротора компрессора низкого давления сообщена с полостью наддува передней опоры ротора компрессора низкого давления при помощи выполненных в шлицевой трубе отверстий, сообщенных с отверстиями цапф ротора компрессора низкого давления. Полезная модель повышает надежность работы газотурбинного двигателя путем повышения надежности системы наддува. 1 з.п.ф.

Формула изобретения

1. Система наддува опор ротора газотурбинного двигателя, содержащая магистрали отбора воздуха, подсоединенные ко входу переключателя наддува, выход которого сообщен с полостью наддува задней опоры ротора компрессора низкого давления, при этом полость наддува задней опоры ротора компрессора низкого давления сообщена с полостями наддува опор ротора двигателя через отверстия, выполненные в цапфе компрессора низкого давления, отличающаяся тем, что между опорами расположена полая шлицевая труба, закрепленная на цапфах компрессора низкого давления с возможностью обеспечения герметичности соединения, а полость наддува задней опоры ротора компрессора низкого давления сообщена с полостью наддува передней опоры ротора компрессора низкого давления при помощи выполненных в шлицевой трубе отверстий, сообщенных с отверстиями цапф ротора компрессора низкого давления.

2. Система наддува опор ротора газотурбинного двигателя по п.1, отличающаяся тем, что полая шлицевая труба закреплена на цапфах компрессора низкого давления с возможностью обеспечения герметичности соединения.

Описание

[1]

Полезная модель относится к опорам ротора газотурбинного двигателя, в частности, к системе наддува опор ротора, и может быть использована в авиадвигателестроении, машиностроении и других областях техники.

[2]

Известна система наддува опор ротора газотурбинного двигателя (ГТД), содержащая единый для всей системы наддува опор двигателя питающий воздуховод, сообщенный с полостью наддува задней опоры компрессора низкого давления и снабженный воздухозаборником с клапаном переключения, при этом полость наддува задней опоры компрессора низкого давления сообщена с полостью наддува передней опоры компрессора низкого давления через отверстия в цапфах компрессора низкого давления, дроссельный пакет и воздуховод, расположенный между опорами компрессора низкого давления (см. патент РФ №2153590, Кл. F 02 C 7/06, опубл. 27.07.2000).

[3]

Недостаток известной системы наддува заключается в наличии дроссельного пакета. Установка дроссельного пакета в системе наддува уменьшает высокое давление газовоздушного тракта до давления наддува, необходимого для обеспечения давления в предмасляной полости. Однако, снижение давления в полости наддува дроссельным пакетом характеризуется повышением температуры проходящего через дроссельный пакет воздуха, который затем поступает в масляную полость через предмасляную полость. Поступление горячего воздуха в масляную полость увеличивает температуру масла в ней и, тем самым, ухудшает работу масляной системы и двигателя в целом.

[4]

Технический результат полезной модели - повышение надежности работы газотурбинного двигателя путем повышения надежности системы наддува.

[5]

Указанный технический результат достигается тем, что в системе наддува опор ротора газотурбинного двигателя, содержащей магистрали отбора воздуха, подсоединенные ко входу переключателя наддува, выход которого сообщен с полостью наддува задней опоры ротора компрессора низкого давления, при этом полость наддува задней опоры ротора компрессора низкого давления сообщена с полостями наддува опор ротора двигателя через отверстия, выполненные в цапфе компрессора низкого давления, согласно полезной модели, между опорами расположена полая шлицевая труба, закрепленная на цапфах компрессора низкого давления, а полость наддува задней опоры ротора компрессора низкого давления сообщена с полостью наддува передней опоры ротора компрессора низкого давления при помощи выполненных в шлицевой трубе отверстий, сообщенных с отверстиями цапф ротора компрессора низкого давления.

[6]

Полая шлицевая труба может быть закреплена на цапфах компрессора низкого давления с возможностью обеспечения герметичности соединения, что препятствует утечкам воздуха в проточную часть двигателя через места их сопряжения.

[7]

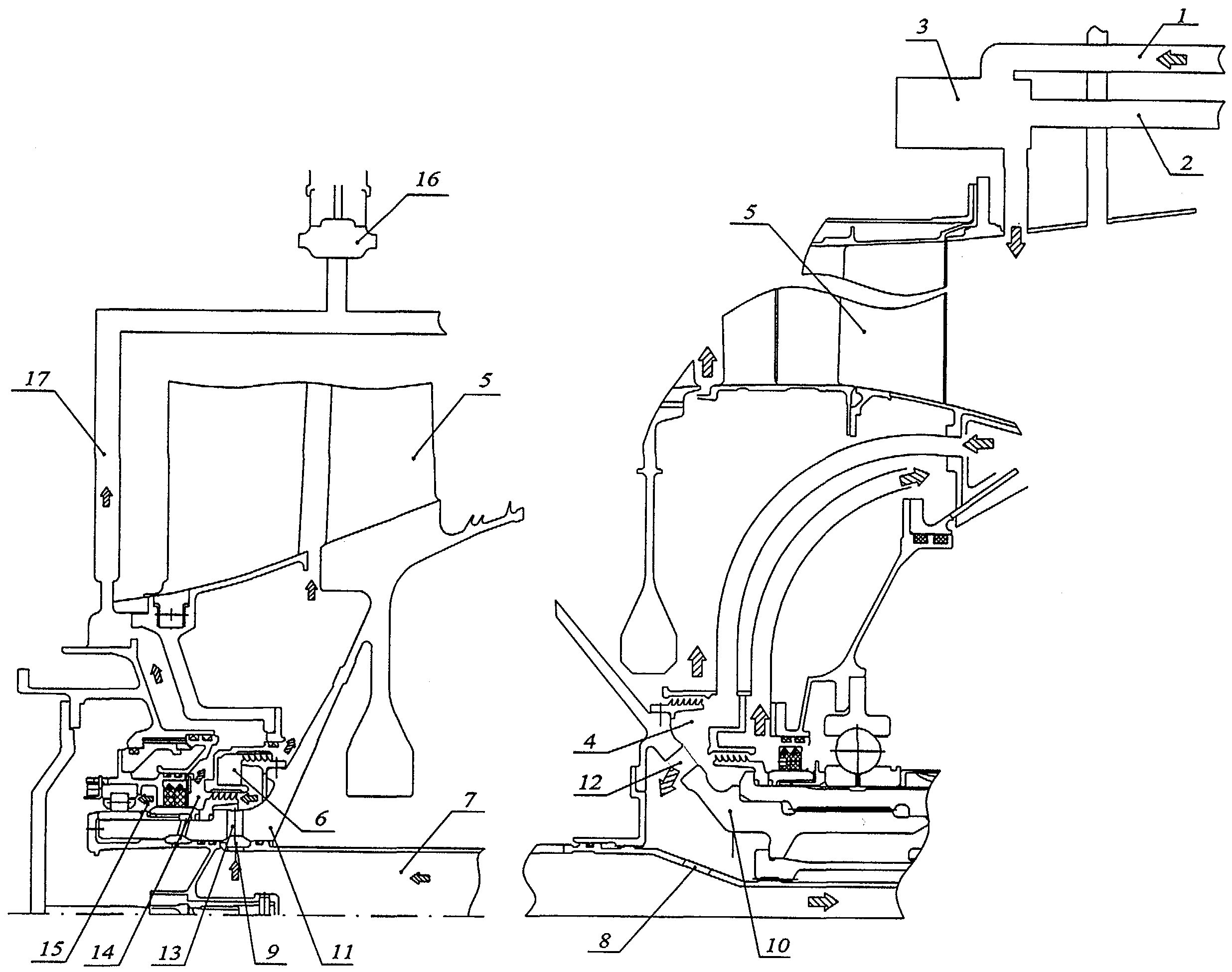
На чертеже схематично изображена система наддува опор ротора газотурбинного двигателя.

[8]

Система наддува опор ротора газотурбинного двигателя содержит магистрали 1, 2 отбора воздуха, подсоединенные ко входу переключателя 3 наддува, выход которого сообщен с полостью 4 наддува задней опоры ротора компрессора 5 низкого давления (КНД), полость 6 наддува передней опоры ротора компрессора 5 низкого давления, полую шлицевую трубу 7 с отверстиями 8,9, расположенную между опорами компрессора низкого давления и закрепленную на цапфах 10, 11 компрессора 5 низкого давления с возможностью обеспечения герметичности соединения при помощи уплотнений, размещенных между шлицевой трубой 7 и цапфами 10,11. Цапфа 10 выполнена с отверстиями 12, цапфа 11 - с отверстиями 13. Предмасляная полость 14 и масляная полость 15 передней опоры

[9]

компрессора 5 низкого давления. Клапан 16 суфлирования компрессора, сообщенный магистралью 17 с предмасляной полостью 14. Газотурбинный двигатель с предложенной системой наддува опор ротора газотурбинного двигателя работает следующим образом.

[10]

Отбор воздуха в систему наддува опор двигателя производится от компрессора высокого давления (КВД) (на чертеже не показан) по магистрали 1 или из кольцевого канала наружного контура (на чертеже не показан) по магистрали 2. Управление отбором воздуха производится переключателем 3 наддува автоматически: при перепаде между давлениями в наружном контуре и компрессоре высокого давления 0,5±0,05 кгс/см2 воздух в систему поступает от компрессора высокого давления, при больших перепадах - из кольцевого канала наружного контура. От переключателя 3 наддува воздух поступает в полость 4 наддува задней опоры КНД. Из полости 4 наддува воздух через отверстия 12 в цапфе 10 и через отверстие 8 поступает в полость шлицевой трубы 7. Из полости шлицевой трубы 7 часть воздуха через отверстия 9 и отверстия 13 в цапфе 11 поступает в полость 6 наддува передней опоры ротора КНД, а другая часть воздуха поступает в полости опор ротора КВД и турбины (на чертеже не показаны).

[11]

Из полости 6 наддува передней опоры ротора КНД воздух через уплотнения направляется в предмасляную полость 14 передней опоры. В предмасляной полости 14 передней опоры при помощи клапана 16 суфлирования компрессора поддерживается определенное избыточное давление по отношению к давлению в масляной полости 15.

[12]

Дополнительно препятствует перетеканию масла из масляной полости 15 наличие графитового контактного уплотнения 17 между масляной полостью 15 и предмасляной полостью 14 опоры.

Как компенсировать расходы
на инновационную разработку
Похожие патенты