патент
№ RU 38667
МПК B24D3/00

ШЛИЦЕВАЯ ПРОШИВКА - ПРОТЯЖКА ДЛЯ УДАЛЕНИЯ ЗАУСЕНЦЕВ

Авторы:
Белугин Ю.Ф.
Номер заявки
2004106455/20
Дата подачи заявки
05.03.2004
Опубликовано
10.07.2004
Страна
RU
Как управлять
интеллектуальной собственностью
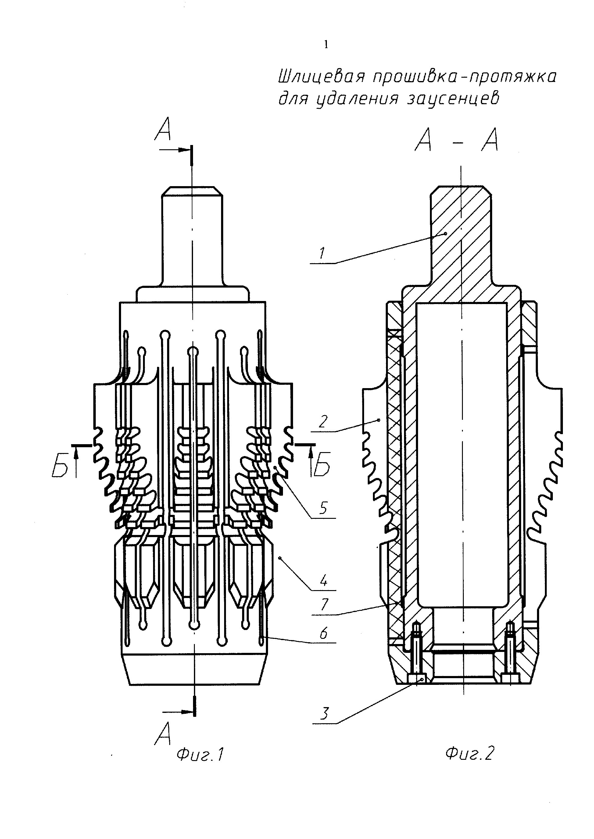
Чертежи 
3
Реферат

Шлицевая прошивка-протяжка для удаления заусенцев на профиле шлицевого отверстия, содержащая направляющую и выполненную с режущими боковыми кромками режущую части, имеющие, по крайней мере, по одному зубу с передним углом γ плоскости симметрии зуба, отличающаяся тем, что направляющая и режущая части выполнены с деформационными прорезями, заполненными плотной гибкой массой, угол наклона режущей боковой кромки больше переднего угла γ плоскости симметрии зуба, применяемого для данного материала, а передний угол γпо нормали к режущей боковой кромке выражается зависимостьюtgγ=tgγ·sinω,где γ– передний угол по нормали к режущей боковой кромке;γ – передний угол в плоскости симметрии зуба;ω – величина угла профиля.

Формула изобретения

Шлицевая прошивка-протяжка для удаления заусенцев на профиле шлицевого отверстия, содержащая направляющую и выполненную с режущими боковыми кромками режущую части, имеющие, по крайней мере, по одному зубу с передним углом γ плоскости симметрии зуба, отличающаяся тем, что направляющая и режущая части выполнены с деформационными прорезями, заполненными плотной гибкой массой, угол наклона режущей боковой кромки больше переднего угла γ плоскости симметрии зуба, применяемого для данного материала, а передний угол γ' по нормали к режущей боковой кромке выражается зависимостью

tgγ'=tgγ·sinω,

где γ' – передний угол по нормали к режущей боковой кромке;

γ – передний угол в плоскости симметрии зуба;

ω – величина угла профиля.

Описание

[1]

Полезная модель относится к машиностроению и может быть использована для удаления заусенцев на профиле шлицевого отверстия, образованных при прорезке кольцевых внутренних канавок после операции протягивания шлицевого отверстия или после снятия фасок с торца профиля шлицевого отверстия.

[2]

Известна шлицевая протяжка (а.с. №1547976, М кл. B 23 D 43/00, Бюл. №9, 07.03.1990), содержащая наклонные режущие зубья, предназначенные для прецизионной обработки боковых поверхностей шлицевых впадин.

[3]

Недостатком конструкции является то, что для обработки протяжкой требуется протяжной полуавтоматический станок, при этом протяжка должна быть с хвостовиками, что неоправданно удлиняет инструмент и увеличивает расходы на него, а для полного удаления заусенцев без изменения размеров окончательно обработанного шлицевого отверстия необходимо применять несколько протяжек, изготовленных с различной толщиной зуба в, пределах; поля допуска на толщину зуба детали.

[4]

Известны шлицевые прошивки (см. Справочник конструктора-инструментальщика. М., «Машиностроение», 456 с. с ил. стр.366, 1975), применяемые для калибровки и устранения различных деформаций

[5]

отверстия, содержащие шлицевую направляющую, режущую и калибрующие части, при этом направляющая и выполненная с режущими боковыми кромками режущие части имеют, по крайней мере, по одному зубу с передним углом у в плоскости симметрии зуба.

[6]

Недостатком известной конструкции является то, что для полного удаления заусенцев без изменения размеров окончательно обработанного шлицевого отверстия необходимо применять несколько прошивок изготовленных с различной толщиной зуба в пределах поля допуска на толщину зуба детали.

[7]

Решаемая задача: улучшение качества обработки шлицевых отверстий и обеспечение возможности их обработки одним инструментом без изменения размеров детали.

[8]

Данная задача решается тем, что в указанной шлицевой прошивке-протяжке для удаления заусенцев, содержащей направляющую и выполненную с режущими боковыми кромками режущую части, имеющие, по крайней мере, по одному зубу с передним углом γ в плоскости симметрии зуба, направляющая и режущая части выполнены с деформационными прорезями, заполненными плотной гибкой массой, угол наклона боковой кромки режущей части зуба больше переднего угла γ в плоскости симметрии зуба, применяемого для данного материала, а передний угол γ' по нормали к режущей боковой кромке выражается зависимостью:

[9]

tgγ'=tgγ·sinω,

[10]

где: γ' - передний угол по нормали к режущей боковой кромке;

[11]

γ - передний угол в плоскости симметрии зуба;

[12]

ω - величина угла профиля.

[13]

Отличительными признаками предлагаемой прошивки-протяжки от указанной выше, наиболее близкой к ней, является наличие деформационных прорезей, выполненных в направляющей и режущей частях, которые для повышения стабильности собственных размеров и результата обработки заполнены плотной гибкой массой, а также выполнение режущей боковой кромки, предназначенной для лучшего подрезания заусенцев, с увеличенным углом наклона по сравнению с передним углом у в плоскости симметрии зуба, применяемым для данного материала.

[14]

Заявителю не известны прошивки-протяжки, предназначенные для снятия заусенцев на профиле шлицевого отверстия, образованных при прорезке кольцевых внутренних канавок после протягивания шлицевого отверстия или после снятия фасок с торца профиля шлицевого отверстия, с указанной совокупностью существенных признаков и заявленная совокупность существенных признаков не вытекает явным образом из современного уровня техники, что подтверждает соответствие заявляемого технического решения условию «новизна».

[15]

Заявляемое техническое решение поясняется чертежами, где:

[16]

фиг.1 - главный вид предлагаемой шлицевой прошивки-протяжки для снятия заусенцев;

[17]

фиг.2 - разрез А-А на фиг.1;

[18]

фиг.3 - разрез Б-Б на фиг.1;

[19]

фиг.4 - разрез В-В на фиг.3;

[20]

фиг.5 - разрез Г-Г на фиг.3;

[21]

фиг.6 - обрабатываемая деталь;

[22]

фиг.7 - разрез Д-Д на фиг.6;

[23]

Шлицевая прошивка-протяжка для удаления заусенцев состоит из оправки 1 и собственно прошивки 2, прикрепленной к ней винтами 3. Прошивка 2 содержит направляющую часть 4 и режущую часть 5, и имеет деформационные прорези 6, которые для повышения стабильности собственных размеров и результата обработки заполнены плотной гибкой массой 7.

[24]

Направляющая часть 4 и режущая часть 5 имеют, по крайней мере, по одному зубу 8 с передним углом γ в плоскости симметрии зуба. Угол наклона режущей боковой кромки 8 больше переднего угла γ в плоскости симметрии зуба, применяемого для данного материала. Передний угол γ' по нормали к режущей боковой кромке (в случае эвольвентных шлиц он будет переменным) выражается зависимостью:

[25]

tgγ'=tgγ·sinω,

[26]

где: γ' - передний угол по нормали к режущей боковой кромке;

[27]

γ - передний угол в плоскости симметрии зуба;

[28]

ω - величина угла профиля.

[29]

Рассмотрим процесс обработки детали 9 заявляемой шлицевой прошивкой-протяжкой для снятия заусенцев 10.

[30]

Прошивка-протяжка вставляется направляющей частью 4 в обрабатываемую деталь 9 и сжимается благодаря наличию деформационных прорезей 6 до толщины шлицев обрабатываемой детали, установленной на столе пресса (не показан). Далее при рабочем ходе прошивки-протяжки вниз режущая часть 5, сжатая до толщины шлицев обрабатываемой детали посредством направляющей части 4, плотно прилегая к боковым поверхностям шлиц, производит полный съем заусенцев 10 по профилю шлицев. Для повышения стабильности собственных размеров шлицевой прошивки-протяжки и результата обработки, деформационные прорези 6 заполнены плотной гибкой массой 7.

[31]

Заявляемое техническое решение обеспечивает качественную обработку шлицевых отверстий одним инструментом без изменения размеров обрабатываемой детали.

[32]

Шлицевая прошивка-протяжка для удаления заусенцев может быть выполнена на стандартном оборудовании с применением современных материалов и технологий.

Как компенсировать расходы
на инновационную разработку
Похожие патенты