патент
№ RU 32516
МПК E04C5/16

Монтажная петля для изготовления железобетонных изделий

Авторы:
Фаер В.С.
Правообладатель:
Номер заявки
2003117605/20
Дата подачи заявки
18.06.2003
Опубликовано
20.09.2003
Страна
RU
Как управлять
интеллектуальной собственностью
Чертежи 
2
Формула изобретения

1. Монтажная петля для изготовления железобетонных изделий, включающая проушину, ветви и крюки, отличающаяся тем, что профиль монтажной петли имеет арочную форму, при этом проушина выполнена в виде полуокружности, ветви - изогнутыми и направленными в противоположные стороны относительно друг друга, причем плоскость профиля монтажной петли расположена перпендикулярно по отношению к плоскостям изогнутых ветвей с крюками на концах, при этом один из них, расположенный на конце короткой ветви, выполнен в виде загиба.

2. Монтажная петля по п.1, отличающаяся тем, что плоскость короткой изогнутой ветви расположена под углом ~45° по отношению к плоскости другой ветви.

3. Монтажная петля по п.1, отличающаяся тем, что угол загиба крюка короткой ветви составляет ~45° к горизонтальной плоскости.

Описание

[1]

%ШШШРГ МПК:Е04С5/16

[2]

Монтажная нетля для изготовления железобетонных изделий

[3]

Полезная модель относится к области строительства и может быть использована на заводах сборного железобетона при производстве предварительно напряженных многопустотных плит.

[4]

Известна монтажная петля А- образного профиля для изготовления железобетонных изделий, включающая проушину, ветви и изогутые по окружности крюки. ( см. Пособие по проектированию бетонных и железобетонных конструкций из тяжелых и легких бетонов без предварительного напряжения арматуры . СПиП 2.03.01 - 34, ЦНИИПС, М.НИИЖБ, с. 172-173).

[5]

Педостатком известной монтажной петли является наличие вырыва петель из тела бетона из-за невозможности обеспечить достаточную глубину заделки в бетон петли в железобетонных элементах малой высоты (балках, плитах).

[6]

Ближайшим аналогом является монтажная петляЛ -образного или Побразного профиля для изготовления железобетонных изделий, включаюш;ая проушину, ветви и крюки. Па крюках или крюках и ветвях петли зафиксированы анкерные элементы, выполненные в виде шайб, спиралей, пластин или дополнительной ветви с оппозитно расположенной проушиной. Угол загиба крюка к ветви составляет 10°-40 °.

[7]

Недостатком известной монтажной петли является невозможность ее использования в железобетонных изделиях малой высоты, например, в многопустотных плитах, т.к. не обеспечивается достаточная глубина заделки в бетон петли и, как следствие, отсутствие надежности анкеровки монтажных петель в бетоне. Кроме того, недостатком является также наличие дополнительных трудозатрат при изготовлении петель.

[8]

снабженных дополнительными анкерными элементами, смонтированными на крюках петли и, соответственно, дополнительная металлоемкость, а также невозможность установки петель в вертикальное положение без дополнительной фиксации при формовании плиты.

[9]

В основе создания полезной модели лежит задача по разработке такой конструкции петли, которая обеспечивает повышение надежности анкеровки монтажных петель в бетоне, обеспечивает безопасность монтажных работ и позволяет снизить их металлоемкость.

[10]

Поставленная задача достигается тем, что известная монтажная петля , включающая проушину, ветви и крюки, имеет профиль арочной формы, при этом проушина выполнена в виде полуокружности, ветвиизогнутыми и направленными в противоположные стороны относительно друг друга. Петля выполнена таким образом, что плоскость ее профиля перпендикулярна плоскостям изогнутых ветвей.

[11]

Ветви имеют разную длину и конфигурацию крюка на их концах. Длинная ветвь имеет форму и параметры обычно применяемых петель для многопустотных типовых плит, а короткая ветвь имеет конфигурацию крюка в форме загиба под углом 45° к горизонту.

[12]

Плоскость короткой изогнутой ветви расположена под углом 45° к плоскости длинной изогнутой ветви.

[13]

Предлагаемая монтажная петля отличается от известной тем, что изготавливается из одного стержня и имеет конфигурацию, обеспечиваюшую надежную анкеровку монтажных петель при производстве предварительно напряженных многопустотных плит. Расположение плоскости короткой изогнутой ветви под углом 45° к плоскости длинной изогнутой ветви и наличие на конце короткой изогнутой ветви крюка в форме загиба под углом 45° к горизонту дает возможность быстро и надежно устанавливать монтажные петли с зацеплением за стержень рабочей арматуры.

[14]

на фиг. 1 - монтажная петля

[15]

на фиг. 2 - вид А фиг. 1

[16]

на фиг. 3 -вид в плане на многопустотную железобетонную плиту с

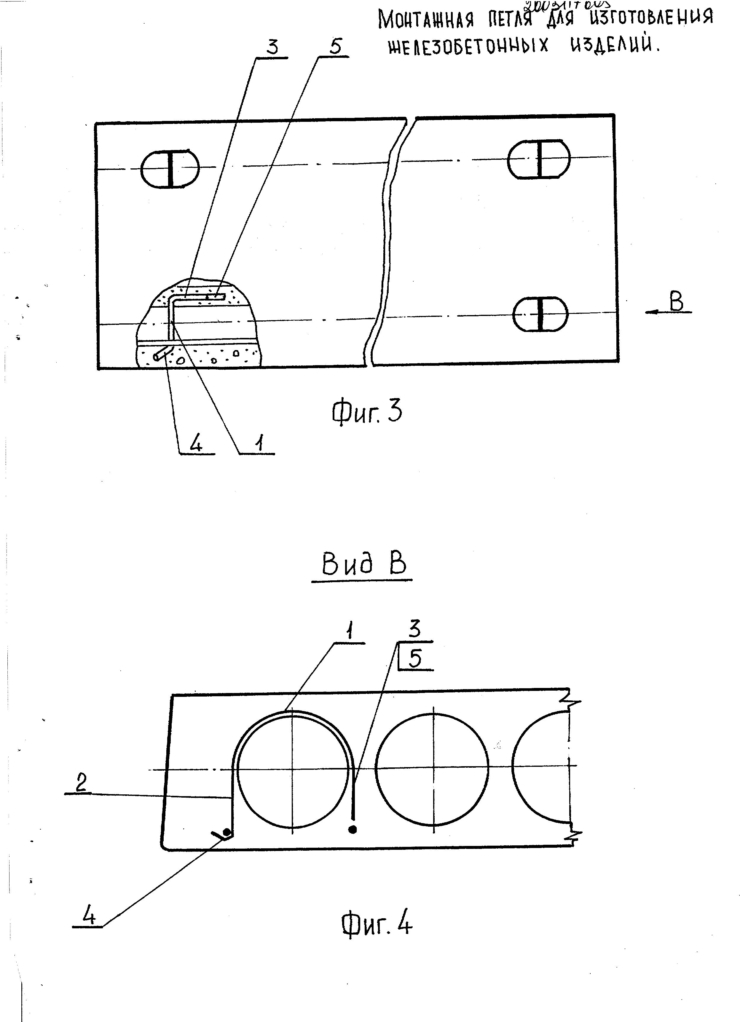
[17]

установкой монтажных петель

[18]

на фиг. 4 - вид В на фиг. 3, место установки петли.

[19]

Монтажная петля включает проушину 1, выполненную в виде полуокружности, изогнутые ветви 2,3, одна из которых, короткая ветвь 2 с крюком 4 на конце, имеет форму загиба, и длинная ветвь 3 с крюком 5 на конце. Плоскость короткой изогнутой ветви 2 расположена под углом 45° по отношению к плоскости длинной изогнутой ветви 3. Угол загиба крюка короткой изогнутой ветви 2 составляет 45°к линии горизонта.

[20]

Монтажные петли изготавливаются из арматурной стали диаметром 12 мм марок ст. 3 пс. или ст. 3 сп. на гибочных станках.

[21]

Изготовленные петли устанавливаются в количестве четырех штук на изделие, причем две из них имеют профиль с зеркальным отражением.

[22]

Установка монтажных петель производится в бортоснастке с предварительно напряженной рабочей арматурой с зацеплением крюком 4 короткой ветви 2, имеющим форму загиба, за стержень рабочей арматуры. В дальнейшем, в процессе ввода пустотообразователей, монтажные петли фиксируются на них, причем плоскость профиля монтажной петли перпендикулярна горизонтальной плоскости. После окончательной укладки ребер и сеток в бортоснастку производится подача бетонной смеси и формование многопустотной плиты. Приямки в бетоне многопустотных плит у проушин 1 монтажных петель для заведения строповочных крюков не должны превышать нормативных.

[23]

Предложенная конструкция монтажной петли позволяет снизить расход металла за счет уменьшения диаметра стержня. Проведенные испытания предварительно напряженных многопустотных плит с монтажными петлями показали надежность их анкеровки в бетоне..

Как компенсировать расходы
на инновационную разработку
Похожие патенты