патент
№ RU 30599
МПК A62C5/00

Изотермический модуль для жидкой двуокиси углерода системы пожаротушения

Авторы:
Меркулов А.В.
Номер заявки
2003110730/20
Дата подачи заявки
18.04.2003
Опубликовано
10.07.2003
Страна
RU
Как управлять
интеллектуальной собственностью
Чертежи 
1
Реферат

1. Изотермический модуль для жидкой двуокиси углерода системы пожаротушения, состоящий из резервуара горизонтального типа, включающего внутренний сосуд, устройства автоматического поддержания давления во внутреннем сосуде, запорно-пускового устройства, обеспечивающего открытие, закрытие и блокировку подачи жидкой двуокиси углерода из резервуара в трубопровод, и блока управления, отличающийся тем, что устройство автоматического поддержания давления во внутреннем сосуде включает в себя электронагреватель, холодильную установку с испарителем и электроконтактный манометр с чувствительным элементом, соединенный с блоком управления.2. Изотермический модуль по п.1, отличающийся тем, что он содержит дополнительно, по меньшей мере, один электронагреватель, одну холодильную установку с испарителем и один электроконтактный манометр.3. Изотермический модуль по п.1, отличающийся тем, что электронагреватель, испаритель холодильной установки и чувствительный элемент электроконтактного манометра вмонтированы во внутренний сосуд.

Формула изобретения

1. Изотермический модуль для жидкой двуокиси углерода системы пожаротушения, состоящий из резервуара горизонтального типа, включающего внутренний сосуд, устройства автоматического поддержания давления во внутреннем сосуде, запорно-пускового устройства, обеспечивающего открытие, закрытие и блокировку подачи жидкой двуокиси углерода из резервуара в трубопровод, и блока управления, отличающийся тем, что устройство автоматического поддержания давления во внутреннем сосуде включает в себя электронагреватель, холодильную установку с испарителем и электроконтактный манометр с чувствительным элементом, соединенный с блоком управления.

2. Изотермический модуль по п.1, отличающийся тем, что он содержит дополнительно, по меньшей мере, один электронагреватель, одну холодильную установку с испарителем и один электроконтактный манометр.

3. Изотермический модуль по п.1, отличающийся тем, что электронагреватель, испаритель холодильной установки и чувствительный элемент электроконтактного манометра вмонтированы во внутренний сосуд.

Описание

[1]

Изотермический модуль для жидкой двуокиси углерода

[2]

системы пожаротушения

[3]

Полезная модель относится к криогенному оборудованию, а именно к изотермическим резервуарам, предназначенным для хранения вне помещений двуокиси углерода (СО2) в жидком состоянии при низком (до 2,1 МПа) давлении и ее подачи при тушении пожаров класса А, В, С, а также при тушении пожаров при возгорании электрооборудования, находящегося под напряжением, как в составе установок газового пожаротушения объемным, так и локальным способом.

[4]

Известны различные типы изотермических модулей для хранения жидкой двуокиси углерода. Основным недостатком всех известных модулей газового пожаротушения высокого давления является то, что все они устанавливаются только в помещении, поскольку имеют, как правило, расположенное вне резервуара сложное и громоздкое дополнительное оборудование для регулирования давления или температуры (не позволяющее его разместить модули вне здания), или же не имеют средств для поддержания требуемого давления внутри модуля при изменении наружной температуры. Размещение изотермических емкостей с подобным оборудованием в помещениях приводит к дополнительным затратам.

[5]

МПК7 A62C 5/00; F17C 5/00, 7/00,

[6]

9/00

[7]

в качестве наиболее близкого аналога было принято техническое решение по патенту РФ № 2146027 С1, от 27.02.2000, из которого известен изотермический модуль для жидкой двуокиси углерода, состоящий из включающего в себя внутренний сосуд резервуара горизонтального типа, устройство автоматического поддержания давления во внутреннем сосуде, запорно-пускового устройства, обеспечивающего открытие, закрытие и блокировку подачи жидкой двуокиси углерода из резервуара в трубопровод, и блок управления.

[8]

Технической задачей, положенной в основу при создании предложенного рещения явилось снижение стоимости противопожарной защиты установками газового пожаротущения помещений объемом свыще 500 м1

[9]

Поставленная задача решается устройством, выполненным в соответствии с признаками формулы предложенной полезной модели, согласно которой изотермический модуль для жидкой двуокиси углерода состоит из резервуара, преимущественно горизонтального типа, включающего в себя внутренний сосуд, устройства автоматического поддержания давления во внутреннем сосуде, запорно-пускового устройства, обеспечивающего открытие, закрытие и блокировку подачи жидкой двуокиси углерода из резервуара в трубопровод, и блока управления, при этом устройство автоматического поддержания давления во внутреннем сосуде включает в себя сосуд электронагреватель,

[10]

преимущественно, трубчатый, холодильную установку с испарителем, преимущественно, компрессорную, и электроконтактный манометр с чувствительным элементом, соединенный с блоком управления. При этом, электронагреватель, испаритель холодильной установки и чувствительный элемент электроконтактного манометра вмонтированы во внутренний сосуд изотермического модуля. Нагреватель, холодильные установки с испарителями и электроконтактные манометры желательно выполнить дублированными, т.е. в двойном количестве, что повысит надежность работы системы в целом.

[11]

Технргческий результат заключается в создании установки модульного типа для хранения жидкой двуокиси углерода, позволяющей осуществлять эксплуатацию в щироком температурном диапазоне и позволяющей осуществить тущение пожаров больших объемов при одновременном снижении капитальных затрат.

[12]

В отличие от модулей газового пожаротушения высокого давления, которые устанавливаются только в помещении, предложенные модули могут эксплуатироваться как внутри помещения, так и вне его-как правило, под навесом, при этом они сохраняют свою работоспособность при температуре окружающего воздуха от -40°С до +50°С. Кроме того, размещение резервуара за пределами помещения снижает опасность в случае аварийной ситуации. Это достигается за счет установки элементов устройства поддержания давления во внутреннем сосуде резервуара.

[13]

Информационный поиск, проведенный заявителем, показал, что из уровня техники неизвестен модуль изотермический, характеризующийся конструктивным исполнением устройства автоматического поддержания давления во внутреннем сосуде, содержащим нагреватель, холодильную установку с испарителем и электроконтактный манометр, которые встроены во внутренний сосуд и, кроме того, могут быть дублированы идентичными устройствами. Данное обстоятельство позволяет утверждать, что заявляемое техническое решение обладает новизной и ему может быть предоставлена правовая охрана в качестве полезной модели.

[14]

Предложенная полезная модель иллюстрируется чертежами, на которых представлены:

[15]

на фиг. 1 - общий вид устройства;

[16]

на фиг.2 - структурная схема предложенного изотермргческого модуля.

[17]

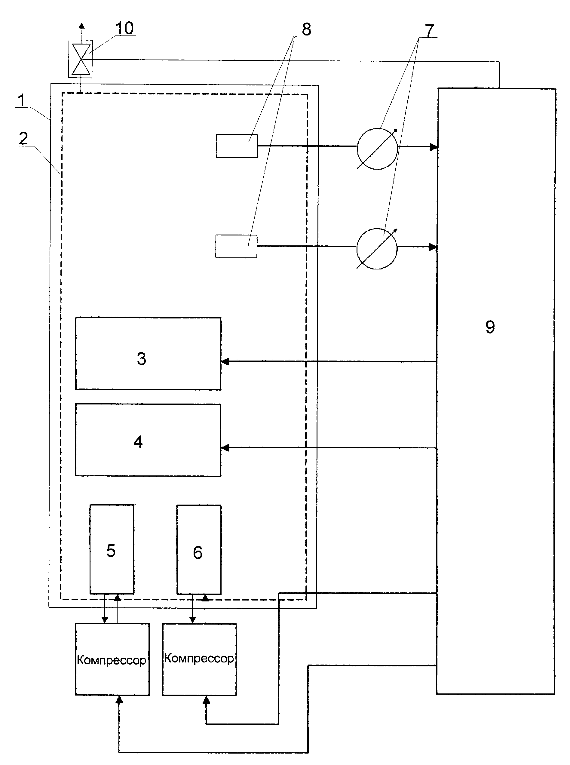
Модуль изотермический для жидкой двуокиси углерода (МИЖУ) содержит резервуар 1 горизонтального типа, включающий в себя внутренний сосуд 2. Кроме того, имеется устройство автоматического поддержания давления во внутреннем сосуде, состоящее из вмонтированных во внутренний сосуд 2 электронагревателей 3 и 4, например, трубчатых, испарителей холодильных установок 5 и 6 и двух электроконтактных манометров 7 с чувствительными элементами 8, соединенных с блоком управления 9. Запорно-пускового устройство (ЗПУ)

[18]

10 обеспечивает открытие, закрытие и блокировку подачи жидкой двуокиси углерода из резервуара 1 в трубопровод, по которому последняя направляется в помещение, определяемое системой управления.

[19]

Ниже описывается работа предложенного изотермического модуля для жидкой двуокиси углерода.

[20]

В «дежурной режиме, давление во внутреннем сосуде 2 МИЖУ должно находиться в пределах 2,1 МПа.

[21]

Для поддержания этого давления служат нагреватели 3, 4 и испарители холодильных установок 5, 6. При этом давление в сосуде контролируется двумя электроконтактными манометрами 7.

[22]

При повышении давления сигнал от манометра 7 (т.е. сигнал, превышающий уставку на предельно высокое давление) поступает в блок управления 8, который выдает сигнал на и включение первой холодильной установки 5. При неисправности холодильной установки 5 включается вторая холодильная установка 6. По достижению требуемого давлениясигнал , подаваемый с упомянутого манометра, снимается и холодильная установка 5 или 6 отключается. Наличие второго аналогичного нагревателя 4, холодильной установки 6 и электроконтактного манометра 7 обусловлено повышением надежности системы пожаротушения.

[23]

При снижении давления сигнал от манометра 7 (т.е. сигнала меньшего в этом случае, нежели величина уставки на предельно низкое давление) также поступает в блок управления 8, однако в данном случае

[24]

последний выдает сигнал на включение первого электронагревателя 3. При неисправности первого электронагревателя 3, включается второй электронагреватель 4. По достижению требуемого давления сигнал, подаваемый с манометра, снимается и нагреватель отключается.

[25]

В режиме «ПУСК блок управления 9 открывает запорно-пусковое устройство 10 и контролирует установленное количество поданной жидкой двуокиси углерода, при этом по сигналу соответствующего канала блок управления закрывает ЗПУ. После закрытия ЗПУ фиксируется остаточное количество жидкой двуокиси углерода в МИЖУ и проверяется ее значение на соответствие минимальной установке. При положительном результате сравнения система переходит в «дежурный режим, в противном случаеформируется сигнал «НЕИСПРАВНОСТЬ.

[26]

Изотермические модули для жидкой двуокиси углерода могут быть изготовлены с емкостью резервуаров от 3 до 25 м. Диапазон давлений эксплуатации 1,95...2,05 МПа. Габаритные размеры резервуара: диаметр от 1700 до 2400 мм и длина от 3700 до 9300 мм. Максимальное время выпуска 50% массы СО2 составляет не более 60 с. Масса резервуара без газа-от 2500 до 16000 кг.

[27]

Экономическая эффективность МИЖУ возрастает с увеличением защищаемого объема. Кроме того, как показывает практика эксплуатации установок газового пожаротзтления на основе модулей высокого давления, при одновременной установке более 40 модулей увеличиваются

[28]

эксплуатационные затраты и снижается надежность установки в целом.

[29]

Поэтому применение МИЖУ для защиты помещений свыше 500 м повышает надежность систем тушения пожаров и снижает стоимость противопожарной защиты объекта.

[30]

Во время сертификационных испытаний было установлено, что по качеству тепловой изоляции (суточному приросту давления) изотермического резервуара, времени срабатывания запорно-пускового устройства и температурного диапазона эксплуатации (от -40 °С до +50 С) МИЖУ превыщают лучшие зарубежные аналоги. Расширение диапазона температур эксплуатации МИЖУ в сторону низких температур-до -40 0позволяет устанавливать последний на открытой площадке (т.е. вне здания), что значительно снижает капитальные затраты.

[31]

Как компенсировать расходы
на инновационную разработку
Похожие патенты