патент
№ RU 2841715
МПК A24F40/50

УСТРОЙСТВО ДЛЯ ГЕНЕРИРОВАНИЯ АЭРОЗОЛЯ И СПОСОБ ЭКСПЛУАТАЦИИ ТАКОГО УСТРОЙСТВА

Авторы:
ПАК, Чуон (KR) ЛИ, Чжонсуб (KR) ЧО, Пюсун (KR)
Все (4)
Номер заявки
2024109640
Дата подачи заявки
19.10.2022
Опубликовано
16.06.2025
Страна
RU
Дата приоритета
16.12.2025
Номер приоритета
Страна приоритета
Как управлять
интеллектуальной собственностью
Чертежи 
8
Реферат

[215]

Раскрыто устройство для генерирования аэрозоля и способ эксплуатации такого устройства. Устройство для генерирования аэрозоля согласно изобретению содержит основной корпус, картридж, соединенный с основным корпусом, датчик затяжки, выполненный с возможностью обнаружения затяжки, и контроллер. Картридж содержит нагреватель, выполненный с возможностью нагревания вещества для генерирования аэрозоля, и память для хранения данных. Контроллер определяет выполнение заданных требований к картриджу на основании хранящихся в памяти данных, осуществляет управление таким образом, чтобы при выполнении заданных требований питание поступало на нагреватель на основании хранящихся в памяти данных, и обрабатывает хранящиеся в памяти данные таким образом, чтобы заданные требования не выполнялись, если количество затяжек, обнаруженных датчиком затяжки, превышает заданное количество затяжек, получать точную информацию о картридже во время использования картриджа. Техническими результатами являются получение точной информацию о нагревателе, содержащемся в картридже, в отсутствие влияния окружающей среды, предотвращение повторного использования картриджа и предотвращение использования неразрешенного картриджа. 2 н. и 11 з.п. ф-лы, 10 ил.

Формула изобретения

1. Устройство для генерирования аэрозоля, содержащее:

основной корпус;

картридж, соединенный с основным корпусом, в котором картридж содержит:

нагреватель, выполненный с возможностью нагрева вещества для генерирования аэрозоля в соответствии с питанием, подаваемым на нагреватель; и

память, выполненную с возможностью хранения данных;

датчик затяжки, выполненный с возможностью обнаружения затяжки; и

контроллер, выполненный с возможностью:

определения выполнения заданных требований к использованию картриджа на основании хранящихся в памяти данных;

управления подачей питания на нагреватель на основании выполнения заданных требований; и

изменения хранящихся в памяти данных с целью указания на невыполнение заданных требований на основании того, что количество затяжек, обнаруженных датчиком затяжки, превышает заданное количество затяжек; и

прерывания подачи питания на нагреватель, когда заданные требования не выполнены,

в котором контроллер дополнительно выполнен с возможностью:

определения того, что заданные требования выполнены, на основании действительности всех хранящихся в памяти данных; и

определения того, что заданные требования не выполнены, на основании недействительности по меньшей мере некоторых из хранящихся в памяти данных.

2. Устройство для генерирования аэрозоля по п. 1, в котором хранящиеся в памяти данные содержат данные о сопротивлении нагревателя, и/или данные о профиле температуры, и/или данные о веществе для генерирования аэрозоля, и/или данные о заданном количестве затяжек.

3. Устройство для генерирования аэрозоля по п. 1, в котором контроллер дополнительно выполнен с возможностью изменения хранящихся в памяти данных на пустые данные на основании того, что количество обнаруженных затяжек превышает заданное количество затяжек.

4. Устройство для генерирования аэрозоля по п. 1, в котором основной корпус содержит:

контроллер; и

соединительную клемму, соединенную с основным корпусом и выступающую наружу из основного корпуса,

в котором контроллер дополнительно выполнен с возможностью доступа к хранящимся в памяти данным с использованием соединительной клеммы и однопроводного интерфейса связи.

5. Устройство для генерирования аэрозоля по п. 1, в котором контроллер дополнительно выполнен с возможностью:

расшифровки хранящихся в памяти данных на основании ключа шифрования; и

определения того, что заданные требования выполнены, на основании расшифрованных данных.

6. Устройство для генерирования аэрозоля по п. 5, в котором контроллер дополнительно выполнен с возможностью определения того, что заданные требования не выполнены, на основании невозможности расшифровки хранящихся в памяти данных.

7. Устройство для генерирования аэрозоля по п. 1, в котором контроллер дополнительно выполнен с возможностью:

шифрования данных, относящихся к количеству затяжек, обнаруженных датчиком затяжки, на основании ключа шифрования; и

изменения хранящихся в памяти данных путем включения в них зашифрованных данных.

8. Способ эксплуатации устройства для генерирования аэрозоля, содержащего картридж, содержащий:

определение выполнения заданных требований к использованию картриджа на основании хранящихся в памяти данных, связанных с картриджем;

подачу питания на нагреватель на основании выполнения заданных требований;

изменение хранящихся в памяти данных с целью указания на невыполнение заданных требований на основании того, что количество затяжек, обнаруженных датчиком затяжки, превышает заданное количество затяжек; и

прерывание подачи питания на нагреватель, когда заданные требования не выполнены,

в котором определение выполнения заданных требований содержит:

определение того, что заданные требования выполнены, на основании действительности всех хранящихся в памяти данных; и

определения того, что заданные требования не выполнены, на основании недействительности по меньшей мере некоторых из хранящихся в памяти данных.

9. Способ по п. 8, в котором хранящиеся в памяти данные содержат данные о сопротивлении нагревателя, и/или данные о профиле температуры, и/или данные о веществе для генерирования аэрозоля, и/или данные о заданном количестве затяжек.

10. Способ по п. 8, дополнительно содержащий:

изменение хранящихся в памяти данных на пустые данные на основании того, что количество обнаруженных затяжек превышает заданное количество затяжек.

11. Способ по п. 8, дополнительно содержащий:

доступ к хранящимся в памяти данным через соединительную клемму, расположенную на основном корпусе и выступающую за пределы основного корпуса, с использованием однопроводного интерфейса связи.

12. Способ по п. 8, в котором определение выполнения заданных требований содержит:

расшифровку хранящихся в памяти данных в соответствии с определенным критерием;

определение того, что заданные требования не выполнены, на основании невозможности расшифровки хранящихся в памяти данных; и

определение того, что заданные требования выполнены, на основании успешной расшифровки хранящихся в памяти данных.

13. Способ по п. 8, дополнительно содержащий:

шифрование данных, относящихся к количеству затяжек, обнаруженных датчиком затяжки, на основании ключа шифрования; и

изменение хранящихся в памяти данных путем включения в них зашифрованных данных.

Описание

[1]

Область техники

[2]

[1] Настоящее изобретение относится к устройству для генерирования аэрозоля и способу эксплуатации такого устройства.

[3]

Предшествующий уровень техники

[4]

[2] Устройство для генерирования аэрозоля представляет собой устройство, извлекающее определенные компоненты из среды или вещества путем образования аэрозоля. Среда может содержать многокомпонентное вещество. Вещество, содержащееся в среде, может представлять собой многокомпонентное вкусо-ароматизирующее вещество. Например, вещество, содержащееся в среде, может содержать никотиновый компонент, растительный компонент и/или кофейный компонент. В последнее время проводятся различные исследования устройств для генерирования аэрозоля.

[5]

Сущность изобретения

[6]

Техническая задача

[7]

[3] Задачей настоящего изобретения является устранение вышеупомянутых и других недостатков.

[8]

[4] Другой задачей настоящего изобретения является разработка устройства для генерирования аэрозоля и способа его эксплуатации, позволяющих получать точную информацию о картридже во время использования картриджа.

[9]

[5] Следующей задачей настоящего изобретения является разработка устройства для генерирования аэрозоля и способа его эксплуатации, позволяющих получать точную информацию о нагревателе, содержащемся в картридже, в отсутствие влияния окружающей среды.

[10]

[6] Следующей задачей настоящего изобретения является разработка устройства для генерирования аэрозоля и способа его эксплуатации, позволяющих предотвращать повторное использование использованного картриджа.

[11]

[7] Следующей задачей настоящего изобретения является разработка устройства для генерирования аэрозоля и способа его эксплуатации, позволяющих предотвратить использование неразрешенного картриджа.

[12]

Техническое решение

[13]

[8] Устройство для генерирования аэрозоля согласно первому аспекту настоящего изобретения, предназначенное для решения поставленных и иных задач, может содержать основной корпус, картридж, соединенный с основным корпусом, датчик затяжки, выполненный с возможностью обнаружения затяжки, и контроллер. Картридж может содержать нагреватель, выполненный с возможностью нагревания вещества для генерирования аэрозоля, и память для хранения данных. Контроллер может определять выполнение предварительно заданных требований к картриджу на основании хранящихся в памяти данных, может осуществлять управление таким образом, чтобы при выполнении предварительно заданных требований питание поступало на нагреватель на основании хранящихся в памяти данных, и может обрабатывать хранящиеся в памяти данные таким образом, чтобы предварительно заданные требования не выполнялись, если количество затяжек, обнаруженных датчиком затяжки, превышает предварительно заданное количество затяжек.

[14]

[9] Способ эксплуатации устройства для генерирования аэрозоля согласно другому аспекту настоящего изобретения, предназначенный для решения поставленных и иных задач, может содержать определение выполнения предварительно заданных требований к картриджу на основании данных, хранящихся в памяти картриджа, подачу питания на нагреватель на основании хранящихся в памяти данных в случае выполнения предварительно заданных требований, и этап обработки хранящихся в памяти данных таким образом, чтобы предварительно заданные требования не выполнялись, если количество затяжек, обнаруженных датчиком затяжки, превышает предварительно заданное количество затяжек.

[15]

Полезные эффекты изобретения

[16]

[10] По меньшей мере в одном из вариантов осуществления настоящего изобретения информация о картридже может быть точно определена во время использования картриджа.

[17]

[11] По меньшей мере в одном из вариантов осуществления настоящего изобретения информация о нагревателе, содержащемся в картридже, может быть точно определена независимо от окружающей среды.

[18]

[12] По меньшей мере в одном из вариантов осуществления настоящего изобретения можно предотвратить повторное использование использованного картриджа.

[19]

[13] По меньшей мере в одном из вариантов осуществления настоящего изобретения можно предотвратить использование неразрешенного картриджа.

[20]

[14] Дополнительные варианты осуществления настоящего изобретения станут очевидными из следующего подробного описания. Тем не менее, поскольку специалистам в данной области техники должны быть понятны различные изменения и модификации в рамках сущности и объема настоящего изобретения, следует понимать, что подробное раскрытие и конкретные варианты осуществления изобретения, такие как предпочтительные варианты осуществления настоящего изобретения, приведены только в качестве примера.

[21]

Описание чертежей

[22]

[15] Вышеприведенные и другие задачи, признаки и другие преимущества настоящего изобретения будут более понятны из приведенного ниже подробного описания со ссылкой на прилагаемые чертежи, на которых:

[23]

[16] на ФИГ. 1 изображена блок-схема устройства для генерирования аэрозоля согласно одному из вариантов осуществления настоящего изобретения;

[24]

[17] на ФИГ. 2 и 3 изображены виды, иллюстрирующие устройство для генерирования аэрозоля согласно вариантам осуществления настоящего изобретения;

[25]

[18] на ФИГ. 4-6 изображены виды, иллюстрирующие стик согласно вариантам осуществления настоящего изобретения;

[26]

[19] на ФИГ. 7 изображен вид, иллюстрирующий элементы устройства для генерирования аэрозоля согласно вариантам осуществления настоящего изобретения;

[27]

[20] на ФИГ. 8 и 9 изображены блок-схемы способа эксплуатации устройства для генерирования аэрозоля согласно одному из вариантов осуществления настоящего изобретения.

[28]

[21] на ФИГ. 10 изображен вид, иллюстрирующий работу устройства для генерирования аэрозоля.

[29]

Лучший вариант осуществления изобретения

[30]

[22] Варианты осуществления настоящего изобретения подробно раскрыты ниже со ссылкой на прилагаемые чертежи. Одни и те же или подобные элементы обозначены одними и теми же ссылочными позициями, даже если они изображены на разных чертежах, и их избыточные описания будут опущены.

[31]

[23] В последующем описании в отношении составляющих элементов, используемых в последующем описании, термины «модуль» и «блок» используются только с точки зрения облегчения описания. Термины «модуль» и «блок» не имеют взаимно различающихся значений или функций.

[32]

[24] Кроме того, в последующем описании вариантов осуществления изобретения в настоящем документе подробное описание известных функций и конфигураций, являющихся частью настоящего описания, будет опущено, если это может сделать предмет раскрытых вариантов осуществления изобретения неясным. Кроме того, прилагаемые чертежи предоставлены только для лучшего понимания раскрытых вариантов осуществления изобретения, и не предназначены для ограничения раскрытых технических идей. Следовательно, следует понимать, что прилагаемые чертежи включают все модификации, эквиваленты и замены в пределах объема и сущности настоящего изобретения.

[33]

[25] Следует понимать, что термины «первый», «второй» и т. п. могут использоваться в настоящем документе для описания различных компонентов. Тем не менее, эти компоненты не должны ограничиваться указанными терминами. Эти термины используются исключительно для отличения одного компонента от другого.

[34]

[26] Следует понимать, что когда компонент упоминается как «соединенный с» или «связанный с» другим компонентом, он может быть непосредственно соединен или связан с другим компонентом. Тем не менее, следует понимать, что могут иметься промежуточные компоненты. С другой стороны, когда компонент упоминается как «непосредственно соединенный с» или «непосредственно связанный с» другим компонентом, промежуточные компоненты отсутствуют.

[35]

[27] Форма единственного числа подразумевает как единственное, так и множественное число существительных, за исключением случаев, когда контекстом явно определено иное.

[36]

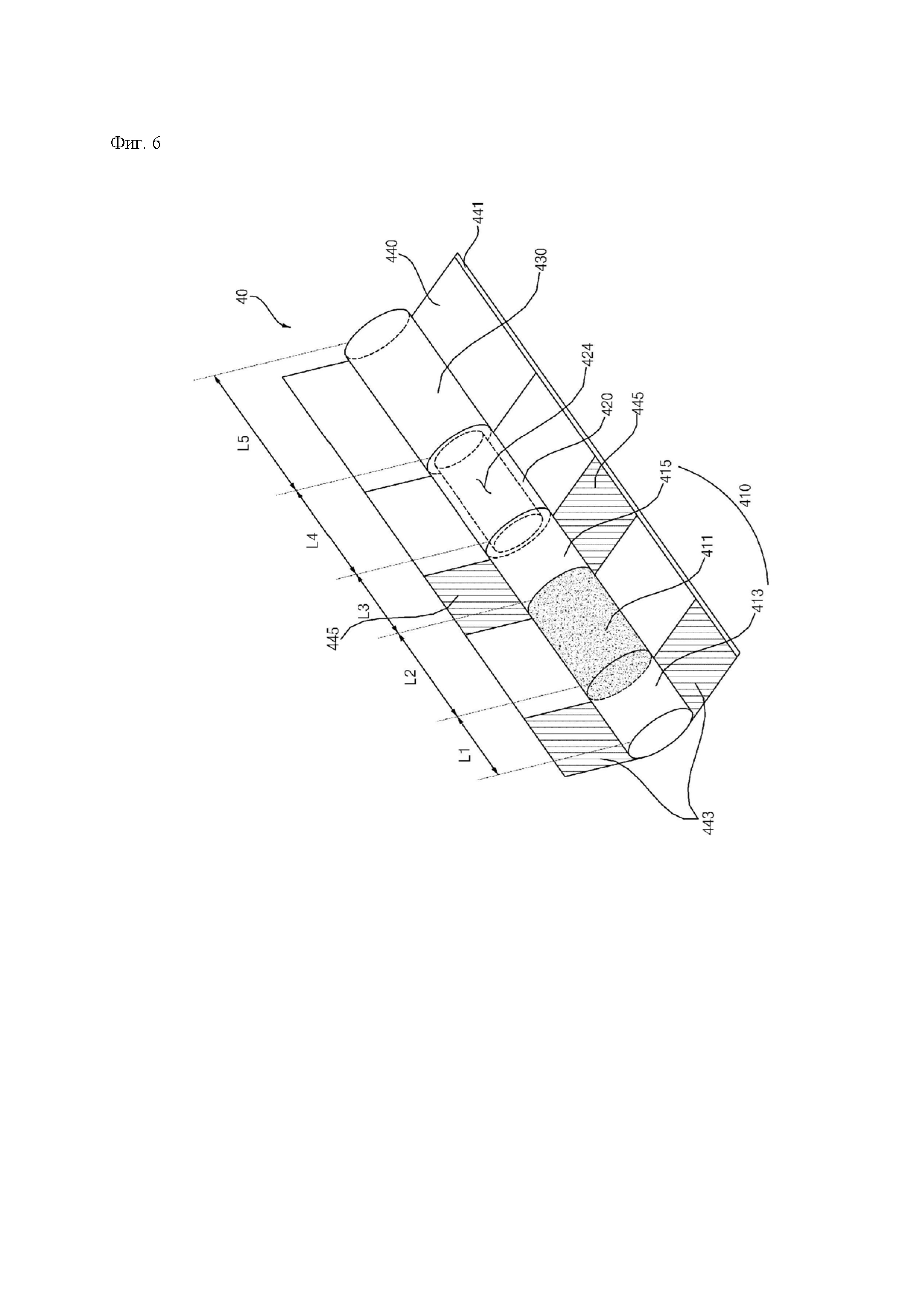
[28] На ФИГ. 1 изображена блок-схема устройства для генерирования аэрозоля согласно одному из вариантов осуществления настоящего изобретения.

[37]

[29] Как показано на ФИГ. 1, устройство 10 для генерирования аэрозоля может содержать интерфейс 11 связи, интерфейс 12 ввода/вывода, модуль 13 для генерирования аэрозоля, память 14, сенсорный модуль 15, аккумулятор 16 и/или контроллер 17.

[38]

[30] В одном из вариантов осуществления изобретения устройство 10 для генерирования аэрозоля может состоять только из основного корпуса. В этом случае компоненты, входящие в состав устройства 10 для генерирования аэрозоля, могут быть расположены в основном корпусе. В другом варианте осуществления изобретения устройство 10 для генерирования аэрозоля может состоять из картриджа, который содержит вещество для генерирования аэрозоля, и основного корпуса. В этом случае компоненты, входящие в состав устройства 10 для генерирования аэрозоля, могут быть расположены в основном корпусе и/или картридже.

[39]

[31] Интерфейс 11 связи может содержать по меньшей мере один модуль связи для связи с внешним устройством и/или сетью. Например, интерфейс 11 связи может содержать модуль связи для проводной связи, такой как универсальная последовательная шина (USB). Например, интерфейс 11 связи может содержать модуль связи для беспроводной связи, такой как Wireless Fidelity (Wi-Fi), Bluetooth, Bluetooth с низким энергопотреблением (BLE), ZigBee или связь ближнего поля (NFC).

[40]

[32] Интерфейс 12 ввода/вывода может содержать устройство ввода (не показано) для приема команды от пользователя и/или устройство вывода (не показано) для вывода информации для пользователя. Например, устройство ввода может содержать сенсорную панель, физическую кнопку, микрофон и т. п. Например, устройство вывода может содержать дисплей для вывода визуальной информации, такое как дисплей или светодиод (LED), аудиоустройство для вывода звуковой информации, такое как динамик или зуммер, мотор для вывода тактильной информации, такой как тактильный эффект и т. п.

[41]

[33] Интерфейс 12 ввода/вывода может передавать данные, соответствующие команде, введенной пользователем через устройство ввода, к другому компоненту (или другим компонентам) устройства 100 для генерирования аэрозоля. Интерфейс 12 ввода/вывода может выводить информацию, соответствующую данным, полученным от другого компонента (или других компонентов) устройства 10 для генерирования аэрозоля через устройство вывода.

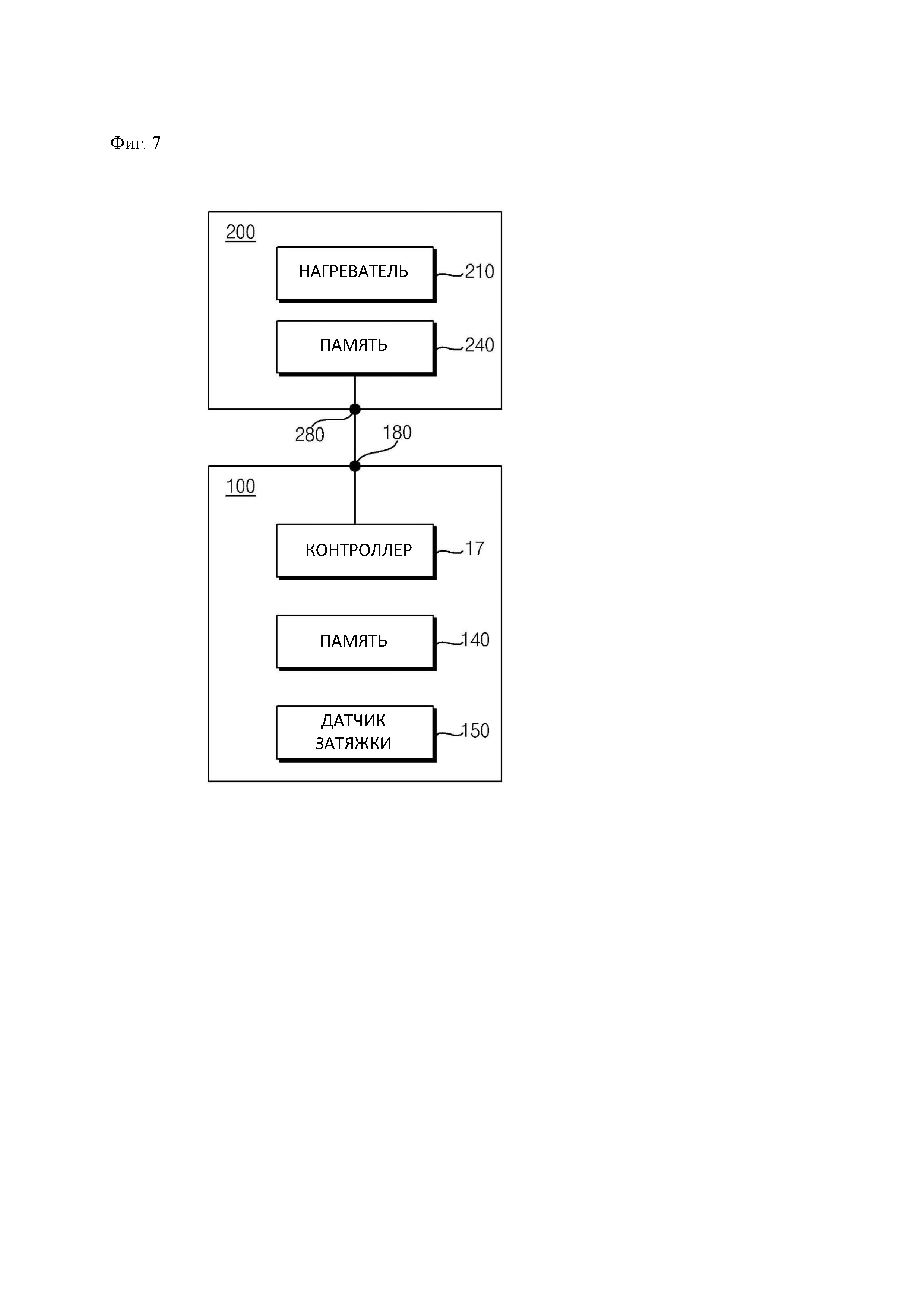
[42]

[34] Модуль 13 для генерирования аэрозоля может генерировать аэрозоль из вещества для генерирования аэрозоля. В данном случае вещество для генерирования аэрозоля может представлять собой вещество в жидком состоянии, твердом состоянии или гелеобразном состоянии, способное генерировать аэрозоль, или комбинацию двух или более веществ для генерирования аэрозоля.

[43]

[35] В одном из вариантов осуществления изобретения жидкое вещество для генерирования аэрозоля может представлять собой жидкость, в состав которой входит табакосодержащий материал с летучим табачным вкусо-ароматизирующим компонентом. В другом варианте осуществления изобретения жидкое вещество для генерирования аэрозоля может представлять собой жидкость, содержащую нетабачный материал. Например, жидкое вещество для генерирования аэрозоля может включать воду, растворители, никотин, растительные экстракты, ароматизаторы, вкусо-ароматические вещества, витаминные смеси и т. п.

[44]

[36] Твердое вещество для генерирования аэрозоля может содержать твердый материал на основании табачного сырья, такого как лист восстановленного табака, резаный табак или гранулированный табак. Кроме того, твердое вещество для генерирования аэрозоля может содержать твердый материал, содержащий вещество для регулирования вкуса и вкусо-ароматизирующий материал. Например, вещество для регулирования вкуса может включать карбонат кальция, бикарбонат натрия, оксид кальция и т. д. Например, вкусо-ароматизирующий материал может содержать природный материал, такой как растительные гранулы, или может содержать такой материал, как диоксид кремния, цеолит или декстрин, который содержит ароматический ингредиент.

[45]

[37] Кроме того, вещество для генерирования аэрозоля может дополнительно содержать вещество для формирования аэрозоля, такое как глицерин или пропиленгликоль.

[46]

[38] Модуль 13 для генерирования аэрозоля может содержать по меньшей мере один нагреватель (не показано).

[47]

[39] Модуль 13 для генерирования аэрозоля может содержать электрорезистивный нагреватель. Например, электрорезистивный нагреватель может содержать по меньшей мере одну электропроводящую дорожку. Электрорезистивный нагреватель может нагреваться за счет прохождения тока через электропроводящую дорожку. В этот момент вещество для генерирования аэрозоля может быть нагрето посредством электрорезистивного нагревателя.

[48]

[40] Электропроводящая дорожка может содержать электрорезистивный материал. В одном примере электропроводящая дорожка может быть выполнена из металлического материала. В другом примере электропроводящая дорожка может быть выполнена из керамического материала, углерода, металлического сплава или композита из керамического материала и металла.

[49]

[41] Электрорезистивный нагреватель может содержать электропроводящую дорожку, имеющую любую из различных форм. Например, электропроводящая дорожка может иметь любую из следующих форм: труба, пластина, игла, стержень и обмотка.

[50]

[42] Модуль 13 для генерирования аэрозоля может содержать нагреватель, использующий способ индукционного нагрева. Например, индукционный нагреватель может содержать электропроводящую обмотку. Индукционный нагреватель может генерировать переменное электромагнитное поле, которое периодически изменяет направление, путем регулирования тока, проходящего через электропроводящую обмотку. В этот момент, когда переменное электромагнитное поле воздействует на магнитный корпус, в магнитном корпусе могут происходить потери энергии из-за потерь на вихревые токи и гистерезис. Кроме того, потерянная энергия может выделяться в виде тепловой энергии. Соответственно, вещество для генерирования аэрозоля, расположенное рядом с магнитным корпусом, может нагреваться. В настоящем документе объект, который генерирует тепло вследствие действия электромагнитного поля, может называться токоприемником.

[51]

[43] Между тем, модуль 13 для генерирования аэрозоля может генерировать ультразвуковые колебания, чтобы таким образом генерировать аэрозоль из вещества для генерирования аэрозоля.

[52]

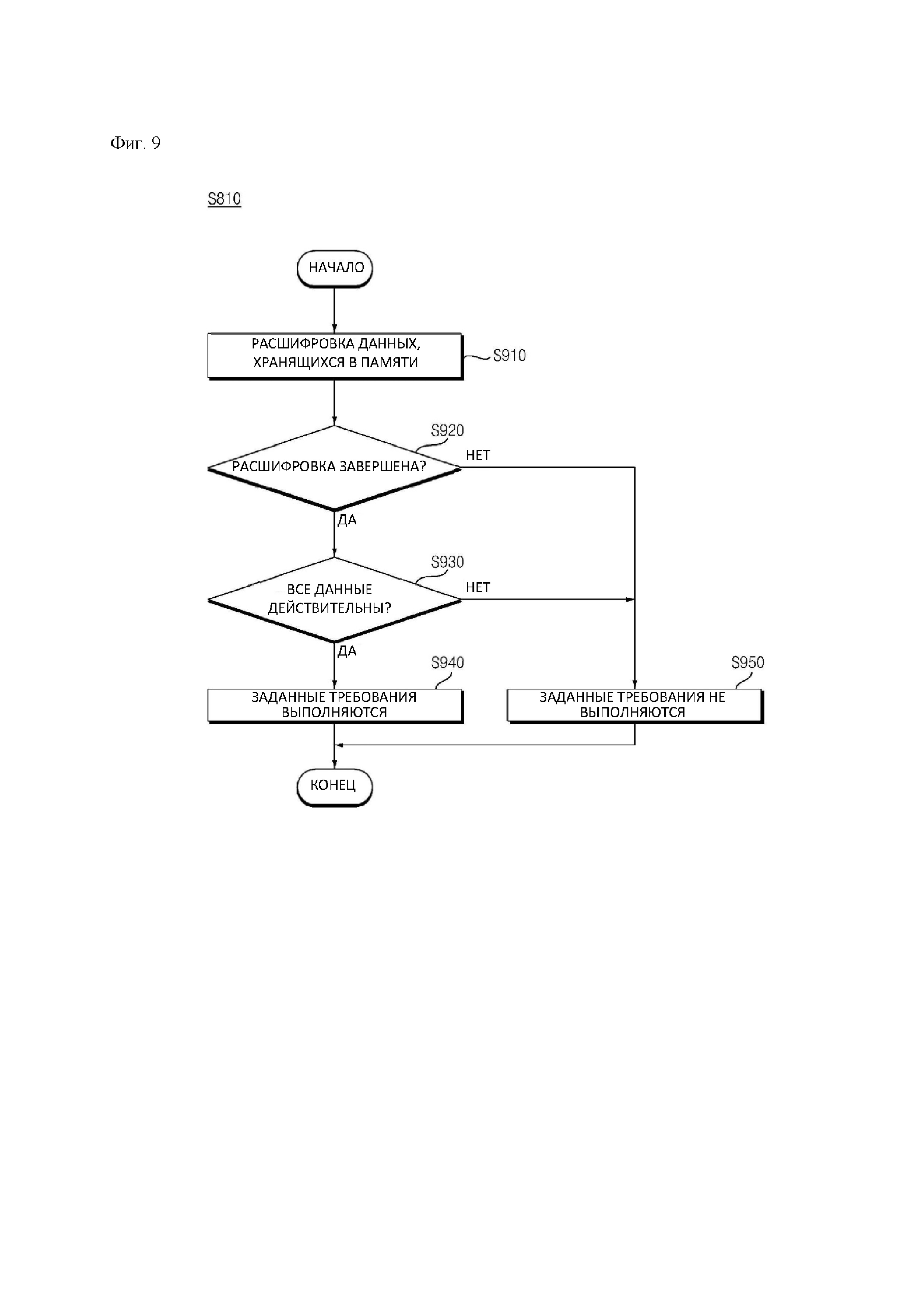
[44] Устройство 10 для генерирования аэрозоля может называться картомайзером, атомайзером или испарителем.

[53]

[45] В памяти 14 могут храниться программы для обработки и управления каждым сигналом в контроллере 17. В памяти 14 могут храниться обработанные данные и данные, подлежащие обработке.

[54]

[46] Например, в памяти 14 могут храниться приложения, предназначенные для выполнения различных задач, которые могут обрабатываться контроллером 17. Память 14 может выборочно предоставлять некоторые из сохраненных приложений в ответ на запрос от контроллера 17.

[55]

[47] Например, в памяти 14 могут храниться данные о времени работы устройства 100 для генерирования аэрозоля, максимальном количестве затяжек, текущем количестве затяжек, количестве использований аккумулятора 16, по меньшей мере одном профиле температуры, паттерне вдыхания пользователя и данные о зарядке/разрядке. В настоящем документе «затяжка» означает вдыхание пользователем. «Вдыхание» означает действие пользователя по всасыванию воздуха или других веществ в полость рта, носа или легкие пользователя через рот или нос пользователя.

[56]

[48] Память 14 может включать по меньшей мере одно из следующих устройств: энергозависимую память (например, динамическую оперативную память (DRAM), статическую оперативную память (SRAM) или синхронную динамическую оперативную память (SDRAM)), энергонезависимую память (например, флэш-память), накопитель на жестком диске (HDD) или твердотельный накопитель (SSD).

[57]

[49] Сенсорный модуль 15 может содержать по меньшей мере один датчик.

[58]

[50] Например, сенсорный модуль 15 может содержать датчик для обнаружения затяжки (далее «датчик затяжки»). В этом случае датчик затяжки может быть реализован как датчик приближения, например, ИК-датчик, датчик давления, , гироскопический датчик, датчик ускорения, датчик магнитного поля и т. п.

[59]

[51] Например, сенсорный модуль 15 может содержать датчик для обнаружения затяжки (далее «датчик затяжки»). В этом случае датчик затяжки может быть выполнен в виде датчика давления, гироскопического датчика, датчика ускорения, датчика электромагнитного поля и т. п.

[60]

[52] Например, сенсорный модуль 15 может содержать датчик для измерения температуры нагревателя, входящего в состав модуля 13 для генерирования аэрозоля, и температуры вещества для генерирования аэрозоля (далее «датчик температуры»). В этом случае нагреватель, входящий в состав модуля 13 для генерирования аэрозоля, также может служить датчиком температуры. Например, электрорезистивный материал нагревателя может представлять собой материал, имеющий предварительно заданный температурный коэффициент сопротивления. Сенсорный модуль 15 может измерять сопротивление нагревателя, которое изменяется в зависимости от температуры, чтобы таким образом измерять температуру нагревателя.

[61]

[53] Например, если основной корпус устройства 10 для генерирования аэрозоля выполнен таким образом, что в него можно вставлять стик, сенсорный модуль 15 может содержать датчик для обнаружения введения стика (далее «датчик обнаружения стика»).

[62]

[54] Например, если устройство 10 для генерирования аэрозоля содержит картридж, сенсорный модуль 15 может содержать датчик для обнаружения установки/отсоединения картриджа, а также положения картриджа (далее именуемый «датчик обнаружения картриджа»).

[63]

[55] В этом случае датчик обнаружения стика и/или датчик обнаружения картриджа может быть выполнен в виде индуктивного датчика, емкостного датчика, датчика сопротивления или датчика на эффекте Холла (или интегральной схемы на эффекте Холла) с использованием эффекта Холла.

[64]

[56] Например, сенсорный модуль 15 может содержать датчик напряжения для измерения напряжения, приложенного к компоненту (например, аккумулятору 16), предусмотренному в устройстве 10 для генерирования аэрозоля, и/или датчик тока для измерения тока.

[65]

[57] Аккумулятор 16 может подавать электропитание, используемое для работы устройства 10 для генерирования аэрозоля, под управлением контроллера 17. Аккумулятор 16 может подавать электропитание к другим компонентам, предусмотренным в устройстве 100 для генерирования аэрозоля. Например, аккумулятор 16 может подавать питание к модулю связи, входящему в интерфейс 11 связи, устройству вывода, входящему в состав интерфейса 12 ввода/вывода, и нагревателю, входящему в состав модуля 13 для генерирования аэрозоля.

[66]

[58] Аккумулятор 16 может представлять собой перезаряжаемый аккумулятор или одноразовый аккумулятор. Например, аккумулятор 16 может представлять собой литий-ионный (Li-ion) или литий-полимерный (Li-polymer) аккумулятор. Тем не менее, настоящее изобретение не ограничено этим вариантом. Например, когда аккумулятор 16 представляет собой перезаряжаемый аккумулятор, скорость заряда (C-rate) аккумулятора 16 может составлять 10C, а скорость разряда (C-rate) может составлять от 10C до 20C. Тем не менее, настоящее изобретение не ограничено этим вариантом. Кроме того, для стабильного использования аккумулятор 16 может быть выполнен таким образом, чтобы 80 % и более от общей емкости могло быть обеспечено даже после 2000 циклов зарядки/разрядки.

[67]

[59] Устройство 10 для генерирования аэрозоля может дополнительно содержать модуль схемы защиты аккумулятора (PCM) (не показан), который представляет собой схему защиты аккумулятора 16. Модуль схемы защиты аккумулятора (PCM) может быть расположен рядом с верхней поверхностью аккумулятора 16. Например, чтобы предотвратить избыточную зарядку и чрезмерную разрядку аккумулятора 16, модуль схемы защиты аккумулятора (PCM) может отключать электрическую цепь к аккумулятору 16 при возникновении короткого замыкания в цепи, подключенной к аккумулятору 16, когда избыточное напряжение подается на аккумулятор 16, или, когда через аккумулятор 16 протекает избыточный ток.

[68]

[60] Устройство 10 для генерирования аэрозоля может дополнительно содержать зарядную клемму, на которую подают электропитание извне. Например, зарядная клемма может быть сформирована на одной стороне основного корпуса устройства 100 для генерирования аэрозоля. Устройство 10 для генерирования аэрозоля может заряжать аккумулятор 16 электропитанием, поступающим через зарядную клемму. В этом случае зарядная клемма может быть выполнена в виде проводной клеммы USB-связи, пружинного контакта и т. п.

[69]

[61] Устройство 10 для генерирования аэрозоля может дополнительно содержать клемму питания (не показана), через которую подают электропитание извне. Например, линия питания может быть соединена с клеммой питания, расположенной на одной стороне основного корпуса устройства 100 для генерирования аэрозоля. Устройство 10 для генерирования аэрозоля может использовать электропитание, подаваемое по линии питания, соединенной с клеммой питания, для зарядки аккумулятора 16. В этом случае клемма питания может быть проводной клеммой для USB связи.

[70]

[62] Устройство 10 для генерирования аэрозоля может по беспроводной сети получать электропитание извне через интерфейс 11 связи. Например, устройство 10 для генерирования аэрозоля может получать электропитание по беспроводной связи с использованием антенны, входящей в состав модуля связи, для беспроводной связи. Устройство 10 для генерирования аэрозоля может заряжать аккумулятор 16 с помощью электропитания, подаваемого по беспроводной сети.

[71]

[63] Контроллер 17 может управлять работой устройства 100 для генерирования аэрозоля в целом. Контроллер 17 может быть связан с каждым из компонентов, предусмотренных в устройстве 100 для генерирования аэрозоля. Контроллер 17 может передавать и/или принимать сигнал к каждому из компонентов и/или от него, тем самым управляя работой каждого из компонентов в целом.

[72]

[64] Контроллер 17 может содержать по меньшей мере один процессор. Контроллер 17 может управлять работой устройства 10 для генерирования аэрозоля в целом с помощью встроенного в него процессора. В данном случае процессор может быть универсальным процессором, таким как центральный процессор (CPU). Несомненно, процессор может быть специализированным устройством, таким как специализированная интегральная микросхема (ASIC), или может быть любым другим процессором на основе аппаратного обеспечения.

[73]

[65] Контроллер 17 может выполнять любую из множества функций устройства 100 для генерирования аэрозоля. Например, контроллер 17 может выполнять любую из множества функций устройства 10 для генерирования аэрозоля (например, функцию предварительного нагрева, функцию нагрева, функцию зарядки и функцию очистки) в соответствии с состоянием каждого из компонентов, предусмотренных в устройстве 10 для генерирования аэрозоля, и командой пользователя, полученной через интерфейс 12 ввода/вывода.

[74]

[66] Контроллер 17 может управлять работой каждого из компонентов, предусмотренных в устройстве 10 для генерирования аэрозоля, на основании данных, хранящихся в памяти 14. Например, контроллер 17 может управлять подачей предварительно заданного количества электропитания от аккумулятора 16 к модулю 13 для генерирования аэрозоля в течение предварительно заданного времени на основании данных о профиле температуры, профиле электропитания и паттерне вдыхания пользователя, хранящихся в памяти 14.

[75]

[67] Контроллер 17 может определять наличие или отсутствие затяжки с помощью датчика затяжки, входящего в состав сенсорного модуля 15. Например, контроллер 17 может отслеживать изменение температуры, изменение расхода, изменение давления и изменение напряжения в устройстве 10 для генерирования аэрозоля на основании значений, измеренных датчиком затяжки. Контроллер 17 может определять наличие или отсутствие затяжки на основании значения, полученного датчиком затяжки.

[76]

[68] Контроллер 17 может управлять работой каждого из компонентов, предусмотренных в устройстве 10 для генерирования аэрозоля, в соответствии с наличием или отсутствием затяжки и/или количеством затяжек. Например, контроллер 17 может осуществлять управление таким образом, чтобы температура нагревателя изменялась или поддерживалась в соответствии с профилем температуры, хранящимся в памяти 14.

[77]

[69] Контроллер 17 может осуществлять управление таким образом, чтобы подача электропитания к нагревателю прерывалась в соответствии с предварительно заданным условием. Например, контроллер 17 может осуществлять управление таким образом, что подача электропитания к нагревателю прерывается при извлечении стика, при отсоединении картриджа, когда количество затяжек достигает предварительно заданного максимального количества затяжек, когда затяжка не ощущается в течение предварительно заданного периода времени или дольше, или, когда оставшаяся емкость аккумулятора 16 меньше предварительно заданного значения.

[78]

[70] онтроллер 17 может вычислять оставшуюся емкость по отношению к полной зарядной емкости аккумулятора 16. Например, контроллер 17 может вычислять оставшуюся емкость аккумулятора 16 на основании значений, полученных датчиком напряжения и/или датчиком тока, входящим в состав сенсорного модуля 15.

[79]

[71] Контроллер 17 может осуществлять управление таким образом, чтобы электропитание поступало на нагреватель посредством широтно-импульсной модуляции (ШИМ) и/или пропорционально-интегрально-дифференциального (ПИД) регулирования.

[80]

[72] Например, контроллер 17 может осуществлять управление таким образом, чтобы импульс тока, имеющий предварительно заданную частоту и предварительно заданный коэффициент заполнения, поступал на нагреватель посредством способа ШИМ. В этом случае контроллер 17 может управлять количеством электропитания, поступающего к нагревателю, путем регулирования частоты и коэффициента заполнения импульса тока.

[81]

[73] Например, контроллер 17 может определять заданную температуру, подлежащую регулированию, на основании профиля температуры. В этом случае контроллер 17 может управлять количеством электропитания, поступающего на нагреватель, посредством ПИД-регулирования, которое представляет собой способ управления с обратной связью с использованием значения разности между температурой нагревателя и заданной температурой, значения, полученного путем интегрирования значения разности по времени, и значения, полученного путем дифференцирования значения разности по времени.

[82]

[74] Хотя способы ШИМ и ПИД описаны в качестве примеров способов управления подачей электропитания на нагреватель, настоящее изобретение не ограничивается ими, и может использовать любой из различных способов регулирования, например, пропорционально-интегральный (ПИ) или пропорционально-дифференциальный (ПД) способ.

[83]

[75] Между тем, контроллер 17 может осуществлять управление таким образом, чтобы подача электропитания к нагревателю прерывалась в соответствии с предварительно заданным условием. Например, когда функцию очистки для очистки пространства, в которое вставлен стик, выбирают в ответ на команду, введенную пользователем через интерфейс 12 ввода/вывода, контроллер 17 может осуществлять управление таким образом, чтобы обеспечить подачу предварительно заданного количества электропитания к нагревателю.

[84]

[76] На ФИГ. 2 и 3 изображены виды, иллюстрирующие устройство для генерирования аэрозоля согласно вариантам осуществления настоящего изобретения.

[85]

[77] В соответствии с различными вариантами осуществления настоящего изобретения устройство 10 для генерирования аэрозоля может содержать основной корпус 100 и/или картридж 200.

[86]

[78] Стик 20 может состоять из первой части, содержащей материал для генерирования аэрозоля, и второй части, содержащей фильтр или иной подобный элемент. В альтернативном варианте материал для генерирования аэрозоля может содержаться во второй части стика 20. Например, вкусо-ароматизирующее вещество в форме гранул или капсул может быть введено во вторую часть.

[87]

[79] Первая часть может быть полностью вставлена в пространство для введения устройства 10 для генерирования аэрозоля, а вторая часть может быть выведена наружу. В альтернативном варианте только один участок первой части может быть вставлен в пространство для введения устройства 10 для генерирования аэрозоля, или же может быть вставлен участок первой части и участок второй части. В этом случае аэрозоль может быть сгенерирован, когда наружный воздух проходит через первую часть, после чего сгенерированный аэрозоль может быть доставлен в рот пользователя через вторую часть.

[88]

[80] Как показано на ФИГ. 2, устройство 10 для генерирования аэрозоля согласно одному из вариантов осуществления изобретения может содержать основной корпус 100 и картридж 200. Основной корпус 100 может поддерживать картридж 200, и картридж 200 может содержать вещество для генерирования аэрозоля.

[89]

[81] Согласно одному из вариантов осуществления изобретения картридж 200 может быть установлен на основном корпусе 100 с возможностью отсоединения. Согласно другому варианту осуществления изобретения картридж 200 может быть выполнен как одно целое с основным корпусом 100. Например, картридж 200 может быть установлен на основном корпусе 100 таким образом, чтобы по меньшей мере часть картриджа 200 была вставлена в пространство для введения, образованное отсеком 101 основного корпуса 100.

[90]

[82] Основной корпус 100 может иметь такую конструкцию, чтобы наружный воздух мог поступать в основной корпус 100 в состоянии, в котором в нее вставлен картридж 200. В этом случае наружный воздух, поступающий в основной корпус 100, может поступать в рот пользователя через картридж 200.

[91]

[83] Контроллер 17 может определять, находится ли картридж 200 в установленном или отсоединенном состоянии, используя датчик обнаружения картриджа, входящий в состав сенсорного модуля 15. Например, датчик обнаружения картриджа может передавать импульсный ток через первую клемму, соединенную с картриджем 200. В этом случае контроллер 17 может определять, находится ли картридж 200 в соединенном состоянии, основываясь на том, принимается ли импульсный ток через другую клемму.

[92]

[84] Картридж 200 может содержать нагреватель 210, выполненный с возможностью нагревания вещества для генерирования аэрозоля, и/или резервуар 220, выполненный с возможностью содержания вещества для генерирования аэрозоля. Например, элемент для доставки жидкости, пропитанный (содержащий) веществом для генерирования аэрозоля, может быть расположен внутри резервуара 220. Электропроводящая дорожка нагревателя 210 может быть выполнена в виде структуры, которая обвита вокруг элемента для доставки жидкости. В этом случае, когда элемент для доставки жидкости нагревают нагревателем 210, может быть сгенерирован аэрозоль. Элемент для доставки жидкости может содержать фитиль, выполненный, например, из хлопкового волокна, керамического волокна, стеклянного волокна или пористого керамического материала.

[93]

[85] Картридж 200 может содержать пространство 230 для введения, выполненное с возможностью введения в него стика 20. Например, картридж 200 может содержать пространство для введения, образованное внутренней стенкой, проходящей в окружном направлении в направлении, в котором вставляют стик 20. В этом случае пространство для введения может быть образовано путем открытия внутренней стороны внутренней стенки вверх и вниз. Стик 20 может быть вставлен в пространство для введения, образованное внутренней стенкой.

[94]

[86] Пространство для введения, в которое вставляют стик 20, может быть выполнено в форме, соответствующей форме части стика 20, вставленной в пространство для введения. Например, если стик 20 имеет цилиндрическую форму, пространство для введения может иметь цилиндрическую форму.

[95]

[87] Когда стик 20 вставлен в пространство для введения, внешняя поверхность стика 20 может быть окружена внутренней стенкой и соприкасаться с внутренней стенкой.

[96]

[88] Часть стика 20 может быть вставлена в пространство для введения, а оставшаяся часть стика 20 может быть выведена наружу.

[97]

[89] Пользователь может вдыхать аэрозоль, прикусывая один конец стика 20 ртом. Аэрозоль, генерируемый нагревателем 210, может проходить через стик 20 и поступать в рот пользователя. В это время, когда аэрозоль проходит через стик 20, материал, содержащийся в стике 20, может быть добавлен к аэрозолю. Аэрозоль, полученный из материала, может поступать в полость рта пользователя через один конец стика 20.

[98]

[90] Как показано на ФИГ. 3, устройство 10 для генерирования аэрозоля согласно одному из вариантов осуществления изобретения может содержать основной корпус 100, поддерживающий картридж 200, и картридж 200, содержащий вещество для генерирования аэрозоля. Основной корпус 100 может быть выполнен таким образом, чтобы стик 20 можно было вставить в пространство 130 для введения внутри стика.

[99]

[91] Устройство 10 для генерирования аэрозоля может содержать первый нагреватель для нагревания вещества для генерирования аэрозоля, содержащегося в картридже 200. Например, когда пользователь держит один конец стика 20 во рту для вдыхания аэрозоля, аэрозоль, генерируемый первым нагревателем, может проходить через стик 20. В это время, когда аэрозоль проходит через стик 20, к аэрозолю может быть добавлен ароматизатор. Аэрозоль, содержащий ароматизатор, может быть втянут в полость рта пользователя через один конец стика 20.

[100]

[92] В альтернативном варианте в соответствии с другим вариантом осуществления изобретения, устройство 10 для генерирования аэрозоля может содержать первый нагреватель для нагревания вещества для генерирования аэрозоля, содержащегося в картридже 200, и второй нагреватель для нагревания стика 20, вставленного в основной корпус 100. Например, устройство 10 для генерирования аэрозоля может генерировать аэрозоль путем нагревания вещества для генерирования аэрозоля, содержащегося в картридже 200, и стика 20, с использованием первого нагревателя и второго нагревателя, соответственно.

[101]

[93] На ФИГ. 4 и 6 изображены виды, иллюстрирующие стик согласно вариантам осуществления настоящего изобретения.

[102]

[94] Как показано на ФИГ. 4, стик 20 может содержать табачный стержень 21 и фильтрующий стержень 22. Первая часть, раскрытая выше со ссылкой на ФИГ. 2 и 3, может содержать табачный стержень. Вторая часть, раскрытая выше со ссылкой на ФИГ. 2 и 3, может содержать фильтрующий стержень 22.

[103]

[95] На ФИГ. 4 показано, что фильтрующий стержень 22 содержит один сегмент. Тем не менее, исполнение фильтрующего стержня 22 не ограничивается данным вариантом. Другими словами, фильтрующий стержень 22 может содержать несколько сегментов. Например, фильтрующий стержень 22 может содержать первый сегмент, выполненный с возможностью охлаждения аэрозоля, и второй сегмент, выполненный с возможностью фильтрации определенного компонента, содержащегося в аэрозоле. Кроме того, при необходимости фильтрующий стержень 22 может дополнительно содержать по меньшей мере один сегмент, выполненный с возможностью осуществления других функций.

[104]

[96] Диаметр стика 20 может составлять от 5 до 9 мм, а его длина может составлять примерно 48 мм, но варианты осуществления изобретения не ограничиваются этим вариантом. Например, длина табачного стержня 21 может составлять примерно 12 мм, длина первого сегмента фильтрующего стержня 22 может составлять примерно 10 мм, длина второго сегмента фильтрующего стержня 22 может составлять примерно 14 мм, а длина третьего сегмента фильтрующего стержня 22 может составлять примерно 12 мм, но варианты осуществления изобретения не ограничиваются этим вариантом.

[105]

[97] Стик 20 может быть обернут, по меньшей мере, одной оберткой 24. Обертка 24 может иметь по меньшей мере одно отверстие, через которое может поступать наружный воздух или выходить внутренний воздух. Например, стик 20 может быть обернут одной оберткой 24. В другом примере стик 20 может быть обернут по меньшей мере двумя обертками 24. Например, табачный стержень 21 может быть обернут первой оберткой 241. Например, фильтрующий стержень 22 может быть обернут обертками 242, 243, 244. Табачный стержень 21 и фильтрующий стержень 22, обернутые обертками, могут быть объединены. Стик 20 может быть повторно обернут единственной оберткой 245. Если и табачный стержень 21, и фильтрующий стержень 22 содержат несколько сегментов, каждый сегмент может быть обернут обертками 242, 243, 244. Весь стик 20, состоящий из нескольких сегментов, обернутых обертками, может быть повторно обернут другой оберткой.

[106]

[98] Первая обертка 241 и вторая обертка 242 могут быть изготовлены из оберточной бумаги общего назначения для фильтров. Например, первая обертка 241 и вторая обертка 242 могут быть выполнены из пористой или непористой оберточной бумаги. Кроме того, первая обертка 241 и вторая обертка 242 могут быть выполнены из маслостойкого бумажного листа и алюминиевого многослойного упаковочного материала.

[107]

[99] Третья обертка 243 может быть изготовлена из жесткой оберточной бумаги. Например, плотность материала третьей обертки 243 может составлять, в частности, от 88 г/м2 до 96 г/м2. Например, плотность материала третьей обертки 243 может составлять, в частности, от 90 г/м2 до 94 г/м2. Кроме того, общая толщина третьей обертки 243 может составлять от 120 до 130 мкм. Например, общая толщина третьей обертки 243 может составлять 125 мкм.

[108]

[100] Четвертая обертка 244 может быть изготовлена из маслостойкой жесткой оберточной бумаги. Например, плотность материала четвертой обертки 244 может составлять примерно от 88 г/м2 до 96 г/м2. Например, плотность материала четвертой обертки 244 может составлять, в частности, от 90 г/м2 до 94 г/м2. Таким образом, общая толщина четвертой обертки 244 может составлять от 120 до 130 мкм. Например, общая толщина четвертой обертки 244 может составлять 125 мкм.

[109]

[101] Пятая обертка 245 может быть изготовлена из стерилизованной бумаги (MFW). В данном случае под MFW понимают бумагу, специально изготовленную с приданием прочности на растяжение, водостойкости, гладкости и других подобных свойств, причем эти свойства улучшены по сравнению с обычной бумагой. Например, плотность материала пятой обертки 245 может составлять, в частности, от 57 г/м2 до 63 г/м2. Например, плотность пятой обертки 245 может составлять примерно 60 г/м2. Кроме того, общая толщина пятой обертки 245 может составлять от 64 до 70 мкм. Например, общая толщина пятой обертки 245 может составлять 67 мкм.

[110]

[102] В состав пятой обертки 245 может входить заранее определенный материал. Здесь примером заранее определенного материала может быть кремний; также возможны другие варианты. Например, кремний обладает такими характеристиками, как термостойкость с небольшими изменениями, обусловленными температурой, стойкостью к окислению, стойкостью к различным химическим веществам, водоотталкивающими свойствами, диэлектрическими свойствами и т. д. Тем не менее, любой материал, кроме кремния, может быть нанесен (или из него может быть сделано покрытие) на пятую обертку 245 без ограничения при условии, что этот материал обладает вышеупомянутыми характеристиками.

[111]

[103] Пятая обертка 245 может предотвращать горение стика 20. Например, когда табачный стержень 21 нагревают нагревателем 110, существует вероятность загорания стика 20. Точнее говоря, когда температура возрастает до температуры, превышающей точку воспламенения любого из материалов, входящих в состав табачного стержня 21, стик 20 может загореться. Даже в этом случае можно предотвратить горение стика 20, поскольку пятая обертка 245 содержит негорючий материал.

[112]

[104] Кроме того, пятая обертка 245 может предотвращать загрязнение устройства 100 для генерирования аэрозоля веществами, образуемыми стиком 20. В результате затяжки пользователя в стике 20 могут быть образованы жидкие вещества. Например, когда аэрозоль, образуемый стиком 20, охлаждается наружным воздухом, могут быть образованы жидкие материалы (например, влага и т. д.). Пятая обертка 245, обернутая вокруг стика 20, позволяет предотвратить утечку из стика 20 жидких материалов, образующихся в стике 20.

[113]

[105] Табачный стержень 21 может содержать материал для генерирования аэрозоля. Например, материал для генерирования аэрозоля может содержать по меньшей мере один из следующих компонентов: глицерин, пропиленгликоль, этиленгликоль, дипропиленгликоль, диэтиленгликоль, триэтиленгликоль, тетраэтиленгликоль и олеиловый спирт, а также другие компоненты. Кроме того, табачный стержень 21 может содержать иные добавки, в частности, ароматизаторы, увлажняющее вещество и/или органическую кислоту. Также табачный стержень 21 может содержать вкусо-ароматизированную жидкость, в частности, ментол или увлажнитель, впрыснутые в табачный стержень 21.

[114]

[106] Табачный стержень 21 может быть изготовлен в различных формах. Например, табачный стержень 21 может быть сформирован в виде листа или пряди. Кроме того, табачный стержень 21 может быть сформирован в виде трубочного табака, состоящего из крошечных кусочков, вырезанных из табачного листа. Кроме того, табачный стержень 21 может быть окружен теплопроводящим материалом. Например, теплопроводящий материал может представлять собой, помимо прочего, металлическую фольгу, такую как, например, алюминиевая фольга. Например, теплопроводящий материал, окружающий табачный стержень 21, может равномерно распределять тепло, передаваемое табачному стержню 21, что позволяет увеличить проводимость тепла, приложенного к табачному стержню, и улучшить вкусовые качества табака. Кроме того, теплопроводящий материал, окружающий табачный стержень 21, может служить токоприемником, нагреваемым индукционным нагревателем. В этом случае, хотя это не показано на чертежах, табачный стержень 21 может содержать дополнительный токоприемник наряду с теплопроводным материалом, окружающим табачный стержень 21.

[115]

[107] Фильтрующий стержень 22 может содержать фильтр из ацетата целлюлозы. Фильтрующий стержень 22 может иметь любую форму. Например, фильтрующий стержень 22 может иметь форму полого цилиндра или полой трубки. Кроме того, фильтрующий стержень 22 может содержать стержень с выемкой. Если фильтрующий стержень 22 содержит несколько сегментов, по меньшей мере один из нескольких сегментов может иметь отличающуюся форму.

[116]

[108] Первый сегмент фильтрующего стержня 22 может представлять собой фильтр из ацетата целлюлозы. Например, первый сегмент может быть выполнен в форме трубки с полой внутренней частью. Первый сегмент может препятствовать выталкиванию внутреннего материала табачного стержня 21, когда нагреватель 110 вставляют в табачный стержень 21, а также может охлаждать аэрозоль. Диаметр полости первого сегмента может составлять от 2 до 4,5 мм; также возможны другие варианты.

[117]

[109] Первый сегмент может иметь подходящую длину в диапазоне от 4 до 30 мм; также возможны другие варианты. Например, длина первого сегмента может составлять 10 мм; также возможны другие варианты.

[118]

[110] Второй сегмент фильтрующего стержня 22 может охлаждать аэрозоль, генерируемый нагревателем 110, нагревающим табачный стержень 21. Таким образом, пользователь может вдыхать аэрозоль, охлажденный до соответствующей температуры.

[119]

[111] Длина или диаметр второго сегмента может отличаться в зависимости от формы стика 20. Например, длина второго сегмента может составлять от 7 до 20 мм. Предпочтительно длина второго сегмента может составлять примерно 14 мм; также возможны другие варианты.

[120]

[112] Второй сегмент может быть изготовлен путем сплетения полимерного волокна. В этом случае на волокно, сформированное из полимера, также может быть нанесена вкусо-ароматизирующая жидкость. В альтернативном варианте второй сегмент может быть изготовлен путем сплетения дополнительного волокна, покрытого вкусо-ароматизирующей жидкостью, и волокна, сформированного из полимера. В альтернативном варианте второй сегмент может быть изготовлен из гофрированного полимерного листа.

[121]

[113] Например, полимер может быть выбран из группы, в которую входит полиэтилен (ПЭ), полипропилен (ПП), поливинилхлорид (ПВХ), полиэтилентерефталат (ПЭТ), полилактид (ПЛА), ацетат целлюлозы (ЦА) и алюминиевая фольга.

[122]

[114] Так как второй сегмент образован сплетенным полимерным волокном или гофрированным полимерным листом, то второй сегмент может содержать один или несколько каналов, ориентированных в продольном направлении. В данном случае под каналом понимают проход, по которому протекает газ (например, воздух или аэрозоль).

[123]

[115] Например, второй сегмент, изготовленный из гофрированного полимерного листа, может быть сформирован из материала толщиной примерно от 5 до 300 мкм, например, примерно от 10 до 250 мкм. Кроме того, общая площадь поверхности второго сегмента может составлять примерно от 300 мм2/мм до 1000 мм2/мм. Кроме того, элемент охлаждения аэрозоля может быть сформирован из материала с удельной площадью поверхности примерно от 10 мм2/мм до 100 мм2/мг.

[124]

[116] Второй сегмент может содержать нить, содержащую летучий вкусо-ароматический компонент. В данном случае летучим ароматическим ингредиентом может быть, в частности, ментол. Например, нить может быть заполнена достаточным количеством ментола, чтобы обеспечить содержание ментола во втором сегменте 1,5 мг и более.

[125]

[117] Третий сегмент фильтрующего стержня 22 может представлять собой фильтр из ацетата целлюлозы. Длина третьего сегмента может составлять от 4 до 20 мм. Например, длина третьего сегмента может составлять примерно 12 мм, но также возможны и другие варианты.

[126]

[118] Фильтрующий стержень 22 может быть изготовлен с возможностью получения вкусов и ароматов. Например, вкусо-ароматизирующая жидкость может быть впрыснута в фильтрующий стержень 22. Например, дополнительные волокна, покрытые ароматизирующей жидкостью, могут быть вставлены в фильтрующий стержень 22.

[127]

[119] Кроме того, фильтрующий стержень 22 может содержать по меньшей мере одну капсулу 23. В данном случае капсула 23 может генерировать вкус и аромат. Капсула 23 может генерировать аэрозоль. Например, капсула 23 может иметь конфигурацию, в которой жидкость, содержащая ароматизирующий материал, обернута пленкой. Капсула 23 может иметь форму сферы или цилиндра, но также возможны и другие варианты.

[128]

[120] Как показано на ФИГ. 5, стик 30 может дополнительно содержать переднюю заглушку 33. Передняя заглушка 33 может быть расположена на стороне табачного стержня 31, противоположной фильтрующему стержню 32. Передняя заглушка 33 может препятствовать отсоединению табачного стержня 31 и попаданию сжиженного аэрозоля в устройство 10 для генерирования аэрозоля из табачного стержня 31 во время курения.

[129]

[121] Фильтрующий стержень 32 может содержать первый сегмент 321 и второй сегмент 322. Первый сегмент 321 может соответствовать первому сегменту фильтрующего стержня 22 на ФИГ. 4. Сегмент 322 может соответствовать третьему сегменту фильтрующего стержня 22 на ФИГ. 4.

[130]

[122] Диаметр и общая длина стика 30 могут соответствовать диаметру и общей длине стика 20 на ФИГ. 4. Например, длина передней заглушки 33 может составлять примерно 7 мм, длина табачного стержня 31 - примерно 15 мм, длина первого сегмента 321 - примерно 12 мм, а длина второго сегмента 322 - примерно 14 мм, но варианты осуществления изобретения не ограничиваются этим вариантом.

[131]

[123] Стик 30 может быть обернут, по меньшей мере, одной оберткой 35. Обертка 35 может иметь по меньшей мере одно отверстие, через которое может поступать наружный воздух или выходить внутренний воздух. Например, передняя заглушка 33 может быть обернута в первую обертку 351, табачный стержень 31 - во вторую обертку 352, первый сегмент 321 - в третью обертку 353, а второй сегмент 322 - в четвертую обертку 354. Кроме того, весь стик 30 может быть повторно обернут пятой оберткой 355.

[132]

[124] Кроме того, пятая обертка 355 может иметь по меньшей мере одну перфорацию 36. Например, перфорация 36 может быть выполнена, в частности, в области пятой обертки 355, окружающей табачный стержень 31. Например, перфорация 36 может служить для передачи тепла, генерируемого нагревателем 210, показанным на ФИГ. 3, в табачный стержень 31.

[133]

[125] Также второй сегмент 322 может содержать по меньшей мере одну капсулу 34. В данном случае капсула 34 может генерировать вкус и аромат. Капсула 34 может генерировать аэрозоль. Например, капсула 34 может иметь конфигурацию, в которой жидкость, содержащая вкусо-ароматизирующий материал, обернута пленкой. Капсула 34 может иметь форму сферы или цилиндра, но также возможны и другие варианты.

[134]

[126] Первая обертка 351 может быть изготовлена путем комбинирования оберточной бумаги общего назначения для фильтров и металлической фольги, например, алюминиевой фольги. Например, общая толщина первой обертки 351 может составлять от 45 до 55 мкм. Например, общая толщина первой обертки 351 может составлять 50,3 мкм. Кроме того, толщина металлической фольги первой обертки 351 может составлять от 6 до 7 мкм. Например, толщина металлической фольги первой обертки 351 может составлять 6,3 мкм. Кроме того, плотность материала первой обертки 351 может составлять от 50 г/м2 до 55 г/м2. Например, плотность первой обертки 351 может составлять 53 г/м2.

[135]

[127] Вторая обертка 352 и третья обертка 353 могут быть изготовлены из оберточной бумаги общего назначения для фильтров. Например, вторая обертка 352 и третья обертка 353 могут быть изготовлены из пористой или непористой оберточной бумаги.

[136]

[128] Например, пористость второй обертки 352 может составлять 35 000 УЕ; также возможны другие варианты. Кроме того, толщина второй обертки 352 может составлять от 70 до 80 мкм. Например, толщина второй обертки 352 может составлять 78 мкм. Плотность материала второй обертки 352 может составлять от 20 г/м2 до 25 г/м2. Например, плотность второй обертки 352 может составлять 23,5 г/м2.

[137]

[129] Например, пористость третьей обертки 353 может составлять 24 000 УЕ; также возможны другие варианты. Кроме того, толщина третьей обертки 353 может составлять примерно от 60 до 70 мкм. Например, толщина третьей обертки 353 может составлять 68 мкм. Плотность третьей обертки 353 может составлять примерно от 20 г/м2 до 25 г/м2. Например, плотность третьей обертки 353 может составлять 21 г/м2.

[138]

[130] етвертая обертка 354 может быть сформирована из ламинированной полилактидом бумаги. В данном случае под ламинированной полилактидом бумагой понимают трехслойную бумагу, содержащую бумажный слой, слой полилактида и бумажный слой. Например, толщина четвертой обертки 353 может составлять от 100 до 120 мкм. Например, толщина четвертой обертки 353 может составлять 110 мкм. Кроме того, плотность четвертой обертки 354 может составлять от 80 г/м2 до 100 г/м2. Например, плотность четвертой обертки 354 может составлять 88 г/м2.

[139]

[131] Пятая обертка 355 может быть изготовлена из стерилизованной бумаги (MFW). В данном случае под стерилизованной бумагой (MFW) понимается бумага, специально изготовленная для повышения прочности на разрыв, водостойкости, гладкости и т. п. по сравнению с обычной бумагой. Например, плотность материала пятой обертки 355 может составлять от 57 г/м2 до 63 г/м2. Например, плотность пятой обертки 355 может составлять 60 г/м2. Кроме того, толщина пятой обертки 355 может составлять от 64 до 70 мкм. Например, толщина пятой обертки 355 может составлять 67 мкм.

[140]

[132] Пятая обертка 355 может содержать добавленный к ней заданный материал. Примером материала может служить кремний, но возможны и другие материалы. Кремний обладает такими характеристиками, как термостойкость, устойчивость к температурным режимам, стойкость к окислению, стойкость к воздействию различных химических веществ, водоотталкивающие свойства, диэлектрические свойства и др. Помимо кремния, на пятую обертку 355 могут быть нанесены (или покрыты) любые другие материалы, обладающие раскрытыми выше характеристиками, без ограничений.

[141]

[133] Передняя заглушка 33 может быть изготовлена из ацетата целлюлозы. Например, передняя заглушка 33 может быть сформирована посредством добавления пластификатора (например, триацетина) в волокно ацетата целлюлозы. Моноденье нитей, составляющих волокно ацетата целлюлозы, может составлять от 1,0 до 10,0. Например, моноденье нитей, составляющих волокно ацетата целлюлозы, может составлять от 4,0 до 6,0. Моноденье нитей передней заглушки 33 может составлять 5,0. Кроме того, сечение нитей передней заглушки 33 может иметь Y-образную форму. Общий денье передней заглушки 33 может составлять от 20 000 до 30 000. Например, общий денье передней заглушки 33 может составлять от 25 000 до 30 000. Например, общий денье передней заглушки 33 может составлять 28000.

[142]

[134] Кроме того, при необходимости передняя заглушка 33 может содержать по меньшей мере один канал. Поперечное сечение канала может иметь различные формы.

[143]

[135] Табачный стержень 31 может соответствовать табачному стержню 21, раскрытому выше со ссылкой на ФИГ. 4. Таким образом, здесь и далее подробное описание табачного стержня 31 будет опущено.

[144]

[136] Первый сегмент 321 может быть изготовлен из ацетата целлюлозы. Например, первый сегмент 321 может быть выполнен в форме трубки с полой внутренней частью. Например, первый сегмент 321 может быть изготовлен путем добавления пластификатора (например, триацетина) в волокно ацетата целлюлозы. Например, моноденье и общий денье первого сегмента 321 могут совпадать с моноденье и общим денье передней заглушки 33.

[145]

[137] Второй сегмент 322 может быть изготовлен из ацетата целлюлозы. Моноденье нити второго сегмента 322 может составлять от 1,0 до 10,0. Например, моноденье нитей второго сегмента 322 может составлять примерно от 8,0 до 10,0. Например, моноденье нити второго сегмента 322 может составлять 9,0. Кроме того, поперечный разрез нити второго сегмента 322 может иметь Y-образную форму. Общий денье второго сегмента 322 может составлять от 20 000 до 30 000. Например, общий денье второго сегмента 322 может составлять 25000.

[146]

[138] Как показано на ФИГ. 6, вышеупомянутый стик 40 может содержать часть 410 среды. Стик 40 может содержать охлаждающую часть 420. Стик 40 может содержать фильтрующую часть 430. Охлаждающая часть 420 может быть расположена между частью 410 среды и фильтрующей частью 430. Стик 40 может содержать обертку 440. Обертка 440 может обертывать часть 410 среды. Обертка 440 может обертывать охлаждающую часть 420. Обертка 440 может обертывать фильтрующую часть 430. Стик 40 может иметь цилиндрическую форму.

[147]

[139] Часть 410 среды может содержать среду 411. Часть 410 среды может содержать первую крышку 413 среды. Часть 410 среды может содержать вторую крышку 415 среды. Среда 411 может быть расположена между первой крышкой 413 среды и второй крышкой 415 среды. Первая крышка 413 среды может быть расположена на одном конце стика 40. Длина части 410 среды может составлять 24 мм.

[148]

[140] Среда 411 может содержать многокомпонентное вещество. Вещество, содержащееся в среде, может представлять собой многокомпонентное вкусо-ароматизирующее вещество. Среда 411 может состоять из множества гранул. Размер каждой из множества гранул может составлять от 0,4 мм до 1,12 мм. На гранулы может приходиться примерно 70% объема среды 411. Длина L2 среды 411 может составлять 10 мм. Первая крышка 413 среды может быть изготовлена из ацетатного материала. Вторая крышка 415 среды может быть изготовлена из ацетатного материала. Первая крышка 413 среды может быть изготовлена из бумажного материала. Вторая крышка 415 среды может быть изготовлена из бумажного материала. Первая крышка 413 среды и/или вторая крышка 415 среды могут быть изготовлены из бумажного материала и могут быть смяты с образованием складок, и между складками может быть образовано множество зазоров таким образом, чтобы через них проходил воздух. Каждый из зазоров может быть меньше каждой гранулы среды 411. Длина L1 первой крышки 413 среды может быть меньше длины L2 среды 411. Длина L3 второй крышки 415 среды может быть меньше длины L2 среды 411. Длина L1 первой крышки 413 среды может составлять 7 мм. Длина L2 второй крышки 415 среды может составлять 7 мм.

[149]

[141] Соответственно, можно предотвратить отделение каждой гранулы среды 411 от части 410 среды и стика 40.

[150]

[142] Охлаждающая часть 420 может иметь цилиндрическую форму. Охлаждающая часть 420 может иметь полую форму. Охлаждающая часть 420 может быть расположена между частью 410 среды и фильтрующей частью 430. Охлаждающая часть 420 может быть расположена между второй крышкой 415 среды и фильтрующей частью 430. Охлаждающая часть 420 может быть выполнена в форме трубки, окружающей сформированный в ней охлаждающий канал 424. Толщина охлаждающей части 420 может быть больше толщины обертки 440. Охлаждающая часть 420 может быть изготовлена из бумажного материала, толщина которого превышает толщину обертки 440. Длина L4 охлаждающей части 420 может быть равна или близка к длине L2 среды 411. Длина L4 охлаждающей части 420 и охлаждающего канала 424 может составлять 10 мм. Когда стик 40 вставлен в устройство для генерирования аэрозоля, по меньшей мере часть охлаждающей части 420 может выступать наружу из устройства для генерирования аэрозоля.

[151]

[143] Соответственно, охлаждающая часть 420 может поддерживать часть 410 среды и фильтрующую часть 430 и обеспечивать жесткость стика 40. Кроме того, охлаждающая часть 420 может поддерживать обертку 440 между частью 410 среды и фильтрующей частью 430 и может образовывать часть, к которой прилегает обертка 440. Кроме того, нагретый воздух и аэрозоль могут охлаждаться при прохождении по охлаждающему каналу 424 в охлаждающей части 420.

[152]

[144] Фильтрующая часть 430 может представлять собой фильтр, изготовленный из ацетатного материала. Фильтрующая часть 430 может быть расположена на другом конце стика 40. Когда стик 40 вставлен в устройство для генерирования аэрозоля, фильтрующая часть 430 может выступать наружу из устройства для генерирования аэрозоля. Пользователь может вдыхать воздух, удерживая фильтрующую часть 430 во рту. Длина L5 фильтрующей части 430 может составлять 14 мм.

[153]

[145] Обертка 440 может обертывать или окружать часть 410 среды, охлаждающую часть 420 и фильтрующую часть 430. Обертка 440 может определять внешний вид стика 40. Обертка 440 может быть изготовлена из бумажного материала. Клейкая часть 441 может быть сформирована вдоль одной кромки обертки 440. Обертка 440 может окружать часть 410 среды, охлаждающую часть 420 и фильтрующую часть 430, а клейкая часть 441, сформированная вдоль одной кромки обертки 440, и другая ее кромка могут быть приклеены друг к другу. Обертка 440 может окружать часть 410 среды, охлаждающую часть 420 и фильтрующую часть 430, но может не покрывать один или другой конец стика 40.

[154]

[146] Соответственно, обертка 440 может фиксировать часть 410 среды, охлаждающую часть 420 и фильтрующую часть 430 и предотвращать отделение этих компонентов от стика 40.

[155]

[147] Первая тонкая пленка 443 может быть расположена в положении, соответствующем первой крышке 413 среды. Первая тонкая пленка 443 может быть расположена между оберткой 440 и первой крышкой 413 среды или снаружи обертки 440. Первая тонкая пленка 443 может окружать первую крышку 413 среды. Первая тонкая пленка 443 может быть изготовлена из металлического материала. Первая тонкая пленка 443 может быть изготовлена из алюминиевого материала. Первая тонкая пленка 443 может находиться в плотном контакте с оберткой 440 или покрывать ее.

[156]

[148] Вторая тонкая пленка 445 может быть расположена в положении, соответствующем второй крышке 415 среды. Вторая тонкая пленка 445 может быть расположена между оберткой 440 и второй крышкой 415 среды или снаружи обертки 440. Вторая тонкая пленка 445 может быть изготовлена из металлического материала. Вторая тонкая пленка 445 может быть изготовлена из алюминиевого материала. Вторая тонкая пленка 445 может находиться в плотном контакте с оберткой 440 или покрывать ее.

[157]

[149] На ФИГ. 7 изображена схема, иллюстрирующая конфигурацию устройства для генерирования аэрозоля согласно одному из вариантов осуществления настоящего изобретения.

[158]

[150] Как показано на ФИГ. 7, устройство 10 для генерирования аэрозоля может содержать основной корпус 100 и картридж 200.

[159]

[151] Основной корпус 100 может содержать контроллер 17, память 140 и/или датчик 150 затяжки, предназначенный для обнаружения затяжки.

[160]

[152] Картридж 200 может содержать нагреватель 210 и/или память 240.

[161]

[153] В памяти 140 основного корпуса 100 могут храниться данные о компонентах, содержащихся в основном корпусе 100. Например, в памяти 140 основного корпуса 100 могут храниться данные об общей емкости аккумулятора 16.

[162]

[154] В памяти 240 картриджа 200 могут храниться данные о компонентах, содержащихся в картридже 200. Например, в памяти 240 картриджа 200 могут храниться данные о значении сопротивления нагревателя 210, данные профиля температуры, данные о веществе для генерирования аэрозоля, хранящиеся в блоке 220 хранения, и данные о предварительно заданном количестве затяжек.

[163]

[155] Основной корпус 100 может содержать, по меньшей мере, одну соединительную клемму 180, и картридж 200 может содержать, по меньшей мере, одну соединительную клемму 280. Когда основной корпус 100 и картридж 200 соединены друг с другом, соединительная клемма 180 основного корпуса 100 и соединительная клемма 280 картриджа 200 могут быть электрически соединены друг с другом.

[164]

[156] Контроллер 17 основного корпуса 100 и память 240 картриджа 200 могут обмениваться данными друг с другом. Например, контроллер 17 основного корпуса 100 и память 240 картриджа 200 могут обмениваться данными в соответствии с предварительно заданным протоколом с использованием однопроводного интерфейса связи. В этом случае возможна передача сигнала между контроллером 17 основного корпуса 100 и памятью 240 картриджа 200 через соединительные клеммы 180 и 280 основного корпуса 100 и картриджа 200.

[165]

[157] Контроллер 17 может получать данные из памяти 240 картриджа 200. Например, контроллер 17 может принимать по меньшей мере часть данных, хранящихся в памяти 240 картриджа 200, из памяти 240 картриджа 200.

[166]

[158] Контроллер 17 может проверять данные, хранящиеся в памяти 240 картриджа 200. Например, контроллер 17 может проверять значение сопротивления нагревателя 210, соответствующее опорной температуре и температурному коэффициенту сопротивления нагревателя 210, на основании выборки данных о нагревателе 210 из различных типов данных, хранящихся в памяти 240 картриджа 200. Например, контроллер 17 может проверять компоненты вещества для генерирования аэрозоля и соотношение этих компонентов на основании выборки данных о веществе для генерирования аэрозоля из различных типов данных, хранящихся в памяти 240 картриджа 200.

[167]

[159] Контроллер 17 может обрабатывать данные, хранящиеся в памяти 240 картриджа 200. Например, контроллер 17 может добавлять новые данные к данным, хранящимся в памяти 240 картриджа 200. Например, контроллер 17 может изменять или удалять данные, хранящиеся в памяти 240 картриджа 200.

[168]

[160] Контроллер 17 может определять действительность данных, хранящихся в памяти 240 картриджа 200. Например, контроллер 17 может определять действительность данных о нагревателе 210 на основании определения того, находится ли величина сопротивления нагревателя 210, включенная в данные о нагревателе 210, в пределах предварительно заданного диапазона сопротивления. Например, контроллер 17 может определять действительность данных о нагревателе 210 на основании определения того, находится ли температурный коэффициент сопротивления нагревателя 210, включенный в данные о нагревателе 210, в пределах заданного диапазона температурного коэффициента сопротивления. Например, контроллер 17 может определять действительность данных профиля температуры на основании определения того, хранится ли предварительно заданное количество профилей температуры в данных профилей температуры.

[169]

[161] В одном из вариантов осуществления изобретения данные, хранящиеся в памяти 240 картриджа 200, могут быть зашифрованы.

[170]

[162] Контроллер 17 может расшифровать данные, хранящиеся в памяти 240 картриджа 200, в соответствии с предварительно заданным критерием. Например, контроллер 17 может расшифровать данные, хранящиеся в памяти 240 картриджа 200, на основании ключа шифрования, хранящегося в памяти 140 основного корпуса 100. В этом случае, когда данные, хранящиеся в памяти 240 картриджа 200, будут полностью расшифрованы, контроллер 17 может определить, что картридж 200 является разрешенным картриджем.

[171]

[163] Контроллер 17 может добавлять зашифрованные данные в память 240 картриджа 200 в соответствии с предварительно заданным критерием. Например, контроллер 17 может передавать данные о количестве обнаруженных затяжек датчиком 150 затяжки, зашифрованные на основании ключа шифрования, хранящегося в памяти 140 основного корпуса 100, в память 240 картриджа 200.

[172]

[164] В настоящем изобретении ключ шифрования, используемый для шифрования, и ключ шифрования, используемый для расшифрования, используют одну и ту же схему симметричного шифрования (SKC). Тем не менее, настоящее изобретение не ограничено этим вариантом.

[173]

[165] Контроллер 17 может определять температуру нагревателя 210 на основании данных, хранящихся в памяти 240 картриджа 200. Например, контроллер 17 может определять значение сопротивления нагревателя 210 и температурный коэффициент сопротивления нагревателя 210 на основании данных о нагревателе 210, хранящихся в памяти 240 картриджа 200. В этом случае контроллер 17 может вычислять текущую температуру нагревателя 210 на основании значения сопротивления нагревателя 210, соответствующего опорной температуре, температурного коэффициента сопротивления нагревателя 210 и текущего значения сопротивления нагревателя 210 с использованием формулы расчета температуры нагревателя. В данном случае формула расчета температуры нагревателя, используемая для расчета температуры нагревателя 210, может быть выражена следующей формулой 1.

[174]

[166] [Формула 1]

[175]

[167] TCR=(R1-R0)/R0χ(T1-T0)

[176]

[168] В вышеприведенной формуле 1 TCR обозначает температурный коэффициент сопротивления нагревателя 210, T1 - текущую температуру нагревателя 210, R1 - текущую величину сопротивления нагревателя 210, T0 - опорную температуру, а R0 - величину сопротивления нагревателя 210, соответствующую опорной температуре.

[177]

[169] На ФИГ. 8 и 9 изображены блок-схемы способа эксплуатации устройства для генерирования аэрозоля согласно другому варианту осуществления настоящего изобретения.

[178]

[170] Как показано на ФИГ. 8, устройство 10 для генерирования аэрозоля на этапе S810 может определять, выполняются ли предварительно заданные требования к картриджу 200. Например, устройство 10 для генерирования аэрозоля может определять выполнение предварительно заданных требований к картриджу 200 в зависимости от того, соединен ли картридж 200 с основным корпусом 100. Например, устройство 10 для генерирования аэрозоля может определять, выполняются ли предварительно заданные требования к картриджу 200, основываясь на том, вставлен ли в него стик 20. Далее приводится раскрытие этого со ссылкой на ФИГ. 9.

[179]

[171] Как показано на ФИГ. 9, устройство 10 для генерирования аэрозоля на этапе S910 может расшифровывать данные, хранящиеся в памяти 240 картриджа 200. Например, устройство 10 для генерирования аэрозоля может расшифровать все данные, хранящиеся в памяти 240 картриджа 200, на основании ключа шифрования, хранящегося в памяти 140 основного корпуса 100.

[180]

[172] Устройство 10 для генерирования аэрозоля на этапе S920 может определить, полностью ли расшифрованы данные, хранящиеся в памяти 240 картриджа 200. Например, если все данные, хранящиеся в памяти 240 картриджа 200, расшифрованы на основании ключа шифрования, устройство 10 для генерирования аэрозоля может определить, что расшифровка завершена.

[181]

[173] Если данные, хранящиеся в памяти 240 картриджа 200, полностью расшифрованы, устройство 10 для генерирования аэрозоля на этапе S930 может определить действительность данных, хранящихся в памяти 240 картриджа 200.

[182]

[174] Если все данные, хранящиеся в памяти 240 картриджа 200, действительны, устройство 10 для генерирования аэрозоля на этапе S940 может определить, что предварительно заданные требования к картриджу 200 выполнены.

[183]

[175] Между тем, если по меньшей мере некоторые из данных, хранящихся в памяти 240 картриджа 200, не могут быть расшифрованы, или если по меньшей мере некоторые из данных, хранящихся в памяти 240 картриджа 200, недействительны, устройство 10 для генерирования аэрозоля на этапе S950 может определить, что предварительно заданные требования к картриджу 200 не выполняются.

[184]

[176] Как показано на ФИГ. 8, если предварительно заданные требования к картриджу 200 выполняются, устройство 10 для генерирования аэрозоля на этапе S820 может подавать питание на нагреватель 210 на основании данных, хранящихся в памяти 240 картриджа 200. Например, устройство 10 для генерирования аэрозоля может подавать питание на нагреватель 210 на основании профиля температуры, хранящегося в памяти 240 картриджа 200.

[185]

[177] Устройство 10 для генерирования аэрозоля на этапе S830 может определить, превышает ли количество затяжек, обнаруженных датчиком 150 затяжки, предварительно заданное количество затяжек. В данном случае предварительно заданное количество затяжек может быть установлено на основании выборки данных о предварительно заданном количестве затяжек из различных типов данных, хранящихся в памяти 240 картриджа 200.

[186]

[178] Если количество затяжек, обнаруженных датчиком 150 затяжки, меньше или равно предварительно заданному количеству затяжек, устройство 10 для генерирования аэрозоля может продолжать подавать питание на нагреватель 210 на основании профиля температуры.

[187]

[179] В одном из вариантов осуществления устройство 10 для генерирования аэрозоля может добавлять в память 240 картриджа 200 данные о количестве затяжек, обнаруженных датчиком 150 затяжки, которые были зашифрованы на основании ключа шифрования, хранящегося в памяти 140 основного корпуса 100.

[188]

[180] Если количество затяжек, обнаруженных датчиком 150 затяжки, превышает предварительно заданное количество затяжек, устройство 10 для генерирования аэрозоля на этапе S840 может обрабатывать данные, хранящиеся в памяти 240 картриджа 200, таким образом, чтобы предварительно заданные требования к картриджу 200 не были выполнены. Например, устройство 10 для генерирования аэрозоля может изменять или удалять по меньшей мере некоторые из данных, хранящихся в памяти 240 картриджа 200.

[189]

[181] Между тем, если количество затяжек, обнаруженных датчиком 150 затяжки, превышает заданное количество затяжек, устройство 10 для генерирования аэрозоля может прервать подачу питания на нагреватель 210.

[190]

[182] Как показано на ФИГ. 10, данные, хранящиеся в памяти 240 картриджа 200, могут содержать данные 1010 нагревателя 210, данные 1020 профиля температуры и данные 1030 вещества для генерирования аэрозоля.

[191]

[183] Данные 1010 нагревателя 210 могут содержать значение сопротивления нагревателя 210. Данные 1020 профиля температуры могут содержать по меньшей мере один профиль температуры. Данные 1030 вещества для генерирования аэрозоля могут содержать сведения о компонентах вещества для генерирования аэрозоля и их соотношении в составе вещества.

[192]

[184] Устройство 10 для генерирования аэрозоля может изменять данные, хранящиеся в памяти 240 картриджа 200, таким образом, чтобы предварительно заданные требования к картриджу 200 не выполнялись. Устройство 10 для генерирования аэрозоля может изменять по меньшей мере некоторые из данных, хранящихся в памяти 240 картриджа 200, на фиктивные данные. Например, устройство 10 для генерирования аэрозоля может изменять значения, по меньшей мере, некоторых из данных, хранящихся в памяти 240 картриджа 200, на значения NULL.

[193]

[185] В одном из вариантов осуществления изобретения, когда по меньшей мере некоторые из данных, хранящихся в памяти 240 картриджа 200, изменены на фиктивные данные, расшифровка соответствующих данных может оказаться невозможной. В одном из вариантов осуществления изобретения, когда по меньшей мере некоторые из данных, хранящихся в памяти 240 картриджа 200, изменены на фиктивные данные, соответствующие данные могут быть определены как недействительные.

[194]

[186] Как было описано выше, по меньшей мере в одном из вариантов осуществления настоящего изобретения информацию о картридже 200 можно точно определить при использовании картриджа 200.

[195]

[187] По меньшей мере в одном из вариантов осуществления настоящего изобретения информацию о нагревателе 210, содержащемся в картридже 200, можно точно определять независимо от окружающей среды.

[196]

[188] По меньшей мере в одном из вариантов осуществления настоящего изобретения можно предотвратить повторное использование использованного картриджа 200.

[197]

[189] По меньшей мере в одном из вариантов осуществления настоящего изобретения можно предотвратить использование неразрешенного картриджа 200.

[198]

[190] Как показано на ФИГ. 1-10, устройство 10 для генерирования аэрозоля согласно одному из аспектов настоящего изобретения может содержать основной корпус, картридж, соединенный с основным корпусом, датчик затяжки, выполненный с возможностью обнаружения затяжки, и контроллер. Картридж может содержать нагреватель, выполненный с возможностью нагревания вещества для генерирования аэрозоля, и память для хранения данных. Контроллер может определять выполнение заданных требований к картриджу на основании хранящихся в памяти данных, может осуществлять управление таким образом, чтобы при выполнении заданных требований питание поступало на нагреватель на основании хранящихся в памяти данных, и может обрабатывать хранящиеся в памяти данные таким образом, чтобы заданные требования не выполнялись, если количество затяжек, обнаруженных датчиком затяжки, превышает заданное количество затяжек.

[199]

[191] Кроме того, в соответствии с другим аспектом настоящего изобретения, контроллер может определить, что предварительно заданные требования выполняются, если все хранящиеся в памяти данные действительны, и может определить, что предварительно заданные требования не выполняются, если по меньшей мере некоторые из хранящихся в памяти данных недействительны.

[200]

[192] Кроме того, в соответствии с другим аспектом настоящего изобретения, хранящиеся в памяти данные могут содержать: данные о значении сопротивления нагревателя и/или данные о профиле температуры и/или данные о веществе для генерирования аэрозоля и/или данные о предварительно заданном количестве затяжек.

[201]

[193] Кроме того, в соответствии с другим аспектом настоящего изобретения, контроллер может изменять по меньшей мере некоторые из хранящихся в памяти данных на фиктивные данные, если количество обнаруженных затяжек превышает предварительно заданное количество затяжек.

[202]

[194] Кроме того, в соответствии с другим аспектом настоящего изобретения, основной корпус может содержать соединительную клемму, расположенную на основном корпусе таким образом, чтобы она выступала за пределы основного корпуса, и контроллер. Контроллер может проверять хранящиеся в памяти данные через соединительную клемму с использованием однопроводного интерфейса связи.

[203]

[195] Кроме того, в соответствии с другим аспектом настоящего изобретения, контроллер может расшифровывать хранящиеся в памяти данные на основании ключа шифрования и определять, выполняются ли предварительно заданные требования, на основании расшифрованных данных.

[204]

[196] Кроме того, в соответствии с другим аспектом настоящего изобретения, контроллер может определить, что предварительно заданные требования не выполнены, если расшифровка по меньшей мере некоторых из хранящихся в памяти данных невозможна.

[205]

[197] Кроме того, в соответствии с другим аспектом настоящего изобретения, контроллер может зашифровывать количество затяжек, обнаруженных датчиком затяжки, на основании ключа шифрования, и сохранять данные о зашифрованном количестве затяжек в памяти.

[206]

[198] Способ эксплуатации устройства 10 для генерирования аэрозоля согласно одному из аспектов настоящего изобретения может содержать определение выполнения предварительно заданных требований к картриджу на основании данных, хранящихся в памяти картриджа, подачу питания на нагреватель на основании хранящихся в памяти данных в случае выполнения предварительно заданных требований, и обработку хранящихся в памяти данных таким образом, чтобы предварительно заданные требования не выполнялись, если количество затяжек, обнаруженных датчиком затяжки, превышает предварительно заданное количество затяжек.

[207]

[199] Кроме того, в соответствии с другим аспектом настоящего изобретения, определение выполнения предварительно заданных требований может содержать определение того, что предварительно заданные требования выполнены, если все хранящиеся в памяти данные действительны, и определение того, что предварительно заданные требования не выполнены, если по меньшей мере некоторые из хранящихся в памяти данных недействительны.

[208]

[200] Кроме того, в соответствии с другим аспектом настоящего изобретения, обработка хранящихся в памяти данных может предусматривать изменение по меньшей мере некоторых хранящихся в памяти данных на фиктивные данные.

[209]

[201] Кроме того, в соответствии с другим аспектом настоящего изобретения, определение выполнения предварительно заданных требований может предусматривать проверку хранящихся в памяти данных контроллером, содержащимся в основном корпусе, соединенной с картриджем, через соединительную клемму, расположенную на основном корпусе таким образом, чтобы она выступала за пределы основного корпуса, с использованием однопроводного интерфейса связи.

[210]

[202] Кроме того, в соответствии с другим аспектом настоящего изобретения, определение выполнения предварительно заданных требований может содержать расшифровку хранящихся в памяти данных в соответствии с предварительно заданным критерием, определение того, что предварительно заданные требования не выполнены, если расшифровка по меньшей мере некоторых из хранящихся в памяти данных невозможна, и определение того, что предварительно заданные требования выполнены, на основании расшифрованных данных по завершении расшифровки хранящихся в памяти данных.

[211]

[203] Кроме того, в соответствии с другим аспектом настоящего изобретения, подача питания на нагреватель может предусматривать шифрование количества затяжек, обнаруженных датчиком затяжки, на основании ключа шифрования, и сохранение данных о зашифрованном количестве затяжек в память.

[212]

[204] Некоторые варианты осуществления или другие варианты осуществления изобретения, раскрытые выше, не являются взаимоисключающими или отличными друг от друга. Любые или все элементы вариантов осуществления раскрытого выше изобретения могут быть объединены с другими или объединены друг с другом по конфигурации или функции.

[213]

[205] Например, конфигурация «А», раскрытая в одном варианте осуществления изобретения и чертежах, и конфигурация «В», раскрытая в другом варианте осуществления изобретения и чертежах, могут быть объединены друг с другом. А именно, хотя комбинация между конфигурациями прямо не раскрыта, комбинация возможна, за исключением случая, когда раскрыто, что комбинация невозможна.

[214]

[206] Хотя варианты осуществления изобретения были раскрыты со ссылкой на ряд иллюстративных вариантов осуществления изобретения, следует понимать, что специалисты в данной области техники могут разработать множество других модификаций и вариантов осуществления изобретения, которые будут подпадать под действие принципов настоящего изобретения. В частности, возможны различные варианты и изменения составных частей и/или компоновок рассматриваемого комбинированного устройства в пределах объема раскрытия, чертежей и прилагаемой формулы изобретения. Помимо вариантов и изменений составных частей и/или компоновок, специалистам в данной области техники также будут очевидны альтернативные варианты использования.

Как компенсировать расходы
на инновационную разработку
Похожие патенты