Изобретение относится к радиотехнике, а именно к системам радиочастотной идентификации (RFID), и применяется в системах УВЧ-диапазона с пассивными и полупассивными метками. Технический результат - дополнительное улучшение системной энергетики и максимизация числа уверенно считываемых меток, идентифицирующих объекты внутри контейнера с металлическими стенками, в т.ч. в условиях сильной интерференции электромагнитного поля. Результат достигается тем, что предложен ретранслятор сигналов радиочастотной идентификации ультравысокочастотного диапазона, включающий внешнюю антенну, расположенную на внешней стенке металлического контейнера с высокой степенью радиогерметичности, двунаправленный ретрансляционный модуль и внутреннюю антенную решетку, расположенную на внутренней стенке металлического контейнера, причем для формирования амплитудно-фазового распределения на входах антенных элементов внутренней антенной решетки используется программно-реконфигурируемый блок цифрового диаграммообразования, отличающийся тем, что между каждым выходом ЦАП, входом АЦП и портом антенного элемента внутренней антенной решетки включается циркулятор, обеспечивающий возможность работы по меньшей мере в одном поляризационном базисе. 4 н. и 93 з.п. ф-лы, 8 ил.
1. Ретранслятор сигналов радиочастотной идентификации ультравысокочастотного диапазона, включающий внешнюю антенну, расположенную на внешней стенке металлического контейнера с высокой степенью радиогерметичности, двунаправленный ретрансляционный модуль и внутреннюю антенную решетку, расположенную на внутренней стенке металлического контейнера, причем для формирования амплитудно-фазового распределения на входах антенных элементов внутренней антенной решетки используется программно-реконфигурируемый блок цифрового диаграммообразования, отличающийся тем, что между каждым выходом ЦАП, входом АЦП и портом антенного элемента внутренней антенной решетки включается циркулятор, обеспечивающий возможность работы по меньшей мере в одном поляризационном базисе. 2. Ретранслятор по п. 1, отличающийся тем, что в качестве антенной решетки используется плоская решетка. 3. Ретранслятор по п. 2, отличающийся тем, что в качестве элементов решетки используются патч-элементы. 4. Ретранслятор по п. 3, отличающийся тем, что используются патч-элементы с воздушным диэлектриком. 5. Ретранслятор по п. 3, отличающийся тем, что используются патч-элементы с низкой диэлектрической проницаемостью подложки. 6. Ретранслятор по п. 2, отличающийся тем, что используются однопортовые элементы решетки с эллиптической поляризацией. 7. Ретранслятор по п. 2, отличающийся тем, что используются элементы решетки с более чем одним портом. 8. Ретранслятор по п. 2, отличающийся тем, что используются элементы решетки с взаимно-развязанными портами. 9. Ретранслятор по п. 1, отличающийся тем, что элементы антенной решетки размещаются по меньшей мере на двух внутренних гранях металлического контейнера. 10. Ретранслятор по п. 9, отличающийся тем, что в качестве элементов решетки используются патч-элементы. 11. Ретранслятор по п. 10, отличающийся тем, что используются патч-элементы с воздушным диэлектриком. 12. Ретранслятор по п. 10, отличающийся тем, что используются патч-элементы с низкой диэлектрической проницаемостью подложки. 13. Ретранслятор по п. 9, отличающийся тем, что используются однопортовые элементы решетки с эллиптической поляризацией. 14. Ретранслятор по п. 9, отличающийся тем, что используются элементы решетки с более чем одним портом. 15. Ретранслятор по п. 9, отличающийся тем, что используются элементы решетки с взаимно-развязанными портами. 16. Ретранслятор по п. 1, отличающийся тем, что внутренние стенки контейнера по меньшей мере частично покрываются листовым радиопоглощающим материалом. 17. Ретранслятор по п. 16, отличающийся тем, что в качестве антенной решетки используется плоская решетка. 18. Ретранслятор по п. 17, отличающийся тем, что в качестве элементов решетки используются патч-элементы. 19. Ретранслятор по п. 18, отличающийся тем, что используются патч-элементы с воздушным диэлектриком. 20. Ретранслятор по п. 18, отличающийся тем, что используются патч-элементы с низкой диэлектрической проницаемостью подложки. 21. Ретранслятор по п. 17, отличающийся тем, что используются однопортовые элементы решетки с эллиптической поляризацией. 22. Ретранслятор по п. 17, отличающийся тем, что используются элементы решетки с более чем одним портом. 23. Ретранслятор по п. 17, отличающийся тем, что используются элементы решетки с взаимно-развязанными портами. 24. Ретранслятор по п. 16, отличающийся тем, что элементы антенной решетки размещаются по меньшей мере на двух внутренних гранях металлического контейера. 25. Ретранслятор по п. 24, отличающийся тем, что в качестве элементов решетки используются патч-элементы. 26. Ретранслятор по п. 25, отличающийся тем, что используются патч-элементы с воздушным диэлектриком. 27. Ретранслятор по п. 25, отличающийся тем, что используются патч-элементы с низкой диэлектрической проницаемостью подложки. 28. Ретранслятор по п. 24, отличающийся тем, что используются однопортовые элементы решетки с эллиптической поляризацией. 29. Ретранслятор по п. 24, отличающийся тем, что используются элементы решетки с более чем одним портом. 30. Ретранслятор по п. 24, отличающийся тем, что используются элементы решетки с взаимно-развязанными портами. 31. Ретранслятор сигналов радиочастотной идентификации ультравысокочастотного диапазона, включающий внешнюю антенну, расположенную на внешней стенке металлического контейнера с высокой степенью радиогерметичности, двунаправленный ретрансляционный модуль, у которого в прямой и обратный каналы дополнительно включены первый управляемый аттенюатор, направленный ответвитель с детекторной секцией, второй управляемый аттенюатор и полосно-пропускающий фильтр, при этом межканальную развязку вне полосы рабочих частот циркулятора обеспечивает полосно-пропускающий фильтр, и осуществляется адаптивная регулировка коэффициента передачи канала путем управления ослаблениями первого и второго управляемых аттенюаторов на основании уровня мощности, измеряемого направленным ответвителем с детекторной секцией на выходе усилительного модуля, и внутреннюю антенную решетку, расположенную на внутренней стенке металлического контейнера, причем для формирования амплитудно-фазового распределения на входах портах антенных элементов внутренней антенной решетки используется программно-реконфигурируемый блок цифрового диаграммообразования, отличающийся тем, что между каждым выходом ЦАП, входом АЦП и портом антенного элемента внутренней антенной решетки включается циркулятор, обеспечивающий возможность работы по меньшей мере в одном поляризационном базисе. 32. Ретранслятор по п. 31, отличающийся тем, что первый управляемый аттенюатор устанавливается каскадно на входе усилительного модуля, а направленный ответвитель с детекторной секцией, второй управляемый аттенюатор и полосно-пропускающий фильтр включаются каскадно на выходе усилительного модуля в указанном порядке. 33. Ретранслятор по п. 32, отличающийся тем, что полосно-пропускающие фильтры выполняются по неотражающей схеме. 34. Ретранслятор по п. 32, отличающийся тем, что усилители выполняются по неотражающей схеме. 35. Ретранслятор по п. 31, отличающийся тем, что полосно-пропускающий фильтр и первый управляемый аттенюатор устанавливаются каскадно на входе усилительного модуля, а направленный ответвитель с детекторной секцией и второй управляемый аттенюатор включаются каскадно на выходе усилительного модуля в указанном порядке. 36. Ретранслятор по п. 35, отличающийся тем, что полосно-пропускающие фильтры выполняются по неотражающей схеме. 37. Ретранслятор по п. 35, отличающийся тем, что усилители выполняются по неотражающей схеме. 38. Ретранслятор сигналов радиочастотной идентификации ультравысокочастотного диапазона, включающий внешнюю двухпортовую антенну, один порт которой используется для приема опросного сигнала считывающего устройства, а второй для передачи ответного сигнала на него, расположенную на внешней стенке металлического контейнера с высокой степенью радиогерметичности, двунаправленный ретрансляционный модуль, у которого в прямой и обратный каналы дополнительно включены первый управляемый аттенюатор, направленный ответвитель с детекторной секцией, второй управляемый аттенюатор и полосно-пропускающий фильтр, при этом осуществляется адаптивная регулировка коэффициента передачи канала путем управления ослаблениями первого и второго управляемых аттенюаторов на основании уровня мощности, измеряемого направленным ответвителем с детекторной секцией на выходе усилительного модуля, и внутреннюю антенную решетку, расположенную на внутренней стенке металлического контейнера, причем для формирования амплитудно-фазового распределения на входах антенных элементов этой решетки используется программно-реконфигурируемый блок цифрового диаграммообразования, отличающийся тем, что между каждым выходом ЦАП, входом АЦП и портом антенного элемента внутренней антенной решетки включается циркулятор, обеспечивающий возможность работы по меньшей мере в одном поляризационном базисе. 39. Ретранслятор по п. 38, отличающийся тем, что первый управляемый аттенюатор устанавливается каскадно на входе усилительного модуля, а направленный ответвитель с детекторной секцией, второй управляемый аттенюатор и полосно-пропускающий фильтр включаются каскадно на выходе усилительного модуля в указанном порядке. 40. Ретранслятор по п. 39, отличающийся тем, что полосно-пропускающие фильтры выполняются по неотражающей схеме. 41. Ретранслятор по п. 39, отличающийся тем, что усилители выполняются по неотражающей схеме. 42. Ретранслятор по п. 38, отличающийся тем, что полосно-пропускающий фильтр и первый управляемый аттенюатор устанавливаются каскадно на входе усилительного модуля, а направленный ответвитель с детекторной секцией и второй управляемый аттенюатор включаются каскадно на выходе усилительного модуля в указанном порядке. 43. Ретранслятор по п. 42, отличающийся тем, что полосно-пропускающие фильтры выполняются по неотражающей схеме. 44. Ретранслятор по п. 42, отличающийся тем, что усилители выполняются по неотражающей схеме. 45. Ретранслятор по п. 38, отличающийся тем, что в качестве внешней антенны используется двухвходовая антенна из двух пространственно совмещенных и поляризационно-развязанных излучателей. 46. Ретранслятор по п. 45, отличающийся тем, что в качестве элементов решетки используются патч-элементы. 47. Ретранслятор по п. 46, отличающийся тем, что используются патч-элементы с воздушным диэлектриком. 48. Ретранслятор по п. 46, отличающийся тем, что используются патч-элементы с низкой диэлектрической проницаемостью подложки. 49. Ретранслятор по п. 45, отличающийся тем, что первый управляемый аттенюатор устанавливается каскадно на входе усилительного модуля, а направленный ответвитель с детекторной секцией, второй управляемый аттенюатор и полосно-пропускающий фильтр включаются каскадно на выходе усилительного модуля в указанном порядке. 50. Ретранслятор по п. 49, отличающийся тем, что полосно-пропускающие фильтры выполняются по неотражающей схеме. 51. Ретранслятор по п. 49, отличающийся тем, что усилители выполняются по неотражающей схеме. 52. Ретранслятор по п. 45, отличающийся тем, что полосно-пропускающий фильтр и первый управляемый аттенюатор устанавливаются каскадно на входе усилительного модуля, а направленный ответвитель с детекторной секцией и второй управляемый аттенюатор включаются каскадно на выходе усилительного модуля в указанном порядке. 53. Ретранслятор по п. 52, отличающийся тем, что полосно-пропускающие фильтры выполняются по неотражающей схеме. 54. Ретранслятор по п. 52, отличающийся тем, что усилители выполняются по неотражающей схеме. 55. Ретранслятор по п. 38, отличающийся тем, что в качестве внешней антенны используется антенная решетка из двух пространственно разнесенных и развязанных излучателей. 56. Ретранслятор по п. 55, отличающийся тем, что в качестве элементов решетки используются патч-элементы. 57. Ретранслятор по п. 56, отличающийся тем, что используются патч-элементы с воздушным диэлектриком. 58. Ретранслятор по п. 56, отличающийся тем, что используются патч-элементы с низкой диэлектрической проницаемостью подложки. 59. Ретранслятор по п. 55, отличающийся тем, что первый управляемый аттенюатор устанавливается каскадно на входе усилительного модуля, а направленный ответвитель с детекторной секцией, второй управляемый аттенюатор и полосно-пропускающий фильтр включаются каскадно на выходе усилительного модуля в указанном порядке. 60. Ретранслятор по п. 59, отличающийся тем, что полосно-пропускающие фильтры выполняются по неотражающей схеме. 61. Ретранслятор по п. 59, отличающийся тем, что усилители выполняются по неотражающей схеме. 62. Ретранслятор по п. 55, отличающийся тем, что полосно-пропускающий фильтр и первый управляемый аттенюатор устанавливаются каскадно на входе усилительного модуля, а направленный ответвитель с детекторной секцией и второй управляемый аттенюатор включаются каскадно на выходе усилительного модуля в указанном порядке. 63. Ретранслятор по п. 62, отличающийся тем, что полосно-пропускающие фильтры выполняются по неотражающей схеме. 64. Ретранслятор по п. 62, отличающийся тем, что усилители выполняются по неотражающей схеме. 65. Ретранслятор по п. 38, отличающийся тем, что в качестве внешней антенны используется двухвходовая антенна из двух пространственно разнесенных и поляризационно-развязанных излучателей. 66. Ретранслятор по п. 65, отличающийся тем, что в качестве элементов решетки используются патч-элементы. 67. Ретранслятор по п. 66, отличающийся тем, что используются патч-элементы с воздушным диэлектриком. 68. Ретранслятор по п. 66, отличающийся тем, что используются патч-элементы с низкой диэлектрической проницаемостью подложки. 69. Ретранслятор по п. 65, отличающийся тем, что первый управляемый аттенюатор устанавливается каскадно на входе усилительного модуля, а направленный ответвитель с детекторной секцией, второй управляемый аттенюатор и полосно-пропускающий фильтр включаются каскадно на выходе усилительного модуля в указанном порядке. 70. Ретранслятор по п. 69, отличающийся тем, что полосно-пропускающие фильтры выполняются по неотражающей схеме. 71. Ретранслятор по п. 69, отличающийся тем, что усилители выполняются по неотражающей схеме. 72. Ретранслятор по п. 65, отличающийся тем, что полосно-пропускающий фильтр и первый управляемый аттенюатор устанавливаются каскадно на входе усилительного модуля, а направленный ответвитель с детекторной секцией и второй управляемый аттенюатор включаются каскадно на выходе усилительного модуля в указанном порядке. 73. Ретранслятор по п. 72, отличающийся тем, что полосно-пропускающие фильтры выполняются по неотражающей схеме. 74. Ретранслятор по п. 72, отличающийся тем, что усилители выполняются по неотражающей схеме. 75. Ретранслятор сигналов радиочастотной идентификации ультравысокочастотного диапазона, включающий внешнюю антенну, расположенную на внешней стенке металлического контейнера с высокой степенью радиогерметичности, двунаправленный ретрансляционный модуль и внутреннюю антенную решетку, расположенную на внутренней стенке металлического контейнера, причем для формирования амплитудно-фазового распределения на входах антенных элементов внутренней антенной решетки используется программно-реконфигурируемый блок цифрового диаграммообразования, отличающийся тем, что каждый выход ЦАП непосредственно соединен с портом антенного элемента, и каждый вход АЦП также непосредственно соединен с портом антенного элемента. 76. Ретранслятор по п. 75, отличающийся тем, что элементы антенной решетки размещаются по меньшей мере на двух внутренних гранях металлического контейнера. 77. Ретранслятор по п. 76, отличающийся тем, что в качестве элементов решетки используются патч-элементы. 78. Ретранслятор по п. 77, отличающийся тем, что используются патч-элементы с воздушным диэлектриком. 79. Ретранслятор по п. 77, отличающийся тем, что используются патч-элементы с низкой диэлектрической проницаемостью подложки. 80. Ретранслятор по п. 76, отличающийся тем, что используются однопортовые элементы решетки с эллиптической поляризацией. 81. Ретранслятор по п. 76, отличающийся тем, что используются элементы решетки с более чем одним портом. 82. Ретранслятор по п. 76, отличающийся тем, что используются элементы решетки с взаимно-развязанными портами. 83. Ретранслятор по п. 75, отличающийся тем, что внутренние стенки контейнера по меньшей мере частично покрываются листовым радиопоглощающим материалом. 84. Ретранслятор по п. 83, отличающийся тем, что в качестве антенной решетки используется плоская решетка. 85. Ретранслятор по п. 84, отличающийся тем, что в качестве элементов решетки используются патч-элементы. 86. Ретранслятор по п. 85, отличающийся тем, что используются патч-элементы с воздушным диэлектриком. 87. Ретранслятор по п. 85, отличающийся тем, что используются патч-элементы с низкой диэлектрической проницаемостью подложки. 88. Ретранслятор по п. 84, отличающийся тем, что используются однопортовые элементы решетки с эллиптической поляризацией. 89. Ретранслятор по п. 84, отличающийся тем, что используются элементы решетки с более чем одним портом. 90. Ретранслятор по п. 84, отличающийся тем, что используются элементы решетки с взаимно-развязанными портами. 91. Ретранслятор по п. 83, отличающийся тем, что элементы антенной решетки размещаются по меньшей мере на двух внутренних гранях металлического контейера. 92. Ретранслятор по п. 91, отличающийся тем, что в качестве элементов решетки используются патч-элементы. 93. Ретранслятор по п. 92, отличающийся тем, что используются патч-элементы с воздушным диэлектриком. 94. Ретранслятор по п. 92, отличающийся тем, что используются патч-элементы с низкой диэлектрической проницаемостью подложки. 95. Ретранслятор по п. 91, отличающийся тем, что используются однопортовые элементы решетки с эллиптической поляризацией. 96. Ретранслятор по п. 91, отличающийся тем, что используются элементы решетки с более чем одним портом. 97. Ретранслятор по п. 91, отличающийся тем, что используются элементы решетки с взаимно-развязанными портами.
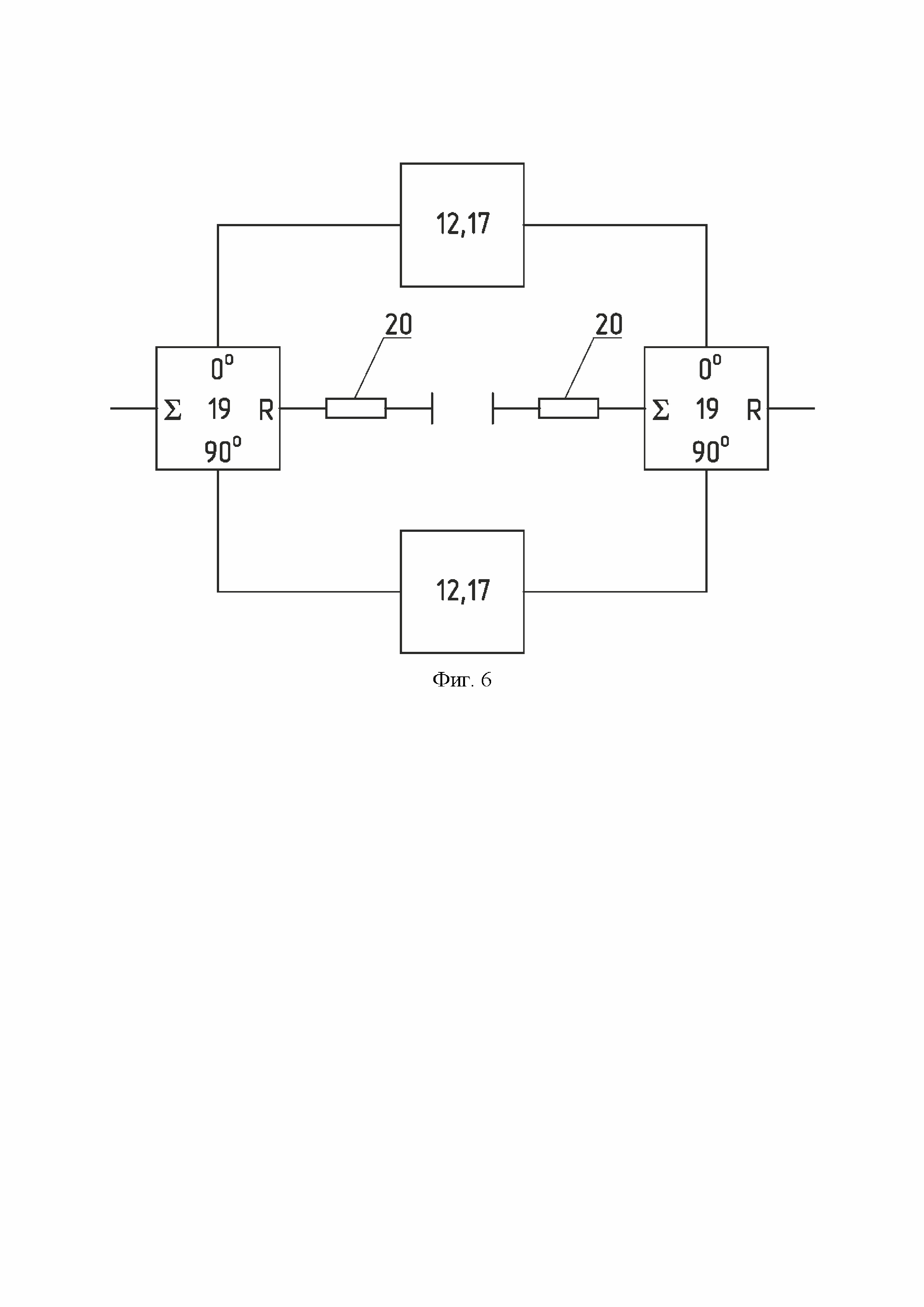
Изобретение относится к области радиотехники, а более конкретно к системам радиочастотной идентификации (далее - RFID), и может быть использовано для систем УВЧ-диапазона с пассивными и полупассивными метками. Известной проблемой при эксплуатации RFID-систем УВЧ-диапазона является сложность инвентаризации объектов, находящихся внутри глухих металлических контейнеров (бухгалтерские шкафы, сейфы, крупные ячейки и др.). Существенная степень радиогерметичности, присущая подобным контейнерам, не позволяет электромагнитному излучению проникать через металлические стенки и узкие щели в них, значительно снижая энергетику прямого и обратного радиоканалов. При этом считывание меток, находящихся внутри таких контейнеров, извне становится невозможным без открытия дверцы. В то же время обеспечение возможности уверенного считывания в таких условиях может позволить в рамках единой сессии считывания осуществлять автоматизированную инвентаризацию не только объектов в помещении, где находится металлический контейнер, но и непосредственно внутри него (при необходимости), используя для этих целей обыкновенный RFID терминал сбора данных (далее - ТСД), в т.ч. портативный. Это может оказаться полезным для автоматизированной инвентаризации бухгалтерских шкафов, сейфов, банковских хранилищ и т.д. Таким способом можно осуществлять автоматизированную инвентаризацию объектов транспортной логистики, например, закрытых морских и сухопутных грузовых контейнеров, рефрижераторов и т.д., в т.ч. путем облета площадки, где они расположены, радиоуправляемым дроном с ТСД на борту. Подобные практические применения делают такую технологию инвентаризации объектов внутри глухих металлических контейнеров в значительной мере востребованной. Обычно для решения подобной задачи инвентаризации используют несколько способов. Первый способ основан на использовании ретранслятора сигналов радиочастотной идентификации и предполагает размещение приемопередающих антенн внутри и снаружи металлического контейнера с последующим взаимным соединением их портов некоторым четырехполюсником. При этом идентификационный сигнал ТСД, расположенного вне контейнера, принимается наружной антенной ретранслятора, посредством соединительного взаимного четырехполюсника передается на внутреннюю, после чего излучается ей. Внутри контейнера этот сигнал принимается, модулируется и излучается меткой ответный сигнал, который затем принимается внутренней антенной ретранслятора, передается на наружную и излучается ей, после чего принимается ТСД и декодируется. Второй способ основан на использовании встроенного в металлический контейнер ТСД, содержащего модуль сопряжения с локальной вычислительной сетью (далее - ЛВС). Он предполагает запуск сессии считывания объектов внутри металлического контейнера путем посылки команд на ТСД через ЛВС (обычно через беспроводной Wi-Fi интерфейс либо Ethernet), выполнение сессии считывания метки и передачу данных о коде метки на нужную ЭВМ из состава ЛВС. Третий способ основан на использовании контейнера специальной конструкции. Он предполагает выполнение диэлектрического окна в одной из боковых стенок металлического контейнера, через которое может осуществляться радиодоступ ТСД к объектам внутри контейнера. При этом дополнительных технических средств для считывания не применяется. При этом значительное число публикаций, определяющих уровень техники в рассматриваемой области, относится к первым двум способам. В то же время среди практических применений в большей степени распространен второй способ, что обусловлено достаточностью энергетики формируемого радиоканала ТСД-метка и относительным удобством использования. Известно решение для способа ретрансляции сигналов радиочастотной идентификации, приведенное в европейском патенте ЕР 1831815 В1, разработанное Avery Dennison Corporation (США). Способ включает формирование и излучение ТСД опросного сигнала, прием опросного сигнала приемной антенной активного ретранслятора, установленного непосредственно в контейнере (далее может применяться также термин «шкаф») с объектами идентификации, поступление принятого опросного сигнала в первую линию передачи, вмонтированную в полку, непосредственно на которой находятся объекты идентификации, прием сигнала антеннами идентификационных меток, формирование и излучение метками сигнала отклика, прием сигнала отклика второй линией передачи ретранслятора за счет электромагнитной связи антенн меток с линиями передачи, поступление сигнала отклика на передающую антенну ретранслятора, излучение сигнала отклика, прием и декодирование сигнала отклика ТСД. Вариантом способа является использование ВЧ-усилителей в составе первой и второй линий передачи для улучшения энергетики прямого и обратного каналов соответственно. Другим вариантом способа является использование одной линии для передачи сигналов в двух направлениях с развязкой прямого и обратного каналов усиления циркуляторами. Еще одним вариантом способа является использование одной линии и однопортового (отражающего) усилителя на основе цепей с отрицательным сопротивлением (способ включения такого усилителя условно не показан). Второй и третий способы присутствуют в описании, однако в формуле не заявлены. Описанный способ позволяет улучшить энергетику прямого и обратного радиоканалов и увеличить достоверность считывания. Недостатком способа является конструктивная и техническая сложность реализации распределенной системы линий передачи, что обусловлено быстрым затуханием электромагнитного поля при удалении от линии и необходимостью размещения большого числа полок с линиями для уверенного считывания. Это может быть оправдано, например, для палет и контейнеров, содержащих плотно упакованные емкости с жидкостью, значительно снижающие канальную энергетику, когда отношение объема, занимаемого товарами, к общему объему контейнера велико. В то же время для контейнеров с большим относительным объемом заполнения, не создающим существенных препятствий для распространения радиоволн (бухгалтерские шкафы с документами и т.д.), а также контейнеров, содержащих металлические объекты либо жидкости, но имеющих малый относительный объем заполнения (сейфы), применение столь сложной антенной системы становится неоправданным. Кроме того, способ неприменим для инвентаризации объектов внутри металлического контейнера со значительной степенью радиогерметичности. Известно устройство для радиочастотной идентификации документов на полках, размещенных внутри канцелярского шкафа, описанное в патенте США US 7648065 B2, разработанное The Stanley Works (США). Устройство включает шкаф для документов, набор полок со встроенными антенными блоками, ВЧ коммутатор, ТСД и управляющую ЭВМ. Каждая полка содержит по две интегрированные и ортогонально ориентированные в ее плоскости планарные антенны, локальное устройство коммутации (выбора) антенны, ВЧ разъем и разъем управления коммутатором. Опросный сигнал ТСД через устройства коммутации, управляемые ТСД, поступает на соответствующую антенну соответствующей полки, излучается ей и принимается антеннами идентификационных меток, прикрепленных к документам, находящимся на этой полке. Сигналы отклика, сформированные и излученные метками, принимаются соответствующей антенной соответствующей полки, через устройства коммутации поступают на ТСД и декодируются им, после чего по проводному либо беспроводному каналу поступают в базу данных ЭВМ, где соотносятся с кодами объектов. Опрашивание полок и антенн внутри каждой из них осуществляется последовательно во времени путем коммутации портов их антенн на порт ТСД в рамках единой сессии считывания. Особенностью устройства является улучшение энергетики прямого и обратного каналов и соответствующее увеличение достоверности инвентаризации меток за счет использования в блоке антенн нескольких ДН. К недостаткам решения можно отнести отсутствие реализации полноценной антенной решетки (АР) и соответствующей возможности формирования различных интерференционных картин поля путем совместного управления фазами и амплитудами сигналов на входах ее элементов. Реализована лишь возможность перебора антенных элементов (АЭ) путем их коммутации на радиотракт ТСД так, что в каждый временной интервал в тракт может быть включена только одна антенна. Данные особенности решения не позволяют наиболее эффективно использовать возможности системной энергетики тракта. Кроме того, существенным недостатком решения является невозможность выполнения совместной инвентаризации объектов внутри шкафа с объектами в помещении, где он находится. Тогда как вопросы ретрансляции RFID-сигналов, позволяющие уйти от использования отдельного ТСД для инвентаризации шкафа, в решении не рассмотрены. Известна система идентификации радиочастотных меток в замкнутом объеме, ограниченном проводящими стенками, описанная в патенте РФ RU 2454717 C1, разработанная ООО «Научно-технический центр «Альфа-1» (РФ). Система включает закрывающийся металлический шкаф высокой степени радиогерметичности, формирователь локальной поверхностной волны (далее - ФПВ в терминологии авторов) и ТСД. ФПВ выполнен на основе линии близкой по структуре к микрополосковой линии передачи (далее - МПЛ) в форме меандра с металлическим экраном, которая с одной стороны запитывается ВЧ-сигналом ТСД, с другой - нагружена на согласованную нагрузку. ФПВ размещен внутри шкафа на одной из его металлических стенок, при этом МПЛ служит элементом связи с антеннами меток. Поскольку в МПЛ реализуется режим бегущей волны, и МПЛ сама по себе практически не излучает, решение обеспечивает сравнительно однородную структуру ближнего поля в некотором объеме над плоскостью МПЛ. Это позволяет добиться сравнительно однородной структуры поля в указанном объеме внутри шкафа с металлическими стенками без выраженных узлов поля, а считывание возможно из практически любого положения метки в пределах такого объема. Среди недостатков решения, как и в ЕР 1831815 В1 можно выделить относительно малый объем, в котором возможно считывание метки - максимальная высота размещения метки над ФПВ составляет порядка 50 мм, остальные габариты области считывания соответствуют длине и ширине ФПВ. При этом в оставшемся полезном объеме шкафа уверенное считывание меток не обеспечивается. Это становится особенно заметным для формы шкафов с примерно равным соотношением сторон. В то же время вопрос обеспечения уверенного считывания всего полезного объема шкафа, в т.ч. путем размещения нескольких ФПВ в решении не рассмотрен. Размещение нескольких коммутируемых ФПВ по одному на каждой из металлических стенок позволило бы увеличить суммарный объем считывания и приблизить его к полезному объему шкафа. К недостаткам такого решения, однако, следует отнести необходимость размещения большого числа ФПВ, что может значительно уменьшить полезный объем шкафа, требует дополнительных цепей управления и коммутации и уменьшает время каждой сессии считывания в число коммутаций раз. Указанные обстоятельства существенно ограничивают применение ближнепольных структур для работы в замкнутых металлических объемах с примерно равным соотношением сторон. Известно решение для способа и устройства радиочастотной идентификации конфиденциальных объектов внутри металлического шкафа, приведенное в патенте КНР CN 106912189 A, разработанное Beijing Institute of Computer Technology and Application (КНР). Способ включает размещение на стенках внутри металлического картотечного шкафа в виде прямоугольного параллелепипеда листового радиопоглощающего материала (далее - РПМ), обеспечивающего малый коэффициент отражения электромагнитных волн, размещение на верхней стенке RFID-антенны, обеспечивающей излучение и прием сигналов внутри шкафа, и размещение внутри шкафа объектов идентификации с прикрепленными RFID-метками. Реализация способа и устройства, его осуществляющего, позволяет повысить энергетику RFID-системы путем снижения неравномерности формируемой внутри шкафа интерференционной картины электромагнитного поля за счет уменьшения вторичных отражений от металлических стенок шкафа при использовании РПМ. Среди недостатков решения можно выделить отсутствие реализации антенной системы в виде решетки и, как следствие, отсутствие возможности коррекции интерференционной картины электромагнитного поля внутри шкафа, возникающей в т.ч. за счет неоднородности заполнения объема объектами идентификации, которые также могут содержать электропроводящие и объемные диэлектрические элементы, приводящие к неоднородности интерференционной картины поля. Известна система радиочастотной идентификации объектов внутри ящика со стенками, выполненными из проводящего материала, приведенное в патенте US 7683786 B2, разработанное International Business Machines Corp. (США). Один из вариантов системы фактически представляет собой ретранслятор сигналов радиочастотной идентификации и включает закрывающийся ящик со стенками из электропроводящего материала, внутреннюю антенну, выполненную, например, в виде плоской решетки на основе патч-элементов, и размещенную внутри ящика на одной из его стенок, внешнюю антенну и фидерную линию, соединяющую порты внутренней и внешней антенн. Другой вариант не предусматривает внешнюю антенну, взамен которой непосредственно включается ТСД, осуществляющий опрос идентификационных меток внутри шкафа. Использование АР большой апертуры, соизмеримой с поверхностью стенки ящика большей площади, позволяет снизить интерференционные искажения картины поля внутри металлического ящика и повысить системную энергетику. К недостаткам решения, однако, следует отнести отсутствие механизмов подавления переотражений внутри ящика, что в условиях сильной интерференционной картины поля неизбежно создает плохую энергетику для ряда идентификационных меток в объеме, фактически приводя к невозможности их считывания, снижая положительный эффект от использования решетки большой площади. Кроме того, решение не предусматривает управление амплитудами и фазами элементов решетки, что также не способствует повышению энергетики результирующей сессии считывания. Однако последнее утверждение во многом относится к случаю ретранслятора, поскольку для варианта реализации прямого считывания близкорасположенных объектов достаточная энергетика может быть обеспечена за счет компенсации интерференционных нулей мощностью передатчика ТСД. Известны способ и система радиочастотной идентификации объектов внутри ограниченных объемов, приведенные в заявке на патент US 20070001809 A1, разработанные Intermec IP Corp. (США). Заявленное решение в т.ч. рассматривает способ и устройство ретрансляции сигналов радиочастотной идентификации внутрь металлического контейнера и из него с целью обеспечения возможности считывания идентификационных меток внутри электрически экранированного объема. Решение предполагает использование внешнего ТСД, генерирующего сессию считывания с излучением опросного сигнала в пространство, прием опросного сигнала внешней антенной ретранслятора, передачу опросного сигнала через цепи связи, в качестве которых может выступать «релейный модуль», выполняющий функции двунаправленной ретрансляции, на внутреннюю антенную систему, расположенную внутри металлического контейнера, передачу внутренней антенной системой опросного сигнала идентификационным меткам, прием внутренней антенной системой ответных сигналов, передачу ответных сигналов через цепи связи на внешнюю антенну и излучение внешней антенной ответных сигналов на ТСД. В качестве внутренней антенной системы может использоваться антенна, излучающая линия передачи либо АР. Цепи связи могут включать функциональные элементы обработки ВЧ-сигнала и управления внутренней антенной системой, такие как коммутация, усиление, фильтрация, управление. Вариантом решения является реализация прямого считывания содержимого контейнера без использования ретрансляции сигналов. Использование двунаправленного ретрансляционного модуля и управляемой внутренней антенной системы, в т.ч. использование в качестве такой системы управляемой АР, позволяет обеспечить улучшение энергетики при считывании идентификационных меток внутри ограниченных экранированных объемов. Вместе с тем, решение не предусматривает реализации конкретных способов и средств управления АР и уровнями ВЧ-сигналов в тракте для достижения улучшения энергетики в общем, а также формирования различных видов интерференционных картин поля внутри контейнера и реализации адаптивных механизмов управления сигналами ретрансляционного модуля, в частности. Наиболее близким по своей технической сущности к заявляемому решению является способ активной ретрансляции сигналов радиочастотной идентификации УВЧ-диапазона, приведенный в патенте RU 2791098 C1. Способ позволяет минимизировать неравномерность в результирующей суперпозиции объемных интерференционных картин электромагнитного поля внутри контейнера с металлическими стенками путем организации активной ретрансляции сигналов радиочастотной идентификации с использованием внутри указанного контейнера АР с созданием на ее портах, по меньшей мере, трех видов амплитудно-фазового распределения (АФР) с помощью диаграммообразующей схемы (ДОС) с организацией каскадного включения в каждом из портов решетки управляемых аттенюаторов и управляемых фазовращателей, обеспечивающих формирование требуемых значений затухания и фазовой задержки, соответствующих некоторым заранее заданным объемным картинам поля. Управление аттенюаторами и фазовращателями осуществляется контроллером путем циклического во времени перебора соответствующих элементам массивов значений управляющих напряжений либо иным способом. Возбуждение портов всех АЭ указанными комплексными сигналами создает на АР требуемое АФР. В результате в объеме контейнера формируется ряд соответствующих переключаемых интерференционных картин поля. Дополнительно в способе реализован адаптивный механизм раздельной регулировки усиления в прямом и обратном каналах двунаправленного ретрансляционного модуля, включаемого между внешней и внутренней антенными системами. Недостатком данного способа является то, что достижение малой неравномерности результирующей суперпозиции объемных интерференционных картин поля, требующее увеличения числа реализуемых картин поля и их поляризационной структуры внутри контейнера, в контексте решения может быть достигнуто лишь развитием ДОС (что для аналоговой ДОС означает увеличение числа элементов контроля амплитуд и фаз, в данном случае - управляемых аттенюаторов и управляемых фазовращателей), и неизбежно приводит к усложнению схемотехнической реализации ретранслятора и сужению его динамического диапазона снизу вследствие неизбежного снижения чувствительности за счет увеличения вносимых элементами ДОС потерь. Сверху динамический диапазон ограничен межканальной развязкой, обеспечиваемой циркуляторами в радиомодуле в рабочей полосе и вне ее, недостаточность которой может привести к потере устойчивости и самовозбуждению усилителей. Задача, на решение которой направлено заявляемое изобретение, состоит в разработке ретранслятора сигналов радиочастотной идентификации, позволяющего формировать произвольное число интерференционных картин и поляризационной структуры электромагнитного поля во внутреннем объеме контейнера с металлическими стенками в рамках единой сессии считывания без изменения схемотехники аппаратной части тракта, и осуществлять адаптивное управление уровнями опросного и ответного сигналов. Технический результат состоит в дополнительном улучшении системной энергетики и максимизации числа уверенно считываемых меток, идентифицирующих объекты внутри контейнера с металлическими стенками, в т.ч. в условиях сильной интерференции электромагнитного поля. Указанный технический результат достигается минимизацией неравномерности в результирующей суперпозиции объемных интерференционных картин электромагнитного поля внутри контейнера с металлическими стенками путем организации активной ретрансляции сигналов радиочастотной идентификации с использованием внутри указанного контейнера цифровой АР (ЦАР) с созданием на портах элементов такой решетки, по меньшей мере, трех видов АФР, а именно по одному виду в каждом из ряда следующих друг за другом временных окон, образующих единую сессию считывания, в т.ч. в условиях покрытия внутренних стенок контейнера радиопоглощающим материалом, а также в обеспечении возможности формирования произвольного (с точностью до разрядности используемых ЦАП и АЦП) числа интерференционных картин поля внутри контейнера без изменения схемотехнической реализации тракта за счет программно-реконфигурируемой архитектуры блока цифрового диаграммообразования (ЦДО), обеспечивающей независимость динамического диапазона заявляемого устройства от числа формируемых картин поля и его поляризационной структуры, причем между каждым выходом ЦАП, входом АЦП и портом антенного элемента внутренней антенной решетки включен циркулятор, обеспечивающий возможность работы по меньшей мере в одном поляризационном базисе, либо каждый выход ЦАП непосредственно соединен с портом антенного элемента, и при этом каждый вход АЦП также непосредственно соединен с портом антенного элемента. Дополнительно технический результат достигается реализацией адаптивного механизма раздельной регулировки усиления в прямом и обратном каналах двунаправленного ретрансляционного модуля, включаемого между внешней и внутренней антенными системами. Заявляемое устройство позволяет рационально объединить положительные стороны устройства, реализующего прототип с возможностью формирования произвольного (с точностью до разрядности АЦП и ЦАП) числа объемных распределений электромагнитного поля, несущего опросный и ответный сигналы внутри металлического контейнера, методами ЦДО [1]. Нижняя граница динамического диапазона заявляемого устройства не зависит (с точностью до разрядности АЦП и ЦАП и коэффициента шума АЦП) от количества формируемых интерференционных картин поля, так как число вариаций АФР на АЭ решетки определяется лишь величиной разрядности и программным обеспечением блока ЦДО, а не количеством вносящих потери и тем самым ограничивающих динамический диапазон аттенюаторов, фазовращателей и других элементов аналоговой ДОС, используемых в прототипе. Дополнительно подчеркнем, что различие ЦДО с используемым в прототипе аналоговым формированием заданного амплитудно-фазового распределения на АЭ решетки заключается в том, что в процессе цифровой обработки (например, при делении сигнала на несколько каналов) отношение сигнал/шум не ухудшается. Отсутствуют также потери на передачу сигнала, имеющие место в линиях аналоговой ДОС. Это позволяет существенно снизить влияние искажений, вносимых разрядностью и различного рода нестабильностями аналоговой части обработки сигнала, сохранить отношение сигнал/шум (с точностью до коэффициента шума АЦП) исключением потерь мощности в фазовращателях каналов АР (имеющие смысл для равноамплитудного АФР при работе с выведенными в минимум ослабления аттенюаторами), а также исключить потери в распределительной системе [1]. Также в заявляемом устройстве за счет применения ЦДО отпадает необходимость в использовании циркулятора для развязки приемного и передающего трактов АР, межканальная развязка которого в прототипе ограничивает динамический диапазон устройства сверху, так как от ее величины зависит устойчивость усилителей в радиомодуле в рабочей полосе и вне ее. Для лучшего понимания сущности заявляемого изобретения далее приводятся его пояснения с привлечением графических материалов. На фиг. 1 показана функциональная схема, поясняющая реализацию устройства в части цепей формирования АР 1 различных интерференционных картин электромагнитного поля в полезном объеме контейнера 2. АР 1 конструктивно состоит из АЭ 3.1…3.М и блока цифрового диаграммообразования (ЦДО) 4, объединяющего в себе АЦП/ЦАП (5.1…5.N/6.1…6.N) и блок цифровой обработки сигналов (ЦОС) 7. В качестве блока ЦДО 4 может быть использован, например, универсальный модуль Xilinx Zynq UltraScale+ RFSoC ZCU216 [2], выполненный на базе системы-на-кристалле RFSoC и сочетающий в себе многоядерный процессор архитектуры ARM, поле программируемой логики FPGA/ПЛИС, высокоскоростные шестнадцатипортовые АЦП и ЦАП с полосой до 6 ГГц. Модуль объединяет в себе все ключевые подсистемы, необходимые для реализации полнофункционального ЦДО в диапазоне частот RFID [1]. Сигнал от ретрансляционного модуля (РМ) 8, поступает на вход АЦП 5.N+1 блока ЦДО 4, где оцифровывается. Затем в блоке ЦОС 7 выполняется дискретное преобразование Фурье (ДПФ) и умножение на вектор А из N комплексных весовых коэффициентов. Операцию ДПФ можно выполнить по алгоритмам быстрого преобразования Фурье (БПФ). Вектор А обеспечивает формирование требуемых значений амплитуды и фазовой задержки, соответствующих некоторой заранее заданной объемной картине поля. Затем выполняется обратное ДПФ. В результате формируется N сдвинутых по фазе друг относительно друга цифровых сигналов каждый со своей амплитудой, которые поступают на входы ЦАП 6.1…6.N соответственно, где они преобразуются в аналоговые комплексные радиосигналы. Возбуждение портов 3.1…3.N всех М АЭ 3 указанными комплексными сигналами через каскадно включенные циркуляторы 9.1…9.N (осуществляющие разделение приемного и передающего каналов АР 1) создает на АР 1 требуемое АФР. Аналогичным образом в обратном направлении комплексные сигналы АФР на портах 3.1…3.N всех М АЭ 3 через каскадно включенные циркуляторы 9.1…9.N поступают на АЦП 5.1…5.N, и, далее, после оцифровки, на входы блока ЦОС 7. После ДПФ, умножения на вектор А из N комплексных весовых коэффициентов, обратного ДПФ, сложения и цифро-аналогового преобразования ЦАП 6.N+1 сигнал поступает на РМ 8. При умножении спектра цифрового сигнала, полученного в результате ДПФ, на вектор из других весовых коэффициентов, выполнении обратного ДПФ и цифро-аналогового преобразования на АЭ 3.1…3.М получается другое амплитудно-фазовое распределение. Данная процедура может выполняться циклически во времени. Векторы комплексных весовых коэффициентов могут быть заранее определены, например, с помощью известных алгоритмов формирования лучей сканирующей ЦАР [1] и записаны в запоминающем устройстве блока ЦОС 7. В результате в объеме контейнера 2 формируется ряд соответствующих переключаемых интерференционных картин поля. Применение циркуляторов 9 позволяет использовать оба порта двухпортового излучателя и формировать поле различной поляризационной структуры, в т.ч. осуществлять работу в разных поляризационных базисах. Это обеспечивает возможность получения дополнительного выигрыша в энергетике. На фиг. 2 показана функциональная схема альтернативного варианта реализации ретранслятора. Отличие заключается в отсутствии циркуляторов 9 и использовании поляризационной развязки излучателя для развязки каналов АР 1, вследствие чего возможно формирование внутри контейнера 2 поля лишь одной поляризационной структуры. Это, однако, позволяет упростить конструкцию АР 1 ретранслятора и дополнительно снизить потери. Наличие на, по меньшей мере, одной из стенок контейнера 2 листового РПМ 10 так, как это показано на фиг. 3, обеспечивает снижение переотражений внутри объема контейнера 2 и некоторую минимизацию выраженности интерференционных свойств результирующей суперпозиции объемных картин поля, вследствие чего разность амплитуд в областях пучностей и узлов поля уменьшается. Использование в составе АР 1 широкоапертурных АЭ 3, например, патч-элементов с воздушным диэлектриком и некоторых других (например, в виде модовых подрешеток из F-образных излучателей) с максимизацией площади суммарной апертуры АР 1 дополнительно минимизирует выраженность интерференционных свойств получаемой суперпозиции картин поля. Это позволяет поставить набор идентификационных меток (далее - ИМ) 11, находящихся внутри объема контейнера 2, в примерно равные условия в части энергетики, и, соответственно, обеспечить примерно равновероятное уверенное их считывание. На фиг. 4 показана функциональная схема, поясняющая реализацию устройства в части двунаправленного ретрансляционного модуля. РМ 8 представляет собой каскадное включение управляемых аттенюаторов 13 и 14 на входах и выходах усилителей 12 соответственно и обеспечивает раздельную регулировку коэффициентов передачи в условно прямом (к ИМ) и обратном (к ТСД) каналах соответственно. В прямом канале модуля 8 входной аттенюатор 13 вводится с целью предотвращения перегрузки усилителя 12 при близком к контейнеру 2 расположении ТСД, работающего на большой мощности опроса, в то время как выходной аттенюатор 14 вводится с целью обеспечения внутри контейнера требований ЭМС, определяемых стандартом ISO 18000-6 (либо другой частью стандарта ISO 18000, регламентирующей работу системы RFID) и решениями ГКРЧ в части требований к радиоинтерфейсу системы. В частности, задачей аттенюатора 14 является обеспечение защиты от перегрузки ИМ 11 в случае, если при наступлении такой перегрузки усилитель 12 еще работает в линейном режиме, а внутренние механизмы защиты от перегрузки ИМ 11 уже не справляются ввиду превышения мощности принимаемого сигнала на портах чипа ИМ 11 над максимально допустимым значением, указанным в спецификации на чип. При этом в различных временных окнах в рамках сессии считывания могут использоваться режимы с различными значениями ослаблений выходного аттенюатора 14. Так, режим с условно большим введенным ослаблением позволяет считывать метки, находящиеся в энергетически хороших условиях, без их перегрузки, в то время как режим с малым ослаблением позволяет считывать метки, находящиеся в области остаточных нулей, т.е. с плохой энергетикой, при соблюдении норм стандарта, разумеется. В обратном канале входной аттенюатор 13 также предотвращает перегрузку усилителя 12, а выходной 14 служит для обеспечения требований ЭМС во внешнем пространстве, в частности, обеспечивает защиту от перегрузки приемника близкорасположенного ТСД. Раздельное управление аттенюаторами осуществляется контроллерами (далее - КРМ) 15, включенными в прямой и обратный каналы РМ 8 соответственно. Решение о начале введения описанной отрицательной обратной связи принимается КРМ 15 для каждого аттенюатора 13 и 14 индивидуально на основании уровня ВЧ-сигнала, измеряемого в прямом и обратном тракте направленным ответвителем-детектором (далее - ОД) 16 с использованием алгоритмов адаптации. КРМ 15 и блок ЦДО 4 могут быть синхронизированы с целью обеспечения раздельной работы механизма адаптации канальной энергетики для каждой из формируемых АР 1 объемных картин электромагнитного поля. Так, например, на одно временное окно, в котором формируется одна интерференционная картина поля, может приходиться несколько временных окон с реализацией различных коэффициентов усиления в прямом и обратном каналах РМ 8. В описанной схеме полосно-пропускающий фильтр (далее - ППФ) 17 используется с целью обеспечения межканальной развязки вне рабочей полосы циркулятора 18, обеспечивающего развязанное по направлению распространения разделение и сложение сигналов. При этом ППФ 17 включается по выходу усилителя 12 за аттенюатором 14, что обеспечивает сохранение нижней границы динамического диапазона канала в том случае, если фильтр имеет относительно большие потери. ППФ 17, включаемый по входу АР 1 выполняет функцию защиты АЦП 5.N+1 (фиг. 1, фиг. 2) от внеполосных помех. На фиг. 5 показана функциональная схема другого варианта технического решения с включением ППФ 17 по входу усилителя 12 перед аттенюатором 13, что может быть оправдано при малых потерях в фильтре. В этом случае ППФ 17 также выполняет функцию защиты усилителя от внеполосных помех. Очевидно, что приведенная схема РМ 8 должна быть устойчивой к самовозбуждению. Устойчивость достигается достаточностью межканальной развязки, обеспечиваемой циркулятором 18 и межканальной развязкой АЦП 5.N+1 и ЦАП 6.N+1 в их рабочей полосе частот и ППФ 17 вне этой полосы. Для недопущения снижения развязки в переходной области, где циркулятор 18 уже неразвязан, а ППФ еще не обеспечивает требуемого уровня ослабления, необходимо выполнение условия ПЦ > ПППФ, где ПЦ - рабочая полоса циркулятора 18 по заданному уровню развязки, а ПППФ - полоса ППФ 17 по заданному уровню согласования. Тем не менее при необходимости достижения коэффициента передачи РМ 8 порядка 20 дБ и более может возникнуть ситуация, когда в условиях реальных уровней согласования (КСВН порядка 1,2) развязки циркулятора 18, обычно соизмеримой с уровнем соответствующей величины обратных потерь (известных в зарубежной литературе как Returnloss, RL), т.е. порядка 20 дБ для указанного КСВН, становится явно недостаточно. Выход из такой ситуации состоит в обеспечении уровня согласования всех каскадно включаемых элементов тракта, значение обратных потерь для которых как минимум соответствует значению развязки циркулятора либо превышает его. Это может быть обеспечено, например, выполнением отдельных узлов тракта либо их каскадного соединения по известным неотражающим схемам, приведенным на фиг. 6, сущность которых состоит в разделении несогласованного тракта на два канала со сдвигом фаз между ними в 90° и последующего объединения их путем использования, например, квадратурных мостов 19 с балластами 20, что обеспечивает согласование полученного т.н. «неотражающего» четырехполюсника с точностью до согласования таких мостов. Для РМ 8 по такой схеме могут быть выполнены усилитель 12, ППФ 17. Наряду с другими элементами тракта ограничивать развязку может и сам циркулятор, имеющий конечное согласование. В этом случае такой циркулятор с известной матрицей рассеяния может быть, например, досогласован и доразвязан путем введения в его схему дополнительных элементов, включая формирование третьих цепей за счет дополнительных связей между портами, реализация чего, впрочем, в рамках настоящей заявки не рассматривается. Вместе с тем рассмотрен иной способ, более эффективный на взгляд авторов. На фиг. 7 и фиг. 8 показан способ обеспечения достаточной межканальной развязки в схеме РМ 8. Такой способ состоит в использовании двух взаимно развязанных излучателей в составе внешней антенны 21 вместо одного с исключением из схемы циркулятора 18. Развязка может быть поляризационной либо обеспечиваться пространственным разносом излучателей, либо включать оба эти механизма. Заявленный ретранслятор в части ретрансляционного модуля двунаправленного усиления РМ 8 работает следующим образом (фиг. 4). ТСД генерирует сессию считывания в соответствующем временном окне. Сигнал ТСД излучается в пространство одиночной антенной ТСД с круговой поляризацией излучения. Излученный сигнал принимается внешней антенной 21 и поступает на РМ 8, где через соответствующее плечо циркулятора 18 попадает на входной аттенюатор 13 с минимальным значением начального ослабления и далее на вход усилителя 12. Усиленный опросный сигнал поступает на ОД 16, где небольшая его часть (опорный сигнал) согласованно ответвляется в измерительный тракт и детектируется, попадая далее на измерительный вход КРМ 15, а основная часть через выходной аттенюатор 14 и ППФ 17 поступает на порт АР 1. КРМ 15, будучи включенным на низкочастотном выходе ОД 16, оценивает уровень мощности опорного сигнала и, при необходимости, корректирует его, увеличивая ослабление входного аттенюатора 13, если измеренный им уровень сигнала соответствует уровню ВЧ-мощности вблизи точки компрессии усилителя 12, либо увеличивая ослабление выходного аттенюатора 14, если измеренный им уровень ниже указанной точки компрессии, но соизмерим с предустановленным пользователем значением максимально допустимого уровня мощности для используемых типов ИМ 11. Сигнал, несущий информацию о кодах ИМ 11 (ответный сигнал), с соответствующего порта АР 1 поступает в тракт усиления, аналогичный по структуре и по функциональной схеме тракту прямого канала. Усиленный ответный сигнал через ППФ 17 и соответствующее плечо циркулятора 18 поступает на внешнюю антенну 21, излучается в пространство и принимается ТСД. Реализация ретранслятора, представленная на фиг. 5, отличается от вышеописанной порядком расположения ППФ 17. В части альтернативного варианта РМ 8 ретранслятор работает следующим образом (фиг. 7). Излученный антенной ТСД опросный сигнал принимается АЭ 21.1 внешней антенны 21, поступает на входной аттенюатор 13 РМ 8 и далее обрабатывается вышеописанным способом. Усиленный ответный сигнал с выхода ППФ 17 поступает на АЭ 21.2 внешней антенны 21, излучается в пространство и принимается ТСД. При этом функции отсутствующего в схеме циркулятора 18 выполняет внешняя антенна. Реализация способа, представленная на фиг. 8, отличается от вышеописанной порядком расположения ППФ 17. В части АР 1 ретранслятор работает следующим образом (фиг. 1). Опросный сигнал, усиленный РМ 8, поступает на порт АЦП 5.N+1 и оцифровывается. Затем в блоке ЦОС 7 выполняется ДПФ и умножение на вектор из N комплексных весовых коэффициентов. Этот вектор обеспечивает формирование требуемых значений амплитуды и фазовой задержки, соответствующих некоторой заранее заданной объемной картине поля. Затем выполняется обратное ДПФ. В результате формируется N сдвинутых по фазе друг относительно друга цифровых сигналов каждый со своей амплитудой, которые подаются на входы ЦАП 6.1…6.N соответственно, где они преобразуются в аналоговые комплексные радиосигналы, которые в свою очередь поступают на порты АЭ 3.1…3.N из состава АР 1. Полученный таким образом вектор парциальных сигналов формирует на входах АЭ 3.1…3.N условно первое АФР. АР 1 формирует в объеме контейнера 2 объемную интерференционную картину электромагнитного поля, соответствующую заданному АФР на портах АЭ 3.1…3.N. Аналогичным образом осуществляется формирование серии иных интерференционных картин поля путем умножения в блоке ЦОС 7 спектра оцифрованного входного сигнала на другие векторы комплексных коэффициентов. Векторы комплексных коэффициентов могут быть определены, например, с помощью известных алгоритмов формирования лучей сканирующей цифровой АР и записаны в запоминающем устройстве блока ЦОС 7. Ответный сигнал от ИМ 11 поступает на порты АЭ 3.1…3N, а затем на входные порты АЦП 5.1…5.N и в блок ЦОС 7. В блоке ЦОС 7 выполняется обработка оцифрованных N входных сигналов по алгоритмам цифрового диаграммообразования в режиме приема. Далее обработанный цифровой сигнал поступает на ЦАП 6.N+1, затем уже аналоговый радиосигнал поступает на соответствующий порт РМ 8 и обрабатывается как описано выше. Подчеркнем, что в заявляемом устройстве идет речь о формировании объемных интерференционных картин электромагнитного поля в границах параллелепипеда с линейным размером грани соизмеримым с линейными размерами АР, что является принципиальным отличием его от большинства внешне похожих устройств, известных из уровня техники на момент подготовки материалов настоящей заявки, где речь идет о формировании (в т.ч. адаптивном формировании) диаграмм направленности (далее - ДН) и лучей АР, поскольку само понятие ДН определяет ее нахождение на бесконечном расстоянии от источника излучения, где линейные размеры такого источника стремятся к нулю (источник представляется точечным), а для описания ДН используется лишь полярная система координат. Использование в заявляемом устройстве возможности формирования по меньшей мере трех интерференционных картин поля и реализация механизма управления коэффициентами передачи в рамках единой сессии считывания позволяет снизить вероятность попадания нулей в области расположения идентификационных меток внутри рабочего объема экранированного контейнера и обеспечить достаточность энергетики как прямого, так и обратного каналов в условиях ретрансляции сигналов радиочастотной идентификации из внешнего пространства в замкнутый объем, ограниченный электропроводящими стенками. Следует учитывать, что вышеизложенное описание приведено с целью иллюстрации заявляемого изобретения, поэтому специалистам должно быть ясно, что возможны различные модификации и изменения, не противоречащие букве и духу испрашиваемого в данной заявке объема охраны. Список использованных источников 1. Григорьев Л.Н. Цифровое формирование диаграммы направленности в фазированных антенных решетках. - М.: Радиотехника, 2010. - 144 с. 2. Zynq UltraScale+ RFSoC ZCU216 Evaluation Kit. - URL: https://www.xilinx.com/products/boards-and-kits/zcu216.html#information (дата обращения 12.04.2024).