Использование: изобретение относится к программно-конфигурируемым радиосистемам, которые могут быть использованы в области техники связи, радиолокации, системах мобильной радиосвязи. Сущность: программно-определяемое приемо-передающее устройство содержит процессор, подключенное к процессору хранилище, многоканальный приемо-передающий блок, подключенный к процессору. Устройство дополнительно содержит решетки антенных элементов, блоки формирования диаграммы направленности, подключенные и к решеткам антенных элементов, и к многоканальному приемо-передающему блоку, и к процессору, причем многоканальный приемо-передающий блок содержит порты, каждый из которых подключен к одному блоку формирования диаграммы направленности, а каждый блок формирования диаграммы направленности также подключен к одной решетке антенных элементов, и процессор сконфигурирован с возможностью изменения диаграммы направленности решеток антенных элементов. Технический результат: создание заявляемым ППУ программно-управляемой диаграммы направленности с возможностью концентрации и/или ослабления излучаемой энергии, а также усиления и/или подавления принимаемых сигналов для одного или нескольких заданных направлений, усиление одного или нескольких полезных сигналов и/или уменьшение помех на одном или нескольких заданных направлениях, увеличение дальности и надежности связи и скорости передачи данных при использовании программно-определяемых формы, несущей частоты, ширины полосы, сигнально-кодовых конструкций и других параметров сигналов. 6 з.п. ф-лы, 15 ил.
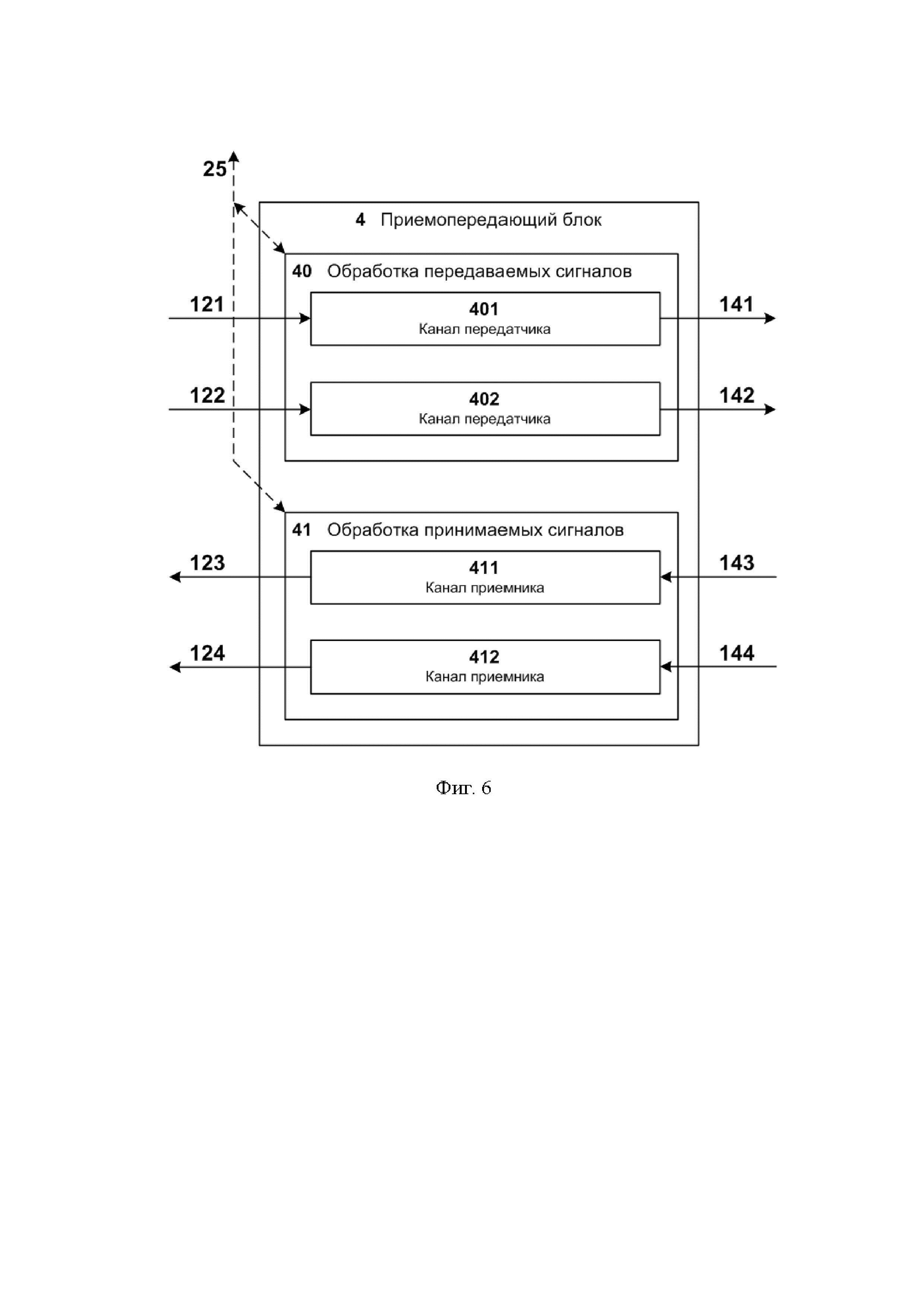
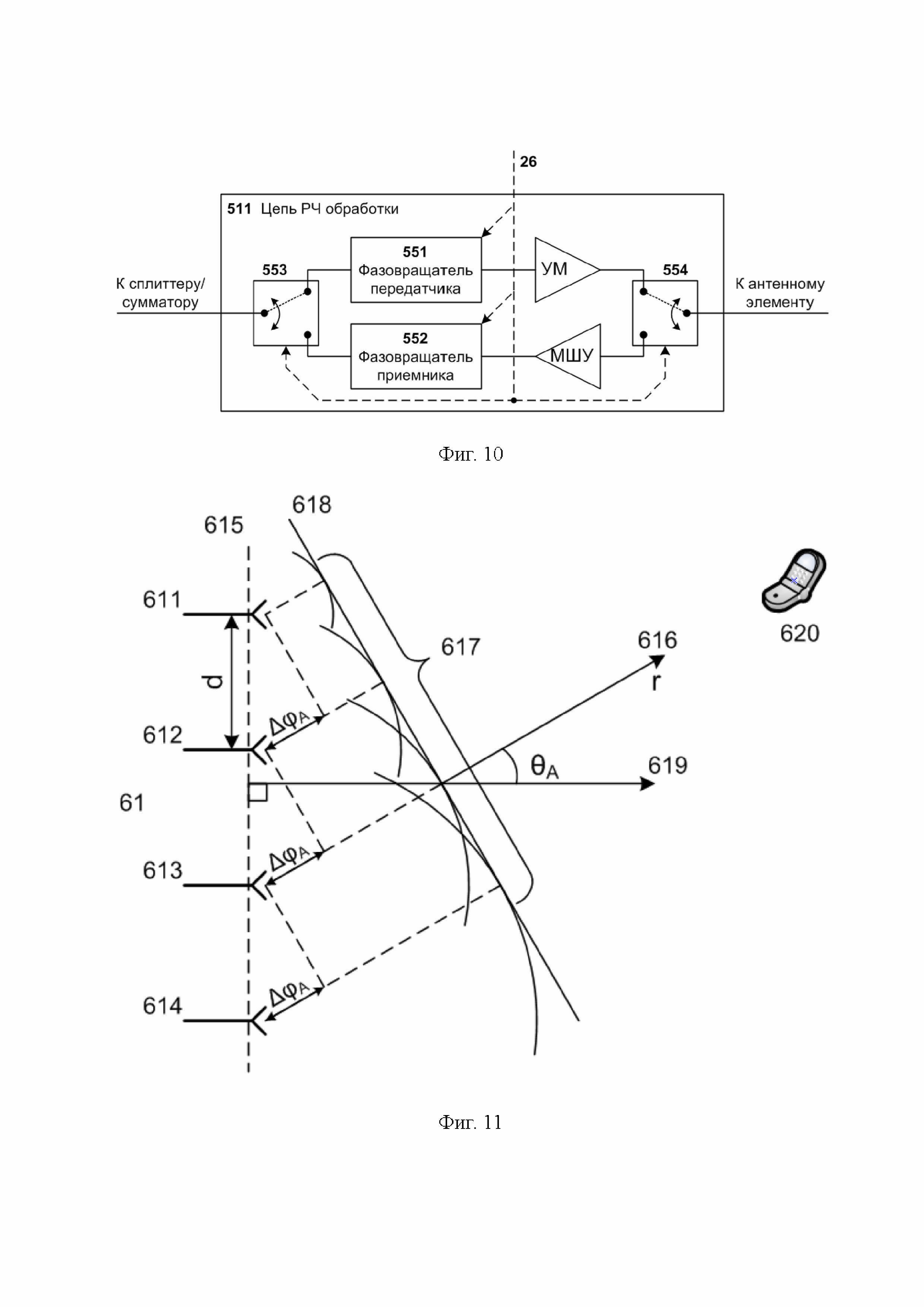
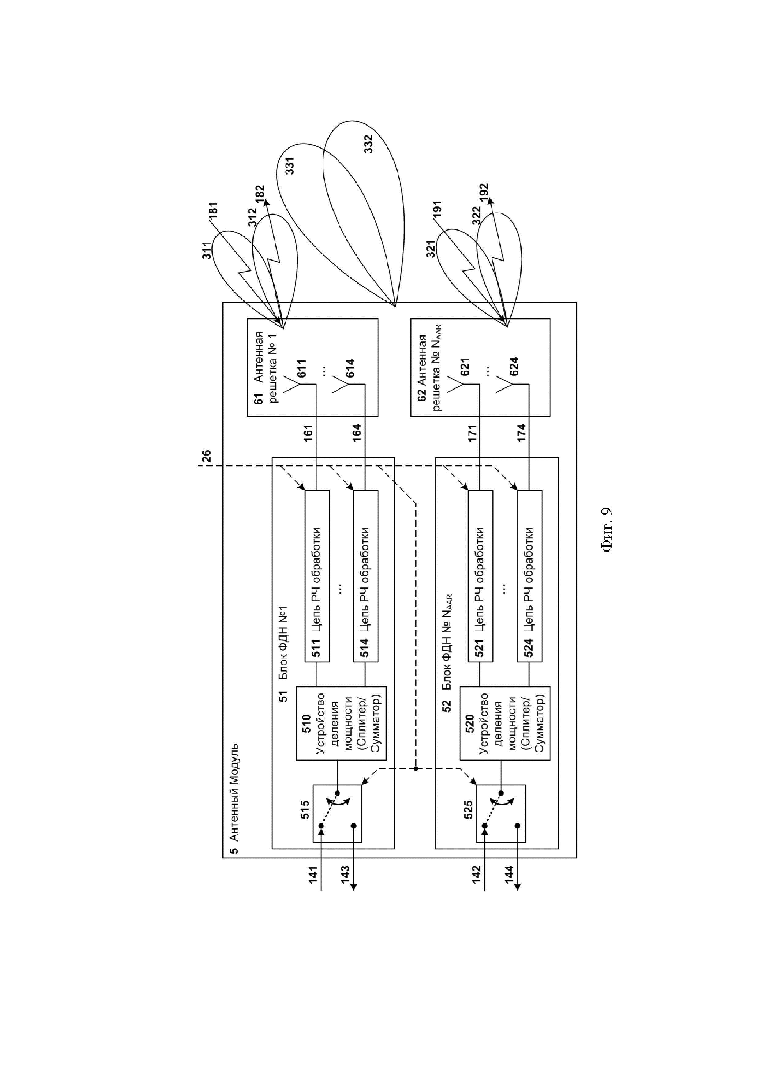
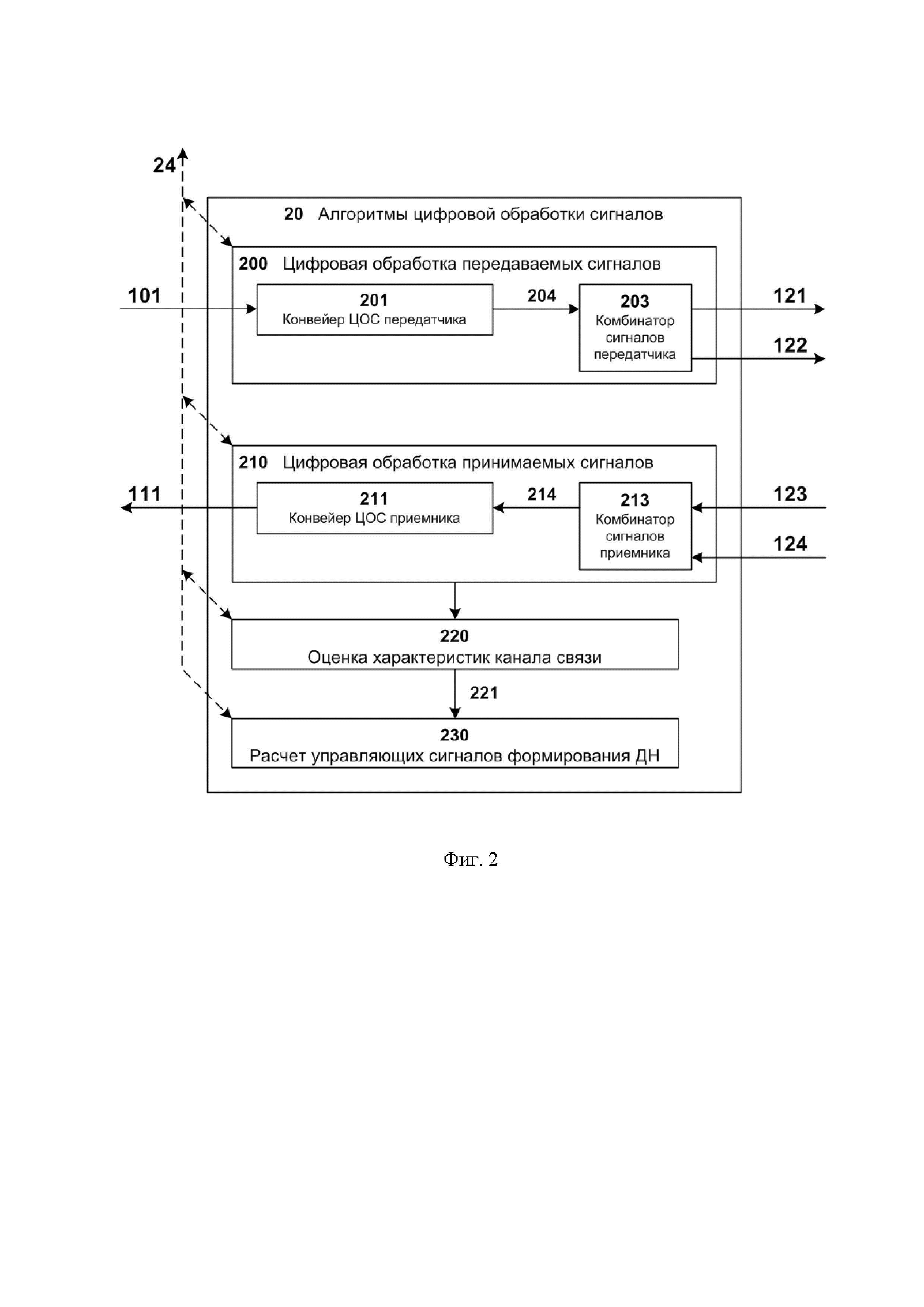
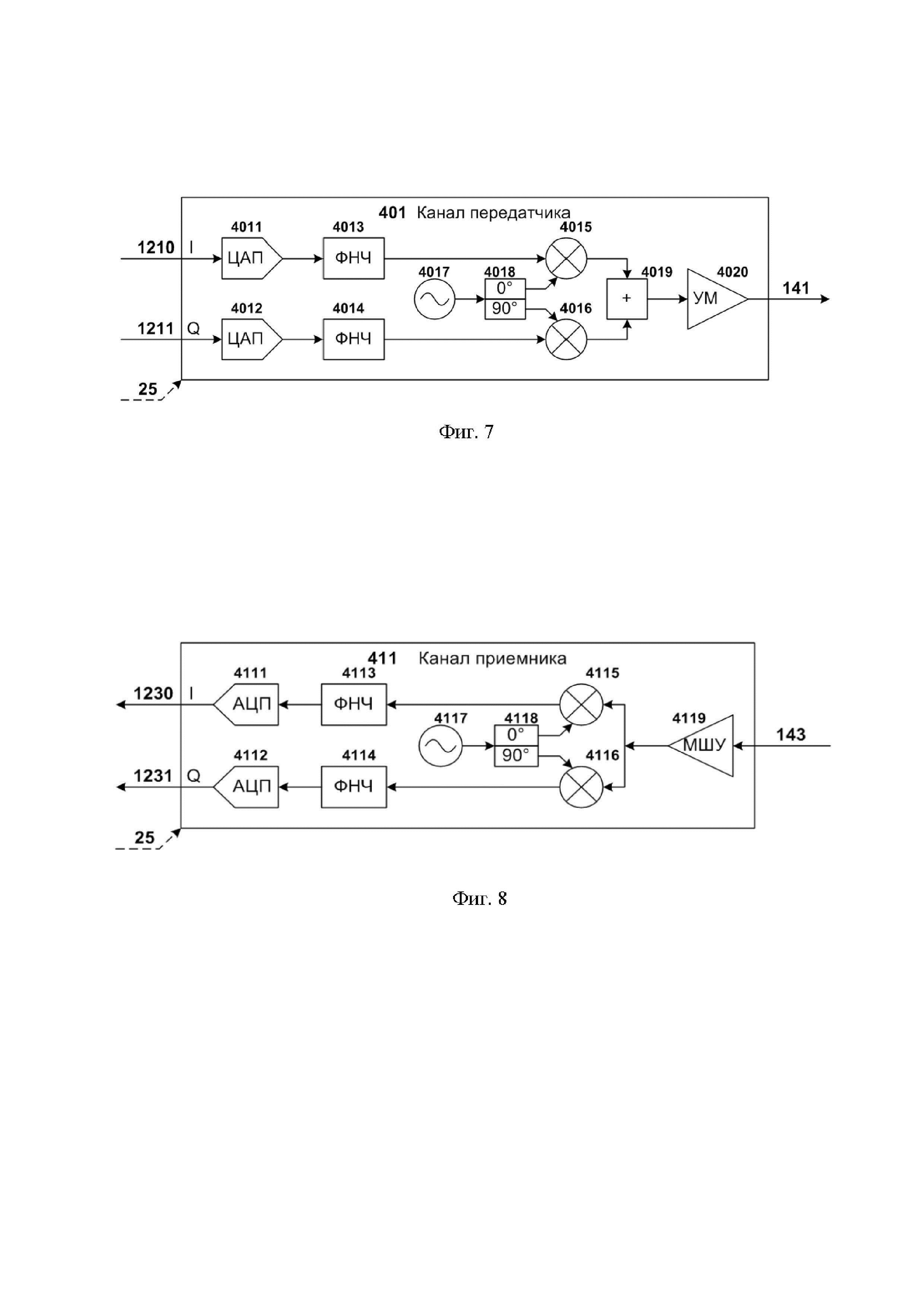
1. Программно-определяемое приемо-передающее устройство, содержащее процессор с включенными в него блоком цифровой обработки сигнала (ЦОС), сконфигурированным для цифровой обработки передаваемых и/или принимаемых сигналов, блоком управления и конфигурирования, а также подключенное к процессору хранилище, сконфигурированное для хранения инструкций для процессора, многоканальный приемо-передающий блок, подключенный к процессору и сконфигурированный для аналоговой и/или радиочастотной обработки передаваемых и/или принимаемых сигналов, отличающееся тем, что ЦОС, включающий блок цифровой обработки передаваемых сигналов, в котором последовательно с конвейером ЦОС передатчика соединен комбинатор сигналов передатчика, и блок цифровой обработки принимаемых сигналов, в котором последовательно с конвейером ЦОС приемника соединен комбинатор сигналов приемника, также содержит блок оценки характеристик канала связи, подключенный к блоку цифровой обработки принимаемых сигналов, и блок расчета диаграмм направленности, подключенный к блоку оценки характеристик канала связи, параметры работы которых определяются конфигурирующей и статусной информацией, поступающей от алгоритмов блока управления и конфигурирования, выполняемых процессором, при этом устройство дополнительно содержит решетки антенных элементов, блоки формирования диаграммы направленности, подключенные и к решеткам антенных элементов, и к многоканальному приемо-передающему блоку, и к процессору, причем многоканальный приемо-передающий блок содержит порты, каждый из которых подключен к одному блоку формирования диаграммы направленности, а каждый блок формирования диаграммы направленности также подключен к одной решетке антенных элементов, и процессор сконфигурирован с возможностью изменения диаграммы направленности решеток антенных элементов. 2. Устройство по п. 1, отличающееся тем, что блок формирования диаграммы направленности содержит устройство деления мощности, сконфигурированное для разделения мощности передаваемых сигналов между антенными элементами решетки, подключенной к блоку формирования диаграммы направленности, и/или для суммирования мощности сигналов, принимаемых от элементов антенной решетки, подключенной к блоку формирования диаграммы направленности, а также цепи радиочастотной обработки принимаемых и/или передаваемых сигналов, причем каждая цепь подключена к устройству деления мощности и к одному антенному элементу решетки, которая подключена к данному блоку формирования диаграммы направленности. 3. Устройство по п. 2, отличающееся тем, что по крайней мере одна цепь радиочастотной обработки принимаемых и/или передаваемых сигналов выполнена с возможностью регулировки фазы принимаемых и/или передаваемых сигналов с помощью конфигурирующей информации, поступающей от процессора. 4. Устройство по п. 1, отличающееся тем, что многоканальный приемо-передающий блок выполнен с возможностью обработки сигналов, содержащих синфазную и квадратурную компоненты. 5. Устройство по п. 1, отличающееся тем, что процессор сконфигурирован для обмена с многоканальным приемо-передающим блоком, по крайней мере, первым и вторым сигналами, имеющими синфазные и квадратурные компоненты, для обработки соответственно первым и вторым каналами многоканального приемо-передающего блока, причем синфазная и квадратурная компоненты второго сигнала представляют собой линейную комбинацию синфазных и квадратурных компонент первого сигнала. 6. Устройство по п. 1, отличающееся тем, что процессор сконфигурирован для обработки по крайней мере одного цифрового сигнала, имеющего синфазную и квадратурную компоненты, процессор также сконфигурирован для обмена с многоканальным приемо-передающим блоком, по крайней мере, первым и вторым сигналами, имеющими синфазные и квадратурные компоненты, для обработки соответственно первым и вторым каналами многоканального приемо-передающего блока, причем синфазная и квадратурная компоненты первого сигнала представляют собой первую линейную комбинацию синфазных и квадратурных компонент по крайней мере одного цифрового сигнала, а синфазная и квадратурная компоненты второго сигнала представляют собой вторую линейную комбинацию синфазных и квадратурных компонент по крайней мере одного цифрового сигнала. 7. Устройство по п. 1, отличающееся тем, что процессор сконфигурирован для обработки по крайней мере одного цифрового сигнала, имеющего синфазную и квадратурную компоненты, процессор также сконфигурирован для обмена с многоканальным приемо-передающим блоком, по крайней мере, первым и вторым сигналами, имеющими синфазные и квадратурные компоненты, для обработки соответственно первым и вторым каналами многоканального приемо-передающего блока, причем синфазная и квадратурная компоненты по крайней мере одного цифрового сигнала представляют собой линейную комбинацию синфазных и квадратурных компонент, по крайней мере, первого и второго сигналов.
Изобретение относится к программно-конфигурируемым радиосистемам, которые могут быть использованы в области техники связи, радиолокации, системах мобильной радиосвязи. Предшествующий уровень техники В современных условиях быстроразвивающегося сегмента отрасли беспроводных технологий остро встает вопрос по ускорению процесса разработки и отладки новых технологических решений и стандартов связи. Постоянно растущие требования к скорости передачи данных беспроводным оборудованием, вынуждают производителей искать способы оптимизации процесса разработки и минимизации затрат на обновление аппаратных решений, существующих на данный момент. Одним из возможных решений данной проблемы является внедрение в этот процесс технологии программно-определяемого оборудования беспроводной связи (англ. Software Defined Radio - SDR). Идея, лежащая в основе существующих SDR устройств, заключается в том, что данное оборудование может быть полностью сконфигурировано или определено программным обеспечением. Принимаемый радиосигнал преобразуется в цифровой формат в достаточно универсальном приемном блоке, и его дальнейшая обработка осуществляется в цифровой области. Передаваемый сигнал генерируется цифровым способом в соответствии с заданными пользователем конфигурациями и преобразуется в аналоговый сигнал в передающем блоке. Основным преимуществом данного подхода является то, что такое приемо-передающее оборудование может быть полностью перенастроено путем простой замены программного обеспечения и сконфигурировано пользователем для приема-передачи практически любых сигнально-кодовых конструкций в заданном диапазоне частот. Возможность конфигурирования программного обеспечения позволяет использовать оборудование для приема-передачи радиосигналов, построенных в соответствии с новыми стандартами связи, исследовать различные схемы помехоустойчивого кодирования и типы модуляции сигналов без изменения аппаратной части оборудования. При этом использование одной аппаратной платформы для разработки и тестирования различных приемо-передающих устройств позволяет существенно снизить затраты на разработку и повысить качество выпускаемой продукции. Среди типичных существующих SDR устройств можно отметить следующие. Известно Multiple waveform software radio US 6,181,734, где описана радиостанция с программно-определяемым функционалом, в которой могут использоваться разные формы сигналов. Радиостанция имеет в своем составе память, в которой хранится программное обеспечение для обработки разных типов сигналов и дополнительно включает в себя один или несколько процессоров, которые извлекают программное обеспечение, зависящее от конкретной формы сигнала, для обработки информации при передаче или приеме. Вся обработка информации между приемом или воспроизведением речи и передачей или приемом радиочастотных сигналов, соответственно, выполняется в программном обеспечении. Устройство US 6,181,734 обеспечивает потребности в так называемых сотовых телефонах с «двойным режимом», где разные режимы относятся к разным формам сигналов. Кроме того, оператор может переключаться с одного режима формы сигнала на другой для связи по различным радиосетям, таким как сеть спутниковой связи Iridium производства Motorola, Inc., сотовые сети TDMA и/или CDMA или другие наземные мобильные двусторонние радиостанции, системы, или для связи по всем или нескольким из них одновременно. Известно Software defined cognitive radio US 8,036,240, где описано вычислительное устройство с программно-определяемым радиоустройством, которое имеет архитектуру с отдельными компонентами для обеспечения функции управления и функции обработки данных. Компоненты управления конфигурируют компоненты обработки данных таким образом, что программно-определяемое радиоустройство обеспечивает требуемые рабочие характеристики. Компоненты на уровне данных могут получать информацию, характеризующую рабочие условия, которая может быть предоставлена для одного или более компонентов управления. В ответ на это, компоненты управления могут модифицировать компоненты на уровне данных для регулирования рабочих условий. В одной из возможных реализаций программно-определяемое радиоустройство Software defined cognitive radio US 8,036,240 имеет архитектуру с отдельными логическими уровнями: уровнем управления и уровнем данных. Уровень данных выполняет операции обработки данных, ассоциированные с беспроводной связью. Уровень управления позволяет изменять конфигурацию уровня данных для изменения технологии беспроводной связи, в соответствии с которой работает радиоустройство, или для регулирования рабочих параметров без изменения технологии беспроводной связи. Благодаря гибкости, обеспечиваемой такой архитектурой, конфигурация программно-определяемого радиоустройства может быть выполнена или может быть изменена для поддержки эффективной связи с использованием одной или более технологий беспроводной связи. В качестве одного примера гибкости, обеспечиваемой с помощью программно-определяемых радиоустройств, канал обратной связи может быть легко сформирован между компонентами уровня данных и компонентами уровня управления. Компоненты уровня данных могут генерировать информацию статуса об используемом канале связи, такую как частота ошибок и уровень шумов. Такая информация может быть предоставлена в когнитивный модуль на уровне управления, который может идентифицировать регулировку, требуемую для компонентов на уровне данных, которая позволяет адаптироваться к текущим условиям работы. В качестве наиболее близкого к изобретению (прототипа) выбрано Software defined radio and radio system US 7,043,023, в котором программно- определяемое радиоустройство содержит: антенну для передачи и приема радиосигналов, блок радиочастотной обработки сигналов, блок обработки сигналов на основной полосе частот, блок управления, хранилище, хранящее программное обеспечение для определения функции программно определяемого радио и критерий спецификации, задающий эталонные характеристики радиопередачи, измерительную схему для измерения характеристик передачи радиосигнала, передаваемого от указанного программно-определяемого радиоустройства, и переключатель, соединенный с указанной антенной, указанным радиочастотным блоком и указанной измерительной схемой. Указанный блок управления предназначен для изменения настройки блока обработки сигналов на основной полосе частот и блока радиочастотной обработки сигналов таким образом, чтобы удовлетворить целевым характеристикам передачи и приема, служащим критерием спецификации. В интервалы времени, когда упомянутая схема измерения измеряет характеристики передачи, указанный переключатель отключает указанный радиочастотный блок от антенны и соединяет его с измерительной схемой для перенаправления сигнала в измерительную схему. Однако, приведенные выше примеры известных устройств SDR не используют многоэлементные антенные решетки и, таким образом, лишены возможности использовать широкий спектр технологий пространственной обработки сигналов, таких как формирование управляемых узких лучей с помощью технологии фазированных антенных решеток для повышения дальности связи и уменьшения уровня помех в нежелательных направлениях, формирование нескольких независимых пространственных подканалов за счет применения технологии передачи со многими входами и выходами (англ. Multiple Input Multiple Output - MIMO) для повышения скорости передачи данных за счет одновременной передачи информации в одних и тех же частотных ресурсах по разным пространственным подканалам, а также другие техники многоантенной обработки сигналов. Раскрытие изобретения Задачей, на решение которой направлено изобретение, является создание приемо-передающего устройства (ППУ) с управляемой модульной многоэлементной антенной системой с большим числом антенных элементов, позволяющего существенно расширить область применения ППУ: увеличить дальность связи и скорость передачи данных, уменьшить взаимные помехи между станциями по сравнению с существующими устройствами SDR, использующими неуправляемые антенны. Техническим результатом является создание заявляемым ППУ программно-управляемой диаграммы направленности с возможностью концентрации и/или ослабления излучаемой энергии, а также усиления и/или подавления принимаемых сигналов для одного или нескольких заданных направлений, усиление одного или нескольких полезных сигналов и/или уменьшение помех на одном или нескольких заданных направлениях, увеличение дальности и надежности связи и скорости передачи данных при использовании программно-определяемых формы, несущей частоты, ширины полосы, сигнально-кодовых конструкций и других параметров сигналов. Решение поставленной задачи достигается тем, что программно-определяемое приемо-передающее устройство, содержащее процессор с включенными в него блоком цифровой обработки сигнала (ЦОС), сконфигурированным для цифровой обработки передаваемых и/или принимаемых сигналов, блоком управления и конфигурирования, а также подключенное к процессору хранилище, сконфигурированное для хранения инструкций для процессора, многоканальный приемо-передающий блок, подключенный к процессору и сконфигурированный для аналоговой и/или радиочастотной обработки передаваемых и/или принимаемых сигналов, дополнительно содержит решетки антенных элементов, блоки формирования диаграммы направленности, подключенные и к решеткам антенных элементов, и к многоканальному приемо-передающему блоку, и к процессору, причем многоканальный приемо-передающий блок содержит порты, каждый из которых подключен к одному блоку формирования диаграммы направленности, а каждый блок формирования диаграммы направленности также подключен к одной решетке антенных элементов, и процессор сконфигурирован с возможностью изменения диаграммы направленности решеток антенных элементов. При этом блок формирования диаграммы направленности содержит устройство деления мощности, подключенное к процессору и сконфигурированное для разделения мощности передаваемых сигналов между антенными элементами решетки, подключенной к блоку формирования диаграммы направленности и/или для суммирования мощности сигналов, принимаемых от элементов антенной решетки, подключенной к блоку формирования диаграммы направленности, а также цепи радиочастотной обработки принимаемых и/или передаваемых сигналов, причем каждая цепь подключена к устройству деления мощности и к одному антенному элементу решетки, которая подключена к данному блоку формирования диаграммы направленности. Цепь радиочастотной обработки принимаемых и/или передаваемых сигналов выполнена с возможностью регулировки фазы принимаемых и/или передаваемых сигналов с помощью конфигурирующей информации, поступающей от процессора. Блок цифровой обработки сигнала ЦОС, включающий блок цифровой обработки передаваемых сигналов, в котором последовательно с конвейером ЦОС передатчика соединен комбинатор сигналов передатчика, и блок цифровой обработки принимаемых сигналов, в котором последовательно с конвейером ЦОС приемника соединен комбинатор сигналов приемника, также содержит блок оценки характеристик канала связи, подключенный к блоку цифровой обработки принимаемых сигналов, и блок расчета диаграмм направленности, подключенный к блоку оценки характеристик канала связи, параметры работы которых определяются конфигурирующей и статусной информацией, поступающей от алгоритмов блока управления и конфигурирования, выполняемых процессором. При этом многоканальный приемо-передающий блок выполнен с возможностью обработки сигналов, содержащих синфазную и квадратурную компоненты, а процессор сконфигурирован для обмена с многоканальным приемо-передающим блоком, по крайней мере, первым и вторым сигналами, имеющими синфазные и квадратурные компоненты, для обработки, соответственно, первым и вторым каналом многоканального приемо-передающего блока, причем синфазная и квадратурная компоненты второго сигнала представляют собой линейную комбинацию синфазных и квадратурных компонент первого сигнала. В альтернативном варианте решения задачи приемо-передающий блок также выполнен с возможностью обработки сигналов, содержащих синфазную и квадратурную компоненты, а процессор сконфигурирован для обработки, по крайней мере, одного цифрового сигнала, имеющего синфазную и квадратурную компоненты, процессор также сконфигурирован для обмена с многоканальным приемо-передающим блоком, по крайней мере, первым и вторым сигналами, имеющими синфазные и квадратурные компоненты, для обработки, соответственно, первым и вторым каналом многоканального приемо-передающего блока, причем синфазная и квадратурная компоненты первого сигнала представляют собой первую линейную комбинацию синфазных и квадратурных компонент, по крайней мере, одного цифрового сигнала, а синфазная и квадратурная компоненты второго сигнала представляют собой вторую линейную комбинацию синфазных и квадратурных компонент по крайней мере одного цифрового сигнала. В третьем возможном варианте решения задачи процессор сконфигурирован для обработки, по крайней мере, одного цифрового сигнала, имеющего синфазную и квадратурную компоненты, процессор также сконфигурирован для обмена с многоканальным приемо-передающим блоком, по крайней мере, первым и вторым сигналами, имеющими синфазные и квадратурные компоненты, для обработки, соответственно, первым и вторым каналом многоканального приемо-передающего блока, причем синфазная и квадратурная компоненты, по крайней мере, одного цифрового сигнала представляют собой линейную комбинацию синфазных и квадратурных компонент, по крайней мере, первого и второго сигналов. Варианты осуществления изобретения На фиг. 1 изображено указанное приемо-передающее устройство ППУ 1, которое содержит процессор 2, с включенными в него блоком цифровой обработки сигнала (ЦОС) 20, сконфигурированным для цифровой обработки передаваемых и/или принимаемых сигналов, блоком управления и конфигурирования 21, осуществляющих цифровую обработку сигналов, управление и конфигурирование ППУ 1, хранилище 3, имеющее в своем составе память 30, подключенное к процессору 2 и хранящее программное обеспечение для процессора 2, а также параметры конфигурации блоков и модулей ППУ 1, многоканальный приемо-передающий блок 4, подключенный к процессору 2 и осуществляющий аналоговую и радиочастотную обработку передаваемых и принимаемых радиосигналов, антенный модуль 5, включающий в себя NAAR антенных решеток 61-62 и NAAR блоков формирования диаграмм направленности 51-52, где NAAR - целое число большее или равное двум, причем каждая из антенных решеток подключена к многоканальному приемо-передающему блоку 4 через один блок формирования диаграмм направленности. Антенный модуль 5, подключен к многоканальному приемо-передающему блоку 4 и к процессору 2 и осуществляет, совместно с процессором 2, цифро-аналоговое формирование диаграммы направленности (ДН) 33 антенной системы из NAAR антенных решеток 61-62. ППУ 1 служит для обмена цифровыми данными 10 с другими приемо-передающими устройствами посредством передачи и/или приема NAAR радиосигналов 18-19 с помощью антенных решеток 61-62. При этом алгоритмы цифровой обработки сигналов (ЦОС) 20 осуществляют преобразование между цифровыми данными 10 и NAAR цифровых сигналов, которыми процессор 2 обменивается с многоканальным приемо-передающим блоком 4 через цифровой порт 12; многоканальный приемо-передающий блок 4 осуществляет преобразование между NAAR цифровых сигналов цифрового порта 12 и NAAR радиочастотных (РЧ) сигналов, которыми многоканальный приемо-передающий блок 4 обменивается с антенным модулем 5 через NAAR РЧ портов 14-15; антенный модуль 5 осуществляет преобразование между NAAR РЧ сигналов цифровых портов 14-15 и NAAR радиосигналов 18-19. При этом NAAR радиосигналов 18-19 передаются и/или принимаются NAAR антенных подрешеток 61-62, имеющих соответственно NAAR диаграмм направленности (ДН) 31-32, формируемых соответственно NAAR блоков формирования диаграмм направленности (ФДН) 51-52 антенного модуля 5. Процессор 2 осуществляет управление многоканальным приемо-передающим блоком 4 через порт управления 25 и антенным модулем 5 через порт управления 26. В одном варианте реализации, процессор 2 подключен к интерфейсу пользователя 8, для получения управляющей информации 23, на основе которой алгоритмы управления и конфигурирования 21, выполняющиеся процессором 2, осуществляют управление ППУ 1, включая загрузку в процессор 2 пользовательских блоков и/или алгоритмов цифровой обработки сигналов 20, конфигурацию аналоговой и радиочастотной обработки сигналов в многоканальном приемо-передающем блоке 4, а также формирование ДН 33 ППУ 1 на основе NAAR ДН 31-32, формируемых антенным модулем 5. В этом варианте реализации алгоритмы управления и конфигурирования 21 принимают управляющую информацию 23 от интерфейса пользователя 8 и сохраняют ее в хранилище 3 для дальнейшего использования. В другом варианте реализации, ППУ 1 может быть однократно сконфигурировано с целью автономной работы в качестве независимой станции системы связи без дальнейшего использования интерфейса пользователя 8. В этом альтернативном варианте реализации алгоритмы управления и конфигурирования 21 осуществляют управление ППУ 1 на основе ранее сохраненной в хранилище 3 управляющей информации 22. Следует понимать, что несмотря на то, что в варианте реализации настоящего изобретения, показанном на фиг. 1, антенный модуль 5 содержит две антенные решетки 61 и 62 и два блока ФДН 51 и 52, спектр возможных вариантов реализации изобретения не ограничен этими значениями. Так, в других вариантах реализации изобретения значение NAAR может быть больше двух, то есть, антенный модуль 5 может содержать больше двух антенных решеток и, соответственно, больше двух блоков ФДН, подключенных к этим решеткам по одному блоку ФДН на антенную решетку. На фиг. 2 показан пример структуры алгоритмов цифровой обработки сигналов (ЦОС) 20, выполняемых процессором 2, в соответствии с одним вариантом реализации настоящего изобретения. Среди алгоритмов ЦОС 20, выполняемых процессором 2, можно выделить следующие логические блоки, описанные ниже более подробно со ссылками на фиг. 2 - фиг. 5. Данное разбиение на блоки проводится условно и служит для более полного понимания настоящего изобретения. При этом для описания работы алгоритмов ЦОС 20 условные блоки описываются подобно физическим блокам, в частности, говорится, что блоки могут выполнять некоторые операции над сигналами. В действительности следует понимать, что алгоритмы, обозначаемые указанными блоками, могут быть реализованы как в виде последовательности операций, выполняемых процессором 2, так и в виде специальных вычислительных блоков, реализованных аппаратно в составе процессора 2. В соответствии с вариантом реализации изобретения, показанным на фиг. 2, алгоритмы ЦОС 20 содержат блок цифровой обработки передаваемых сигналов 200. Блок 200 включает в себя блок конвейера ЦОС передатчика 201, преобразующий передаваемые цифровые данные 101 в цифровые сигналы 204, имеющие синфазную и квадратурную компоненты, и комбинатор сигналов передатчика 203, преобразующий цифровые сигналы 204 в NAAR цифровых сигналов 121-122, также имеющих синфазные и квадратурные компоненты, получаемые путем осуществления линейных комбинаций синфазной и квадратурной компонент сигналов 204. В варианте реализации изобретения, показанном на фиг. 2, алгоритмы ЦОС 20 также содержат блок цифровой обработки принимаемых сигналов 210. Блок 210 включает в себя комбинатор сигналов приемника 213, преобразующий NAAR принимаемых цифровых сигналов 123-124, имеющих синфазные и квадратурные компоненты, в цифровые сигналы 214, также имеющих синфазную и квадратурную компоненты, путем осуществления линейной комбинации синфазных и квадратурных компонент NAAR принимаемых цифровых сигналов 123-124, и блок конвейера ЦОС приемника 211, преобразующий цифровые сигналы 214 в принимаемые цифровые данные 111. Параметры работы блока цифровой обработки передаваемых сигналов 200, включая блок конвейера ЦОС передатчика 201 и комбинатор сигналов передатчика 203, блока цифровой обработки принимаемых сигналов 210, включая блок конвейера ЦОС приемника 211 и комбинатор сигналов приемника 213, определяются конфигурирующей и статусной информацией 24, поступающей от алгоритмов управления и конфигурирования 21, выполняемых процессором 2. В частности, конфигурирующая и статусная информация 24 включает в себя коэффициенты линейных комбинаций синфазной и квадратурной компонент цифровых сигналов 204, выполняемых комбинатором сигналов передатчика 203, а также коэффициенты линейной комбинации принимаемых сигналов 123-124, выполняемой комбинатором сигналов приемника 213. На фиг. 3 показан пример структуры алгоритмов цифровой обработки сигналов (ЦОС) 20, выполняемых процессором 2, в соответствии с одним вариантом реализации настоящего изобретения. В соответствии с данным вариантом реализации, алгоритмы ЦОС 20 содержат блок цифровой обработки передаваемых сигналов 200. Блок 200 включает в себя NTX_DSP блоков конвейеров ЦОС передатчика 201-202, где NTX_DSP - целое число, большее или равное двум, преобразующих NTX_DSP передаваемых цифровых данных 101-102 в NTX_DSP цифровых сигналов 204-205, имеющих синфазные и квадратурные компоненты, и комбинатор сигналов передатчика 203, преобразующий NTX_DSP цифровых сигналов 204-205 в NAAR цифровых сигналов 121-122, также имеющих синфазные и квадратурные компоненты, получаемые путем осуществления линейных комбинаций синфазных и квадратурных компонент NTX_DSP сигналов 204-205. В варианте реализации изобретения, показанном на фиг. 3, алгоритмы ЦОС 20 также содержат блок цифровой обработки принимаемых сигналов 210. Блок 210 включает в себя комбинатор сигналов приемника 213, преобразующий NAAR принимаемых цифровых сигналов 123-124, имеющих синфазные и квадратурные компоненты, в NRX_DSP цифровых сигналов 214-215, где NRX_DSP - целое число, большее или равное двум, также имеющих синфазные и квадратурные компоненты, путем осуществления линейных комбинации синфазных и квадратурных компонент принимаемых цифровых сигналов 123-124, и NRX_DSP блоков конвейеров ЦОС приемника 211-212, преобразующих NRX_DSP цифровых сигналов 214-215 в NRX_DSP принимаемых цифровых данных 111-112. Параметры работы блока цифровой обработки передаваемых сигналов 200, включая блоки конвейеров ЦОС передатчика 201-202 и комбинатор сигналов передатчика 203, блока цифровой обработки принимаемых сигналов 210, включая блоки конвейеров ЦОС приемника 211-212 и комбинатор сигналов приемника 213, определяются конфигурирующей и статусной информацией 24, поступающей от алгоритмов управления и конфигурирования 21, выполняемых процессором 2. В частности, конфигурирующая и статусная информация 24 включает в себя коэффициенты линейных комбинаций синфазных и квадратурных компонент цифровых сигналов 204-205, выполняемых комбинатором сигналов передатчика 203, а также коэффициенты линейных комбинаций принимаемых сигналов 123-124, выполняемых комбинатором сигналов приемника 213. Следует понимать, что, несмотря на то, что в варианте реализации настоящего изобретения, показанном на фиг. 3, алгоритмы ЦОС 20 содержат два блока конвейера ЦОС передатчика 201 и 202 и два блока конвейера ЦОС приемника 211 и 212, спектр возможных вариантов реализации изобретения не ограничен этими значениями. Так, в других вариантах реализации изобретения значения NTX_DSP и NRX_DSP могут быть больше двух, то есть, алгоритмы ЦОС 20 могут содержать больше двух блоков конвейеров ЦОС передатчика и больше двух блоков конвейеров ЦОС приемника. В вариантах реализации изобретения, показанных на фиг. 2 и фиг. 3, алгоритмы ЦОС 20 также содержат блок оценки характеристик канала связи 220, рассчитывающий оцененные характеристики 221 канала связи на основе принимаемых цифровых сигналов 123-124, обрабатываемых в блоке цифровой обработки принимаемых сигналов 210. Оцененные характеристики 221 канала связи включают по крайней мере одну из следующего множества возможных характеристик: коэффициент ослабления мощности в канале связи, одна или более амплитудно-частотных характеристик канала связи, одна или более импульсных характеристик канала связи, одно или более направлений на одно или более удаленных приемо-передающих устройств. Параметры работы блока оценки характеристик канала связи 220 определяются конфигурирующей и статусной информацией 24, поступающей от алгоритмов управления и конфигурирования 21, выполняемых процессором 2. В вариантах реализации изобретения, показанном на фиг. 2 и фиг. 3, алгоритмы ЦОС 20 включают в себя также блок 230 расчета диаграмм направленности. Блок 230 производит расчет параметров диаграммы направленности 33 ППУ 1 на основе оцененных характеристик канала связи 221. Рассчитанные блоком 230 параметры ДН 33 включают в себя коэффициенты линейных комбинаций для комбинатора сигналов передатчика 203 и комбинатора сигналов приемника 213, а также параметры формирования ДН 31-32 блоками формирования диаграмм направленности (ФДН) 51-52 антенного модуля 5, как будет описано ниже со ссылками на фиг. 9-13. Параметры работы блока 230 при расчете ДН 33 ППУ 1 определяются конфигурирующей частью конфигурирующей и статусной информации 24, поступающей от алгоритмов управления и конфигурирования 21, выполняемых процессором 2, а рассчитанные блоком 230 параметры ДН 33 поступают в алгоритмы управления и конфигурирования в виде статусной части конфигурирующей и статусной информации 24. На фиг. 4 показан пример структуры конвейера 201 ЦОС передатчика, такого как конвейер 201 ЦОС передатчика на фиг. 2 или один из NTX_DSP конвейеров ЦОС передатчика 201-202 на фиг. 3 в соответствии с одним вариантом реализации настоящего изобретения. В данном варианте реализации конвейер 201 ЦОС передатчика включает в себя блок 251 помехоустойчивого кодирования, блок 252 перемежения данных, блок 253 формирования символов модуляции, блок 254 преобразования сигналов из частотной области во временную с помощью обратного дискретного преобразования Фурье (ОДПФ), блок 255 добавления защитных интервалов (ЗИ) в последовательности отсчетов цифровых сигналов, а также блоки добавления различных служебных сигналов и служебных последовательностей во входящие информационные последовательности (не показаны на фиг. 4). На фиг. 5 показан пример структуры конвейера 211 ЦОС приемника, такого как конвейер 211 ЦОС приемника на фиг. 2 или один из NRX_DSP конвейеров ЦОС приемника 211-212 на фиг. 3 в соответствии с одним вариантом реализации настоящего изобретения. В данном варианте реализации конвейер 211 ЦОС приемника включает в себя блок 261 помехоустойчивого декодирования, блок 262 деперемежения данных, блок 263 формирования информационных блоков из символов модуляции, блок 264 преобразования сигналов из временной области в частотную с помощью дискретного преобразования Фурье (ДПФ), блок 265 изъятия (удаления) защитных интервалов (ЗИ) из последовательности отсчетов цифровых сигналов, а также блоки обработки служебных сигналов и служебных информационных последовательностей (не показано на фиг. 5) и удаление их из выходной информационной последовательности. Управление работой алгоритмов ЦОС 20, в соответствии с вариантами реализации настоящего изобретения, показанных на фиг. 2-5, осуществляется с помощью конфигурирующей информации 24. В вариантах реализации изобретения, показанных на фиг. 4-5 конфигурирующая информация 24 включает в себя параметры алгоритмов помехоустойчивого кодирования 251 и декодирования 261. Например, при использовании сигнально-кодовых конструкций технологии Wi-Fi стандарта IEEE802.11ax, алгоритмы кодирования 251 и алгоритмы декодирования 261 выполняют соответственно кодирование и декодирование битового потока данных для обеспечения повышенной помехоустойчивости связи с использованием сверточного кода или кода с малой плотностью проверок на четность (англ. low density parity check - LDPC), используя одну их возможных скоростей кодирования, таких как 1/2, 2/3, 3/4, 5/6 и др. В этом случае параметры помехоустойчивого кодирования 251 и декодирования 261, содержащиеся в конфигурирующей информации 24, определяют выбор одного из типов кодирования/декодирования и одной из возможных скоростей кодирования. В вариантах реализации изобретения, показанных на фиг. 4-5 конфигурирующая информация 24 также включает в себя параметры алгоритмов перемежения 252 и деперемежения 262 битовой последовательности, определяющие способ перемежения и деперемежения и размер битового блока, на котором осуществляется перемежение/деперемежение битовой последовательности. В вариантах реализации изобретения, показанных на фиг. 4-5 конфигурирующая информация 24 также включает в себя параметры модуляции и демодуляции 243, определяющие тип используемой модуляции и число бит на один символ модуляции. Например, при использовании сигнально-кодовых конструкций технологии Wi-Fi стандарта IEEE802.11ax, алгоритмы модуляции 253 и алгоритмы демодуляции 263 осуществляют соответственно модуляцию и демодуляцию информационного потока с использованием различных схем модуляции, таких как двоичное фазовое манипулирование (англ. binary phase shift keying - BPSK) с одним битом на символ модуляции, четырехпозиционное фазовое манипулирование (англ. quadrature phase shift keying - QPSK) с двумя битами на символ модуляции, 16-позиционная квадратурно-амплитудная модуляция (16 quadrature-amplitude modulation - 16-QAM) с четырьмя битами на символ модуляции, 64-QAM с шестью битами на символ модуляции и др. В этом случае, параметры модуляции 253 и демодуляции 263, содержащиеся в конфигурирующей информации 24, определяют выбор конкретного способа модуляции/демодуляции из числа возможных. В вариантах реализации изобретения, показанных на фиг. 4-5 конфигурирующая информация 24 также включает в себя параметры прямого преобразования Фурье 264 и обратного дискретного преобразования Фурье 254, таких как размер блока символов модуляции, на котором выполняется преобразование Фурье. В вариантах реализации изобретения, показанных на фиг. 4-5 конфигурирующая информация 24 также включает в себя параметры вставки 255 и удаления 265 защитных интервалов, определяющие способ обеспечения защитного интервала, его размер и периодичность. В вариантах реализации изобретения, показанных на фиг. 4-5 конфигурирующая информация 24 также включает в себя параметры комбинирования передаваемых и принимаемых сигналов комбинаторами сигналов передатчика 203 и приемника 213 соответственно. Данные параметры включают в себя коэффициенты одной или более линейных комбинаций синфазных и квадратурных компонент одного или более цифровых сигналов, таких как сигналы 204 и 205, выполняемых комбинатором передатчика 203, а также коэффициенты линейных комбинаций синфазных и квадратурных компонент принимаемых цифровых сигналов, таких как сигналы 123 и 124, выполняемых комбинатором приемника 213. Указанные коэффициенты могут быть вычислены, по крайней мере, частично, на основе оцененных характеристик 221 канала связи между ППУ 1 и одним или более других приемо-передающих устройств. На фиг. 6 показан пример блок-схемы многоканального премо-передающего блока 4 в соответствии с одним вариантом реализации настоящего изобретения. Многоканальный приемо-передающий блок 4 подключен к процессору 2 через цифровой порт 12 и порт управления 25, а также к антенному модулю 5 через NAAR радиочастотных портов 14-15 (см. фиг. 1). Многоканальный приемо-передающий блок 4 содержит блок обработки передаваемых сигналов 40, включающий в себя NAAR каналов передатчика 401-402, и блок обработки принимаемых сигналов 41, включающий в себя NAAR каналов приемника 411-412. Многоканальный приемо-передающий блок 4 осуществляет аналоговую обработку NAAR передаваемых сигналов 141-142 и NAAR принимаемых сигналов 143-144, которыми обменивается с антенным модулем 5 через NAAR радиочастотных портов 14-15 таким образом, что через один порт ведется обмен одним передаваемым и одним принимаемым сигналами. Многоканальный приемо-передающий блок 4 также осуществляет преобразование NAAR передаваемых цифровых сигналов 121-122 из цифрового представления в аналоговое и преобразования из аналогового представления в цифровое NAAR принимаемых цифровых сигналов 123-124. Блок обработки передаваемых сигналов 40 принимает от процессора 2 через цифровой порт 12 NAAR передаваемых цифровых сигналов 121-122. На основе передаваемых цифровых сигналов 121-122 с помощью NAAR каналов передатчика 401-402 блок обработки передаваемых сигналов 40 формирует NAAR радиочастотных сигналов 141-142 и затем передает их в антенный модуль 5 через NAAR радиочастотных портов 14-15. Блок обработки принимаемых сигналов 41 через NAAR радиочастотных портов 14-15 принимает от антенного модуля 5 NAAR радиочастотных сигналов 143-144. На основе радиочастотных сигналов 143-144 с помощью NAAR каналов приемника 411-412 блок обработки принимаемых сигналов 41 формирует NAAR принимаемых цифровых сигналов 123-124 и затем передает их в процессор 2 через цифровой порт 12. Следует понимать, что несмотря на то, что в варианте реализации настоящего изобретения, показанном на фиг. 6, приемо-передающий блок 4 содержит два канала передатчика 401 и 402 и два канала приемника 411 и 412, спектр возможных вариантов реализации изобретения не ограничен этими значениями. Так, в других вариантах реализации изобретения значение NAAR может быть больше двух, то есть, приемо-передающий блок 4 может содержать больше двух каналов передатчика и больше двух каналов приемника. На фиг. 7 показан пример реализации канала передатчика 401 в соответствии с одним вариантом настоящего изобретения. Канал 401 передатчика принимает на вход цифровой передаваемый сигнал 121, имеющий синфазную и квадратурную компоненты 1210 и 1211 соответственно. Синфазная компонента 1210 цифрового сигнала 121 преобразуется из цифровой формы в аналоговую с помощью цифро-аналогового преобразователя (ЦАП) 4011. Квадратурная компонента 1211 цифрового сигнала 121 преобразуется из цифровой формы в аналоговую с помощью цифро-аналогового преобразователя (ЦАП) 4012. Далее канал передатчика 401 выполняет операции над аналоговыми сигналами, включая фильтрацию с помощью фильтров низкой частоты 4013 и 4014 аналоговых синфазного и квадратурного сигналов соответственно, перенос на промежуточную и/или несущую частоту с помощью смесителей 4015 и 4016 отфильтрованных синфазного и квадратурного сигналов соответственно, суммирование перенесенных на промежуточную и/или несущую частоту синфазного и квадратурного сигналов с помощью сумматора 4019, и усиление мощности суммарного сигнала с помощью усилителя мощности 4020. Полученный в результате обработки в блоке 401 радиочастотный сигнал 141 передается далее в антенный модуль 5 через радиочастотный порт, такой как один из радиочастотных портов 14-15. Приемо-передающий блок 4 также осуществляет генерацию служебного синусоидального сигнала на промежуточной и/или несущей частоте с помощью генератора 4017 и разделения сгенерированного служебного синусоидального сигнала на синфазную и квадратурную компоненты с помощью делителя фазы 4018. Параметры обработки передаваемых сигналов, такие как характеристики фильтров, значения несущей и/или промежуточной частоты, ширина полосы передаваемых сигналов, частота оцифровки передаваемых сигналов и т.п., задаются с помощью конфигурирующей информации, поступающей от процессора 2 через порт управления 25. На фиг. 8 показан пример реализации канала приемника 411 в соответствии с одним вариантом настоящего изобретения. Канал 411 приемника принимает на вход радиочастотный сигнал 143, поступающий от антенного модуля 5 через радиочастотный порт, такой как один из радиочастотных портов 14-15. Принятый радиочастотный сигнал 143 усиливается малошумящим усилителем 4119 и подается на смесители 4115 и 4116 для переноса на промежуточную и/или основную (видео) частоту, а также для выделения синфазной и квадратурной компонент принимаемых аналоговых сигналов. Синфазная и квадратурная компоненты аналогового сигнала затем подвергаются дальнейшей обработке, включая фильтрацию с помощью фильтров низкой частоты 4113 и 4114 соответственно. Дальнейшая обработка отфильтрованных синфазной и квадратурной компонент аналогового сигнала включает переведение в цифровую форму с помощью аналогово-цифровых преобразователей (АЦП) 4111 и 4112 соответственно. В результате формируется синфазная компонента 1230 и квадратурная компонента 1231 принимаемого цифрового сигнала 123. Приемо-передающий блок 4 также осуществляет генерацию служебного синусоидального сигнала на промежуточной и/или несущей частоте с помощью генератора 4117 и разделение сгенерированного служебного синусоидального сигнала на синфазную и квадратурную компоненты с помощью делителя фазы 4118. В одном варианте реализации генераторы 4017 и 4117 могут быть выполнены в виде отдельных устройств. В другом варианте реализации генераторы 4017 и 4117 технически могут являться одним и тем же устройством. Также следует понимать, что, несмотря на то, что генератор 4017 и делитель фазы 4018 показаны входящими в состав канала передатчика, а генератор 4117 и делитель фазы 4118 показаны входящими в состав канала приемника, приемо-передающий блок 4 может быть выполнен так, что один генератор 4017 и один делитель фазы 4018 используются для обеспечения служебными сигналами нескольких каналов передатчика, таких как каналы передатчика 401 и 402, а один генератор 4117 и один делитель фазы 4118 используются для обеспечения служебными сигналами нескольких каналов приемника, таких как каналы приемника 411 и 412. Параметры обработки принимаемых сигналов, такие как характеристики фильтров, значения несущей и/или промежуточной частоты, ширина полосы принимаемых сигналов, частота оцифровки принимаемых сигналов и т.п., задаются с помощью конфигурирующей информации, поступающей от процессора 2 через порт управления 25. На фиг. 9 показана блок-схема антенного модуля 5 в соответствии одним вариантом реализации настоящего изобретения. Антенный модуль 5 подключен к многоканальному приемо-передающему блоку 4 с помощью NAAR радиочастотных портов 14-15, а также к процессору 2 через порт управления 26. В варианте реализации настоящего изобретения, показанном на фиг. 9, антенный модуль 5 состоит из NAAR блоков формирования диаграммы направленности (ФДН) 51-52, каждый из которых подключен к одному из NAAR радиочастотных портов 14-15, а также из NAAR антенных решеток 61-62, подключенных к NAAR блоков ФДН 51-52 таким образом, что одна решетка подключена к одному блоку ФДН. Следует понимать, что несмотря на то, что в варианте реализации настоящего изобретения, показанном на фиг. 9, антенный модуль 5 содержит две антенные решетки 61 и 62 и два блока ФДН 51 и 52, спектр возможных вариантов реализации изобретения не ограничен этими значениями. Так, в других вариантах реализации изобретения значение NAAR может быть больше двух, то есть, антенный модуль 5 может содержать больше двух антенных решеток и, соответственно, больше двух блоков ФДН, подключенных к этим решеткам по одному блоку ФДН на антенную решетку. Каждый из NAAR блоков ФДН 51-52 обменивается через один из NAAR радиочастотных портов 14-15 с многоканальным приемо-передающим блоком 4 одним из NAAR передаваемых сигналов 141-142 и одним из NAAR принимаемых сигналов 143-144. Например, блок ФДН 51 через радиочастотный порт 14 обменивается с приемо-передающим блоком 4 передаваемыми сигналами 141 и принимаемыми сигналами 143, а блок ФДН 52 через радиочастотный порт 15 обменивается с приемо-передающим блоком 4 передаваемыми сигналами 142 и принимаемыми сигналами 144. В варианте реализации настоящего изобретения, показанном на фиг. 9, блок ФДН 51 содержит радиочастотный (РЧ) переключатель направления приема-передачи 515, устройство деления мощности 510 и NAE цепей РЧ обработки сигнала 511-514, где NAE - целое число, большее или равное двум, соединенных с NAE антенных элементов 611-614 антенной решетки 61 так, что одна цепь РЧ обработки соединена с одним антенным элементом. В этом варианте реализации блок ФДН 52 содержит РЧ переключатель направления приема-передачи 525, устройство деления мощности 520 и NAE цепей РЧ обработки сигнала 521-524, соединенных с NAE антенных элементов 621-624 антенной решетки 61 так, что одна цепь РЧ обработки соединена с одним антенным элементом. РЧ переключатель направления приема-передачи 515 подключает к устройству деления мощности 510 передаваемый сигнал 141 или принимаемый сигнал 143. РЧ переключатель направления приема-передачи 525 подключает к устройству деления мощности 520 передаваемый сигнал 142 или принимаемый сигнал 144. Цепи РЧ обработки 511-514 выполнены с возможностью регулирования фаз NAE сигналов 161-162 между устройством деления мощности 510 и антенными элементами 611-614, а цепи РЧ обработки 521-524 выполнены с возможностью регулирования фаз NAE сигналов 171-172 между устройством деления мощности 520 и антенными элементами 621-624. Устройство деления мощности 510 в направлении передачи осуществляет разделение мощности сигнала от РЧ переключателя 515 между цепями РЧ обработки 511-514, а в направлении приема осуществляет суммирование мощности сигналов от цепей РЧ обработки 511-514. Устройство деления мощности 520 в направлении передачи осуществляет разделение мощности сигнала от РЧ переключателя 525 между цепями РЧ обработки 521-524, а в направлении приема осуществляет суммирование мощности сигналов от цепей РЧ обработки 521-524. С целью упрощения фиг. 9, часть цепей РЧ обработки блоков ФДН 51 и 52 и часть антенных элементов антенных решеток 61 и 62 не приведены и заменены на троеточия. В частности, не приведены, но подразумеваются включенными в состав соответствующих блоков, цепи РЧ обработки 512, 513, 522, 523, а также антенные элементы 612, 613, 622, 623. Тем не менее, подразумевается, что данные элементы присутствуют в схеме и участвуют в работе антенного модуля 5. В варианте реализации, показанном на фиг. 9 конфигурирующая информация, поступающая в антенный модуль 5 от процессора 2 через порт управления 26 задает направление переключения приема-передачи сигнала РЧ переключателями 515-525, а также значения фазовых сдвигов в цепях РЧ обработки 511-514 и 521-524. На фиг. 10 показан пример блок-схемы цепи 511 радиочастотной (РЧ) обработки сигналов в соответствии с одним вариантом реализации настоящего изобретения. Цепь РЧ обработки 511 выполняет функции по крайней мере одной из цепей РЧ обработки сигналов 511-514 и 521-524 на фиг. 9. Цепь РЧ обработки 511 на фиг. 10 включает в себя управляемый фазовращатель передатчика 551 и управляемый фазовращатель приемника 552, обеспечивающие возможность регулировки фазы передаваемых и принимаемых сигналов, РЧ переключатель направления приема-передачи 553, подключающий либо фазовращатель передатчика 551, либо фазовращатель приемника 552 к устройству деления мощности, такому как одно из устройств деления мощности 510-520, а также РЧ переключатель направления приема-передачи 554, подключающий либо фазовращатель передатчика 551, либо фазовращатель приемника 552 к антенному элементу, такому как один из антенных элементов 611-614 или 621-624. В варианте реализации, показанном на фиг. 10 конфигурирующая информация, поступающая в антенный модуль 5 от процессора 2 через порт управления 26, задает направление переключения приема-передачи сигнала РЧ переключателями 553 и 554, а также значения фазовых сдвигов для фазовращателя передатчика 551 и фазовращателя приемника 552. Следует понимать, что спектр возможных реализаций настоящего изобретения не ограничен вариантом реализации цепи РЧ обработки, показанной на фиг. 10. Так, в других вариантах реализации настоящего изобретения цепь РЧ обработки 511 может не содержать РЧ переключателей 553 и 554 для разделения принимаемых и передаваемых сигналов. Например, в случае использования разных частотных полос и/или диапазонов для передачи и приема радиосигналов заявляемым приемо-передающим устройством, роль переключателей 553 и 554 могут выполнять фильтры с амплитудно-частотными характеристиками, подобранными так чтобы обеспечивать достаточную изоляцию принимаемых сигналов от передаваемых и наоборот. Возможны варианты реализации настоящего изобретения, при которых цепи РЧ обработки 511 выполнены с использованием одного двунаправленного фазовращателя, способного управлять фазой как передаваемых, так и принимаемых сигналов, что исключает необходимость применения РЧ переключателей 553 и 554. Также возможны варианты реализации настоящего изобретения, в которых независимые антенные элементы, подключенные к независимым фазовращателям, используются для передачи и для приема сигналов. В этих альтернативных вариантах реализации настоящего изобретения блоки ФДН могут содержать отдельные устройства деления мощности для передаваемых и принимаемых сигналов, такие как устройства деления мощности 510 и 520 на фиг. 9, а также могут не содержать РЧ переключателей, таких как РЧ переключатели 515 и 525 на фиг. 9. Преимущества настоящего изобретения по сравнению с текущим уровнем техники поясняются ниже со ссылками на фиг. 11 - фиг.15. На фиг. 11 показан пример линейной фазированной антенной решетки 61, такой как одна из решеток 61-62 на фиг. 1 и фиг. 9, в соответствии с одним вариантом реализации настоящего изобретения. Антенная решетка 61 состоит из NAE антенных элементов, таких как антенные элементы 611-614, расположенных на одной линии 615. В варианте реализации, показанном на фиг. 11 соседние антенные элементы, например, элементы 611 и 612 или элементы 612 и 613, или элементы 613 и 614, находятся друг от друга на расстоянии d. Каждый из антенных элементов 611-614 подключен к одной цепи РЧ обработки сигнала блока ФДН, такого как блок ФДН 51 антенного модуля, такого как антенный модуль 5, как показано на фиг. 9. В одном варианте реализации настоящего изобретения все антенные элементы 611-614 синфазно излучают периодический сигнал с длиной волны λ. В этом варианте реализации, согласно упрощенной теории фазированных антенных решеток, основанной на модели геометрической оптики, в дальней зоне на направлении 616, расположенном по углом θA от главной оси 619 антенной решетки 61, сигналы, принимаемые от двух соседних элементов будут отличаться по фазе на величину ΔϕA, называемую дифференциальным фазовым сдвигом и определяемую формулой В другом варианте реализации настоящего изобретения фазовые сдвиги, задаваемые цепями РЧ обработки, выставлены таким образом, что дифференциальный фазовый сдвиг между соседними элементами антенной решетки равен -ΔφA. В этом случае, согласно упрощенной теории фазированных антенных решеток, основанной на модели геометрической оптики, в направлении 616 обеспечивается конструктивное суммирование сигналов со всех элементов антенной решетки 61, и волновой фронт 618 распространяется преимущественно в направлении 616. При этом максимум ДН антенной решетки 61, такой как ДН 31 на фиг. 1 или одна из ДН 311 или 312 на фиг. 9, оказывается направленным вдоль направления 616. Таким образом, для приемника 620, находящегося в направлении 616, за счет конструктивного суммирования сигналов от антенных элементов 611-614 увеличивается мощность принимаемого сигнала. Это, в свою очередь, позволяет увеличить скорость передачи данных для приемника 620 и/или увеличить отношение сигнал-шум для приемника 620, тем самым повысив надежность связи, и/или увеличить дальность связи. В других вариантах реализации другие величины фазовых сдвигов для антенных элементов 611-614 могут выставляться для увеличения и/или максимизации уровня мощности, принимаемой приемником 620 со стороны антенной решетки 61. Также из теории антенных систем и фазированных антенных решеток известно, что острота максимума ДН, выражаемая как скорость спадания плотности потока мощности излучения при отклонении от направления максимума излучения, определяется соотношением апертуры 637 антенной решетки 61 к длине волны λ излучаемого сигнала. При этом, чем больше апертура антенной решетки 61, тем быстрее спадает плотность потока мощности излучения антенной решетки 61 при отклонении от направления максимума, и тем острее становится ДН антенной решетки 61. За счет спадания плотности потока мощности при отклонении от направления максимума ДН обеспечивается уменьшение мощности помех в направлениях, отличных от направления максимума ДН антенной решетки 61. В третьем варианте реализации фазовые сдвиги, задаваемые цепями РЧ обработки, выставлены таким образом что дифференциальный фазовый сдвиг между соседними элементами антенной решетки равен 2πk/NAE-ΔϕA, где NAE - число антенных элементов в антенной решетке 61, а k - положительное целое число. В этом случае, в направлении 616 обеспечивается деструктивное суммирование сигналов со всех элементов антенной решетки, и волновой фронт 618 практически не распространяется в направлении 616. Вследствие этого, вдоль направления 616 оказывается направлен минимум или ноль ДН антенной решетки 61, такой как ДН 31 на фиг. 1 или одна из ДН 311 или 312 на фиг. 9. Таким образом, для приемника 620, находящегося в направлении 616, за счет деструктивного суммирования сигналов от антенных элементов 611-614 мощность принимаемого сигнала значительно снижается или зануляется. Это, в свою очередь, позволяет исключить помехи на приемник 620 со стороны антенной решетки 61, таким образом улучшив для приемника 620 условия приема сигналов от других передающих устройств, не показанных на фиг. 11. В других вариантах реализации другие величины фазовых сдвигов для антенных элементов 611-614 могут выставляться для снижения и/или зануления уровня мощности, принимаемой приемником 620 со стороны антенной решетки 61. При использовании ППУ 1 для обмена информацией с одним или более других ППУ, величины фазовых сдвигов для антенных элементов 611-614 могут быть вычислены, по крайней мере, частично, на основе оцененных характеристик 221 канала связи между ППУ 1 и одним или более других ППУ. На фиг. 12 показан пример антенной системы 6 из двух антенных решеток 61 и 62 в соответствии с одним вариантом реализации настоящего изобретения. В данном варианте реализации антенные решетки 61 и 62 расположены на одной линии на расстоянии D друг от друга, причем их главные оси 619 и 629 сориентированы параллельно, вдоль одного направления, как показано на фиг.12. При этом каждый из антенных элементов 611-614 решетки 61 подключен к одной цепи РЧ обработки сигнала блока ФДН, такого как блок ФДН 51 антенного модуля, такого как антенный модуль 5, а каждый из антенных элементов 621-624 решетки 62 подключен к одной цепи РЧ обработки сигнала блока ФДН, такого как блок ФДН 52 антенного модуля, такого как антенный модуль 5, как показано на фиг. 9. В варианте реализации, показанном на фиг. 12, фазовые сдвиги, задаваемые цепями РЧ обработки блока ФДН 51 выставлены таким образом, что волновой фронт 618, создаваемый антенной решеткой 61, распространяется преимущественно в направлении 616 под углом θA1 к главной оси 619 решетки 61, а фазовые сдвиги, задаваемые цепями радиочастотной обработки блока ФДН 52 выставлены таким образом, что волновой фронт 628, создаваемый антенной решеткой 62, распространяется преимущественно в направлении 626 под углом θA2 к главной оси 629 решетки 62, направления 616 и 626 параллельны друг другу, а фазовый сдвиг для антенного элемента 611 решетки 61 и антенного элемента 621 решетки 62 совпадают. Из упрощенной теории фазированных антенных решеток, основанной на модели геометрической оптики, следует, что в таком варианте реализации волновые фронты 618 и 628, излучаемые соответственно антенными решетками 61 и 62, оказываются сдвинутыми по фазе друг относительно друга на величину ΔϕD, определяемую формулой В одном варианте реализации передаваемый сигнал 141, поступающий в блок ФДН 51, формируется каналом передатчика 401 на основе передаваемого цифрового сигнала 121, формируемого блоком ЦОС 20 (см. фиг. 6), а передаваемый сигнал 142, поступающий в блок ФДН 52, формируется каналом передатчика 402 на основе передаваемого цифрового сигнала 122, формируемого блоком ЦОС 20 (фиг. 6). При этом коэффициенты линейных комбинаций, выполняемых комбинатором 203 сигналов передатчика, выставлены таким образом, что цифровые передаваемые сигналы 121 и 122, формируемые блоком ЦОС 20, отличаются по фазе на величину -ΔϕD. В этом случае, согласно упрощенной теории фазированных антенных решеток, основанной на модели геометрической оптики, в направлении 636 обеспечивается конструктивное суммирование сигналов со всех элементов обеих антенных решеток, а волновые фронты 618 и 628 объединяются в единый волновой фронт 638, распространяющийся преимущественно в направлении 636 (см. фиг. 12). При этом максимум ДН антенной системы 6, такой как ДН 33 на фиг. 1 или одна из ДН 331 и 332 на фиг. 9, оказывается направленным вдоль направления 636. Также из теории антенных систем и фазированных антенных решеток известно, что поскольку в антенной системе 6 содержится больше элементов, чем в решетках 61 или 62 по отдельности, в направлении 636 обеспечивается конструктивное суммирование большего числа передаваемых сигналов от большего числа антенных элементов по сравнению только с одной решеткой, и следовательно антенная система 6 обеспечивает большее усиление, чем каждая из решеток 61 или 62 по отдельности. Вследствие этого скорость и/или дальность и/или надежность передачи данных для антенной системы 6 оказываются больше, чем для решеток 61 или 62 по отдельности. Кроме этого, поскольку общая апертура антенной системы 6 больше апертуры каждой из решеток 61 или 62 по отдельности, ДН антенной системы 6 оказывается более острой по сравнению с ДН решетки 61 или решетки 62 по отдельности. Это приводит к большему ослаблению плотности потока мощности излучения в направлениях, отличных от направления максимума ДН антенной системы 6 по сравнению с антенными решетками 61 или 62 по отдельности. Следовательно, при одинаковом уровне излучаемой мощности и при одинаковом направлении максимума ДН, антенная система 6 в направлениях, отличных от направления максимума ДН, создает помехи меньшей мощности, чем антенные решетки 61 или 62 по отдельности. При использовании ППУ 1 для обмена информацией с одним или более других ППУ, величины фазовых сдвигов для антенных элементов 611-614 и 621-624 на фиг. 12 могут быть вычислены, по крайней мере, частично, на основе оцененных характеристик 221 канала связи между ППУ 1 и одним или более других ППУ. Для реализации цифро-аналогового формирования ДН 33 ППУ 1 в направлении передачи радиосигналов, данные фазовые сдвиги могут выставляться совместно с выставлением коэффициентов линейных комбинаций, выполняемых линейным комбинатором передатчика 203. Для реализации цифро-аналогового формирования ДН 33 ППУ 1 в направлении приема радиосигналов, данные фазовые сдвиги могут выставляться совместно с выставлением коэффициентов линейных комбинаций, выполняемых линейным комбинатором приемника 213. На фиг. 13 показан пример антенной системы 6 из двух антенных решеток 61 и 62 в соответствии с одним вариантом реализации настоящего изобретения. В данном варианте реализации антенные элементы решеток 61 и 62 расположены в одной плоскости, причем антенные элементы каждой из решеток 61 и 62 разнесены между собой вдоль оси Z системы координат 625, связанной с антенной системой 6, антенные решетки 61 и 62 разнесены друг относительно друга вдоль оси Y системы координат 625, а направления главных осей как решетки 61, так и решетки 62 направлены вдоль оси X системы координат 625. При этом каждый из антенных элементов 611-614 решетки 61 подключен к одной цепи РЧ обработки сигнала блока ФДН, такого как блок ФДН 51 антенного модуля, такого как антенный модуль 5, а каждый из антенных элементов 621-624 решетки 62 подключен к одной цепи РЧ обработки сигнала блока ФДН, такого как блок ФДН 52 антенного модуля, такого как антенный модуль 5, как показано на фиг. 9. В варианте реализации, показанном на фиг. 13, фазовые сдвиги, задаваемые цепями РЧ обработки сигнала блока ФДН 51, выставлены таким образом, что волновой фронт 618, создаваемый антенной решеткой 61, распространяется преимущественно в направлении 616 под углом θA1 к главной оси 619 решетки 61 в плоскости XZ системы координат 625, а фазовые сдвиги, задаваемые цепями РЧ обработки сигнала блока ФДН 52, выставлены таким образом, что волновой фронт 628, создаваемый антенной решеткой 62, распространяется преимущественно в направлении 626 под углом θA2 к главной оси 629 решетки 62 в плоскости XZ системы координат 625, направления 616 и 626 параллельны друг другу, а фазовые сдвиги для антенного элемента 611 решетки 61 и антенного элемента 621 решетки 62 совпадают. В одном варианте реализации передаваемый сигнал 141, поступающий в блок ФДН 51, формируется каналом передатчика 401 на основе передаваемого цифрового сигнала 121, формируемого блоком ЦОС 20, а передаваемый сигнал 142, поступающий в блок ФДН 52, формируется каналом передатчика 402 на основе цифрового передаваемого сигнала 122, формируемого блоком ЦОС 20. При этом весовые коэффициенты комбинатора 203 сигналов передатчика выставлены таким образом, что цифровые передаваемые сигналы 121 и 122, формируемые блоком ЦОС 20, отличаются по фазе на величину -ΔφD. В этом случае, согласно упрощенной теории фазированных антенных решеток, основанной на модели геометрической оптики, в направлении 636, отличающимся от направлений 616 и 626 на угол ⋅θD,H в плоскости XY системы координат 625, обеспечивается конструктивное суммирование сигналов со всех элементов обеих антенных решеток, а волновые фронты 618 и 628 объединяются в единый волновой фронт 638, распространяющийся преимущественно в направлении 636. При этом максимум ДН антенной системы 6, такой как ДН 33 на фиг. 1 или одна из ДН 331 и 332 на фиг. 9, оказывается направленным вдоль направления 636. Также из теории антенных систем и фазированных антенных решеток известно, что поскольку в антенной системе 6 содержится больше элементов, чем в решетках 61 или 62 по отдельности, в направлении 636 обеспечивается конструктивное суммирование большего числа передаваемых сигналов от большего числа антенных элементов по сравнению только с одной решеткой, и, следовательно, антенная система 6 обеспечивает большее усиление, чем каждая из решеток 61 или 62 по отдельности. Вследствие этого скорость и/или дальность и/или надежность передачи данных для антенной системы 6 оказываются больше, чем для решеток 61 или 62 по отдельности. Кроме этого, поскольку апертура антенной системы 6 вдоль оси Y системы координат 625 больше апертуры каждой из решеток 61 и 62 по отдельности, а апертура антенной системы 6 вдоль оси Z системы координат 625 совпадает с апертурами антенных решеток 61 и 62, ДН антенной системы 6 в плоскости XY системы координат 625 оказывается более острой по сравнению с ДН решетки 61 или решетки 62 по отдельности, а в плоскости XZ системы координат 625 обладает той же остротой, что и ДН каждой из решеток 61 или 62 по отдельности. Это приводит к большему ослаблению плотности потока мощности излучения в направлениях, отличных в плоскости XY системы координат 625 от направления максимума ДН антенной системы 6 в сравнении с антеннами каждой из решеток 61 или 62 по отдельности. Следовательно, при одинаковом уровне излучаемой мощности и при одинаковом направлении максимума ДН, антенная система 6 в направлениях, отличных от направления максимума ДН, создает помехи меньшей мощности, чем каждая их антенных решеток 61 или 62 по отдельности. При использовании ППУ 1 для обмена информацией с одним или более других ППУ, величины фазовых сдвигов для антенных элементов 611-614 и 621-624 на фиг. 13 могут быть вычислены, по крайней мере, частично, на основе оцененных характеристик 221 канала связи между ППУ 1 и одним или более других ППУ. Для реализации цифро-аналогового формирования ДН 33 ППУ 1 в направлении передачи радиосигналов, данные фазовые сдвиги могут выставляться совместно с выставлением коэффициентов линейных комбинаций, выполняемых линейным комбинатором передатчика 203. Для реализации цифро-аналогового формирования ДН 33 ППУ 1 в направлении приема радиосигналов, данные фазовые сдвиги могут выставляться совместно с выставлением коэффициентов линейных комбинаций, выполняемых линейным комбинатором приемника 213. Промышленная применимость Для подтверждения реализуемости заявляемого ППУ, использующего несколько антенных решеток, был изготовлен образец 9 ППУ 1, работающий в частотных диапазонах 2.4 ГГц и 5 ГГц. Структурная схема изготовленного образца 9 приведена на фиг. 14. В реализованном образце 9 ППУ 1 функции процессора 2, хранилища 3 и многоканального приемо-передающего блока 4 выполняет система-на-модуле (англ. system on module - SoM) ADRV9361-Z7035, поставляемая фирмой Analog Devices. Данная система представляет собой платформу программно-определяемого радио (Software-Defined Radio - SDR), которое сочетает в себе аналоговое устройство AD9361 (Integrated RF Agile Transceiver), используемое в качестве приемо-передающего блока 4, и цифровое устройство Xilinx Z7035 Zynq-7000, используемое в качестве процессора 2 и соединенное с памятью 30, в малом форм-факторе, хорошо подходящем для интеграции в конечный продукт. Антенный модуль 5 был разработан в виде отдельного блока, содержащего две платы ФДН 51 и 52, подключаемых к радиочастотным входам и выходам SoM ADRV9361-Z7035 высокочастотными кабелями 121, 131, 122 и 132. Образцы антенных решеток 61 и 62 выполнены в виде вертикальных столбцов из четырех дипольных антенных элементов каждый, аналогично антенной системе 6 в конфигурации, показанной на фиг. 13. Антенные решетки 61 и 62 расположены по горизонтали друг относительно друга. Каждый из антенных элементов образцов обеих решеток 61 и 62 подключен к отдельной цепи РЧ обработки сигналов блоков ФДН 51 и 52 соответственно. Каждая из цепей РЧ обработки антенного модуля образца 9 ППУ 1 имеют по два фазовращателя - один на прием и один на передачу сигнала, как показано на фиг. 10. Шаг регулировки фазы у фазовращателя передатчика и фазовращателя приемника составляет 22.5 градуса, обеспечивая 16 возможных значений фазового сдвига в пределах от 0 до 360 градусов. Таким образом, ДН антенной системы в вертикальной (угломестной) плоскости в основном определялась настройками блоков ФДН 51 и 52 антенного модуля 5, в то время как ДН в горизонтальной (азимутальной) плоскости определялась в основном параметрами комбинаторов сигналов 203 и 213 блока ЦОС 20, выполненного в программируемой логике 29 цифрового устройства Xilinx Z7035 Zynq-7000. Управление образцом 9 ППУ 1 осуществлялось с помощью программного обеспечения (ПО) графического интерфейса пользователя (англ. Graphic user interface - GUI) 8, выполняющегося на персональном компьютере 86 и дающей возможность пользователю конфигурировать параметры алгоритмов ЦОС 20 с помощью блока 82 конфигурации ЦОС, параметры приемо-передающего блока 4 с помощью блока 83 конфигурации аналоговой обработки, параметры формирования ДН антенным модулем 5 с помощью блока 84 конфигурации антенного модуля. ПО GUI 8 также дает возможность пользователю сохранять настройки с помощью блока 85 сохранения настроек конфигурации и обрабатывать результаты экспериментов с помощью блока 81 обработки и вывода результатов измерений. Реализованная в образце 9 ППУ 1 конфигурация антенной системы хорошо подходит для применения на базовой станции сотовой системы связи, пример которой показан на фиг. 15. Как показано на фиг. 15, система сотовой связи 700 может включать базовую станцию 701, окруженную несколькими пользовательскими устройствами связи, такими как устройства 702 и 703. Местоположения пользовательских устройств 702 и 703 относительно базовой станции 701 характеризуется расстояниями 712 и 713 от пользовательских устройств 702 и 703 до антенной системы 6 базовой станции 701, высотами 722 и 723 устройств 702 и 703 соответственно над уровнем земли, а также углами в угломестной плоскости, такими как угол 715 между направлением 713 и земной поверхностью, и углами в азимутальной плоскости, такими как угол 716 между проекцией 711 оси 710 антенной системы 6 на земную поверхность и проекцией 714 на земную поверхность направления 712 на пользовательское устройство 702. В одном варианте реализации антенная система 6 базовой станции 701 сконфигурирована так чтобы направить максимум своей ДН, такой как ДН 33 на фиг. 1 или одна из ДН 331 и/или ДН 332 на фиг. 9, на пользовательское устройство 702. В таком варианте реализации пользовательское устройство 702 получает увеличенную мощность сигнала по сравнению с другими направлениями максимума ДН антенной системы 6. В соответствии с объяснениями, приведенными выше со ссылками на фиг. 11 - фиг. 13, в таком варианте реализации связь между базовой станцией 701 и пользовательским устройством 702 может быть организована на расстояниях больших по сравнению с другими направлениями максимума ДН антенной системы 6 и/или связь между базовой станцией 701 и пользовательским устройством 702 может быть организована на скоростях больших по сравнению с другими направлениями максимума ДН антенной системы 6 и/или связь между базовой станцией 701 и пользовательским устройством 702 может обеспечивать меньшее количество ошибок передачи информации по сравнению с другими направлениями максимума ДН антенной системы 6. В другом варианте реализации антенная система 6 базовой станции 701 формирует две ДН, такие как ДН 331 и/или ДН 332 на фиг. 9. При этом минимум одной ДН, например ДН 331 на фиг. 9, направлен на пользовательское устройство 702, а минимум другой ДН, например ДН 332 на фиг. 9, направлен на пользовательское устройство 703. В этом варианте реализации базовая станция 701 одновременно посылает первый и второй сигналы двум пользовательским устройствам 702 и 703, используя соответственно ДН 332 и 331. За счет того, что минимум ДН 331 направлен, а минимум ДН 332 не направлен на пользовательское устройство 702, пользовательское устройство 702 принимает первые сигналы на фоне незначительных помех со стороны вторых сигналов. Аналогично, за счет того, что минимум ДН 332 направлен, а минимум ДН 331 не направлен на пользовательское устройство 703, пользовательское устройство 703 принимает вторые сигналы на фоне незначительных помех со стороны первых сигналов. Это дает возможность с помощью антенной системы 6 одновременно организовывать передачу двух сигналов в одной и той же полосе частот, повышая тем самым общую скорость передачи данных в сети сотовой связи 700. Предварительное сравнительное моделирование систем связи, таких как система сотовой связи 700, с базовыми станциями, оборудованными или антенными системами из 4-х решеток по 4 элемента в каждой в конфигурации (1×4)×(4×1), или полностью адаптивными двумерными 16-элементными антенными решетками (4×4), или адаптивными одномерными 4-элементными решетками (1×4), показало, что базовые станции с антенными системами из нескольких решеток в конфигурации (1×4)×(4×1) не более, чем на 5%, уступают в скорости передачи данных базовым станциям с полностью адаптивными двумерными 16-элементными антенными решетками (4×4) при одинаковом количестве и геометрическом расположении антенных элементов. С другой стороны, согласно результатам моделирования, базовые станции с антенными системами из нескольких решеток в конфигурации (1×4)×(4×1) дают выигрыш в скорости передачи данных до 25% по сравнению с базовыми станциями с одномерными адаптивными решетками (1×4). Очевидно, что увеличение в скорости передачи данных обусловлено большей апертурой антенной системы из нескольких решеток в конфигурации (1×4)×(4×1) по сравнению с апертурой одномерной адаптивной решетки (1×4). При этом в таком сравнении обе антенные системы используют одинаковое количество радиочастотных цепей, что практически выравнивает стоимости изготовления антенных систем обоих типов. Проведенное моделирование также показало, что в рассматриваемых условиях связи для достижения прироста скорости передачи на 25% у системы связи с адаптивными антенными решетками (1×4) пришлось бы увеличить мощность передатчика в четыре раза, что подтверждает высокую эффективность конструкции заявляемого ППУ. В ходе экспериментального исследования образца 9 программно-определяемого приемо-передающего устройства 1 с антенной системой из нескольких антенных решеток были проведены измерения характеристик формирования диаграмм направленности разработанными блоками ФДН 51 и 52 и алгоритмами комбинирования сигналов 203 и 213 в блоке ЦОС ППУ, описанных выше со ссылками на фиг. 11-13. В первой серии экспериментов были проведены измерения максимального коэффициента усиления антенных подрешеток 61 и 62 в зависимости от угла между направлением излучения 616 и главной осью 619 антенной решетки 61, как показано на фиг. 11. На примере антенной решетки 61 и блока ФДН 51: в блоке ФДН 51, задавалось необходимое распределение фазовых сдвигов для антенных элементов 611-614 антенной решетки 61 в соответствии с выбранным направлением 616 излучения сигналов. Затем в данном направлении производилось измерение коэффициента усиления антенной подрешетки 61. В диапазоне углов места от -45 до 45 градусов расчетное значение коэффициента усиления антенной решетки 61 составило от 5.5 до 6 дБ относительно единичного антенного элемента, аналогичного антенным элементам 611-614 и излучающего сигнал с такой же полной мощностью, как и вся решетка 61. При этом измеренная величина коэффициента усиления антенной решетки 61 оказалась меньше расчетного значения на величину, не превышающую 0.5 дБ во всем заданном диапазоне углов места. Аналогичный эксперимент был проведен для антенной решетки 62, подключенной к блоку ФДН 52, в ходе которого были получены аналогичные результаты. Во второй серии экспериментов были проведены измерения коэффициента усиления антенной системы 6, состоящей из двух подрешеток 61 и 62, по 4 элемента в каждой, расположенных как показано на фиг. 13 и подключенных к блокам ФДН 51 и 52, как показано на фиг. 9. При этом в блоках ФДН 51 и 52 были выставлены нулевые фазовые сдвиги, при которых направления максимумов излучения 616 и 626 параллельны главным осям 619 и 629 антенных решеток 61 и 62 соответственно. Затем, с помощью алгоритмов комбинирования сигналов 203 и 213 направление максимума излучения 636 всей антенной системы 6 отклонялось в азимутальной плоскости на угол в пределах от -45 до +45 градусов, и на этом направлении производилось измерение коэффициента усиления антенной системы 6. Расчетное значение коэффициента усиления антенной системы в данном диапазоне углов отклонения направления излучения 636 составило от 8.5 до 9 дБ относительно единичного антенного элемента, аналогичного антенным элементам 611-614 и излучающего сигнал с такой же полной мощностью, как и антенная система 6. При этом измеренная величина коэффициента усиления антенной системы 6 оказалась меньше расчетного значения на величину, не превышающую 0.7 дБ во всем заданном диапазоне азимутальных углов. Результаты первой и второй серии экспериментов показывают, что за счет применения одной антенной 4-элементной решетки, такой как решетка 61 на одном конце линии передачи данных, возможно до 6 дБ увеличить мощность сигнала, принимаемого удаленным приемным устройством, что позволяет в свободном пространстве увеличить дальность связи до 2 раз без потери качества и/или увеличить скорость передачи данных приблизительно на 1 бит/с/Гц, а за счет применения антенной системы 6 из двух 4-элементных решеток возможно увеличить мощность принимаемого сигнала до 9 дБ, что позволяет в свободном пространстве увеличить дальность связи до 2.8 раз без потери качества и/или увеличить скорость передачи данных приблизительно на 1.5 бит/с/Гц. При применении 4-элементных антенных решеток на обоих концах линии связи, возможно, увеличить дальность связи в свободном до 4 раз без потери качества связи и/или увеличить скорость передачи данных приблизительно на 2 бит/с/Гц. При применении же на обоих концах линии передачи данных антенных систем 6 из двух 4-элементных решеток каждая, возможно увеличить дальность связи до 8 раз и/или увеличить скорость передачи данных до 3 бит/с/Гц. В третьей серии экспериментов были проведены измерения точности формирования ДН 33 антенной системы 6 состоящей из двух подрешеток по 4 элемента каждой, как показано на фиг. 13, в режиме многопоточной передачи данных. Для этого фазовые сдвиги в блоках ФДН 51 и 52 были заданы так чтобы направить излучение решеток 61 и 62 вдоль их осей 619 и 629 соответственно. Затем, с помощью алгоритмов комбинирования сигналов 203 и 213 были сформированы две ДН, такие как ДН 331 и 332. Для эксперимента были сформированы две взаимноортогональные последовательности отсчетов сигналов 204 и 205, так чтобы приемник мог настроиться на одну из них и полностью исключить вторую с помощью алгоритмов временной обработки. С помощью служебного программного обеспечения данные последовательности непосредственно подавались на входы комбинатора сигналов передатчика 203, минуя конвейеры ЦОС передатчика. В результате комбинирования цифровых сигналов 204 и 205 комбинатором сигналов передатчика 203 формировались цифровые сигналы 121 и 131, которые одновременно посылались в приемо-передающий блок 4 и далее, через РЧ порты 14 и 15, в антенный модуль 5. При этом каждая из решеток 61 и 62 излучала взвешенную сумму сигналов от обеих последовательностей 204 и 205. Измеряемой величиной было отношение мощностей сигналов, принятых одним и тем же приемником от каждой из последовательностей 204 и 205. В ходе экспериментов было установлено, что при расчетном отношении мощностей принимаемых сигналов до 6 дБ, отклонение измеряемой величины от расчетной не превышало 0.2 дБ, а при расчетном отношении мощностей до 20 дБ (в минимуме ДН для одной из последовательностей), отклонение измеряемой величины от расчетной составило менее 3 дБ. Данное отклонение объясняется погрешностями изготовления антенных решеток 61 и 62 и небольшим расхождением коэффициентов усиления блоков ФДН 51 и 52 антенного модуля 5 ППУ. Результаты третьей серии экспериментов показывают, что с помощью антенной системы 6, состоящей из двух решеток, подключенных к независимым каналам аналоговой (каналы 401 и 402 на фиг. 6) и цифровой (каналы 201 и 202 на фиг. 3) обработки сигналов, в свободном пространстве возможно до 2 раз увеличить скорость передачи данных в системе связи, такой как система связи 700 на фиг. 15, за счет одновременной передачи данных двум пользователям в одной и той же полосе частот. Таким образом, даже на предварительно изготовленном макете были получены достаточно высокие показатели точности формирования ДН как в вертикальной, так и горизонтальной плоскостях, что подтверждает реализуемость заявляемого ППУ и достижимость характеристик дальности, скорости и надежности связи, предсказываемых теоретическими расчетами и численным моделированием.
.
.