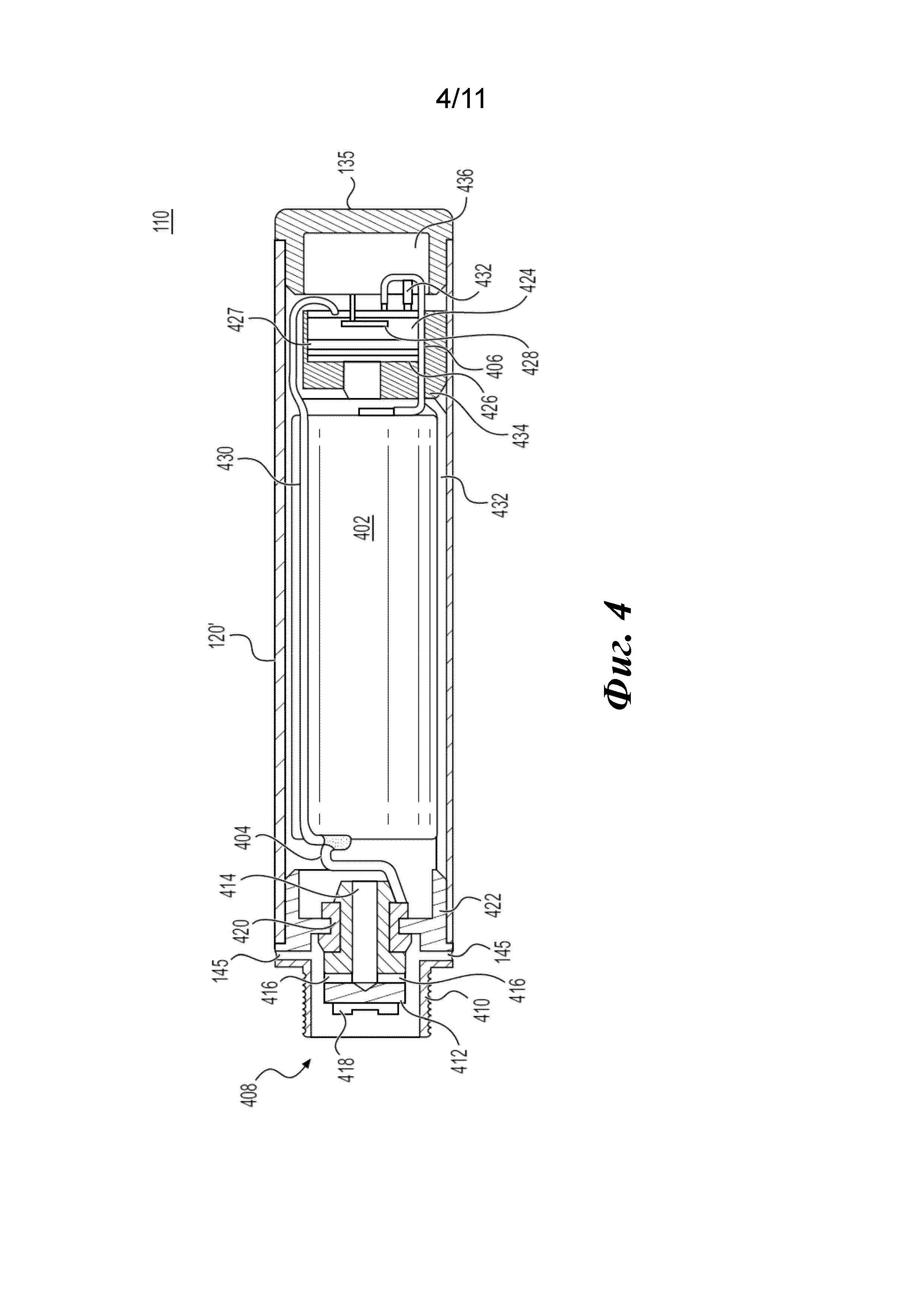
Группа изобретений относится к табачной промышленности, в частности к системам, имитирующим процесс табакокурения. Электронное устройство для парения никотина содержит резервуар для никотина. Фитиль выполнен с возможностью вытягивания содержащего никотин готового состава для пара из резервуара. Нагревательный элемент выполнен с возможностью нагрева готового состава для пара, вытягиваемого из резервуара. Проволочный зонд расположен вдоль длины фитиля и отделен от нагревательного элемента фитилем. Датчик насыщения выполнен с возможностью измерения одной электрической характеристики фитиля между нагревательным элементом и проволочным зондом в первый момент времени. Электрическая характеристика включает сопротивление и/или емкость. Датчик насыщения выполнен с возможностью измерения электрической характеристики фитиля между нагревательным элементом и проволочным зондом во второй момент времени. Второй момент времени является более поздним относительно первого момента времени. Схема управления выполнена с возможностью обеспечения выполнения электронным устройством для парения никотина расчета скорости пополнения, с которой содержащий никотин готовый состав для пара протекает на фитиль, на основе электрической характеристики в первый момент времени и электрической характеристики во второй момент времени. Схема управления выполнена с возможностью определения того, что скорость пополнения меньше, чем пороговая скорость пополнения, и вывода предупреждения о низком уровне содержащего никотин готового состава для пара в ответ на определение того, что скорость пополнения меньше, чем пороговая скорость пополнения. Заявлены вариант электронного устройства для парения никотина и способ обнаружения исчерпания содержащего никотин готового состава для пара в резервуаре. Достигается технический результат – повышение эффективности контроля уровня готового состава для пара на основе скорости его пополнения в резервуаре. 3 н. и 17 з.п. ф-лы, 11 ил.
1. Электронное устройство для парения никотина, содержащее: резервуар для никотина, выполненный с возможностью удержания содержащего никотин готового состава для пара; фитиль, выполненный с возможностью вытягивания содержащего никотин готового состава для пара из резервуара для никотина; нагревательный элемент, выполненный с возможностью нагрева содержащего никотин готового состава для пара, вытягиваемого из резервуара для никотина; проволочный зонд вдоль длины фитиля, причем проволочный зонд отделен от нагревательного элемента фитилем; датчик насыщения, выполненный с возможностью: - измерения по меньшей мере одной электрической характеристики фитиля между нагревательным элементом и проволочным зондом в первый момент времени, причем по меньшей мере одна электрическая характеристика включает сопротивление и/или емкость, и - измерения по меньшей мере одной электрической характеристики фитиля между нагревательным элементом и проволочным зондом во второй момент времени, причем второй момент времени является более поздним относительно первого момента времени; и схему управления, выполненную с возможностью обеспечения выполнения электронным устройством для парения никотина: - расчета скорости пополнения, с которой содержащий никотин готовый состав для пара протекает на фитиль, на основе по меньшей мере одной электрической характеристики в первый момент времени и по меньшей мере одной электрической характеристики во второй момент времени, - определения того, что скорость пополнения меньше, чем пороговая скорость пополнения, и - вывода предупреждения о низком уровне содержащего никотин готового состава для пара в ответ на определение того, что скорость пополнения меньше, чем пороговая скорость пополнения. 2. Электронное устройство для парения никотина по п. 1, в котором схема управления выполнена с возможностью обеспечения выполнения электронным устройством для парения никотина расчета скорости пополнения на основе разницы между по меньшей мере одной электрической характеристикой в первый момент времени и по меньшей мере одной электрической характеристикой во второй момент времени. 3. Электронное устройство для парения никотина по п. 1 или 2, в котором схема управления выполнена с возможностью обеспечения выполнения электронным устройством для парения никотина: вычисления первого импеданса на основе по меньшей мере одной электрической характеристики в первый момент времени, вычисления второго импеданса на основе по меньшей мере одной электрической характеристики во второй момент времени и расчета скорости пополнения на основе разницы между первым импедансом и вторым импедансом. 4. Электронное устройство для парения никотина по пп. 1, 2 или 3, в котором схема управления выполнена с возможностью обеспечения выполнения электронным устройством для парения никотина: измерения по меньшей мере одной электрической характеристики фитиля между нагревательным элементом и проволочным зондом в третий момент времени, определения того, что по меньшей мере одна электрическая характеристика в третий момент времени больше порогового значения или равна ему, и прекращения парения на электронном устройстве для парения никотина в ответ на определение того, что по меньшей мере одна электрическая характеристика в третий момент времени больше порогового значения или равна ему. 5. Электронное устройство для парения никотина по любому из предыдущих пунктов, в котором схема управления выполнена с возможностью обеспечения выполнения электронным устройством для парения никотина: измерения по меньшей мере одной электрической характеристики фитиля между нагревательным элементом и проволочным зондом в третий момент времени, определения того, что по меньшей мере одна электрическая характеристика в третий момент времени больше порогового значения или равна ему, и вывода предупреждения о низком уровне содержащего никотин готового состава для пара в ответ на определение того, что по меньшей мере одна электрическая характеристика в третий момент времени больше порогового значения или равна ему. 6. Электронное устройство для парения никотина по любому из предыдущих пунктов, в котором схема управления выполнена с возможностью обеспечения выполнения электронным устройством для парения никотина: измерения по меньшей мере одной электрической характеристики фитиля между нагревательным элементом и проволочным зондом в третий момент времени, вычисления импеданса фитиля на основе по меньшей мере одной электрической характеристики в третий момент времени, определения того, что импеданс больше порогового значения или равен ему, и прекращения парения на электронном устройстве для парения никотина в ответ на определение того, что импеданс больше порогового значения или равен ему. 7. Электронное устройство для парения никотина по любому из предыдущих пунктов, в котором схема управления выполнена с возможностью обеспечения выполнения электронным устройством для парения никотина: измерения по меньшей мере одной электрической характеристики фитиля между нагревательным элементом и проволочным зондом в третий момент времени, вычисления импеданса фитиля на основе по меньшей мере одной электрической характеристики в третий момент времени, определения того, что импеданс больше порогового значения или равен ему, и вывода предупреждения о низком уровне содержащего никотин готового состава для пара в ответ на определение того, что импеданс больше порогового значения или равен ему. 8. Электронное устройство для парения никотина по любому из предыдущих пунктов, дополнительно содержащее блок питания, выполненный с возможностью обеспечения питания для электронного устройства для парения никотина. 9. Электронное устройство для парения никотина по любому из предыдущих пунктов, в котором проволочный зонд представляет собой провод из нержавеющей стали. 10. Электронное устройство для парения никотина, содержащее: наружный кожух; внутреннюю трубку, соосно расположенную внутри наружного кожуха; резервуар для никотина, выполненный с возможностью удержания содержащего никотин готового состава для пара, причем резервуар для никотина расположен между внутренней трубкой и наружным кожухом; фитиль, выполненный с возможностью вытягивания содержащего никотин готового состава для пара из резервуара для никотина; нагревательный элемент, выполненный с возможностью нагрева содержащего никотин готового состава для пара, вытягиваемого из резервуара для никотина; датчик насыщения в сборе, выполненный с возможностью измерения по меньшей мере одной электрической характеристики между наружным кожухом и внутренней трубкой в первый момент времени и во второй момент времени, причем второй момент времени является более поздним относительно первого момента времени; и схему управления, выполненную с возможностью обеспечения выполнения электронным устройством для парения никотина: - расчета скорости пополнения, с которой содержащий никотин готовый состав для пара протекает на фитиль, на основе по меньшей мере одной электрической характеристики в первый момент времени и по меньшей мере одной электрической характеристики во второй момент времени, - определения того, что скорость пополнения меньше, чем пороговая скорость пополнения, и - вывода предупреждения о низком уровне содержащего никотин готового состава для пара в ответ на определение того, что скорость пополнения меньше, чем пороговая скорость пополнения. 11. Электронное устройство для парения никотина по п. 10, дополнительно содержащее проволочный зонд вокруг наружного периметра внутренней трубки, при этом датчик насыщения в сборе выполнен с возможностью измерения по меньшей мере одной электрической характеристики между наружным кожухом и внутренней трубкой путем измерения по меньшей мере одной электрической характеристики между наружным кожухом и проволочным зондом вокруг наружного периметра внутренней трубки. 12. Электронное устройство для парения никотина по п. 11, в котором проволочный зонд представляет собой провод из нержавеющей стали. 13. Электронное устройство для парения никотина по пп. 10, 11 или 12, в котором схема управления выполнена с возможностью обеспечения выполнения электронным устройством для парения никотина расчета скорости пополнения на основе разницы между по меньшей мере одной электрической характеристикой в первый момент времени и по меньшей мере одной электрической характеристикой во второй момент времени. 14. Электронное устройство для парения никотина по любому из пп. 10-13, в котором схема управления выполнена с возможностью обеспечения выполнения электронным устройством для парения никотина: вычисления первого импеданса на основе электрической характеристики в первый момент времени, вычисления второго импеданса на основе электрической характеристики во второй момент времени и расчета скорости пополнения на основе разницы между первым импедансом и вторым импедансом. 15. Электронное устройство для парения никотина по любому из пп. 10-14, в котором схема управления выполнена с возможностью обеспечения выполнения электронным устройством для парения никотина: измерения по меньшей мере одной электрической характеристики фитиля между нагревательным элементом и внутренней трубкой в третий момент времени, определения того, что по меньшей мере одна электрическая характеристика в третий момент времени больше порогового значения или равна ему, и прекращения парения на электронном устройстве для парения никотина в ответ на определение того, что по меньшей мере одна электрическая характеристика в третий момент времени больше порогового значения или равна ему. 16. Электронное устройство для парения никотина по любому из пп. 10-15, в котором схема управления выполнена с возможностью обеспечения выполнения электронным устройством для парения никотина: измерения по меньшей мере одной электрической характеристики фитиля между нагревательным элементом и внутренней трубкой в третий момент времени, определения того, что по меньшей мере одна электрическая характеристика в третий момент времени больше порогового значения или равна ему, и вывода предупреждения о низком уровне содержащего никотин готового состава для пара в ответ на определение того, что по меньшей мере одна электрическая характеристика в третий момент времени больше порогового значения или равна ему. 17. Электронное устройство для парения никотина по любому из пп. 10-16, в котором схема управления выполнена с возможностью обеспечения выполнения электронным устройством для парения никотина: измерения по меньшей мере одной электрической характеристики фитиля между нагревательным элементом и внутренней трубкой в третий момент времени, вычисления импеданса фитиля на основе по меньшей мере одной электрической характеристики в третий момент времени, определения того, что импеданс больше порогового значения или равен ему, и прекращения парения на электронном устройстве для парения никотина в ответ на определение того, что импеданс больше порогового значения или равен ему. 18. Электронное устройство для парения никотина по любому из пп. 10-17, в котором схема управления выполнена с возможностью обеспечения выполнения электронным устройством для парения никотина: измерения по меньшей мере одной электрической характеристики фитиля между нагревательным элементом и внутренней трубкой в третий момент времени, вычисления импеданса фитиля на основе по меньшей мере одной электрической характеристики в третий момент времени, определения того, что импеданс больше порогового значения или равен ему, и вывода предупреждения о низком уровне содержащего никотин готового состава для пара в ответ на определение того, что импеданс больше порогового значения или равен ему. 19. Способ обнаружения исчерпания содержащего никотин готового состава для пара в резервуаре для никотина электронного устройства для парения никотина, включающий: измерение по меньшей мере одной электрической характеристики фитиля между нагревательным элементом и проволочным зондом в первый момент времени, причем по меньшей мере одна электрическая характеристика включает сопротивление и/или емкость; измерение по меньшей мере одной электрической характеристики фитиля между нагревательным элементом и проволочным зондом во второй момент времени, причем второй момент времени является более поздним относительно первого момента времени; расчет скорости пополнения, с которой содержащий никотин готовый состав для пара протекает на фитиль, на основе по меньшей мере одной электрической характеристики в первый момент времени и по меньшей мере одной электрической характеристики во второй момент времени; определение того, что скорость пополнения меньше, чем пороговая скорость пополнения; и вывод предупреждения о низком уровне содержащего никотин готового состава для пара в ответ на определение того, что скорость пополнения меньше, чем пороговая скорость пополнения. 20. Способ по п. 19, дополнительно включающий: измерение по меньшей мере одной электрической характеристики фитиля между нагревательным элементом и проволочным зондом в третий момент времени; определение того, что по меньшей мере одна электрическая характеристика в третий момент времени больше порогового значения или равна ему; и прекращение парения на электронном устройстве для парения никотина в ответ на определение того, что по меньшей мере одна электрическая характеристика в третий момент времени больше порогового значения или равна ему.
Настоящее изобретение относится к электронному устройству для вейпинга, или электронному устройству для парения, никотина. Электронное устройство для вейпинга, или электронное устройство для парения, никотина содержит нагревательный элемент, который испаряет содержащий никотин готовый состав для пара для получения пара никотина. Электронное устройство для парения никотина содержит блок питания, такой как перезаряжаемая батарея, расположенный в устройстве. Блок питания электрически соединен с нагревателем. Блок питания обеспечивает питание для нагревателя так, что нагреватель нагревается до температуры, достаточной для преобразования содержащего никотин готового состава для пара в пар никотина. Пар никотина выходит из электронного устройства для парения никотина через мундштук, содержащий по меньшей мере один выход. Из уровня техники известно техническое решение, раскрытое в публикации RU 2704891 C2 и относящееся к картриджу для системы генерирования аэрозоля, при этом картридж содержит датчик, содержащий конденсатор с первой и второй пластинами конденсатора, часть для хранения жидкости для удерживания жидкого образующего аэрозоль субстрата и испаритель, причем часть для хранения жидкости расположена между первой и второй пластинами конденсатора, при этом диэлектрическая проницаемость части для хранения жидкости изменяется при изменении объема жидкого образующего аэрозоль субстрата, удерживаемого в части для хранения жидкости, причем датчик сконфигурирован для измерения емкости конденсатора, при этом измеренная емкость относится к соответствующей диэлектрической проницаемости жидкого образующего аэрозоль субстрата, удерживаемого в части для хранения жидкости, так что величина объема жидкого образующего аэрозоль субстрата, удерживаемого в части для хранения жидкости, может быть определена по измеренной емкости. В публикации RU 2719243 C2 описана электрически управляемая система генерирования аэрозоля, включающая в себя часть для хранения жидкости, в которой хранится жидкость, из которой может быть получен аэрозоль, электрический нагреватель, капиллярный фитиль, расположенный между жидкостью в части для хранения жидкости и электрическим нагревателем и выполненный с возможностью подачи жидкости из части для хранения жидкости в электрический нагреватель, и электрическую схему, соединенную с электрическим нагревателем, причем электрическая схема выполнена с возможностью: активации электрического нагревателя на период испарения в ответ на ввод данных пользователем для испарения жидкости в капиллярном фитиле, первого заданного времени после периода испарения, активации нагревателя на второй период, регистрации измерения температуры нагревателя во время второго периода и определения уровня жидкости в части для хранения жидкости на основе измерения температуры. По меньшей мере один примерный вариант осуществления предоставляет электронное устройство для парения никотина, содержащее: резервуар для никотина, выполненный с возможностью удержания содержащего никотин готового состава для пара; фитиль, выполненный с возможностью вытягивания содержащего никотин готового состава для пара из резервуара для никотина; нагревательный элемент, выполненный с возможностью нагрева содержащего никотин готового состава для пара, вытягиваемого из резервуара для никотина; проволочный зонд вдоль длины фитиля, причем проволочный зонд отделен от нагревательного элемента фитилем; датчик насыщения; и схему управления. Датчик насыщения выполнен с возможностью: измерения по меньшей мере одной электрической характеристики фитиля между нагревательным элементом и проволочным зондом в первый момент времени, причем по меньшей мере одна электрическая характеристика включает сопротивление, емкость, или как сопротивление, так и емкость; и измерения по меньшей мере одной электрической характеристики фитиля между нагревательным элементом и проволочным зондом во второй момент времени, причем второй момент времени является более поздним относительно первого момента времени. Схема управления выполнена с возможностью обеспечения выполнения электронным устройством для парения никотина: расчета скорости пополнения, с которой содержащий никотин готовый состав для пара протекает на фитиль, на основе по меньшей мере одной электрической характеристики в первый момент времени и по меньшей мере одной электрической характеристики во второй момент времени; определения того, что скорость пополнения меньше, чем пороговая скорость пополнения; и вывода предупреждения о низком уровне содержащего никотин готового состава для пара в ответ на определение того, что скорость пополнения меньше, чем пороговая скорость пополнения. Согласно по меньшей мере некоторым примерным вариантам осуществления схема управления может быть выполнена с возможностью обеспечения выполнения электронным устройством для парения никотина расчета скорости пополнения на основе разницы между по меньшей мере одной электрической характеристикой в первый момент времени и по меньшей мере одной электрической характеристикой во второй момент времени. Схема управления может быть выполнена с возможностью обеспечения выполнения электронным устройством для парения никотина: вычисления первого импеданса на основе по меньшей мере одной электрической характеристики в первый момент времени; вычисления второго импеданса на основе по меньшей мере одной электрической характеристики во второй момент времени; и расчета скорости пополнения на основе разницы между первым импедансом и вторым импедансом. Схема управления может быть выполнена с возможностью обеспечения выполнения электронным устройством для парения никотина: измерения по меньшей мере одной электрической характеристики фитиля между нагревательным элементом и проволочным зондом в третий момент времени; определения того, что по меньшей мере одна электрическая характеристика в третий момент времени больше порогового значения или равна ему; и прекращения парения на электронном устройстве для парения никотина в ответ на определение того, что по меньшей мере одна электрическая характеристика в третий момент времени больше порогового значения или равна ему. Схема управления может быть выполнена с возможностью обеспечения выполнения электронным устройством для парения никотина: измерения по меньшей мере одной электрической характеристики фитиля между нагревательным элементом и проволочным зондом в третий момент времени; определения того, что по меньшей мере одна электрическая характеристика в третий момент времени больше порогового значения или равна ему; и вывода предупреждения о низком уровне содержащего никотин готового состава для пара в ответ на определение того, что по меньшей мере одна электрическая характеристика в третий момент времени больше порогового значения или равна ему. Схема управления может быть выполнена с возможностью обеспечения выполнения электронным устройством для парения никотина: измерения по меньшей мере одной электрической характеристики фитиля между нагревательным элементом и проволочным зондом в третий момент времени; вычисления импеданса фитиля на основе по меньшей мере одной электрической характеристики в третий момент времени; определения того, что импеданс больше порогового значения или равен ему; и прекращения парения на электронном устройстве для парения никотина в ответ на определение того, что импеданс больше порогового значения или равен ему. Схема управления может быть выполнена с возможностью обеспечения выполнения электронным устройством для парения никотина: измерения по меньшей мере одной электрической характеристики фитиля между нагревательным элементом и проволочным зондом в третий момент времени; вычисления импеданса фитиля на основе по меньшей мере одной электрической характеристики в третий момент времени; определения того, что импеданс больше порогового значения или равен ему; и вывода предупреждения о низком уровне содержащего никотин готового состава для пара в ответ на определение того, что импеданс больше порогового значения или равен ему. Электронное устройство для парения никотина может дополнительно содержать блок питания, выполненный с возможностью обеспечения питания для электронного устройства для парения никотина. Проволочный зонд может представлять собой провод из нержавеющей стали. По меньшей мере один другой примерный вариант осуществления предоставляет электронное устройство для парения никотина, содержащее: наружный кожух; внутреннюю трубку, соосно расположенную внутри наружного кожуха; резервуар для никотина, выполненный с возможностью удержания содержащего никотин готового состава для пара, причем резервуар для никотина расположен между внутренней трубкой и наружным кожухом; фитиль, выполненный с возможностью вытягивания содержащего никотин готового состава для пара из резервуара для никотина; нагревательный элемент, выполненный с возможностью нагрева содержащего никотин готового состава для пара, вытягиваемого из резервуара для никотина; датчик насыщения в сборе; и схему управления. Датчик насыщения в сборе выполнен с возможностью измерения по меньшей мере одной электрической характеристики между наружным кожухом и внутренней трубкой в первый момент времени и второй момент времени, причем второй момент времени является более поздним относительно первого момента времени. Схема управления выполнена с возможностью обеспечения выполнения электронным устройством для парения никотина: расчета скорости пополнения, с которой содержащий никотин готовый состав для пара протекает на фитиль, на основе по меньшей мере одной электрической характеристики в первый момент времени и по меньшей мере одной электрической характеристики во второй момент времени; определения того, что скорость пополнения меньше, чем пороговая скорость пополнения; и вывода предупреждения о низком уровне содержащего никотин готового состава для пара в ответ на определение того, что скорость пополнения меньше, чем пороговая скорость пополнения. Электронное устройство для парения никотина может дополнительно содержать проволочный зонд вокруг наружного периметра внутренней трубки, при этом датчик насыщения в сборе может быть выполнен с возможностью измерения по меньшей мере одной электрической характеристики между наружным кожухом и внутренней трубкой путем измерения по меньшей мере одной электрической характеристики между наружным кожухом и проволочным зондом вокруг наружного периметра внутренней трубки. Проволочный зонд может представлять собой провод из нержавеющей стали. Схема управления может быть выполнена с возможностью обеспечения выполнения электронным устройством для парения никотина расчета скорости пополнения на основе разницы между по меньшей мере одной электрической характеристикой в первый момент времени и по меньшей мере одной электрической характеристикой во второй момент времени. Схема управления может быть выполнена с возможностью обеспечения выполнения электронным устройством для парения никотина: вычисления первого импеданса на основе электрической характеристики в первый момент времени; вычисления второго импеданса на основе электрической характеристики во второй момент времени; и расчета скорости пополнения на основе разницы между первым импедансом и вторым импедансом. Схема управления может быть выполнена с возможностью обеспечения выполнения электронным устройством для парения никотина: измерения по меньшей мере одной электрической характеристики фитиля между нагревательным элементом и внутренней трубкой в третий момент времени; определения того, что по меньшей мере одна электрическая характеристика в третий момент времени больше порогового значения или равна ему; и прекращения парения на электронном устройстве для парения никотина в ответ на определение того, что по меньшей мере одна электрическая характеристика в третий момент времени больше порогового значения или равна ему. Схема управления может быть выполнена с возможностью обеспечения выполнения электронным устройством для парения никотина: измерения по меньшей мере одной электрической характеристики фитиля между нагревательным элементом и внутренней трубкой в третий момент времени; определения того, что по меньшей мере одна электрическая характеристика в третий момент времени больше порогового значения или равна ему; и вывода предупреждения о низком уровне содержащего никотин готового состава для пара в ответ на определение того, что по меньшей мере одна электрическая характеристика в третий момент времени больше порогового значения или равна ему. Схема управления выполнена с возможностью обеспечения выполнения электронным устройством для парения никотина: измерения по меньшей мере одной электрической характеристики фитиля между нагревательным элементом и внутренней трубкой в третий момент времени; вычисления импеданса фитиля на основе по меньшей мере одной электрической характеристики в третий момент времени; определения того, что импеданс больше порогового значения или равен ему; и прекращения парения на электронном устройстве для парения никотина в ответ на определение того, что импеданс больше порогового значения или равен ему. Схема управления может быть выполнена с возможностью обеспечения выполнения электронным устройством для парения никотина: измерения по меньшей мере одной электрической характеристики фитиля между нагревательным элементом и внутренней трубкой в третий момент времени; вычисления импеданса фитиля на основе по меньшей мере одной электрической характеристики в третий момент времени; определения того, что импеданс больше порогового значения или равен ему; и вывода предупреждения о низком уровне содержащего никотин готового состава для пара в ответ на определение того, что импеданс больше порогового значения или равен ему. По меньшей мере один другой примерный вариант осуществления предоставляет способ обнаружения исчерпания содержащего никотин готового состава для пара в резервуаре для никотина электронного устройства для парения никотина, причем способ включает: измерение по меньшей мере одной электрической характеристики фитиля между нагревательным элементом и проволочным зондом в первый момент времени, причем по меньшей мере одна электрическая характеристика включает сопротивление, емкость, или как сопротивление, так и емкость; измерение по меньшей мере одной электрической характеристики фитиля между нагревательным элементом и проволочным зондом во второй момент времени, причем второй момент времени является более поздним относительно первого момента времени; расчет скорости пополнения, с которой содержащий никотин готовый состав для пара протекает на фитиль, на основе по меньшей мере одной электрической характеристики в первый момент времени и по меньшей мере одной электрической характеристики во второй момент времени; определение того, что скорость пополнения меньше, чем пороговая скорость пополнения; и вывод предупреждения о низком уровне содержащего никотин готового состава для пара в ответ на определение того, что скорость пополнения меньше, чем пороговая скорость пополнения. Согласно по меньшей мере некоторым примерным вариантам осуществления способ может дополнительно включать: измерение по меньшей мере одной электрической характеристики фитиля между нагревательным элементом и проволочным зондом в третий момент времени; определение того, что по меньшей мере одна электрическая характеристика в третий момент времени больше порогового значения или равна ему; и прекращение парения на электронном устройстве для парения никотина в ответ на определение того, что по меньшей мере одна электрическая характеристика в третий момент времени больше порогового значения или равна ему. Различные признаки и преимущества неограничивающих вариантов осуществления в настоящем документе могут стать более очевидными при рассмотрении подробного описания в сочетании с прилагаемыми чертежами. Прилагаемые чертежи представлены исключительно для иллюстративных целей и не должны интерпретироваться как ограничивающие объем формулы изобретения. Прилагаемые чертежи не должны рассматриваться как изображенные в масштабе, если это не указано явным образом. Для ясности различные размеры изображений могли быть преувеличены. На чертежах: Фиг. 1 - вид сбоку электронного устройства для вейпинга, или электронного устройства для парения, никотина согласно по меньшей мере одному примерному варианту осуществления; Фиг. 2 - вид в разрезе примерного варианта осуществления первой секции электронного устройства для парения никотина, показанного на фиг. 1, выполненном по линии II-II'; Фиг. 3 - покомпонентный вид примерного варианта осуществления первой секции, показанной на фиг. 2; Фиг. 4 - вид в разрезе примерного варианта осуществления второй секции электронного устройства для парения, показанного на фиг. 1, выполненном по линии II-II'; Фиг. 5 - покомпонентный вид примерного варианта осуществления второй секции, показанной на фиг. 4; Фиг. 6 - вид в разрезе примерного варианта осуществления электронного устройства для парения никотина, показанного на фиг. 1, выполненном по линии II-II'; Фиг. 7 - вид в разрезе примерного варианта осуществления схемы насыщения в сборе; Фиг. 8 - вид в разрезе другого примерного варианта осуществления схемы насыщения в сборе; Фиг. 9 - вид в разрезе другого примерного варианта осуществления схемы насыщения в сборе; Фиг. 10 - структурная схема компоновки схемы определения насыщения; и Фиг. 11 - блок-схема способа обнаружения исчерпания содержащего никотин готового состава для пара согласно примерным вариантам осуществления. В настоящем документе раскрыты некоторые подробные примерные варианты осуществления. Однако конкретные структурные и функциональные подробности, раскрытые в настоящем документе, представлены исключительно в целях описания примерных вариантов осуществления. Примерные варианты осуществления, тем не менее, могут быть осуществлены во многих альтернативных формах, и их не следует рассматривать как ограниченные только примерными вариантами осуществления, изложенными в настоящем документе. Соответственно, хотя примерные варианты осуществления могут иметь различные модификации и альтернативные формы, их примерные варианты осуществления показаны для примера в графических материалах и будут подробно описаны в настоящем документе. Однако следует понимать, что нет намерения ограничивать примерные варианты осуществления их конкретными раскрытыми формами, а наоборот примерные варианты осуществления должны охватывать все модификации, эквиваленты и альтернативы, попадающие в рамки объема примерных вариантов осуществления. По всему описанию фигур подобные номера относятся к подобным элементам. На фиг. 1 представлен вид сбоку электронного устройства для парения никотина согласно по меньшей мере одному примерному варианту осуществления. Обращаясь к фиг. 1, в по меньшей мере одном примерном варианте осуществления электронное устройство 10 для вейпинга (электронное устройство для парения) никотина содержит заменяемый картридж (или первую секцию) 105 и секцию батареи многократного использования (или вторую секцию) 110. Первая секция 105 и вторая секция 110 могут быть соединены вместе на соединителе в сборе 115. В по меньшей мере одном примерном варианте осуществления соединитель в сборе 115 может представлять собой такой соединитель, который описан в заявке на патент США № 15/154439, поданной 13 мая 2016 г., полное содержание которой включено в настоящий документ посредством ссылки на нее. Как описано в заявке на патент США № 15/154439, соединитель в сборе 115 может быть образован с помощью процесса глубокой вытяжки. В примерном варианте осуществления, показанном на фиг. 1, первая секция 105 содержит первый кожух 120 и вторая секция 110 содержит второй кожух 120’. Электронное устройство 10 для парения никотина содержит мундштук 125 на первом конце 130 и торцевой колпачок 135 на втором конце 140. Согласно по меньшей мере одному примерному варианту осуществления первый кожух 120 и второй кожух 120’ могут иметь в целом цилиндрическое поперечное сечение. В других примерных вариантах осуществления кожухи 120 и 120’ могут иметь в целом треугольное, прямоугольное, овальное, квадратное или многоугольное поперечное сечение вдоль одной или более из первой секции 105 и второй секции 110. Кроме того, кожухи 120 и 120’ могут иметь одинаковую или разную форму поперечного сечения или одинаковый или разный размер. Как описано в настоящем документе, кожухи 120, 120' могут также быть обозначены как наружные или основные кожухи. Хотя примерные варианты осуществления могут быть описаны в некоторых случаях в отношении первой секции 105, соединенной со второй секцией 110, примерные варианты осуществления не следует ограничивать этими примерами. На фиг. 2 представлен вид в разрезе первой секции 105 электронного устройства 10 для парения никотина, выполненном вдоль линии II-II’, представленной на фиг. 1. На фиг. 3 представлен покомпонентный вид примерного варианта осуществления первой секции 105, показанной на фиг. 2. Обращаясь к фиг. 2 и 3, первый кожух 120 проходит в продольном направлении, и воздушная трубка 202 (или дымовая трубка) соосно расположена внутри первого кожуха 120. Первая концевая часть (например, находящаяся раньше по ходу потока относительно потока воздуха во время парения) воздушной трубки 202, первая носовая часть 204 первой прокладки 206 (или уплотнения) вставлена в воздушную трубку 202. Наружный периметр первой прокладки 206 может обеспечивать уплотнение с внутренней поверхностью первого кожуха 120. Первая прокладка 206 содержит центральный продольный проход 208 для воздуха в сообщении по текучей среде с воздушной трубкой 202 для образования внутреннего прохода (также обозначенного как центральный канал или центральный внутренний проход) 210. Поперечный канал 212 на задней части первой прокладки 206 пересекает проход 208 для воздуха первой прокладки 206 и сообщается с ним. Поперечный канал 212 обеспечивает возможность сообщения по текучей среде между проходом 208 для воздуха и центральным проходом 214 для воздуха, что более подробно описано ниже. Первый соединительный элемент 216 вставлен в первый конец первого кожуха 120. Первый соединительный элемент 216 является частью соединителя в сборе 115. Первый соединительный элемент 216 является полым цилиндром с внутренней резьбой на части наружной боковой поверхности. Первый соединительный элемент 216 является проводящим и может быть образован из проводящего материала или покрыт им. Внутренняя резьба (или секция с внутренней резьбой) может быть сопряженной с наружной резьбой (или секцией с наружной резьбой) второй секции 110 для соединения первой секции 105 и второй секции 110. Однако примерные варианты осуществления не ограничены этим примерным вариантом осуществления. Наоборот, соединители могут представлять собой, например, соединители со скользящей посадкой, соединители с фиксатором, соединители со скобой, соединители с зажимом и т. п. Более того, размещение охватываемых и охватывающих соединителей по желанию может быть обратным, таким, что охватываемый соединитель является частью первой секции 105. Проводящий стержень 218 находится внутри полой части первого соединительного элемента 216 и является электрически изолированным от первого соединительного элемента 216 изолятором 220 прокладки. Проводящий стержень 218 может быть образован из проводящего материала (например, нержавеющей стали, меди и т. п.) и может служить в качестве анодной части первого соединительного элемента 216. Проводящий стержень 218 образует центральный проход 214 для воздуха. Центральный проход 214 для воздуха находится в сообщении по текучей среде с проходом 208 для воздуха через поперечный канал 212. Изолятор 220 прокладки удерживает проводящий стержень 218 внутри первого соединительного элемента 216. Изолятор 220 прокладки также электрически изолирует проводящий стержень 218 от наружной части 222 первого соединительного элемента 216. Наружная часть 222 первого соединительного элемента 216 служит в качестве катодного соединителя первого соединительного элемента 216 и наружная часть 222 электрически изолирована от проводящего стержня 218 изолятором 220 прокладки. Наружная часть 222 может иногда быть обозначена в данном документе как катодный соединитель или катодная часть. Наружная часть 222 может быть образована из проводящего материала (например, нержавеющей стали, меди и т. п.). По-прежнему обращаясь к примерному варианту осуществления, показанному на фиг. 2 и 3, вторая носовая часть 224 второй прокладки 226 может быть вставлена во вторую концевую часть 250 воздушной трубки 202. Наружный периметр второй прокладки 226 может также обеспечивать по существу непроницаемое уплотнение с внутренней поверхностью первого кожуха 120. Вторая прокладка 226 может содержать центральный проход 228 (или канал), расположенный между внутренним проходом 210 воздушной трубки 202 и внутренним пространством мундштука 125. Пар никотина может протекать из внутреннего прохода 210 в полость внутри мундштука 125 через центральный проход 228. Мундштук 125 содержит по меньшей мере два выхода 230, которые могут быть расположены со смещением от продольной оси электронного устройства 10 для парения никотина. Выходы 230 могут быть углублены или не углублены и направлены наружу под углом относительно продольной оси электронного устройства 10 для парения никотина. Выходы 230 могут быть по существу равномерно распределены по периметру мундштука 125 так, чтобы по существу равномерно распределять пар никотина. Первая секция 105 дополнительно содержит резервуар 232 для никотина, выполненный с возможностью хранения содержащего никотин готового состава для пара, и испаритель 234. Испаритель 234 содержит нагревательный элемент 236 и фитиль 238. Испаритель 234 выполнен с возможностью испарения содержащего никотин готового состава для пара, втягиваемого из резервуара 232 для никотина. В примерном варианте осуществления, показанном на фиг. 2 и 3, границы резервуара 232 для никотина определены между первой прокладкой 206, второй прокладкой 226, первым кожухом 120 и воздушной трубкой 202. Однако примерные варианты осуществления не следует ограничивать этим примером. Резервуар 232 для никотина может содержать содержащий никотин готовый состав для пара и необязательно среду 232LD, 232HD для хранения, выполненную с возможностью хранения в ней содержащего никотин готового состава для пара. В по меньшей мере одном примерном варианте осуществления среда для хранения может быть волокнистым материалом, содержащим по меньшей мере одно из хлопка (например, обмотку из хлопчатобумажной марли), полиэтилена, сложного полиэфира, вискозы, их комбинаций или т. п. Как показано на фиг. 2 и 3, среда 232LD, 232HD для хранения может содержать два слоя волокнистого материала. Каждый слой может иметь разную плотность. Волокна могут иметь диаметр в диапазоне от приблизительно 6 микрон до приблизительно 15 микрон (например, от приблизительно 8 микрон до приблизительно 12 микрон или от приблизительно 9 микрон до приблизительно 11 микрон). Среда для хранения может представлять собой спеченный, пористый или вспененный материал. Также волокна могут иметь такой размер, чтобы их вдыхание было невозможно, и могут иметь поперечное сечение, которое имеет Y-образную форму, крестообразную форму, форму клевера или любую другую подходящую форму. В примерном варианте осуществления, показанном на фиг. 3, среда для хранения содержит марлю 232LD низкой плотности, окружающую марлю 232HD высокой плотности. Марля 232HD высокой плотности может быть расположена между марлей 232LD низкой плотности и воздушной трубкой 202 так, чтобы содержащий никотин готовый состав для пара втягивался в направлении фитиля 238. В по меньшей мере одном другом примерном варианте осуществления резервуар 232 для никотина может содержать наполненную емкость, не имеющую никакой среды для хранения и содержащую только содержащий никотин готовый состав для пара. В по меньшей мере одном примерном варианте осуществления резервуар 232 для никотина может по меньшей мере частично окружать внутренний проход 210 и воздушную трубку 202. Нагревательный элемент 236 может проходить в поперечном направлении через внутренний проход 210 между противоположными частями резервуара 232 для никотина. В по меньшей мере некоторых примерных вариантах осуществления нагревательный элемент 236 может проходить параллельно продольной оси внутреннего прохода 210. Резервуар 232 для никотина может иметь такой размер и может быть выполнен так, чтобы удерживать достаточное количество содержащего никотин готового состава для пара, так что электронное устройство 10 для парения никотина может быть приспособлено для парения в течение по меньшей мере приблизительно 200 секунд. Более того, электронное устройство 10 для парения никотина может быть выполнено с возможностью обеспечения длительности каждой затяжки максимально приблизительно 5 секунд. Как упомянуто выше, испаритель 234 содержит нагревательный элемент 236 и фитиль 238. Фитиль 238 может содержать по меньшей мере первую концевую часть и вторую концевую часть, которые могут проходить в противоположные стороны резервуара 232 для никотина. Нагревательный элемент 236 может по меньшей мере частично окружать центральную часть фитиля 238. Фитиль 238 может втягивать содержащий никотин готовый состав для пара из резервуара 232 для никотина (например, посредством капиллярного действия) и нагревательный элемент 236 может нагревать содержащий никотин готовый состав для пара в центральной части фитиля 238 до температуры, достаточной для испарения содержащего никотин готового состава для пара, тем самым генерируя «пар». Как упоминается в данном документе, «пар» представляет собой любое вещество, сгенерированное или выпущенное из любого электронного устройства для парения никотина, согласно любому из примерных вариантов осуществления, раскрытых в данном документе. В дополнение к описанным в данном документе признакам, в по меньшей мере одном примерном варианте осуществления электронное устройство 10 для парения никотина может включать признаки, изложенные в публикации заявки на патент США № 2013/0192623 на имя Tucker и др., поданной 31 января 2013 г., и/или признаки, изложенные в патентной заявке США с порядковым № 15/135930 на имя Holtz и др., поданной 22 апреля 2016 г., полное содержание каждой из которых включено в настоящий документ посредством ссылки. В по меньшей мере одном другом примерном варианте осуществления электронное устройство для парения никотина может содержать признаки, изложенные в заявке на патент США № 15/135923, поданной 22 апреля 2016 г., и/или патенте США № 9289014, выданном 22 марта 2016 г., полное содержание каждого из которых включено в настоящий документ посредством этой ссылки на них. В по меньшей мере одном примерном варианте осуществления содержащий никотин готовый состав для пара является материалом или комбинацией материалов, которые могут быть преобразованы в пар никотина. Например, содержащий никотин готовый состав для пара может представлять собой жидкий, твердый и/или гелеобразный состав, включающий, но без ограничения, воду, гранулы, растворители, активные ингредиенты, этанол, растительные экстракты, натуральные или искусственные ароматизирующие вещества и/или вещества для образования пара никотина, такие как глицерин и пропиленгликоль. В некоторых примерных вариантах осуществления содержащий никотин готовый состав для пара может содержать табак и/или другой растительный материал, который может быть или не быть смешан с ароматизаторами, веществами для образования пара никотина, наполнителями, связующими и/или полимерами. Табак и/или другой растительный материал может иметь форму листьев, крупиц, пленок, кусочков, частиц, порошков, гранул и их комбинаций. В по меньшей мере одном примерном варианте осуществления фитиль 238 может содержать нити (или волокна), обладающие способностью втягивать содержащий никотин готовый состав для пара. Например, фитиль 238 может быть пучком стеклянных (или керамических) нитей, причем пучок содержит группу обмоток из стеклянных нитей или т. п., все компоновки которых могут быть выполнены с возможностью втягивания содержащего никотин готового состава для пара посредством капиллярного действия благодаря промежуточному расстоянию между нитями. Нити могут быть в целом выровнены в направлении, перпендикулярном (поперечном) продольному направлению электронного устройства 10 для парения никотина. В по меньшей мере одном примерном варианте осуществления фитиль 238 может содержать от одной до восьми прядей нитей, причем каждая прядь содержит множество стеклянных нитей, сплетенных вместе. Концевые части фитиля 238 могут быть гибкими и складываемыми на границы резервуара 232 для никотина. Нити могут иметь поперечное сечение, которое в целом имеет крестообразную форму, форму клевера, Y-образную форму или любую другую подходящую форму. В по меньшей мере одном примерном варианте осуществления фитиль 238 может содержать любой подходящий материал или комбинацию материалов. Примеры подходящих материалов могут представлять собой, но без ограничения, материалы на основе стекла, керамики или графита. Фитиль 238 может иметь любое подходящее капиллярное втягивающее действие, чтобы принимать в себя содержащие никотин готовые составы для пара, имеющие разные физические свойства, такие как плотность, вязкость, поверхностное натяжение и давление пара. Фитиль 238 может быть непроводящим. В по меньшей мере одном примерном варианте осуществления нагревательный элемент 236 может содержать проволочную спираль (нагревательную спираль), которая по меньшей мере частично окружает фитиль 238. Провод, используемый для образования проволочной спирали, может быть металлическим. Нагревательный элемент 236 может проходить полностью или частично вдоль длины фитиля 238. Нагревательный элемент 236 может также проходить полностью или частично по окружности фитиля 238. В некоторых примерных вариантах осуществления нагревательный элемент 236 может находиться или не находиться в контакте (или непосредственном контакте) с фитилем 238. В примерном варианте осуществления, показанном на фиг. 2 и 3, нагревательный элемент 236 электрически соединен с проводящим стержнем 218 с помощью первого электрического вывода 240 и с наружной частью 222 с помощью второго электрического вывода 240'. Соответственно, наружная часть 222 и проводящий стержень 218 образуют соответствующее внешнее электрическое соединение с нагревательным элементом 236. В по меньшей мере некоторых других примерных вариантах осуществления нагревательный элемент 236 может иметь форму плоского тела, керамического тела, одинарного провода, сетки, решетки из резистивной проволоки или любую другую подходящую форму. В более общем смысле нагревательный элемент 236 может быть любым нагревателем, который выполнен с возможностью испарения содержащего никотин готового состава для пара. В по меньшей мере одном примерном варианте осуществления нагревательный элемент 236 может быть образован из любых подходящих электрически резистивных материалов. Примеры подходящих электрически резистивных материалов могут включать, но без ограничения, медь, титан, цирконий, тантал и металлы из платиновой группы. Примеры подходящих сплавов металлов включают, но без ограничения, нержавеющую сталь, никель, кобальт, хром, алюминий-титан-цирконий, гафний, ниобий, молибден, тантал, вольфрам, олово, галлий, марганец, и железосодержащие сплавы, и суперсплавы на основе никеля, железа, кобальта, нержавеющей стали. Например, нагревательный элемент 236 может быть образован из алюминида никеля, материала со слоем из оксида алюминия на поверхности, алюминида железа и других композитных материалов, причем электрически резистивный материал может необязательно быть встроен в изоляционный материал, инкапсулирован в него или покрыт им, или наоборот, в зависимости от кинетики переноса энергии и требуемых внешних физико-химических свойств. Нагревательный элемент 236 может содержать по меньшей мере один материал, выбранный из группы, состоящей из нержавеющей стали, меди, медных сплавов, хромоникелевых сплавов, суперсплавов и их комбинаций. В примерном варианте осуществления нагревательный элемент 236 может быть образован из никель-хромовых сплавов или железо-хромовых сплавов. В другом примерном варианте осуществления нагревательный элемент 236 может быть керамическим нагревателем, имеющим электрически резистивный слой на своей наружной поверхности. По-прежнему обращаясь к фиг. 2 и 3, воздушная трубка 202 может содержать пару противоположных пазов 242, таких, что фитиль 238 и первый и второй электрические выводы 240 и 240’ или концы нагревательного элемента 236 могут выходить из соответствующих противоположных пазов 242. Предоставление противоположных пазов 242 в воздушной трубке 202 может облегчать размещение нагревательного элемента 236 и фитиля 238 на место внутри воздушной трубки 202 без воздействия на края противоположных пазов 242 и спиральную секцию нагревательного элемента 236. Соответственно, края противоположных пазов 242 не могут оказывать воздействие и изменять расстояние между витками спирали нагревательного элемента 236, что в противном случае создавало бы потенциальные источники горячих точек. В по меньшей мере одном примерном варианте осуществления воздушная трубка 202 может иметь диаметр приблизительно 4 миллиметра и каждый из противоположных пазов может иметь наибольший и наименьший размеры, которые составляют приблизительно 2 миллиметра на приблизительно 4 миллиметра. В по меньшей мере одном примерном варианте осуществления нагревательный элемент 236 может нагревать содержащий никотин готовый состав для пара в фитиле 238 с помощью теплопроводности. Альтернативно тепло от нагревательного элемента 236 может проводиться в содержащий никотин готовый состав для пара с помощью теплопроводного элемента, или нагревательный элемент 236 может передавать тепло во входящий воздух окружающей среды, втягиваемый через электронное устройство 10 для парения никотина при парении, который в свою очередь нагревает содержащий никотин готовый состав для пара посредством конвекции. Как показано на фиг. 3, первая секция 105 может дополнительно содержать покровную трубку 244, разделительную трубку 246 и внутреннюю трубку 248. Хотя и не показана на фиг. 2, покровная трубка 244 может быть расположена так, чтобы окружать часть воздушной трубки 202 между нагревательным элементом 236 и второй носовой частью 224. Как и воздушная трубка 202, покровная трубка 244 может проходить в продольном направлении и может быть соосно расположена внутри первого кожуха 120. Покровная трубка 244 может покрывать часть каждого из противоположных пазов 242. Разделительная трубка 246 может проходить в продольном направлении и быть соосно расположена внутри воздушной трубки 202 между нагревательным элементом 236 и проводящим стержнем 218. Внутренняя трубка 248 может проходить в продольном направлении и быть соосно расположена внутри разделительной трубки 246. Хотя покровная трубка 244, разделительная трубка 246 и внутренняя трубка 248 показаны на фиг. 3, одна или более из этих трубок (например, внутренняя трубка 248) может быть опущена. На фиг. 4 представлен вид в разрезе второй секции примерного варианта осуществления электронного устройства 10 для парения никотина, выполненном вдоль линии II-II’, представленной на фиг. 1. На фиг. 5 представлен покомпонентный вид примерного варианта осуществления второй секции 110, показанной на фиг. 4. Вторая секция 110 может представлять собой секцию многократного использования электронного устройства 10 для парения никотина, при этом секция многоразового использования может быть выполнена с возможностью перезарядки посредством внешнего зарядного устройства. Альтернативно вторая секция 110 может быть одноразовой. В этом примере вторую секцию 110 можно использовать до тех пор, пока энергия из блока 402 питания (описан ниже) не будет израсходована (например, энергия падает ниже порогового уровня). Обращаясь к фиг. 4 и 5, согласно по меньшей мере этому примерному варианту осуществления, блок 402 питания содержит анодный вывод 404 и катодный вывод 406. Каждый из анодного вывода 404 и катодного вывода 406 может иметь форму одного или более электрических выводов или проводов. Блок 402 питания может представлять собой батарею. Например, блок 402 питания может представлять собой литий-ионную батарею или вариант литий-ионной батареи, например, литий-ионную полимерную батарею. Батарея может быть одноразовой или перезаряжаемой. Вторая секция 110 дополнительно содержит соединительный элемент 408 на первом конце второй секции 110. В примерном варианте осуществления, показанном на фиг. 4, соединительный элемент 408 представляет собой охватываемый соединитель, выполненный с возможностью соединения с охватывающим первым соединительным элементом 216 первой секции 105. Альтернативно соединительный элемент 408 может представлять собой охватывающий соединитель, выполненный с возможностью соединения с охватываемым соединителем первой секции 105. В примерном варианте осуществления, показанном на фиг. 4, соединительный элемент 408 содержит резьбу 410, выполненную с возможностью сопряжения с соответствующей резьбой на первом соединительном элементе 216 первой секции 105. Хотя проиллюстрирован как резьбовое соединение, согласно по меньшей мере некоторым другим примерным вариантам осуществления соединительный элемент 408 может представлять собой, например, соединители со скользящей посадкой, соединители с фиксатором, соединители со скобой, соединители с зажимом или т. п. Катодный вывод (соединительный элемент 408) блока 402 питания оканчивается на датчике в сборе 424, и электрически соединен с ним, который расположен рядом со вторым концом второй секции 110. Датчик в сборе 424 более подробно будет описан ниже. Анодный вывод 404 оканчивается на проводящем стержне 412 и электрически соединен с ним. Проводящий стержень 412 может служить в качестве анодной части соединительного элемента 408. Проводящий стержень 412 образует центральный проход 414, который находится в сообщении по текучей среде с одним или более боковыми вентиляционными каналами 416. Боковые вентиляционные каналы 416 могут быть отверстиями, просверленными в проводящем стержне 412. Центральный проход 414 и один или более боковых вентиляционных каналов 416 позволяют обнаруживать затяжку посредством датчика в сборе (например, датчика затяжки в сборе) 424, что является результатом изменений давления при втягивании воздуха через впускные отверстия 145 для воздуха. Хотя на фиг. 4 показаны только два боковых вентиляционных канала 416 и два впускных отверстия 145 для воздуха, примерные варианты осуществления не следует ограничивать этим примером. Наоборот, проводящий стержень 412 может содержать любое количество боковых вентиляционных каналов 416 и соединительный элемент 408 может содержать любое количество впускных отверстий 145 для воздуха. Например, проводящий стержень 412 может содержать 4 боковых вентиляционных канала 416, разнесенных друг от друга на равные расстояния вокруг проводящего стержня 412. Подобным образом соединительный элемент 408 может содержать 4 впускные отверстия 145 для воздуха, разнесенные друг от друга на равные расстояния вокруг соединительного элемента 408. Проводящий стержень 412 дополнительно содержит верхнюю часть 418, имеющую выемку, позволяющую воздуху, втягиваемому через впускные отверстия 145 для воздуха, протекать и/или иметь сообщение через конец второй секции 110 в первую секцию 105, когда она соединена со второй секцией 110. Проводящий стержень 412 может быть образован из проводящего материала (например, нержавеющей стали, меди или т. п.) и находится внутри полой части соединительного элемента 408. Когда соединительный элемент 408 второй секции 110 соединен с первым соединительным элементом 216 первой секции 105, верхняя часть 418 (и проводящий стержень 412) физически и электрически соединяется с проводящим стержнем 218 для обеспечения возможности протекания электрического тока из блока 402 питания в нагревательный элемент 236. Электрическое соединение также обеспечивает возможность электрической передачи сигналов между первой секцией 105 и второй секцией 110. По-прежнему обращаясь к фиг. 4 и 5, изолятор 420 прокладки удерживает проводящий стержень 412 внутри соединительного элемента 408. Изолятор 420 прокладки также электрически изолирует проводящий стержень 412 от наружной части 422 соединительного элемента 408. Наружная часть 422 может быть образована из проводящего материала (например, нержавеющей стали, меди или т. п.) и может служить в качестве катодной части соединительного элемента 408. Как упомянуто выше, соединительный элемент 408 содержит одно или более впускных отверстий 145 для воздуха, выполненных с возможностью прохождения воздуха окружающей среды в соединительный элемент 408. Впускные отверстия 145 для воздуха могут также иногда называться вентиляционными каналами или воздушными вентиляционными каналами. Воздух окружающей среды, втягиваемый в соединительный элемент 408, может комбинироваться и/или смешиваться с воздухом, вытекающим из одного или более боковых вентиляционных каналов 416, и протекать в первую секцию 105, когда первая секция 105 соединена со второй секцией 110. В по меньшей мере одном примерном варианте осуществления впускные отверстия 145 для воздуха могут быть просверлены в соединительном элементе 408 непосредственно ниже резьбы 410 под углом, перпендикулярным или по существу перпендикулярным продольной осевой линии соединительного элемента 408. Боковые стенки впускных отверстий 145 для воздуха могут быть скошены для обеспечения наклона боковых стенок вовнутрь (например, для «зенкования» боковых стенок на кромке впускных отверстий 145 для воздуха). Благодаря скашиванию боковых стенок на кромке впускных отверстий 145 для воздуха (вместо использования относительно острых краев на кромке впускных отверстий 145 для воздуха), впускные отверстия 145 для воздуха могут быть менее подвержены засорению или частичному блокированию (вследствие уменьшения эффективной площади поперечного сечения впускных отверстий 145 для воздуха возле кромки впускных отверстий 145 для воздуха). В по меньшей мере одном примерном варианте осуществления боковые стенки кромки впускных отверстий 145 для воздуха могут быть скошены (наклонены) настолько, чтобы проходить под углом приблизительно 38 градусов относительно продольной длины (или продольной осевой линии) соединительного элемента 408 и второго кожуха 120' второй секции 110. В по меньшей мере одном примерном варианте осуществления впускные отверстия 145 для воздуха могут иметь такой размер и быть выполнены так, что электронное устройство 10 для парения никотина характеризуется сопротивлением втягиванию (RTD) в диапазоне от приблизительно 60 миллиметров водяного столба до приблизительно 150 миллиметров водяного столба. По-прежнему обращаясь к фиг. 4 и 5, как упомянуто выше, вторая секция 110 содержит датчик в сборе (например, датчик затяжки в сборе) 424. Как показано на фиг. 4, например, датчик в сборе 424 электрически соединен с блоком 402 питания и получает питание от него. В по меньшей мере этом примерном варианте осуществления датчик в сборе 424 содержит датчик (например, датчик затяжки) 426, датчик 427 насыщения и схему 428 управления. Схема 428 управления выполнена с возможностью предоставления электрического тока и/или электрических сигналов в первую секцию 105. С этой целью схема 428 управления электрически соединена с проводящим стержнем 412 (анодная часть соединительного элемента 408) посредством проводки (или вывода) 430 схемы управления и с наружной (катодной) частью 422 соединительного элемента 408 посредством проводки (или вывода) 432 схемы управления. В по меньшей мере этом примере проводка 432 схемы управления выполняет функцию катода для электрической схемы, содержащей датчик в сборе 424. Датчик 426 может быть емкостным датчиком, выполненным с возможностью распознавания падения внутреннего давления во второй секции 110. Датчик 426 и схема 428 управления могут функционировать вместе для открывания и закрывания схемы управления нагревателем (не показана) между блоком 402 питания и нагревательным элементом 236 первой секции 105, когда она соединена со второй секцией 110. В по меньшей мере одном примерном варианте осуществления датчик 426 выполнен с возможностью генерирования выходного сигнала, указывающего величину и направление потока воздуха через электронное устройство 10 для парения никотина. В этом примере схема 428 управления принимает выходной сигнал датчика 426 и определяет, (1) указывает ли направление потока воздуха на приложение отрицательного давления к мундштуку (например, затяжку на нем) 125 (в противоположность положительному давлению, или вдуванию) и (2) превышает ли величина приложения отрицательного давления пороговый уровень. Если эти условия парения соблюдены, то схема 428 управления электрически соединяет блок 402 питания с нагревательным элементом 236 для активации нагревательного элемента 236. В одном примере схема управления нагревателем может содержать транзистор управления питанием нагревателя (не показан). Схема 428 управления может электрически соединять блок 402 питания с нагревательным элементом 236 посредством активации транзистора управления питанием нагревателя. В по меньшей мере одном примере транзистор управления питанием нагревателя (или схема управления нагревателем) может образовывать часть схемы 428 управления. Согласно по меньшей мере одному примерному варианту осуществления датчик в сборе 424 может содержать один или более признаков, изложенных в патенте США № 9072321 на имя Loi Ling Liu и/или публикации заявки на патент США № 2015/0305410 на имя Loi Ling Liu, полное содержание каждого из которых включено в настоящий документ посредством ссылки. Однако примерные варианты осуществления не следует ограничивать этим примером. Наоборот, схема 428 управления и датчик 426 могут быть отдельными элементами, расположенными на печатной плате и соединенными с помощью электрических контактов. Дополнительно, хотя в данном документе рассмотрен емкостный датчик, датчик 426 может представлять собой любой подходящий датчик давления, например, микроэлектромеханическую систему (MEMS), содержащую пьезорезистивный датчик или другой датчик давления. Как описано более подробно на фиг. 7-11, датчик 427 насыщения соединен с блоком 402 питания посредством катодного вывода 406 и электрического вывода 430 и с первой секцией 105 посредством электрического вывода 432. Датчик 427 насыщения может быть выполнен с возможностью измерения одной или более электрических характеристик схемы насыщения, содержащейся в первой секции 105. Согласно одному или более примерным вариантам осуществления датчик 427 насыщения может измерять сопротивление и/или емкость схемы насыщения. По сопротивлению и/или емкости схема 428 управления может рассчитать импеданс схемы насыщения. В одном примере не основании сопротивления, емкости и/или импеданса схема 428 управления может обнаруживать, когда содержащий никотин готовый состав для пара в резервуаре 232 для никотина заканчивается (например, количество содержащего никотин готового состава для пара в резервуаре для никотина падает ниже первого минимального порогового уровня) и соответственно генерировать предупреждение. В другом примере схема 428 управления может вызывать прекращение парения и/или отключение электронного устройства 10 для парения никотина при обнаружении того, что содержащий никотин готовый состав для пара в резервуаре для никотина закончился (например, количество содержащего никотин готового состава для пара в резервуаре для никотина падает ниже второго минимального порогового уровня, который меньше, чем первый минимальный пороговый уровень). Схема 428 управления может содержать, среди прочего, контроллер. Согласно одному или более примерным вариантам осуществления контроллер может быть реализован с использованием аппаратного обеспечения, комбинации аппаратного обеспечения и программного обеспечения, или среды хранения, хранящей программное обеспечение. Аппаратное обеспечение может быть реализовано с использованием схемы обработки или управления, такой как, но без ограничения, один или более процессоров, одно или более центральных процессорных устройств (ЦПУ), один или более микроконтроллеров, одно или более арифметико-логических устройств (АЛУ), один или более цифровых процессоров сигналов (ЦПС), один или более микрокомпьютеров, одна или более программируемых пользователем вентильных матриц (ППВМ), одна или более однокристальных систем (SoC), один или более программируемых логических элементов (PLU), один или более микропроцессоров, одна или более специализированных интегральных схем (ASIC), или любых других устройства или устройств, способных отвечать на команды и исполнять их определенным способом. В другом примерном варианте осуществления схема 428 управления может содержать управляемый вручную взрослым вейпером переключатель для подачи питания на нагревательный элемент 236. В по меньшей мере одном примерном варианте осуществления схема 428 управления может ограничивать период времени, во время которого электрический ток непрерывно подается на нагревательный элемент 236. Период времени может быть установлен или предварительно установлен в зависимости от количества содержащего никотин готового состава для пара, которое необходимо испарить. В одном примере период времени для непрерывного применения электрического тока к нагревательному элементу 236 может быть ограничен так, что нагревательный элемент 236 нагревает часть фитиля 238 менее чем приблизительно 10 секунд. В другом примере период времени для непрерывного применения электрического тока к нагревательному элементу 236 может быть ограничен так, что нагревательный элемент 236 нагревает часть фитиля 238 приблизительно 5 секунд. По-прежнему обращаясь к фиг. 4 и 5, датчик в сборе 424 удерживается внутри держателя 434 датчика на втором конце второй секции 110. В по меньшей мере одном примерном варианте осуществления держатель 434 датчика может быть частью силиконовой или резиновой прокладки. Однако примерные варианты осуществления не следует ограничивать этим примером. Световой индикатор 436 активации нагрева может также быть расположен на втором конце второй секции 110. В примерном варианте осуществления, показанном на фиг. 4, световой индикатор 436 активации нагрева может быть расположен внутри торцевого колпачка 135. Световой индикатор 436 активации нагрева может содержать один или более светоизлучающих диодов (LED). LED могут включать один или более цветов (например, белый, желтый, красный, зеленый, синий или т. п.). Более того, световой индикатор 436 активации нагрева может быть видимым для взрослого вейпера во время парения и приспособлен светиться, когда блок 402 питания подает электрический ток на нагревательный элемент 236. Световой индикатор 436 активации нагрева можно использовать для диагностики электронной системы для парения никотина или указания того, что происходит перезарядка блока 402 питания. Световой индикатор 436 активации нагрева может также быть выполнен так, что взрослый вейпер может активировать или деактивировать световой индикатор 436 активации нагрева для конфиденциальности. Световой индикатор 436 активации нагрева может быть частью датчика в сборе 424 или электрически соединен с ним, как описано в патенте США № 9072321 на имя Loi Ling Liu и/или U.S. публикации заявки на патент США № 2015/0305410 на имя Loi Ling Liu. На фиг. 6 представлен вид в разрезе примерного варианта осуществления электронного устройства для парения никотина, показанного на фиг. 1, выполненном вдоль линии II-II'. На фиг. 6 первая секция 105 показана соединенной со второй секцией 110. Стрелки на фиг. 6 указывают примерный поток воздуха через электронное устройство 10 для парения никотина. Работа электронного устройства 10 для парения никотина для создания пара никотина, когда первая секция 105 соединена со второй секцией 110, теперь будет описана в отношении фиг. 6. Обращаясь к фиг. 6, воздух втягивается главным образом в первую секцию 105 через по меньшей мере одно из впускных отверстий 145 для воздуха в ответ на приложение отрицательного давления к мундштуку 125. Если схема 428 управления обнаруживает условия парения, описанные выше, то схема 428 управления инициирует подачу питания на нагревательный элемент 236, вследствие чего нагревательный элемент 236 нагревает содержащий никотин готовый состав для пара на фитиле 238 с образованием пара никотина. Воздух, втягиваемый через впускные отверстия 145 для воздуха, входит в полость внутри соединительного элемента 408 и проходит через выемку в верхней части 418 в центральный проход 214 для воздуха. Из центрального прохода 214 для воздуха воздух протекает через поперечный канал 212, через проход 208 для воздуха и затем через внутренний проход 210. Воздух, протекающий через внутренний проход 210, комбинируется и/или смешивается с паром никотина, генерируемым нагревательным элементом 236, и смесь воздуха с паром никотина проходит из внутреннего прохода 210 в центральный проход 228 и затем в полость внутри мундштука 125. Из полости в мундштуке 125 смесь воздуха с паром никотина вытекает из выходов 230. На фиг. 7 представлен вид в разрезе примерного варианта осуществления схемы насыщения в сборе 700. На фиг. 7 изображена часть первой секции 105 электронного устройства 10 для парения никотина с увеличенным видом нагревательного элемента 236. В по меньшей мере одном примерном варианте осуществления схема насыщения в сборе 700 содержит проволочный зонд 705, проходящий вдоль длины фитиля 238, но отдельно от нагревательного элемента 236 (не в контакте с ним). В различных примерных вариантах осуществления фитиль 238 и проволочный зонд 705 могут быть короче или длиннее, чем показано на фиг. 7. Проволочный зонд 705соединен с первым электрическим выводом 240 с помощью первого вывода 710 зонда. Когда первая секция 105 соединена со второй секцией 110, первый вывод 710 зонда электрически соединяет проволочный зонд 705 с блоком 402 питания во второй секции 110. Как упоминалось ранее и описано более подробно ниже, датчик 427 насыщения может измерять по меньшей мере одну электрическую характеристику или определять импеданс на по меньшей мере части первой секции 105. Более конкретно, например, датчик 427 насыщения может измерять по меньшей мере одну электрическую характеристику или определять импеданс на схеме насыщения в сборе 700, соединяющей проволочный зонд 705 и нагревательный элемент 236 с первым электрическим выводом 240 и вторым электрическим выводом 240’. В различных примерных вариантах осуществления по меньшей мере одна электрическая характеристика может включать сопротивление, емкость, или их обоих, но ее не следует ограничивать этим. Схема 428 управления во второй секции 140’ может определять импеданс, связанный с нагревательным элементом 236 и проволочным зондом 705, на основе одной или более измеренных электрических характеристик, например, сопротивления, измеренного датчиком 427 насыщения. В различных примерных вариантах осуществления схема 428 управления может определять уровень насыщения фитиля 238 на основе импеданса или по меньшей мере одной электрической характеристики. Так как одна или более электрических характеристик и получаемый в результате импеданс указывают (например, непосредственно указывают) на уровень насыщения фитиля 238, электрические характеристики и/или импеданс можно использовать для обнаружения исчерпания содержащего никотин готового состава для пара в резервуаре 232 для никотина, чтобы не генерировать нежелательные элементы пара никотина. Другими словами, например, датчик 427 насыщения и измеренные электрические характеристики могут позволять обнаруживать условия сухого фитиля (также называемые условиями сухой затяжки) и, в свою очередь, исчерпание содержащего никотин готового состава для пара в резервуаре для никотина. Проволочный зонд 705 может быть сделан из нержавеющей стали; однако можно использовать любой другой проводящий метал, допустимый с точки зрения безопасности продукта. Датчик 427 насыщения может реализовывать любой подходящий способ определения импеданса между нагревательным элементом 236 и проволочным зондом 705, например, на основе измеренного сопротивления, измеренной емкости или измеренной комбинации сопротивления и емкости. Как описано ниже, схема насыщения в сборе 700 чувствительна как к наличию, так и количеству содержащего никотин готового состава для пара в фитиле 238. Например, когда фитиль 238 изначально сухой, импеданс может иметь измерение сопротивления свыше приблизительно 10 МОм и емкость приблизительно 2 пФ. Однако после (например, в пределах нескольких секунд) размещения капли содержащего никотин готового состава для пара (например, приблизительно 5 мг) на одном конце фитиля 238 измерение сопротивления может составлять приблизительно 2 МОм и емкость может составлять приблизительно 200 пФ. С последующим добавлением содержащего никотин готового состава для пара импеданс продолжает меняться до тех пор, пока фитиль 238 не будет насыщен. При полном насыщении фитиль 238 может иметь сопротивление приблизительно 45 кОм и емкость приблизительно 2200 пФ. Согласно одному или более примерным вариантам осуществления, в ответ на сопротивление более чем или равное приблизительно 10 МОм и/или емкость менее чем или равную приблизительно 2 пФ, схема 428 управления может отключать питание или прекращать парение на электронном устройстве 10 для парения никотина посредством перекрытия подачи питания на нагревательный элемент 236. Дополнительно или альтернативно схема 428 управления может генерировать и отображать предупреждение о сухом фитиле посредством подсвечивания индикаторного светового элемента на электронном устройстве 10 для парения никотина. Индикаторный световой элемент может быть световым индикатором 436 активации нагрева и может светить определенным цветом или мигать, когда генерируется предупреждение о сухом фитиле. В различных примерных вариантах осуществления отдельный индикаторный световой элемент может содержаться на первом кожухе 120 электронного устройства 10 для парения никотина. Один или более примерных вариантов осуществления могут обеспечивать более точные измерения сопротивления и/или емкости, поскольку на схему насыщения в сборе 700 более прямо влияет количество содержащего никотин готового состава для пара, насыщающее фитиль 238, так как фитиль 238 находится к контакте с проволочным зондом 705 и нагревательным элементом 236. Дополнительно содержащие никотин готовые составы для пара содержат глицерин, пропиленгликоль и воду, тогда как другие составляющие присутствуют в меньших количествах. Поэтому содержащий никотин готовый состав для пара выполняет функцию электролита в конденсаторе, образованном между нагревательным элементом 236 и проволочным зондом 705 (или первым кожухом 120, как показано на фиг. 8 и 9). Поэтому имеющееся количество содержащего никотин готового состава для пара более прямо влияет на емкость датчика 427 насыщения. Поскольку содержащий никотин готовый состав для пара не является изолятором, содержащий никотин готовый состав для пара позволяет прохождение электрического тока, который можно легко измерять для определения сопротивления. Как емкость, так и сопротивление меняются непосредственно с количеством содержащего никотин готового состава для пара (также называемым уровнем насыщения) на фитиле 238. Либо одно из них, либо оба можно измерять для определения того, что количество содержащего никотин готового состава для пара на фитиле 238 уменьшается (или уменьшилось) ниже минимального порогового уровня (например, фитиль 238 начинает высыхать). Комбинацию сопротивления и емкости можно использовать для определения электрического импеданса фитиля 238. Когда содержащий никотин готовый состав для пара нагревают для генерирования пара никотина, уровень насыщения фитиля 238 уменьшается и дополнительный содержащий никотин готовый состав для пара затекает в фитиль 238 из резервуара для никотина (например, посредством капиллярного действия), чтобы снова наполнять фитиль 238. В результате можно определять скорость потока, с которой восполняется уровень насыщения фитиля 238. Схема 428 управления может сравнивать скорость потока или пополнения с минимальным порогом скорости потока, чтобы определять, заканчивается ли содержащий никотин готовый состав для пара в резервуаре для никотина. Если скорость потока ниже минимального порога скорости потока, то схема 428 управления определяет, что содержащий никотин готовый состав для пара в резервуаре для никотина заканчивается, и может выводить соответствующее указание или предупреждение для взрослого вейпера. Указание или предупреждение могут представлять собой подсвечивание индикаторного светового элемента (просто включение света или реализацию мигающей схемы). Расчет скорости потока или пополнения для фитиля 238 будет более подробно рассмотрен ниже в отношении фиг. 11. Более того, измерения электрических характеристик могут выполняться, пока электронное устройство 10 для парения никотина работает (например, во время затяжки, когда на нагревательный элемент 236 подается питание), и могут выполняться с использованием первого электрического вывода 240 и второго электрического вывода 240’, без необходимости в дополнительном третьем электрическом выводе от первой секции 105 ко второй секции 110. Хотя и описываются как находящиеся в составе электронного устройства 10 для парения никотина, датчик 427 насыщения и схема насыщения в сборе 700 могут быть реализованы на фитиле, содержащемся в системах красок и чернил, пищевых системах, реализующих затекание вкусоароматических добавок или других ингредиентов, системе с обратной связью для повышения скорости пополнения при капиллярном затекании, медицинских системах для обнаружения насыщения повязки и т. д. Поскольку датчик 427 насыщения и схема насыщения в сборе 700 являются чувствительными, описанную систему можно использовать для обнаружения повышения наличия или уровня жидкости до начала накопления жидкости в защищенной области, повышая число различных применений системы. На фиг. 8 представлен вид в разрезе другого примерного варианта осуществления схемы насыщения в сборе 800. На фиг. 8 изображена часть первой секции 105 электронного устройства 10 для парения никотина с увеличенным видом нагревательного элемента 236. Схема насыщения в сборе 800 по фиг. 8 аналогична примерному варианту осуществления, показанному на фиг. 7, за исключением того, что схема насыщения в сборе 800 содержит проволочный зонд 805 вокруг воздушной трубки 202, который соединен с первым электрическим выводом 240. В различных примерных вариантах осуществления проволочный зонд 805 может быть соединен со вторым электрическим выводом 240’. Первый вывод 810 зонда соединяет один конец проволочного зонда 805 с первым электрическим выводом 240. Дополнительно первый кожух 120 соединен с первым электрическим выводом 240 с помощью первого вывода 820 кожуха. Датчик 427 насыщения измеряет сопротивление и/или емкость между проволочным зондом 805 и первым кожухом 120 для определения количества содержащего никотин готового состава для пара в резервуаре 232 для никотина. Затем, как описано выше, схема 428 управления отключает электронное устройство 10 для парения никотина и/или выводит предупреждение о пустом, имеющем низкий уровень или близком к исчерпанию резервуаре 232 для никотина соответственно. В различных примерных вариантах осуществления схема насыщения в сборе 800 может исключать первый вывод 820 кожуха и вместе этого измерять сопротивление и/или емкость между проволочным зондом 805 и нагревательным элементом 236. Как подобным образом упоминалось выше, проволочный зонд 805 выполнен так, чтобы окружать воздушную трубку 202. На фиг. 9 представлен вид в разрезе другого примерного варианта осуществления схемы насыщения в сборе 900. На фиг. 9 изображена часть первой секции 105 электронного устройства 10 для парения никотина с увеличенным видом нагревательного элемента 236. Схема насыщения в сборе 900 по фиг. 9 подобна примерному варианту осуществления, показанному на фиг. 8, за исключением того, что схема насыщения в сборе 900 не содержит проволочный зонд 805. Вместо этого датчик 427 насыщения измеряет сопротивление и/или емкость между нагревательным элементом 236 и первым кожухом 120 для определения уровня насыщения фитиля 238. На фиг. 10 представлена структурная схема примерного варианта осуществления компоновки схемы определения насыщения. Схема насыщения в сборе 700 по фиг. 7 электрически соединена с блоком 402 питания, датчиком в сборе 424, датчиком 427 насыщения и схемой 428 управления посредством различных электрических выводов (первого электрического вывода 240, второго электрического вывода 240’, анодного вывода 404, катодного вывода 406, проводки 430 и 432 схемы управления) и проводящих стержней 218 и 418. Датчик 427 насыщения измеряет сопротивление и/или емкость на схеме насыщения в сборе 700. Подобную компоновку схемы определения насыщения можно использовать со схемой насыщения в сборе 800 по фиг. 8 и схемой насыщения в сборе 900 по фиг. 9. Схема 428 управления может содержать энергонезависимое запоминающее устройство (не показано), хранящее пороговые значения импеданса, пороговые значения сопротивления, пороговые значения емкости, пороговые значения скорости потока или пополнения и т. д. На фиг. 11 представлена блок-схема, иллюстрирующая способ обнаружения исчерпания содержащего никотин готового состава для пара. В целях примера, примерный вариант осуществления, показанный на фиг. 11, будет рассмотрен в отношении сопротивления и в отношении примерного варианта осуществления, показанного на фиг. 7. Однако примерные варианты осуществления не следует ограничивать этим примером. Наоборот, схема 428 управления может выполнять способ, показанный на фиг. 11, на основе измеренных емкости или импеданса фитиля 238. В одном примере схема 428 управления может измерять емкость фитиля 238, которую потом можно использовать вместо сопротивления в способе, показанном на фиг. 11. В другом примере схема 428 управления может измерять сопротивление и емкость фитиля 238, которые затем можно использовать для вычисления и/или определения импеданса фитиля 238. Затем импеданс фитиля 238 можно использовать вместо сопротивления в способе, показанном на фиг. 11. Более того, схема 428 управления может выполнять подобный способ на основе информации, полученной из примерных вариантов осуществления схемы насыщения в сборе, показанных на фиг. 8 и 9. Обращаясь к фиг. 11, на этапе 1000 схема 428 управления определяет, существуют ли условия для парения в электронном устройстве 10 для парения никотина. Согласно по меньшей мере одному примерному варианту осуществления схема 428 управления может определять, существуют ли условия для парения в электронном устройстве 10 для парения никотина, на основе выходных данных с датчика в сборе 424. В одном примере, если выходные данные с датчика в сборе 424 указывают на приложение отрицательного давления выше порогового значения на мундштуке 125 электронного устройства 10 для парения никотина, то схема 428 управления определяет, что в электронном устройстве 10 для парения никотина существуют условия для парения. Если схема 428 управления определяет, что условия для парения существуют, то на этапе 1100 схема 428 управления измеряет (или вызывает измерение схемой насыщения в сборе 700) сопротивление фитиля 238. Как упомянуто выше, хотя примерный вариант осуществления, показанный на фиг. 11, описан в отношении сопротивления, схема 428 управления может измерять и/или определять по меньшей мере одну электрическую характеристику фитиля 238, при этом по меньшей мере одна электрическая характеристика может включать сопротивление и/или емкость фитиля 238, или импеданс фитиля 238, который определяют на основе сопротивления и/или емкости. На этапе 1105 схема 428 управления определяет, является ли измеренное сопротивление фитиля 238 большим, чем первый порог (например, приблизительно 10 MОм), или равным ему. Если измеренное сопротивление фитиля 238 больше, чем первый порог, или равно ему, то на этапе 1110 схема 428 управления отключает электронное устройство 10 для парения никотина. В по меньшей мере одном примерном варианте осуществления отключение электронного устройства 10 для парения никотина может включать отключения функции парения путем перекрытия подачи питания на нагревательный элемент 236 или обеспечения выключения электронного устройства 10 для парения никотина (или перехода в состояние низкого энергопотребления). Затем процесс прекращается. Хотя это не показано, на этапе 1110 схема 428 управления может также вызывать свечение светового индикатора 436 активации нагрева определенным цветом, указывая на то, что фитиль 238 сухой и/или резервуар 232 для никотина исчерпан. Возвращаясь к этапу 1105, если схема 428 управления определяет, что измеренное сопротивление меньше, чем первый порог, то на этапе 1115 схема 428 управления определяет, превышает ли измеренное сопротивление второй порог (например, приблизительно 2 MОм). Если измеренное сопротивление выше второго порога (а значит составляет от приблизительно 10 МОм до приблизительно 2 MОм), то на этапе 1120 схема 428 управления генерирует и отображает предупреждение о низком уровне содержащего никотин готового состава для пара, например, свечением светового индикатора 436 активации нагрева. На этапе 1145 схема 428 управления определяет, по-прежнему ли существуют условия парения, тем же или по существу тем же образом, как описано выше относительно этапа 1000. Если условия парения все еще существуют, то процесс возвращается к этапу 1100 и продолжается, как описано здесь. Возвращаясь к этапу 1145, если условия парения больше не существуют (например, затяжка закончилась), то процесс прекращается. Возвращаясь к этапу 1115, если измеренное сопротивление меньше, чем второй порог, то на этапе 1117 схема 428 управления определяет, существуют ли все еще условия парения (закончилась ли текущая затяжка), тем же или по существу тем же образом, как описано выше относительно этапа 1000. Если условия парения больше не существуют, то на этапе 1130 схема 428 управления измеряет сопротивление фитиля 238 в то время, когда прекратились условия парения, и снова в конце порогового периода времени (например, 0,5, 1 или 2 секунды). На этапе 1135 схема 428 управления рассчитывает скорость пополнения или скорость потока на основе разницы между уровнем насыщения (указанным измерением сопротивления) в конце затяжки и уровнем насыщения (указанным измерением сопротивления) в конце порогового периода времени. В этом случае уровень насыщения может быть указан измеренным уровнем сопротивления R0 фитиля 238 в конце затяжки (первый момент времени) и измеренным уровнем сопротивления R1 фитиля 238 в конце порогового периода времени после окончания затяжки (второй момент времени). В одном примере схема 428 управления может вычислять скорость пополнения как изменение уровня сопротивления, разделенное на длину порогового периода времени В по меньшей мере одном другом примерном варианте осуществления схема 428 управления может рассчитывать скорость потока или пополнения посредством отслеживания сопротивления, емкости и/или импеданса фитиля 238 во время затяжки для определения минимального уровня насыщения (например, максимальной величины сопротивления или импеданса) и тогда, когда фитиль 238 повторно насыщается (достигает своего начального уровня сопротивления или импеданса). Затем схема 428 управления может вычислять скорость потока как величину повторного насыщения (разница между импедансом при исчерпании и повторном насыщении, которые могут быть указаны измерениями сопротивления) с течением времени между временем минимального уровня насыщения фитиля 238 и временем повторного насыщения фитиля 238. На этапе 1140 схема 428 управления сравнивает скорость пополнения, вычисленную на этапе 1135, с минимальным порогом скорости пополнения, чтобы определять, является ли скорость пополнения меньшей, чем минимальный порог скорости пополнения. По мере уменьшения количества содержащего никотин готового состава для пара в резервуаре 232 для никотина уменьшается и скорость пополнения для фитиля 238. Следовательно, схема 428 управления может определять, что содержащий никотин готовый состав для пара в резервуаре 232 для никотина заканчивается (падает ниже минимального порога), когда скорость пополнения для фитиля падает ниже минимального порогового уровня. Если схема 428 управления определяет, что скорость пополнения ниже минимального порога, на этапе 1140, то схема 428 управления определяет, что содержащий никотин готовый состав для пара в резервуаре 232 для никотина заканчивается (находится на низком уровне). Соответственно, процесс переходит к этапу 1120 и продолжается так, как описано здесь. Возвращаясь к этапу 1140, если скорость пополнения больше, чем минимальный порог скорости пополнения, то процесс возвращается к этапу 1100 и продолжается так, как описано здесь. Возвращаясь к этапу 1117, если схема 428 управления определяет, что условия парения все еще существуют, то схема 428 управления продолжает отслеживать выходные данные датчика в сборе 424 для определения того, когда условия парения прекратятся (затяжка закончилась). После исчезновения условий парения процесс переходит к этапу 1130 и продолжается так, как описано выше. Возвращаясь теперь к этапу 1000 на фиг. 11, если схема 428 управления определяет, что условий парения еще нет, то схема 428 управления продолжает отслеживать выходные данные датчика в сборе 424 на предмет условий парения. После обнаружения условий парения процесс переходит к этапу 1100 и продолжается так, как описано выше. Следует понимать, что, если элемент или слой обозначен как «расположенный на», «соединенный с», «связанный с» или «покрывающий» другой элемент или слой, он может быть непосредственно расположен на, соединен с, связан с или может покрывать другой элемент или слой, или могут присутствовать промежуточные элементы или слои. Наоборот, если элемент обозначен как «расположенный непосредственно на», «непосредственно соединенный с» или «непосредственно присоединенный к» другому элементу или слою, промежуточные элементы или слои отсутствуют. По всему описанию подобные номера относятся к подобным элементам. В контексте настоящего документа термин «и/или» включает любую и все комбинации из одного или более связанных перечисленных элементов. Следует понимать, что хотя термины «первый», «второй», «третий» или подобные могут быть использованы в настоящем документе для описания различных элементов, компонентов, областей, слоев и/или секций, эти элементы, компоненты, области, слои и/или секции не следует ограничивать этими терминами. Эти термины используются только для того, чтобы отличать одни элемент, компонент, область, слой или секцию от других области, слоя или секции. Следовательно, первые элемент, компонент, область, слой или секция, описанные ниже, могли бы именоваться вторыми элементом, компонентом, областью, слоем или секцией без отступления от идей представленных для примера вариантов осуществления. Термины относительного пространственного расположения (например, «ниже», «под», «нижний», «над», «верхний» и т. п.) могут быть использованы в настоящем документе с целью упрощения описания для раскрытия связи одного элемента или признака с другим элементом или признаком, как изображено на фигурах. Следует понимать, что термины относительного пространственного расположения предназначены для охвата разных ориентаций устройства во время использования или работы в дополнение к ориентации, представленной на фигурах. Например, если устройство на фигурах перевернуто, элементы, описанные как расположенные «под» другими элементами или деталями или «ниже» них, тогда будут ориентированными «над» другими элементами или деталями. Следовательно, предлог «под» может подразумевать расположение как выше, так и ниже. Устройство может быть ориентировано иначе (повернуто на 90 градусов или в других ориентациях), и слова, используемые в настоящем документе для определения относительного пространственного расположения, будут интерпретироваться соответственно. Терминология, используемая в настоящем документе, предназначена лишь для описания различных примерных вариантов осуществления и не предназначена для ограничения примерных вариантов осуществления. В контексте настоящего документа предполагается, что использование форм единственного числа не исключает также форм множественного числа, если контекст явно не указывает на иное. Также будет понятно, что термины «включает», «включающий», «содержит» и/или «содержащий» при их использовании в настоящем описании указывают на наличие указанных признаков, целых чисел, этапов, операций, элементов и/или компонентов, но не исключают наличия или добавления одного или более других признаков, целых чисел, этапов, операций, элементов, компонентов и/или их групп. Примерные варианты осуществления описаны в настоящем документе со ссылкой на изображения в разрезе, которые являются схематичными изображениями идеализированных вариантов осуществления (и промежуточных структур) примерных вариантов осуществления. По существу, следует ожидать изменения форм изображений в результате изменения, например, технологий изготовления и/или допусков. Следовательно, примерные варианты осуществления не следует рассматривать как ограниченные формами областей, изображенных в настоящем документе, но необходимо включать отклонения по форме, которые обусловлены, например, процессом изготовления. Если не определено иное, все термины (включая технические и научные термины), используемые в данном документе, имеют те же значения, в которых их обычно понимает специалист в данной области техники, к которой относятся примерные варианты осуществления. Также будет понятно, что термины, включая те, которые определены в общепринятых словарях, следует интерпретировать как имеющие значение, которое соответствует их значению в контексте соответствующей области техники, и нельзя интерпретировать в идеализированном или чрезмерно формальном смысле, если это явно не определено в настоящем документе. Содержащий никотин готовый состав для пара содержит никотин. В одном примерном варианте осуществления в содержащий никотин готовый состав для пара включено ароматизирующее вещество (по меньшей мере один ароматизатор). В примерном варианте осуществления содержащий никотин готовый состав для пара представляет собой жидкий, твердый и/или гелеобразный состав, включающий, но без ограничения, воду, гранулы, растворители, активные ингредиенты, этанол, растительные экстракты, натуральные или искусственные ароматизирующие добавки и/или по меньшей мере одно вещество для образования пара никотина, такое как глицерин и пропиленгликоль. В примерном варианте осуществления по меньшей мере одно вещество для образования пара никотина содержащего никотин готового состава для пара содержит диолы (такие как пропиленгликоль и/или 1, 3-пропандиол), глицерин и их комбинации или подкомбинации. Могут использоваться разные количества вещества для образования пара никотина. Например, в некоторых примерных вариантах осуществления по меньшей мере одно вещество для образования пара никотина включено в количестве, находящемся в диапазоне от приблизительно 20 процентов по весу от веса содержащего никотин готового состава для пара до приблизительно 90 процентов по весу от веса содержащего никотин готового состава для пара (например, количество вещества для образования пара никотина находится в диапазоне от приблизительно 50 процентов до приблизительно 80 процентов, или от приблизительно 55 процентов до 75 процентов, или от приблизительно 60 процентов до 70 процентов) и т. п. В качестве другого примера в одном примерном варианте осуществления содержащий никотин готовый состав для пара характеризуется весовым отношением диола к глицерину, которое находится в диапазоне от приблизительно 1:4 до 4:1, при этом диол представляет собой пропиленгликоль, или 1,3-пропандиол, или их комбинации. В одном примерном варианте осуществления это отношение составляет приблизительно 3:2. Могут использоваться другие количества или диапазоны. В одном примерном варианте осуществления содержащий никотин готовый состав для пара содержит воду. Могут использоваться разные количества воды. Например, в некоторых примерных вариантах осуществления вода может быть включена в количестве в диапазоне от приблизительно 5 процентов по весу от веса содержащего никотин готового состава для пара до приблизительно 40 процентов по весу от веса содержащего никотин готового состава для пара или в количестве, находящемся в диапазоне от приблизительно 10 процентов по весу от веса содержащего никотин готового состава для пара до приблизительно 15 процентов по весу от веса содержащего никотин готового состава для пара. Могут использоваться другие количества или процентные соотношения. Например, в примерном варианте осуществления оставшаяся часть содержащего никотин готового состава для пара, которая не является водой (а также никотином и/или ароматизаторами), представляет собой вещество для образования пара никотина (описанное выше), при этом количество вещества для образования пара никотина составляет от 30 процентов по весу до 70 процентов по весу пропиленгликоля, а остаток вещества для образования пара никотина представляет собой глицерин. Могут использоваться другие количества или процентные соотношения. В одном примерном варианте осуществления содержащий никотин готовый состав для пара содержит по меньшей мере один ароматизатор в количестве, находящемся в диапазоне от приблизительно 0,2 процента до приблизительно 15 процентов по весу (например, количество ароматизатора может находиться в диапазоне от приблизительно 1 процента до 12 процентов, или от приблизительно 2 процентов до 10 процентов, или от приблизительно 5 процентов до 8 процентов). В одном примерном варианте осуществления по меньшей мере один ароматизатор может быть по меньшей мере одним из натурального ароматизатора, искусственного ароматизатора или комбинации натурального ароматизатора и искусственного ароматизатора. Например, по меньшей мере один ароматизатор может содержать ментол и т. п. В одном примерном варианте осуществления содержащий никотин готовый состав для пара содержит никотин в количестве, находящемся в диапазоне от приблизительно 1 процента по весу до приблизительно 10 процентов по весу. Например, количество никотина находится в диапазоне от приблизительно 2 процентов до 9 процентов, или от приблизительно 2 процентов до 8 процентов, или от приблизительно 2 процентов до 6 процентов. В одном примерном варианте осуществления часть содержащего никотин готового состава для пара, который не является никотином и/или ароматизатором, содержит 10-15 процентов по весу воды, при этом оставшаяся часть содержащего никотин готового состава для пара представляет собой смесь пропиленгликоля и вещества для образования пара никотина, при этом смесь характеризуется отношением, находящимся в диапазоне от приблизительно 60:40 до 40:60 по весу. Могут использоваться другие комбинации, количества или диапазоны. В этом документе были раскрыты примерные варианты осуществления, и следует понимать, что могут быть возможны другие варианты. Такие варианты не должны считаться отступлением от объема настоящего изобретения, и подразумевается, что все такие модификации, которые будут очевидны специалисту в данной области техники, должны быть включены в объем следующей формулы изобретения.
). В другом примере, в котором используют импеданс, скорость пополнения можно вычислять как изменение уровня импеданса, разделенное на длину порогового периода времени; то есть (
), где