Изобретение относится к микрофлюидному картриджу для повышенной амплификации полинуклеотидсодержащих проб. Техническим результатом является улучшение термической однородности и эффективности амплификации в картридже, анализы демонстрируют улучшенный предел детектирования и улучшенный предел количественного определения. Технический результат достигается микрофлюидным картриджем, имеющим лицевую сторону и противоположную обратную сторону. Картридж содержит первую камеру для амплификации, вторую камеру для амплификации, первое впускное отверстие, расположенное на лицевой стороне и сообщающееся по текучей среде с первой камерой для амплификации, второе впускное отверстие, расположенное на лицевой стороне и сообщающееся по текучей среде со второй камерой для амплификации, и сжимаемую контактную площадку, приклеенную к лицевой стороне. Причем сжимаемая контактная площадка выполнена с возможностью обеспечения более равномерного контакта между микрофлюидным картриджем и множеством контактных источников тепла, тем самым обеспечивая более полную и последовательную передачу тепла к первой камере для амплификации и второй камере для амплификации от множества контактных источников тепла, находящихся в контакте с обратной стороной микрофлюидного картриджа. Причем сжимаемая контактная площадка включает первое окно над первой камерой для амплификации и второе окно над второй камерой для амплификации. Причем первое окно и второе окно выполнены с возможностью пропускания света через лицевую сторону микрофлюидного картриджа в первую камеру для амплификации и вторую камеру для амплификации и из них соответственно. 3 н. и 19 з.п. ф-лы, 56 ил., 1 табл.
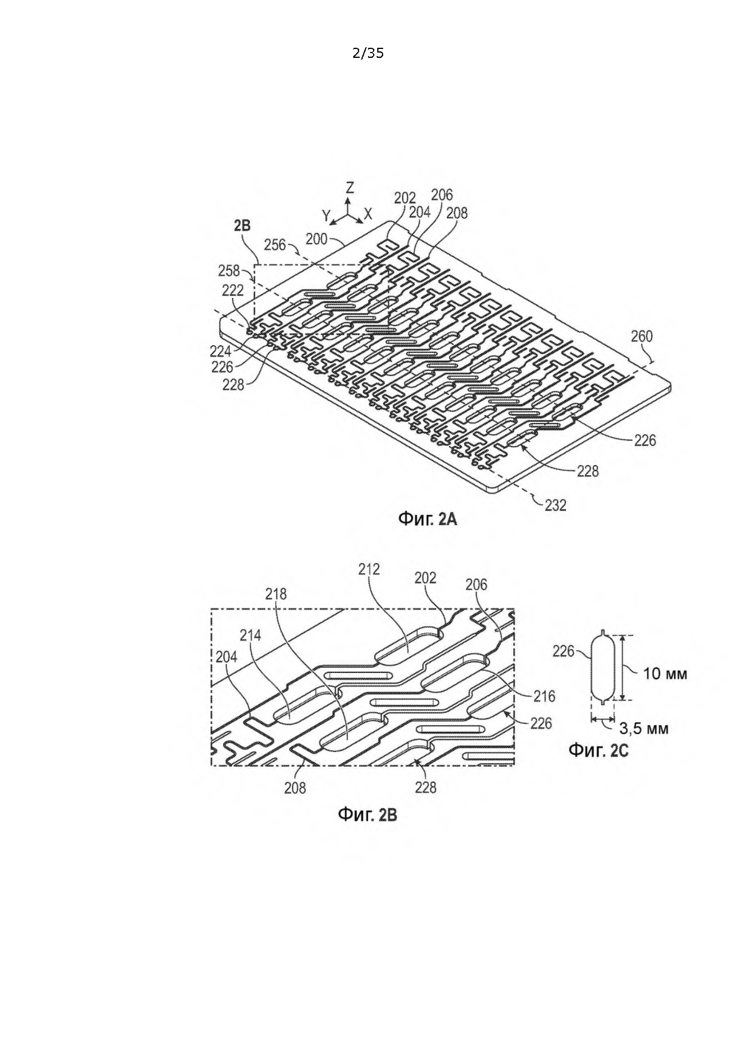
1. Микрофлюидный картридж, содержащий первую сторону и противоположную вторую сторону, содержащий: первую камеру для амплификации; вторую камеру для амплификации; первое впускное отверстие, расположенное на первой стороне и сообщающееся по текучей среде с первой камерой для амплификации; второе впускное отверстие, расположенное на первой стороне и сообщающееся по текучей среде со второй камерой для амплификации; и сжимаемую контактную площадку, приклеенную к первой стороне, причем сжимаемая контактная площадка выполнена с возможностью обеспечения более равномерного контакта между микрофлюидным картриджем и множеством контактных источников тепла, тем самым обеспечивая более полную и последовательную передачу тепла к первой камере для амплификации и второй камере для амплификации от множества контактных источников тепла, находящихся в контакте со второй стороной микрофлюидного картриджа, причем сжимаемая контактная площадка включает первое окно над первой камерой для амплификации и второе окно над второй камерой для амплификации, причем первое окно и второе окно выполнены с возможностью пропускания света через первую сторону микрофлюидного картриджа в первую камеру для амплификации и вторую камеру для амплификации и из них соответственно. 2. Микрофлюидный картридж по п. 1, в котором объем первой камеры для амплификации и второй камеры для амплификации составляет около 25 мкл. 3. Микрофлюидный картридж по п. 1, в котором первая камера для амплификации и вторая камера для амплификации имеют ширину около 3,5 мм, глубину около 0,83 мм и длину около 10 мм. 4. Микрофлюидный картридж по п. 1, в котором микрофлюидный картридж содержит метку над сжимаемой контактной площадкой. 5. Микрофлюидный картридж по п. 1, в котором первая камера для амплификации, вторая камера для амплификации, первое впускное отверстие и второе впускное отверстие образованы в жестком слое подложки, и в котором вторая сторона микрофлюидного картриджа содержит гибкий слой ламината под первой камерой для амплификации и второй камерой для амплификации. 6. Микрофлюидный картридж по п. 1, в котором сжимаемая контактная площадка содержит материал с изгибом под действием силы сжатия менее 30 psi (207 кПа). 7. Микрофлюидный картридж по п. 1, в котором сжимаемая контактная площадка содержит материал с изгибом под действием силы сжатия менее 20 psi (138 кПа). 8. Микрофлюидный картридж по п. 1, в котором сжимаемая контактная площадка улучшает распределение давления от компонента диагностического устройства. 9. Микрофлюидный картридж по п. 1, в котором приложение давления к сжимаемой контактной площадке предназначено для повышения равномерности подачи тепла от множества контактных источников тепла к первой камере для амплификации и второй камере для амплификации. 10. Микрофлюидный картридж по п. 1, в котором сжимаемая контактная площадка повышает равномерность подачи тепла к первой камере для амплификации и второй камере для амплификации. 11. Микрофлюидный картридж по п. 1, в котором сжимаемая контактная площадка улучшает ПЦР-амплификацию, основанную на быстром изменении температуры. 12. Способ амплификации на множестве поли нуклеотид-содержащих проб, включающий: введение множества проб в микрофлюидный картридж, при этом микрофлюидный картридж содержит множество камер для амплификации, выполненных с возможностью термоциклирования множества проб независимо друг от друга, причем микрофлюидный картридж содержит первую сторону и противоположную вторую сторону, и множество камер для амплификации, включающее первую камеру для амплификации и вторую камеру для амплификации; перемещение множества проб в соответствующее множество камер для амплификации; амплификацию полинуклеотидов, содержащихся во множестве проб, путем применения последовательных циклов нагревания и охлаждения к камерам для амплификации; и сжатие сжимаемой контактной площадки микрофлюидного картриджа во время амплификации, причем сжимаемая контактная площадка приклеена к первой стороне, причем сжимаемая контактная площадка выполнена с возможностью обеспечения более равномерного контакта между микрофлюидным картриджем и множеством контактных источников тепла, тем самым обеспечивая более полную и последовательную передачу тепла к первой камере для амплификации и второй камере для амплификации от множества контактных источников тепла, находящихся в контакте со второй стороной микрофлюидного картриджа, причем сжимаемая контактная площадка включает первое окно над первой камерой для амплификации и второе окно над второй камерой для амплификации, причем первое окно и второе окно выполнены с возможностью пропускания света через первую сторону микрофлюидного картриджа в первую камеру для амплификации и вторую камеру для амплификации и из них соответственно. 13. Способ по п. 12, дополнительно включающий приложение давления к сжимаемой контактной площадке для увеличения контакта между микрофлюидным картриджем и подложкой, содержащей множество контактных источников тепла. 14. Способ по п. 12, дополнительно включающий приложение давления к сжимаемой контактной площадке для повышения термической однородности. 15. Способ по п. 12, дополнительно включающий приложение давления к сжимаемой контактной площадке для усиления амплификации множества полинуклеотид-содержащих проб. 16. Автоматизированная тест-система для молекулярной диагностики, содержащая микрофлюидный картридж, содержащий: первую сторону и противоположную вторую сторону; первую реакционную ПЦР-камеру; вторую реакционную ПЦР-камеру; первое впускное отверстие, сообщающееся по текучей среде с первой реакционной ПЦР-камерой; второе впускное отверстие, сообщающееся по текучей среде со второй реакционной ПЦР-камерой; и сжимаемую контактную площадку, приклеенную к первой стороне, в которой микрофлюидный картридж выполнен с возможностью применения с устройством, включающим: секцию, выполненную с возможностью приема микрофлюидного картриджа; по меньшей мере один источник тепла, термически связанный с микрофлюидным картриджем и выполненный с возможностью применения циклов нагрева, которые обеспечивают проведение ПЦР в одной или более полинуклеотид-содержащих пробах в картридже; детектор, выполненный с возможностью детектирования присутствия одного или более полинуклеотидов в одной или более пробах; и процессор, соединенный с источником тепла и выполненный с возможностью управления нагревом одной или более областей микрофлюидного картриджа, причем сжимаемая контактная площадка выполнена с возможностью обеспечения более равномерного контакта между микрофлюидным картриджем и по меньшей мере одним источником тепла, тем самым обеспечивая более полную и последовательную передачу тепла к первой камере для амплификации и второй камере для амплификации от по меньшей мере одного источника тепла, находящегося в тепловом контакте со второй стороной микрофлюидного картриджа, причем сжимаемая контактная площадка включает первое окно над первой камерой для амплификации и второе окно над второй камерой для амплификации, причем первое окно и второе окно выполнены с возможностью пропускания света через первую сторону микрофлюидного картриджа в первую камеру для амплификации и вторую камеру для амплификации и из них соответственно. 17. Система по п. 16, в которой сжимаемая контактная площадка выполнена с возможностью улучшения контакта между секцией и микрофлюидным картриджем. 18. Система по п. 16, в которой сжимаемая контактная площадка выполнена с возможностью улучшения контакта между по меньшей мере одним источником тепла и микрофлюидным картриджем. 19. Система по п. 16, в которой сжимаемая контактная площадка выполнена с возможностью сжатия детектором, который во время детектирования расположен над микрофлюидным картриджем. 20. Система по п. 16, в которой детектор выполнен с возможностью перемещаться вниз и вступать в физический контакт с микрофлюидным картриджем для сжатия сжимаемой контактной площадки. 21. Система по п. 16, в которой микрофлюидный картридж выполнен с возможностью перемещения вверх и установления физического контакта с детектором для сжатия сжимаемой контактной площадки. 22. Система по п. 16, в которой сжимаемая контактная площадка выполнена с возможностью сжатия другим компонентом устройства, который оказывает давление на микрофлюидный картридж.
ПЕРЕКРЕСТНАЯ ССЫЛКА НА РОДСТВЕННЫЕ ЗАЯВКИ [0001] Настоящая заявка испрашивает приоритет на основании предварительной заявки на патент США №62/909628, поданной 2 октября 2019 г., которая полностью включена в настоящую заявку посредством ссылки. УРОВЕНЬ ТЕХНИКИ Область техники [0002] Описанная в настоящем документе технология в целом относится к микрофлюидным картриджам. В одном аспекте технология, в частности, относится к сжимаемой контактной площадке, накладываемой на микрофлюидный картридж, при этом микрофлюидный картридж выполнен с возможностью приема и амплификации исследуемых нуклеотидов. В другом аспекте технология относится к микрофлюидному картриджу с реакционными камерами, выполненными с возможностью приема и амплификации больших объемов жидкого элюата из анализируемых проб. Описанные в настоящем документе варианты осуществления картриджей способны амплифицировать исследуемые нуклеотиды из нескольких биологических проб параллельно внутри микрофлюидных каналов в картридже и обеспечивать детектирование этих нуклеотидов. Описание предшествующего уровня техники [0003] Чувствительность анализов в молекулярно-диагностических тестах зависит от нескольких факторов. Эти факторы включают эффективность экстракции при обработке образцов для получения готовых к амплификации проб, эффективность амплификации проб и, среди прочих факторов, термическую однородность, достигаемую в реакционном объеме в процессе амплификации. Увеличение размеров реакционного объема способствует повышению эффективности амплификации, что приводит к улучшению предела детектирования (LOD) и предела количественного определения (LOQ). Улучшение равномерности и распределения теплового контакта между реакционным объемом и источником тепла способствует улучшению термической однородности. [0004] Один рассматриваемый вариант осуществления микрофлюидного картриджа содержит реакционные камеры с реакционным объемом около 4 мкл. Реакционные камеры с такими малыми реакционными объемами обуславливают наличие у картриджа ряда значительных преимуществ. Однако по мере уменьшения объема реакционной камеры могут возникнуть проблемы, связанные с достижением желаемой аналитической чувствительности. В то же время, по мере увеличения объема реакционной камеры для повышения эффективности амплификации и преодоления ограничений направленной доставки могут возникнуть проблемы, связанные с достижением термической однородности. Таким образом, существует потребность в микрофлюидных картриджах, которые решают данные задачи и обеспечивают как улучшенную эффективность амплификации, так и термическую однородность, что приводит к анализам с улучшенным пределом детектирования (LOD) и улучшенным пределом количественного определения (LOQ). [0005] Обсуждение уровня техники настоящей технологии в настоящем описании включено для объяснения контекста настоящей технологии. Не следует воспринимать это как признание того, что какие-либо материалы, на которые делается ссылка, были опубликованы, известны или являются частью общедоступных сведений по состоянию на дату приоритета в отношении любого из пунктов формулы изобретения. [0006] На протяжении всего описания изобретения и формулы изобретения термин «содержать» и его варианты, такие как «содержащий» и «содержит», не предназначены для исключения других добавок, компонентов, целых чисел или стадий. КРАТКОЕ ОПИСАНИЕ СУЩНОСТИ ИЗОБРЕТЕНИЯ [0007] Настоящая технология включает способы и устройства для улучшения распределения давления в микрофлюидном устройстве, повышения термической однородности внутри микрофлюидного устройства и улучшения параметров амплификации, выполняемой в микрофлюидном устройстве. Варианты осуществления настоящей технологии улучшают характеристики микрофлюидных устройств, которые амплифицируют исследуемые нуклеотиды в микрофлюидных каналах. Настоящая технология включает способы и устройства для улучшения детектирования этих нуклеотидов. [0008] Микрофлюидные устройства по настоящей технологии могут взаимодействовать с нагревательным узлом, который подает тепло на множество камер в микрофлюидном устройстве, где происходит амплификация. Нагревательный узел может включать в себя набор нагревателей, выполненных с возможностью контакта с микрофлюидным устройством. В некоторых случаях нагревательный узел прижимают к микрофлюидному устройству, чтобы обеспечить тепловой контакт набора нагревателей с микрофлюидным устройством. В других случаях микрофлюидное устройство прижато к нагревательному узлу, чтобы обеспечить тепловой контакт набора нагревателей с микрофлюидным устройством. Варианты осуществления микрофлюидных устройств в соответствии с настоящей технологией могут включать в себя сжимаемую контактную площадку, которая улучшает распределение давления, прикладываемого к микрофлюидному устройству, и повышает равномерность подачи тепла к микрофлюидному устройству. Сжимаемые контактные площадки по настоящей технологии могут повышать однородность давления, прикладываемого к микрофлюидному устройству, что приводит к снижению тепловых потерь и повышению согласованности и эффективности амплификации, происходящей во множестве камер микрофлюидного устройства. [0009] Микрофлюидные устройства по настоящей технологии также могут обеспечивать повышенную чувствительность анализа за счет увеличения объема камеры для амплификации с объема около 4 мкл до объема около 25 мкл, при этом достигается оптимальная термическая однородность по всей камере во время процесса амплификации. В камеры для амплификации большего объема в соответствии с настоящей технологией можно подавать больший объем жидкого элюата, содержащего целевые анализируемые ДНК/РНК, экстрагированные из образца, за счет чего повышается чувствительность анализа. В некоторых случаях в микрофлюидных устройствах по настоящей технологии достигают шестикратного увеличения объема реакционной камеры по сравнению с существующими микрофлюидными устройствами. Когда данные реакционные камеры большего объема в соответствии с настоящей технологией сочетают с улучшенным распределением давления и термической однородностью, связанными со сжимаемыми контактными площадками в соответствии с настоящей технологией, эффективность анализа повышается, что измеряется улучшенным пределом детектирования (LOD) и пределом количественного определения (LOQ). [0010] Варианты осуществления усовершенствованных микрофлюидных устройств включают микрофлюидный картридж. Микрофлюидный картридж может включать в себя первую реакционную ПЦР-камеру. Микрофлюидный картридж может включать в себя вторую реакционную ПЦР-камеру. Микрофлюидный картридж может включать в себя первое впускное отверстие, сообщающееся по текучей среде с первой реакционной ПЦР-камерой. Микрофлюидный картридж может включать в себя второе впускное отверстие, сообщающееся по текучей среде со второй реакционной ПЦР-камерой. Микрофлюидный картридж может включать в себя сжимаемую контактную площадку, выполненную с возможностью увеличения согласованности между микрофлюидным картриджем и нагревателем. [0011] В некоторых вариантах осуществления изобретения предусмотрен микрофлюидный картридж, содержащий первую сторону и противоположную вторую сторону. Микрофлюидный картридж может включать в себя первую камеру для амплификации. Микрофлюидный картридж может включать в себя вторую камеру для амплификации. Микрофлюидный картридж может включать в себя первое впускное отверстие, расположенное на первой стороне и сообщающееся по текучей среде с первой камерой для амплификации. Микрофлюидный картридж может включать в себя второе впускное отверстие, расположенное на первой стороне и сообщающееся по текучей среде со второй камерой для амплификации. Микрофлюидный картридж может включать в себя сжимаемую контактную площадку, расположенную на первой стороне. В некоторых вариантах осуществления изобретения сжимаемая контактная площадка выполнена с возможностью обеспечения более полной и последовательной передачи тепла к первой камере для амплификации и второй камере для амплификации от множества контактных источников тепла, находящихся в контакте со второй стороной микрофлюидного картриджа. В некоторых вариантах осуществления изобретения сжимаемая контактная площадка включает первое окно над первой камерой для амплификации и второе окно над второй камерой для амплификации. В некоторых вариантах осуществления изобретения первое окно и второе окно выполнены с возможностью пропускания света через первую сторону микрофлюидного картриджа в первую камеру для амплификации и вторую камеру для амплификации и из них соответственно. [0012] В некоторых вариантах осуществления изобретения первая камера для амплификации и вторая камера для амплификации имеют объем около 25 мкл. В некоторых вариантах осуществления изобретения первая камера для амплификации и вторая камера для амплификации имеют ширину около 3,5 мм, глубину около 0,83 мм и длину около 10 мм. В некоторых вариантах осуществления изобретения микрофлюидный картридж содержит метку над сжимаемой контактной площадкой. В некоторых вариантах осуществления изобретения первая реакционная камера для амплификации, вторая реакционная камера для амплификации, первое впускное отверстие и второе впускное отверстие образованы в жестком слое подложки. В некоторых вариантах осуществления изобретения вторая сторона микрофлюидного картриджа содержит слой гибкого ламината под первой камерой для амплификации и второй камерой для амплификации. В некоторых вариантах осуществления изобретения сжимаемая контактная площадка содержит материал с изгибом под действием силы сжатия менее 30 psi (207 кПа). В некоторых вариантах осуществления изобретения сжимаемая контактная площадка содержит материал с изгибом под действием силы сжатия менее 20 psi (138 кПа). В некоторых вариантах осуществления изобретения сжимаемая контактная площадка улучшает распределение давления от компонента диагностического устройства. В некоторых вариантах осуществления изобретения приложение давления к сжимаемой контактной площадке предназначено для повышения равномерности подачи тепла от множества контактных источников тепла к первой камере для амплификации и второй камере для амплификации. В некоторых вариантах осуществления изобретения сжимаемая контактная площадка повышает равномерность подачи тепла к первой камере для амплификации и второй камере для амплификации. В некоторых вариантах осуществления изобретения сжимаемая контактная площадка усиливает ПЦР-амплификацию, основанную на быстром изменении температуры. [0013] В некоторых вариантах осуществления изобретения предложен способ амплификации на множестве полинуклеотид-содержащих проб. Способ может включать в себя введение множества проб в микрофлюидный картридж, при этом картридж содержит множество камер для амплификации, выполненных с возможностью термоциклирования множества проб независимо друг от друга. Способ может включать в себя перемещение множества проб в соответствующее множество камер для амплификации. Способ может включать в себя амплификацию полинуклеотидов, содержащихся во множестве проб, посредством применения последовательных циклов нагревания и охлаждения к камерам для амплификации. Способ может включать в себя сжатие контактной площадки микрофлюидного картриджа во время амплификации. В некоторых вариантах осуществления изобретения способ может включать в себя приложение давления к сжимаемой контактной площадке для увеличения контакта между микрофлюидным картриджем и подложкой, содержащей один или более нагревателей. В некоторых вариантах осуществления изобретения способ может включать в себя приложение давления к сжимаемой контактной площадке для повышения термической однородности. В некоторых вариантах осуществления изобретения способ может включать в себя приложение давления к сжимаемой контактной площадке для усиления амплификации множества полинуклеотид-содержащих проб. [0014] В некоторых вариантах осуществления изобретения предложена система. Система может включать в себя микрофлюидную подложку. Микрофлюидная подложка может включать в себя первую реакционную ПЦР-камеру. Микрофлюидная подложка может включать в себя вторую реакционную ПЦР-камеру. Микрофлюидная подложка может содержать первое впускное отверстие, сообщающееся по текучей среде с первой реакционной ПЦР-камерой. Микрофлюидная подложка может содержать второе впускное отверстие, сообщающееся по текучей среде со второй реакционной ПЦР-камерой. Микрофлюидная подложка может включать в себя сжимаемую контактную площадку. В некоторых вариантах осуществления изобретения микрофлюидный картридж выполнен с возможностью применения с устройством. Устройство может включать в себя в себя секцию, выполненную с возможностью приема микрофлюидного картриджа. Устройство может включать в себя по меньшей мере один источник тепла, термически связанный с картриджем и выполненный с возможностью применения циклов нагрева, которые обеспечивают проведение ПЦР (полимеразной цепной реакции) на одной или более полинуклеотид-содержащих пробах в картридже. Устройство может включать в себя детектор, выполненный с возможностью детектирования присутствия одного или более полинуклеотидов в одной или более пробах. Устройство может включать в себя процессор, соединенный с источником тепла и выполненный с возможностью управления нагревом одной или более областей микрофлюидного картриджа. [0015] В некоторых вариантах осуществления изобретения сжимаемая контактная площадка выполнена с возможностью улучшения контакта между секцией и микрофлюидным картриджем. В некоторых вариантах осуществления изобретения сжимаемая контактная площадка предназначена для улучшения контакта между по меньшей мере одним источником тепла и картриджем. В некоторых вариантах осуществления изобретения сжимаемая контактная площадка выполнена с возможностью сжатия детектором, который во время детектирования расположен над картриджем. В некоторых вариантах осуществления изобретения детектор выполнен с возможностью перемещения вниз и установления физического контакта с картриджем для сжатия сжимаемой контактной площадки. В некоторых вариантах осуществления изобретения картридж выполнен с возможностью перемещения вверх и установления физического контакта с детектором для сжатия сжимаемой контактной площадки. В некоторых вариантах осуществления изобретения сжимаемая контактная площадка выполнена с возможностью сжатия другим компонентом устройства, который оказывает давление на картридж. [0016] Подробности одного или более вариантов осуществления технологии изложены в прилагаемых чертежах и далее в описании изобретения. Другие характеристики, объекты и преимущества технологии будут понятны из описания и графических материалов, а также из формулы изобретения. КРАТКОЕ ОПИСАНИЕ ЧЕРТЕЖЕЙ [0017] На Фиг. 1А показан вид сверху примера многорядного микрофлюидного картриджа; [0018] На Фиг. 1В показан вид крупным планом части картриджа, продемонстрированного на Фиг. 1А, иллюстрирующий реакционные камеры; [0019] На Фиг. 2А показан вид сверху другого примера многорядного картриджа с реакционными камерами, имеющими улучшенные характеристики; [0020] На Фиг. 2В показан вид крупным планом части картриджа, продемонстрированного на Фиг. 2А, иллюстрирующий реакционные камеры; [0021] На Фиг. 2С показан пример реакционной камеры картриджа, продемонстрированного на Фиг. 2А. [0022] На Фиг. 2D показан вид еще одного примера многорядного микрофлюидного картриджа с реакционными камерами переменного объема. [0023] На Фиг. 3А показан вид конструкции слоя в разрезе дополнительного примера картриджа, включающего в себя сжимаемую контактную площадку; [0024] Фиг. 3В представляет собой картридж в разобранном виде, показанный на Фиг. 3А; [0025] На Фиг. 4 показана сжимаемая контактная площадка картриджа, продемонстрированного на Фиг. 3А; [0026] На Фиг. 5 А показан пример нагревательного модуля приемной секции; [0027] На Фиг. 5B-5D показан пример системы с двумя приемными секциями; [0028] На Фиг. 6 показан оптический детектор; [0029] На Фиг. 7А-7С показаны результаты количественного анализа исследуемого аналита без сжимаемой контактной площадки; [0030] На Фиг. 8A-8D показаны результаты количественного анализа исследуемого аналита с силиконовой сжимаемой контактной площадкой с низкой твердостью; [0031] На Фиг. 9A-9D показаны результаты количественного анализа исследуемого аналита с помощью сжимаемой контактной площадки из пеноматериала типа PORON®. [0032] На Фиг. 10-37 показаны виды еще одного дополнительного примера многорядного картриджа с реакционными камерами, имеющими улучшенные характеристики. [0033] На Фиг. 38А-38В показаны аспекты примера набора нагревателей и тонкой структуры нагревательного элемента нагревательного устройства, выполненного с возможностью подвода тепла к микрофлюидному картриджу. ПОДРОБНОЕ ОПИСАНИЕ СУЩНОСТИ ИЗОБРЕТЕНИЯ [0034] Настоящая технология относится к микрофлюидному устройству, выполненному с возможностью проведения амплификации, например, с помощью ПЦР (полимеразной цепной реакции), одного или более полинуклеотидов из одной или более проб. Если специально не указано иное, в случае использования в настоящем описании термина ПЦР подразумевают, что он охватывает любой вариант ПЦР, включая, но не ограничиваясь ими, ПЦР в реальном времени или количественную ПЦР и любую другую форму амплификации полинуклеотидов. [0035] Микрофлюидный картридж может быть выполнен таким образом, что он получает тепловую энергию от одного или более нагревательных элементов, присутствующих во внешнем устройстве, с которым картридж находится в тепловом контакте. Такое иллюстративное устройство дополнительно указано в настоящем описании; дополнительные варианты осуществления такого устройства описаны в заявке на патент США №11/985577, озаглавленной «Микрофлюидная система для параллельной амплификации и детектирования полинуклеотидов», поданной 14 ноября 2007 г., описание которой полностью включено в настоящую заявку посредством ссылки. Согласно настоящей технологии предложено устройство для детектирования полинуклеотидов в пробах, в частности, в биологических пробах. Технология, в частности, относится к микрофлюидным системам, которые обеспечивают проведение ПЦР исследуемых нуклеотидов в микрофлюидных каналах и детектируют данные нуклеотиды. Устройство включает в себя микрофлюидный картридж, выполненный с возможностью приема множества проб и позволяющий проводить ПЦР в каждой пробе по отдельности, либо в группе проб, либо во всем множестве проб одновременно. Заявка на патент США №11/940315, озаглавленная «Нагревательный блок для микрофлюидной диагностической системы», поданная 14 ноября 2007 г., включена в настоящую заявку посредством ссылки. Заявка на патент США №11/940310, озаглавленная «Микрофлюидный картридж и способ его применения» и поданная 14 ноября 2007 г., включена в настоящую заявку посредством ссылки. Согласно настоящей технологии предложена микрофлюидная подложка, выполненная с возможностью проведения ПЦР параллельно в нескольких пробах, содержащих полинуклеотиды. Подложка может представлять собой однослойную подложку в микрофлюидном картридже. Также предложен способ получения микрофлюидного картриджа, содержащего такую подложку. Заявка на патент США №11/728964, озаглавленная «Интегрированная система для обработки микрофлюидных проб и способы ее применения», поданная 26 марта 2007 г., включена в настоящую заявку посредством ссылки. Согласно настоящей технологии предложено интегрированное устройство для обработки полинуклеотид-содержащих проб и для получения по ним результата диагностики. [0036] Под «картриджем» понимают блок, который может быть одноразовым или многоразовым, полностью или частично, и который выполнен с возможностью применения в сочетании с каким-либо другим устройством, которое было соответствующим образом и дополнительно выполнено с возможностью приема и работы (например, подачи энергии) картриджа. [0037] Под «микрофлюидным» в контексте настоящего описания понимают объем пробы, и/или реагента, и/или амплифицированного полинуклеотида от около 0,1 мкл до около 999 мкл, например, 1-100 мкл или 1-50 мкл. В некоторых вариантах осуществления изобретения объем составляет от 0 до 10 мкл для лунок меньшего размера и от 10 до 30 мкл для более широких и глубоких лунок, как указано в настоящем описании. Аналогичным образом, применительно к картриджу термин «микрофлюидный» означает, что различные компоненты и каналы картриджа, как дополнительно указано в настоящем описании, выполнены с возможностью приема, и/или удержания, и/или облегчения прохождения микрофлюидных объемов пробы, реагента или амплифицированного полинуклеотида. Некоторые варианты осуществления изобретения в настоящем описании также могут работать с объемами в нанолитрах (в диапазоне 10-500 нанолитров, например, 100 нанолитров). [0038] Один аспект настоящей технологии относится к микрофлюидному картриджу, имеющему две или более дорожки для проб, упорядоченные таким образом, что анализы можно проводить на двух или более дорожках параллельно, например, одновременно, и где каждая дорожка независимо связана с заданной пробой (далее в настоящем описании именуемая «дорожка для проб»). [0039] Дорожка для проб представляет собой независимо управляемый набор элементов, с помощью которых можно анализировать пробу в соответствии с указанными в настоящем описании способами, а также другими способами, известными в данной области техники. Дорожка для проб включает в себя по меньшей мере впускное отверстие для пробы и микрофлюидную сеть, содержащую один или более микрофлюидных компонентов, как дополнительно указано в настоящем описании. [0040] Картридж может включать в себя множество микрофлюидных сетей, каждая из которых имеет различные компоненты, и каждая сеть выполнена с возможностью проведения ПЦР в пробе, в которой необходимо определить наличие или отсутствие одного или более полинуклеотидов. [0041] Варианты осуществления настоящей технологии включают картридж, имеющий множество дорожек для проб, далее именуемый «многорядовой картридж». Однако следует понимать, что варианты осуществления настоящей технологии могут быть реализованы в картридже, включающем не более одной дорожки для проб. Многорядовой картридж выполнен с возможностью приема нескольких проб последовательно или параллельно, одновременно или последовательно. В некоторых вариантах осуществления изобретения многорядовой картридж выполнен с возможностью приема 24 проб или любого другого подходящего количества проб. В некоторых случаях многорядовой картридж выполнен с возможностью приема по меньшей мере первой пробы и второй пробы, где каждая первая проба и каждая вторая проба содержат один или более полинуклеотидов в форме, подходящей для амплификации. Рассматриваемые полинуклеотиды могут быть одинаковыми или отличаться друг от друга в разных пробах и, следовательно, на разных дорожках картриджа для проб. Картридж может обрабатывать каждую пробу, увеличивая концентрацию определяемого полинуклеотида и/или уменьшая концентрацию ингибиторов относительно концентрации определяемого полинуклеотида. [0042] Многорядовой картридж включает в себя по меньшей мере первую дорожку для проб, имеющую первую микрофлюидную сеть, и вторую дорожку для проб, имеющую вторую микрофлюидную сеть, причем каждая из первой микрофлюидной сети и второй микрофлюидной сети включает элементы, указанные в настоящем описании, и при этом первая микрофлюидная сеть выполнена с возможностью амплификации полинуклеотидов в первой пробе, и вторая микрофлюидная сеть выполнена с возможностью амплификации полинуклеотидов во второй пробе. [0043] В различных вариантах осуществления изобретения микрофлюидная сеть может быть выполнена с возможностью подачи тепла от внешнего источника тепла к смеси проб, содержащей ПЦР-реагенты и пробу нейтрализованного полинуклеотида, в условиях термоциклирования, подходящих для образования ПЦР-ампликонов из пробы нейтрализованного полинуклеотида. [0044] По меньшей мере, внешний источник тепла может работать под управлением процессора компьютера, предназначенного для выполнения машиночитаемых инструкций для работы одного или более компонентов каждой дорожки для проб независимо друг от друга и для приема сигналов от детектора, который измеряет флуоресценцию от одной или более реакционных ПЦР-камер. [0045] Ниже со ссылкой на Фиг. 1А и 1В следует описание неограничивающего варианта осуществления микрофлюидного картриджа в соответствии с настоящей технологией. На Фиг. 1А показан вид сверху микрофлюидного картриджа 100, включающего двадцать четыре независимые дорожки для проб, включая дорожки 102, 104, 106, 108 для проб. На Фиг. 1В показан вид крупным планом части картриджа 100, продемонстрированного на Фиг. 1А, иллюстрирующий реакционные камеры 112, 114, 116, 118 смежных дорожек 102, 104, 106, 108 для проб. Микрофлюидная сеть в каждой дорожке для проб, как правило, выполнена с возможностью проведения амплификации, например, с помощью ПЦР, в готовой к ПЦР пробе. Микрофлюидная сеть на каждой дорожке для проб может принимать и амплифицировать пробу, содержащую нуклеиновую кислоту, экстрагированную из образца с применением любого подходящего способа. В примерах картриджей, которые вмещают пробу, готовую к ПЦР, проба может включать смесь, содержащую ПЦР-реагенты и пробу нейтрализованного полинуклеотида, подходящую для термоциклирования в условиях, при которых происходит образование ПЦР-ампликонов из пробы нейтрализованного полинуклеотида. В одном примере готовая к ПЦР проба включает смесь ПЦР-реагентов, содержащую фермент полимеразу, плазмиду положительного контроля, флуорогенный гибридизационный зонд, селективный по меньшей мере к части плазмиды и множеству нуклеотидов, и по меньшей мере один зонд, селективный в отношении полинуклеотидной последовательности. Примеры зондов дополнительно указаны в настоящем описании. В вариантах осуществления настоящей технологии микрофлюидная сеть выполнена с возможностью контакта тепла от внешнего источника тепла со смесью, содержащей ПЦР-реагент и пробу нейтрализованного полинуклеотида, в условиях термоциклирования, подходящих для образования ПЦР-ампликонов из пробы нейтрализованного полинуклеотида. [0046] Ниже со ссылкой на Фиг. 2А и 2В следует описание другого неограничивающего варианта осуществления микрофлюидного картриджа в соответствии с настоящей технологией. На Фиг. 2А показан вид сверху микрофлюидного картриджа 200, содержащего двадцать четыре независимые дорожки для проб, включая дорожки 202, 204, 206, 208 для проб. На Фиг. 2В показан вид крупным планом части картриджа 200, продемонстрированного на Фиг. 2А, иллюстрирующий реакционные камеры 212, 214, 216, 218 смежных дорожек 202, 204, 206, 208 для проб. Каждая дорожка картриджа 200 для проб включает в себя специальное впускное отверстие для пробы, выполненное с возможностью приема пробы. Например, дорожки 202, 204, 206 и 208 для проб включают впускные отверстия 222, 224, 226, 228 для проб соответственно, где каждое впускное отверстие для проб выполнено с возможностью независимого приема пробы. Картридж 200 можно называть многорядовым ПЦР-картриджем со специальными впускными отверстиями для проб. Впускные отверстия для пробы могут быть выполнены с возможностью размещения элемента для переноса жидкости (не показан), такого как шприц, пипетка или ПЦР-пробирка, содержащая готовую к ПЦР пробу. В вариантах осуществления картриджей в соответствии с настоящей технологией одно впускное отверстие работает совместно с одной дорожкой для проб. [0047] В варианте осуществления изобретения, показанного на Фиг. 2А, каждая реакционная камера 212, 214, 216, 218 имеет по меньшей мере один размер, который больше, чем каждая реакционная камера 112, 114, 116, 118 варианта осуществления изобретения, показанного на Фиг. 1А. Реакционные камеры 212, 214, 216, 218 можно считать более широкими, при этом размер по ширине измеряют вдоль оси X микрофлюидного картриджа. Реакционные камеры 212, 214, 216, 218 можно считать более глубокими, при этом размер по глубине измеряют вдоль оси Z микрофлюидного картриджа. В некоторых вариантах осуществления изобретения реакционные камеры 212, 214, 216, 218 можно считать более длинными, при этом размер по длине измеряют вдоль оси Y микрофлюидного картриджа. Размеры по длине и ширине могут располагаться вдоль перпендикулярных осей. В иллюстративном варианте осуществления изобретения реакционные камеры 212, 214, 216, 218 шире и глубже, чем реакционные камеры 112, 114, 116, 118. Каждая реакционная камера 212, 214, 216, 218 имеет больший объем, чем каждая реакционная камера 112, 114, 116, 118. В результате каждая реакционная камера 212, 214, 216, 218 может содержать больший объем жидкости, чем каждая реакционная камера 112, 114, 116, 118. [0048] В некоторых вариантах осуществления изобретения картридж 200 имеет увеличенную толщину для размещения более глубоких реакционных камер, показанных на Фиг. 2А, где размер по толщине измеряют вдоль оси Z микрофлюидного картриджа. Картридж 200 может иметь толщину около 1,68 мм по сравнению с картриджем 100, который может иметь толщину около 1,24 мм. В некоторых вариантах осуществления изобретения утолщенный картридж может иметь более плохие тепловые характеристики, чем более тонкий картридж, включая сбои из-за краевого эффекта (вне дорожек для проб), сбои из-за обратного краевого эффекта (внутри дорожек для проб) и случайные сбои. Варианты осуществления сжимаемой контактной площадки в соответствии с настоящей технологией, как указано в настоящем описании, могут улучшить теплопроводность и/или тепловой контакт между картриджем 200 и нагревательным устройством, чтобы уменьшить данные неисправности. [0049] Реакционные камеры 212, 214, 216, 218 могут иметь любую форму. В иллюстративном варианте осуществления изобретения реакционные камеры 212, 214, 216, 218 могут иметь продолговатую форму. Края реакционных камер 212, 214, 216, 218 могут быть закруглены. Предусмотрены и другие формы реакционных камер. [0050] Камеры 212, 214, 216, 218 на смежных дорожках 202, 204, 206, 208 для проб расположены в шахматном порядке относительно друг друга. В некоторых вариантах осуществления изобретения все впускные отверстия для проб расположены вдоль одной линии 232, параллельной оси X микрофлюидного картриджа. Картридж с 24 дорожками имеет два блока 226, 228 из двенадцати реакционных ПЦР-камер, показанных на Фиг. 2А и 2В. Каждая сеть может включать в себя реакционную камеру. В некоторых вариантах осуществления изобретения каждая сеть может включать в себя два клапана с каждой стороны реакционной камеры. Клапаны обычно открыты изначально и закрывают канал при срабатывании. Клапаны могут включать в себя микроклапаны. В некоторых вариантах осуществления изобретения каждая сеть может включать в себя выпускное или вентиляционное отверстие. В некоторых примерах выпускное или вентиляционное отверстие позволяет газу в микрофлюидной сети выходить из микрофлюидной сети, когда проба перемещается через микрофлюидную сеть от впускного отверстия к камере. В некоторых примерах выпускное или вентиляционное отверстие позволяет удалить амплифицированную пробу из микрофлюидной сети. [0051] В некоторых вариантах осуществления изобретения реакционная камера 212 в первом блоке 226 реакционных камер совмещена с реакционной камерой 214 во втором блоке дорожек для ПЦР-проб. Реакционные камеры 212, 214 могут располагаться поперек единственной линии 232 впускных отверстий для проб. Смежные сети могут образовывать расположенные в шахматном порядке реакционные камеры, как показано в проиллюстрированных вариантах осуществления изобретения. В некоторых вариантах осуществления изобретения картридж с 24 дорожками имеет два блока 226, 228 из двенадцати реакционных камер. Первый блок 226, 228 из двенадцати реакционных камер расположен ближе к впускным отверстиям. Другой блок 226, 228 из двенадцати реакционных камер находится дальше от впускных отверстий. Первый блок 226 из двенадцати реакционных камер может быть выровнен в осевом направлении вдоль первой оси 256, и второй блок 228 из двенадцати реакционных камер может быть выровнен в осевом направлении вдоль второй оси 258. Реакционная камера 212 первого блока 226 из двенадцати реакционных камер и реакционная камера 214 второго блока 228 реакционных камер может быть выровнена по третьей оси 260. Третья ось может быть поперечна или перпендикулярна первой оси и/или второй оси. Предусмотрены и другие конфигурации. [0052] В качестве одного примера, каждая из реакционных камер 112, 114, 116, 118 может представлять собой реакционную ПЦР-камеру объемом 4 мкл. Например, реакционные камеры 112, 114, 116, 118 могут иметь ширину около 1,5 мм, глубину около 0,30 мм (300 микрон) и длину около 10 мм. Объем реакционных камер может составлять около 4 мкл. Следует понимать, что эти размеры и конфигурация являются примерными, а отклонения от продемонстрированных согласуются с эквивалентным способом работы такого картриджа. Микрофлюидный картридж 100 позволяет проводить ПЦР в концентрированном реакционном объеме (~ 4 мкл) и обеспечивает быстрое термоциклирование, около 20 секунд на цикл. В качестве другого примера типичные размеры реакционной камеры составляют 150 мкм в глубину и 700 мкм в ширину, и типичный объем составляет ~ 1,6 мкл. Каналы микрофлюидной сети в дорожке для проб картриджа 100 могут иметь размер поперечного сечения по меньшей мере один миллиметр. Например, каналы такой сети могут иметь ширину и/или глубину менее 1 мм (например, около 750 микрон или менее, около 500 микрон или менее или около 250 микрон или менее). [0053] В вариантах осуществления настоящей технологии реакционные камеры 212, 214, 216, 218 могут иметь увеличенную ширину и/или увеличенную глубину (но такую же или аналогичную длину) по сравнению с реакционными камерами 112, 114, 116, 118 микрофлюидного картриджа 100. В первом примере каждая реакционная камера 212, 214, 216, 218 имеет ширину около 3,5 мм, глубину около 0,54 мм (540 микрон) и длину около 10 мм. Объем реакционной камеры составляет около 16,8 мкл. Во втором примере реакционные камеры 212, 214, 216, 218 имеют ширину около 2,5 мм, глубину около 0,86 мм (860 микрон) и длину около 10 мм. Объем реакционной камеры составляет около 18,6 мкл. В некоторых вариантах осуществления изобретения каждая из реакционных камер 212, 214, 216, 218 может представлять собой реакционную ПЦР-камеру, имеющую объем около 25 микролитров. В третьем примере, показанном на Фиг. 2С, реакционные камеры 212, 214, 216, 218 имеют ширину около 3,5 мм, глубину около 0,83 мм (830 микрон) и длину около 10 мм. Объем реакционной камеры составляет около 25,2 мкл. В четвертом примере реакционные камеры 212, 214, 216, 218 имеют ширину около 2,5 мм, глубину около 1,35 мм (1350 микрон) и длину около 10 мм. Объем реакционной камеры составляет около 25,2 мкл. В контексте тестирования на определение вирусной нагрузки, описанного в приведенных ниже неограничивающих примерах, было определено, что третий пример демонстрирует оптимальные рабочие характеристики для улучшенного тестирования на определение вирусной нагрузки. [0054] Вышеописанные примеры реакционных камер приведены в следующей таблице. [0055] Варианты осуществления микрофлюидных картриджей, приведенные в настоящем описании, могут включать в себя реакционные камеры, которые имеют разные объемы. Например, в одном неограничивающем варианте осуществления изобретения, показанном на Фиг. 2D, микрофлюидный картридж 600 содержит реакционные камеры 612 объемом около 4 мкл и реакционные камеры 614 объемом около 16 мкл. Следует понимать, что варианты осуществления микрофлюидного картриджа 600 не ограничены конкретным расположением реакционных камер, показанным на Фиг. 2D, и возможны другие расположения и комбинации объемов реакционных камер. [0056] В некоторых вариантах осуществления изобретения ширина реакционных камер 212, 214, 216, 218 может составлять от 1 до 4 мм (например, 1 мм, 1,5 мм, 2 мм, 2,5 мм, 3 мм, 3,5 мм, 4 мм, от 1 до 2 мм, от 2 до 3 мм, от 3 до 4 мм или в любом диапазоне из двух вышеуказанных значений). В некоторых вариантах осуществления изобретения глубина реакционных камер 212, 214, 216, 218 может составлять от 0 и 2 мм (например, 0,1 мм, 0,2 мм, 0,3 мм, 0,4 мм, 0,5 мм 0,6 мм, 0,7 мм, 0,8 мм, 0,9 мм, 1,0 мм, 1,1 мм, 1,2 мм, 1,3 мм, 1,4 мм, 1,5 мм 1,6 мм, 1,7 мм, 1,8 мм, 1,9 мм, 2 мм, 0,25 мм, 0,5 мм, 0,75 мм, 1 мм, 1,25 мм, 1,5 мм, 1,75 мм, от 0 до 0,5 мм, от 0,5 до 1 мм, от 1 и 1,5 мм, или любой диапазон из двух предыдущих значений). В некоторых вариантах осуществления изобретения длина реакционных камер 212, 214, 216, 218 может составлять от 8 мм до 12 мм (например, 8 мм, 9 мм, 10 мм, 11 мм, 12 мм, от 9 до 11 мм, около 10 мм или в любом диапазоне двух из приведенных выше значений). В некоторых вариантах осуществления изобретения объем реакционных камер 212, 214, 216, 218 может составлять от 10 мкл до 30 мкл (например, 10 мкл, 11 мкл, 12 мкл, 13 мкл, 14 мкл, 15 мкл, 16 мкл, 17 мкл, 18 мкл, 19 мкл, 20 мкл, 21 мкл, 22 мкл, 23 мкл, 24 мкл, 25 мкл, 26 мкл, 27 мкл, 28 мкл, 29 мкл, 30 мкл, от 10 мкл до 15 мкл, от 15 мкл до 20 мкл, от 20 мкл до 25 мкл, от 25 мкл до 30 мкл или в любом диапазоне двух из приведенных выше значений). Следует понимать, что данные размеры и конфигурации являются примерными, а отклонения от продемонстрированных согласуются с эквивалентным способом работы такого картриджа. В некоторых вариантах осуществления изобретения каждая реакционная камера 112, 114, 116, 118 имеет объем 4 мкл. В некоторых вариантах осуществления изобретения каждая реакционная камера 212, 214, 216, 218 имеет объем 25 мкл, что примерно в шесть раз превышает объем реакционных камер 112, 114, 116, 118. Усовершенствованные микрофлюидные картриджи с реакционными камерами большего объема [0057] Микрофлюидный картридж 200 может быть предназначен для амплификации нуклеиновых кислот.Как указано в настоящем описании, микрофлюидный картридж 200 имеет реакционную ПЦР-камеру увеличенного объема с общим объемом около 25,2 мкл, что позволяет амплифицировать больший объем жидкого элюата из обрабатываемого образца. В частности, варианты осуществления микрофлюидного картриджа 200 могут гарантировать, что больший процент жидкого элюата после процедуры обработки пробы может быть загружен и амплифицирован внутри реакционной ПЦР-камеры. В некоторых случаях наблюдается шестикратное увеличение объема жидкого элюата, который может быть амплифицирован. Варианты осуществления усовершенствованных микрофлюидных картриджей настоящей технологии имеют реакционные камеры большего объема и, следовательно, могут вмещать больший объем жидкого элюата. В результате усовершенствованные микрофлюидные картриджи по настоящей технологии обеспечивают более последовательный процесс амплификации для проб и картриджей, уменьшают вариации процесса амплификации для проб и картриджей и улучшают эффективность анализов в целом. [0058] В вариантах осуществления, где микрофлюидный картридж 200 содержит слой пластиковой подложки, геометрия каждой реакционной камеры 212, 214, 216, 218 сформирована внутри слоя пластиковой подложки со всех сторон, кроме одной, где каждая реакционная камера 212, 214, 216, 218 герметизирована слоем ламината, как указано в настоящем описании. Пробу смеси нуклеиновой кислоты и ПЦР-реагента можно загрузить в камеру через впускные отверстия и микрофлюидные каналы. Каждая реакционная камера 212, 214, 216, 218 может быть герметизирована клапанами парафина, активируемыми при нагревании, которые распространяются по каналу жидкости и охлаждаются по обе стороны камеры. Как указано в настоящем описании, к каждой реакционной камере 212, 214, 216, 218 подают тепло через слой ламината на нижней стороне картриджа 200 для проведения ПЦР-реакции, и изменение флуоресценции измеряют с помощью внешней оптики, расположенной над камерой на верхней стороне картриджа 200. [0059] Микрофлюидный картридж 100 вмещает около 4,2 мкл реакционного объема на реакционную камеру 112, 114, 116, 118. В некоторых вариантах осуществления изобретения микрофлюидный картридж 200 обеспечивает улучшенную аналитическую чувствительность по сравнению с микрофлюидным картриджем 100. В некоторых вариантах осуществления изобретения большая вместимость ПЦР-камеры микрофлюидного картриджа 200 позволяет преодолеть ограничения целевой доставки микрофлюидного картриджа 100. В некоторых вариантах осуществления изобретения микрофлюидный картридж 200 обеспечивает улучшенные характеристики чувствительности за счет увеличения объема ПЦР-камеры до около 25,2 мкл. В некоторых вариантах осуществления изобретения необходима ПЦР-камера большего объема, поскольку большее количество ДНК/РНК, вводимых при экстракции образца, может повысить чувствительность. В некоторых вариантах осуществления изобретения ПЦР-камера большего объема обеспечивает лучшую производительность. В некоторых вариантах осуществления изобретения ПЦР-камера большего объема улучшает предел детектирования для амплификации, проводимой в ПЦР-камере большего объема. В некоторых вариантах осуществления изобретения ПЦР-камера большего объема улучшает предел количественного определения для амплификации, проводимой в ПЦР-камере большего объема. В некоторых вариантах осуществления изобретения ПЦР-камера большего объема повышает эффективность ПЦР. [0060] Чувствительность анализов зависит от нескольких факторов, включая эффективность экстракции, эффективность ПЦР и термическую однородность. В некоторых вариантах осуществления изобретения увеличенный(ые) размер(ы) камеры является одним из факторов повышения эффективности ПЦР, что приводит к улучшению предела детектирования и предела количественного определения. В некоторых вариантах осуществления изобретения микрофлюидный картридж 200 обеспечивает шестикратное увеличение объема по сравнению с микрофлюидным картриджем 100. Предусмотрены и другие конфигурации (например, двукратное увеличение объема, трехкратное увеличение объема, четырехкратное увеличение объема, пятикратное увеличение объема, шестикратное увеличение объема, семикратное увеличение объема, восьмикратное увеличение объема или любой диапазон из двух или более вышеуказанных значений). Существует верхний предел величины, на которую может быть увеличен размер камеры при сохранении оптимальной термической однородности по всей камере во время каждого цикла протокола амплификации. Это, в частности, верно в случае протоколов амплификации с конкретным, оптимизированным временем цикла для достижения эффективной ПЦР. В некоторых вариантах осуществления изобретения микрофлюидный картридж 200 может вмещать больший объем элюата, вводимого после процедуры обработки пробы, выполняемой на образце. В некоторых вариантах осуществления изобретения микрофлюидный картридж 200 может улучшить предел детектирования и предел количественного определения анализов. В некоторых вариантах осуществления изобретения микрофлюидный картридж 200 может обеспечить загрузку большего процента жидкого элюата после обработки пробы в камеру увеличенных размеров. В некоторых вариантах осуществления изобретения микрофлюидный картридж 200 может способствовать более стабильной ПЦР-амплификации. В некоторых вариантах осуществления изобретения микрофлюидный картридж 200 может уменьшить вариации в ПЦР-амплификации. В некоторых вариантах осуществления изобретения микрофлюидный картридж 200 может улучшить общую производительность анализа, проводимого с пробой. [0061] Реакционная камера на данной дорожке для проб имеет размеры по длине, ширине и глубине, чтобы позволить ПЦР амплифицировать полинуклеотиды, присутствующие в пробе, полученной в реакционной камере. Верхняя часть каждой реакционной камеры имеет окно, которое позволяет детектировать флуоресценцию флуоресцентного вещества в реакционной камере, когда детектор расположен над окном. Следует понимать, что возможны и другие конфигурации окон, включая, но не ограничиваясь ими, единственное окно, которое охватывает каждый ПЦР-реактор по ширине картриджа. [0062] Впускные отверстия для проб смежных дорожек для проб разнесены друг от друга, чтобы предотвратить любое загрязнение одного впускного отверстия для проб во время введения пробы в смежное впускное отверстие для проб в картридже. В некоторых вариантах осуществления изобретения впускные отверстия для проб сконфигурированы таким образом, чтобы предотвратить последующее непреднамеренное введение пробы в данную дорожку для проб после того, как проба уже была введена в эту дорожку для проб. В некоторых вариантах осуществления изобретения картридж для нескольких проб сконструирован так, что расстояние между центрами впускных отверстий для проб составляет 6 мм, что является общепризнанным отраслевым стандартом. Это означает, что в некоторых вариантах осуществления изобретения межцентровое расстояние между впускными отверстиями в картридже составляет 6 мм. Впускные отверстия могут быть получены конической формы с соответствующим коническим углом, чтобы в них плотно входили наконечники пипеток, соответствующие отраслевым стандартам (2 мкл, 20 мкл, 200 мкл, объемы и т.д.). Картридж в настоящем описании может быть адаптирован для соответствия другим, возникшим позже, отраслевым стандартам, не указанным в настоящем описании иным образом, как будет понятно специалисту в данной области техники. [0063] В некоторых вариантах осуществления изобретения микрофлюидный картридж включает в себя первый, второй и третий слои, которые вместе определяют множество микрофлюидных сетей, каждая из которых имеет различные компоненты, выполненные с возможностью проведения ПЦР в пробе, содержащей один или более полинуклеотидов, наличие которых необходимо определять. Как указано в настоящем описании, микрофлюидный картридж может включать в себя четвертый слой, предназначенный для улучшения распределения давления, повышения термической однородности и улучшения ПЦР-амплификации. В некоторых вариантах осуществления изобретения четвертый слой представляет собой сжимаемую контактную площадку. Хотя описаны четыре слоя, микрофлюидный картридж может включать в себя меньше слоев, и один или более слоев могут быть объединены в один интегрированный слой. Хотя описаны четыре слоя, могут быть включены дополнительные слои, и один или более слоев могут быть разделены на два или более слоя. [0064] Картридж включает одну или более дорожек для проб, при этом каждая дорожка для проб независимо связана с данной пробой для одновременной обработки, и каждая дорожка для проб содержит независимо сконфигурированную микрофлюидную сеть. Картридж, как правило, обрабатывает одну или более проб путем увеличения концентрации (например, путем амплификации) одного или более определяемых полинуклеотидов, присутствующих в каждой из проб. [0065] Картридж в настоящем описании включает варианты осуществления, имеющие три или более слоев в своей конструкции, как показано в варианте осуществления 300 на Фиг. 3А и 3В. Картридж 300 включает подложку 302, ламинат 304 (не показан на Фиг. 3А) и метку 306. В картридже 300 микрофлюидная подложка 302 имеет верхнюю сторону 308, а на противоположной стороне подложки - нижнюю сторону 310 (не показана на Фиг. 3А). Подложка 302 включает в себя множество микрофлюидных сетей, упорядоченных в соответствующее множество дорожек 312 для проб. Картридж 300 включает в себя множество дорожек 330 картриджа. В этом неограничивающем варианте осуществления изобретения картридж 300 включает в себя 12 дорожек 330 картриджа В этом неограничивающем варианте осуществления изобретения каждая дорожка 330 картриджа соответствует области картриджа 300, которая включает в себя 2 дорожки 312 для проб. В этом неограничивающем варианте осуществления изобретения картридж 300 включает 24 дорожки 312 для проб, упорядоченные в 12 параллельных дорожек 330 картриджа. Картридж 300 включает в себя ламинат 304, прикрепленный к нижней стороне 310 подложки 302 для герметизации различных компонентов (например, клапанов) микрофлюидных сетей. Ламинат 304 может обеспечить эффективный слой теплопередачи между специализированным нагревательным элементом (более подробно указанном в настоящем описании) и компонентами микрофлюидных сетей. Картридж 300 может содержать метку 306, прикрепленную к верхней стороне 308 подложки 302. В некоторых вариантах осуществления изобретения каждая реакционная камера сформирована внутри слоя микрофлюидной подложки со всех сторон, кроме одной или более, где каждая реакционная камера закрыта одним или более дополнительными слоями. В некоторых вариантах осуществления изобретения каждая реакционная камера герметизирована ламинатом 304. В некоторых вариантах осуществления изобретения каждая реакционная камера герметизирована меткой 306. [0066] Картридж 300 может содержать сжимаемую контактную площадку 314. В некоторых вариантах осуществления изобретения сжимаемая контактная площадка 314 расположена над верхней стороной 308 подложки 302. В некоторых вариантах осуществления изобретения сжимаемая контактная площадка 314 расположена между верхней стороной 308 подложки 302 и меткой 306. В одном иллюстративном варианте осуществления изобретения сжимаемая контактная площадка 314 расположена под меткой 306. В другом иллюстративном варианте осуществления изобретения сжимаемая контактная площадка 314 расположена над меткой 306. В вариантах осуществления изобретения, где сжимаемая контактная площадка 314 расположена над меткой, метка 306 может закрывать и герметизировать отверстия, которые применяют в производственном процессе для загрузки компонентов, таких как клапаны микрофлюидных сетей, термочувствительными материалами. В таких вариантах осуществления изобретения, где сжимаемая контактная площадка 314 расположена над меткой 306, маркировка (подробно описанная ниже), которая обычно наносится на метку 306, может быть нанесена на сжимаемую контактную площадку 314. В некоторых вариантах осуществления изобретения каждая реакционная камера герметизирована сжимаемой контактной площадкой 314, когда сжимаемая контактная площадка 314 расположена под меткой 306. [0067] В некоторых не показанных вариантах осуществления изобретения сжимаемая контактная площадка 314 расположена под нижней стороной 310 подложки 302. В некоторых вариантах осуществления изобретения сжимаемая контактная площадка 314 расположена между нижней стороной 310 подложки 302 и ламинатом 304. В некоторых вариантах осуществления изобретения сжимаемая контактная площадка 314 расположена над ламинатом 304. В некоторых вариантах осуществления изобретения сжимаемая контактная площадка 314 расположена под ламинатом 304. В таких вариантах осуществления изобретения сжимаемая контактная площадка может быть выполнена из теплопроводного материала или обладать теплопроводными свойствами. [0068] Таким образом, варианты осуществления микрофлюидных картриджей в настоящем описании включают варианты осуществления, состоящие из слоев, включающих подложку 302, ламинат 304 и метку 306, при этом сжимаемая контактная площадка 314 расположена рядом по меньшей мере с одним из слоев. В некоторых вариантах осуществления изобретения микрофлюидный картридж состоит по существу из четырех слоев: подложки, ламината, метки и сжимаемой контактной площадки. В некоторых вариантах осуществления изобретения микрофлюидный картридж содержит четыре слоя: подложку, ламинат, метку и сжимаемую контактную площадку. [0069] Слой микрофлюидной подложки 302, как правило, получают литьем под давлением из пластика, предпочтительно пластика типа zeonor (циклического олефинового полимера), и содержит ряд микрофлюидных сетей (показанных на Фиг. 1А и 2А). В некоторых вариантах осуществления изобретения, как указано в настоящем описании, подложка 302 содержит двадцать четыре реакционные камеры, которые содержат материал для ПЦР-амплификации. Каждая микрофлюидная сеть включает в себя реакционную камеру и связанные с ней каналы. В некоторых вариантах осуществления изобретения микрофлюидные сети содержат один или более клапанов. Клапаны, когда они присутствуют, могут быть расположены на первой (например, нижней) стороне (расположенной по направлению к ламинату). В некоторых вариантах осуществления изобретения микрофлюидные сети содержат загрузочные отверстия для загрузки парафина или других термочувствительных веществ в клапан. В некоторых вариантах осуществления изобретения микрофлюидные сети содержат один или более вентиляционных каналов. В некоторых вариантах осуществления изобретения микрофлюидные сети содержат одно или более впускных отверстий для жидкости на второй (например, верхней) стороне (расположенной по направлению к слою метки). Как правило, в данном картридже все микрофлюидные сети вместе, включая реакционные камеры и впускные отверстия, расположены в одном слое подложки, подложке 302. [0070] Подложка 302 может быть получена из материала, повышающего жесткость подложки (и, следовательно, картриджа). Материал, из которого получена подложка 302, может быть жестким или недеформируемым. Жесткость предпочтительна, поскольку она способствует эффективному и равномерному контакту с нагревательным узлом, как дополнительно указано в настоящем описании. В некоторых вариантах осуществления изобретения подложка 302 непроницаема для воздуха или жидкости, так что вход или выход воздуха или жидкости во время работы картриджа возможен только через впускные отверстия или различные вентиляционные отверстия. Материал, из которого получена подложка 302, может быть непроницаемым для воздуха и других газов. Применение материала, не пропускающего воздух, также выгодно, поскольку снижает вероятность того, что во время анализа изменится концентрация различных веществ в жидкой форме. В некоторых вариантах осуществления изобретения подложка 302 имеет низкую автофлуоресценцию для облегчения детектирования полинуклеотидов во время реакции амплификации, проводимой в указанной в настоящем описании микрофлюидной схеме. Также важно применять материал с низкой автофлуоресценцией, чтобы фоновая флуоресценция не мешала измерению флуоресценции исследуемого аналита. [0071] Подложка 302 может иметь область уменьшенной толщины для облегчения детектирования. В некоторых вариантах осуществления изобретения область уменьшенной толщины может располагаться над каждой реакционной камерой на каждой дорожке для проб. В некоторых вариантах осуществления изобретения область уменьшенной толщины может иметь продолговатую или вытянутую форму. Площадь уменьшенной толщины может иметь площадь поверхности, равную или большую, чем площадь соответствующей реакционной камеры. [0072] Слой 304 ламината может быть термосвариваемым слоем ламината. Слой ламината 304, как правило, может иметь толщину от около 100 до около 125 микрон. Слой ламината 304 может быть прикреплен к нижней поверхности микрофлюидной подложки 302 с использованием, например, термоскрепления, склеивания под давлением или их комбинации. Слой ламината 304 также может быть получен из материала, который имеет клейкое покрытие только с одной стороны, причем эта сторона представляет собой сторону, контактирующую с нижней стороной подложки 302. Этот слой 304 может быть получен из однослойной ленты со слоем клея типа Adhesive 420® производства компании 3М®. Примеры лент включают односторонние варианты двусторонних лент с серийными номерами изделий 9783, 9795 и 9795 В, также доступные в компании 3М®. Слой ламината, как правило, имеет толщину 50-200 мкм, например, 125 мкм. Другие приемлемые слои могут быть получены из клейких лент, в которых используют клей на основе микрокапсул. [0073] Метка 306 может быть получена из полипропилена или другого пластика с клеем, чувствительным к давлению. Метка 306, как правило, может иметь толщину от около 50 до 150 микрон. В некоторых вариантах осуществления изобретения метка 306 может быть выполнена с возможностью герметизации отверстий для загрузки парафина клапанов в подложке 302. В некоторых вариантах осуществления изобретения метка 306 может захватывать воздух, используемый для приведения в действие клапана. В некоторых вариантах осуществления изобретения метка 306 может служить местом для маркировки оператора. Метка 306 может включать в себя идентифицирующие характеристики, такие как номер штрих-кода, номер партии и срок годности картриджа. В некоторых вариантах осуществления изобретения метка 306 имеет пространство и поверхность для записи, что позволяет пользователю делать идентифицирующую аннотацию на метке вручную. Метка 306 может быть цельным слоем, хотя специалисту в данной области техники понятно, что метка 306 может состоять из двух или более отдельных частей. [0074] На метке 306 может быть напечатана информация различных типов, включая, помимо прочего, логотип производителя, номер детали и порядковые номера для каждой из дорожек для проб. В различных вариантах осуществления изобретения метка 306 включает в себя машиночитаемую или сканируемую часть, которая может содержать определенные идентификационные признаки, такие как номер партии, срок годности или уникальный идентификатор. Например, метка 306 может включать в себя штрих-код, радиочастотную метку или один или более машиночитаемых или оптически сканируемых символов. Читаемая часть метки 306 может быть расположена таким образом, чтобы она могла быть считана верификатором идентификации пробы. Метка 306 может включать в себя вырез 318 от края или угла метки 306. [0075] В некоторых вариантах осуществления микрофлюидный картридж 300 дополнительно включает элемент 316 совмещения, который обеспечивает размещение картриджа дополнительным диагностическим устройством в одной ориентации, например, в приемной секции устройства. Элемент 316 совмещения может быть вырезом на краю или в углу картриджа (как показано на Фиг. 3А) или может представлять собой ряд вырезов, клиновидных или криволинейных вырезов или некоторую другую конфигурацию форм, которые требуют уникальной ориентации размещения в устройстве. [0076] В некоторых вариантах осуществления изобретения микрофлюидный картридж 300 имеет размер, по существу, такой же, как размер 96-луночного планшета, который обычно применяют в данной области техники. Преимущественно картридж можно применять с манипуляторами планшетов, применяемыми в других областях техники. [0077] В некоторых вариантах осуществления изобретения микрофлюидный картридж 300 включает два или более позиционирующих элемента или реперных точек для применения при заполнении клапанов термочувствительным материалом. Позиционирующие элементы могут быть расположены на подложке 302, как правило, на ее верхней поверхности. В некоторых вариантах осуществления изобретения реперные точки могут располагаться на противоположных по диагонали углах подложки, но не ограничиваются такими положениями. [0078] Как указано в настоящем описании, над каждой реакционной камерой находится окно 320, которое позволяет проводить оптическое детектирование, такое как детектирование флуоресценции от флуоресцентного вещества, такого как флуорогенный гибридизационный зонд, в реакционной камере, когда детектор расположен над окном 320. На метке 306 может быть образовано множество окон 320. Количество окон 320 может соответствовать количеству реакционных камер (например, 1:1, например, 24 реакционные камеры, 24 окна или 12 реакционных камер, 12 окон и т.д.). Для окон 320 предусмотрены другие конфигурации, такие как форма, положение и/или количество. В иллюстративном варианте осуществления изобретения окна 320 имеют продолговатую форму. Окна 320 могут иметь площадь поверхности, равную или превышающую площадь соответствующей реакционной камеры. [0079] Ниже следует описание вариантов осуществления сжимаемых контактных площадок в соответствии с настоящей технологией. На Фиг. 4 показан неограничивающий пример сжимаемой контактной площадки 314 в соответствии с настоящей технологией. Картридж 300 может включать в себя сжимаемую контактную площадку 314. Сжимаемая контактная площадка 314 может быть получена из материала с малым изгибом под действием силы сжатия, как указано в настоящем описании. Сжимаемая контактная площадка 314 может быть получена из материала, который легко подвергается сжатию, как указано в настоящем описании. Сжимаемая контактная площадка 314 может быть получена из механически податливого материала. Например, механически податливый материал сжимаемой контактной площадки 314 может иметь толщину около 0,035 дюйма (около 0,9 мм). Подходят другие толщины, например, около 0,5 мм, около 1 мм, около 1,5 мм, около 2 мм, от 0 мм до 1 мм, от 0,5 мм до 1,5 мм, от 1 мм до 2 мм, от 1,5 мм до 2,5 мм, от 0 мм до 2 мм, от 0,5 мм до 2,5 мм, от 1 мм до 3 мм, от 1,5 мм до 3,5 мм и т.д. [0080] В некоторых вариантах осуществления изобретения сжимаемая контактная площадка 314 встроена в расходный материал, например, в микрофлюидный картридж. В некоторых вариантах осуществления изобретения сжимаемая контактная площадка (не показана) встроена в диагностический инструмент (например, в детектор, который вступает в физический контакт с микрофлюидным картриджем во время процедуры детектирования). [0081] Сжимаемая контактная площадка 314 может представлять собой термосвариваемый слой и может быть прикреплена к микрофлюидному картриджу с применением, например, клея, чувствительного к давлению. Сжимаемая контактная площадка 314 может быть сжимаемой, как указано в настоящем описании. Толщина сжимаемой контактной площадки 314 может составлять от 0,1 до 2,5 мм без сжатия, как правило, около 1,5 мм без сжатия. [0082] Как указано в настоящем описании, картридж 300 и, в частности, подложка 302, могут включать в себя элемент 316 совмещения, который обеспечивает прием картриджа дополнительным диагностическим устройством в одной ориентации, например, в приемной секции устройства. Элемент 316 совмещения может быть вырезом на краю или в углу картриджа (как показано на Фиг. 3А) или может представлять собой ряд вырезов, клиновидных или криволинейных вырезов или некоторую другую конфигурацию форм, которые требуют уникальной ориентации размещения в устройстве. Сжимаемая контактная площадка 314 может иметь вырез 322 от края или угла сжимаемой контактной площадки 314. Вырез 322 может соответствовать вырезу 318 метки 306, показанной на Фиг. 3А. [0083] Как указано в настоящем описании, на метке 306 над каждой реакционной камерой расположено окно 320, которое позволяет проводить оптическое детектирование в реакционной камере, когда детектор расположен над окном 320. Сжимаемая контактная площадка 314 может включать в себя множество окон 324. Количество окон 324 может соответствовать количеству реакционных камер (например, 1:1, например, 24 реакционные камеры, 24 окна или 12 реакционных камер, 12 окон и т.д.). Для окон 324 предусмотрены другие конфигурации, такие как форма, положение и/или количество. В иллюстративном варианте осуществления изобретения окна 324 имеют продолговатую или вытянутую форму. Окна 324 могут иметь площадь поверхности, равную или превышающую площадь соответствующей реакционной камеры. Окна 324 могут соответствовать по количеству и/или форме окнам 320 метки 306, показанной на Фиг. 3. [0084] Как указано в настоящем описании, реакционные камеры на смежных дорожках для проб расположены в шахматном порядке относительно друг друга. В некоторых вариантах осуществления изобретения все впускные отверстия для проб расположены вдоль одной линии, параллельной оси X микрофлюидного картриджа 300. Реакционная камера в первом блоке дорожек для проб может быть совмещена с реакционной камерой во втором блоке дорожек для проб, при этом реакционные камеры выровнены поперек единственной линии впускных отверстий для проб. В некоторых вариантах осуществления изобретения картридж с 24 дорожками состоит из двух блоков по двенадцать реакционных камер 326, 328. Первый блок из двенадцати реакционных камер 326 находится ближе к краю с элементом 316 совмещения. Второй блок из двенадцати реакционных камер 328 находится дальше от края с элементом 316 совмещения. Реакционные камеры могут образовывать сетку. Предусмотрены и другие конфигурации. [0085] В некоторых вариантах осуществления изобретения картридж с 24 дорожками имеет два блока по двенадцать окон, образованных окнами 320 на метке 306 и окнами 324 в сжимаемой контактной площадке 314. Окна 320, 324 могут образовывать сетку. В некоторых вариантах осуществления изобретения окно 320 на метке 306 и окно 324 накладываются друг на друга, образуя пару окон, так что через них может проходить свет. Площадь поверхности каждого из окон 320, 324 может быть больше, чем площадь поверхности соответствующей реакционной камеры. В иллюстративном варианте осуществления изобретения каждая пара окон 320, 324 охватывает область вокруг одной реакционной камеры. В другом варианте осуществления изобретения (не показан) каждая пара окон 320, 324 охватывает область вокруг двух или более реакционных камер. В еще одном варианте осуществления изобретения (не показан) каждая пара окон 320, 324 охватывает область вокруг блока реакционных камер. В этом варианте осуществления изобретения метка 306 и сжимаемая контактная площадка 314 содержат по два окна, первое окно над первым блоком 326 и второе окно над вторым блоком 328. В дополнительном варианте осуществления изобретения (не показан) присутствует одна пара окон 320, 324, которая охватывает область вокруг всех 24 реакционных камер картриджа 300. В этом варианте осуществления изобретения присутствует одно окно над всеми реакционными камерами картриджа 300. [0086] В некоторых вариантах осуществления изобретения сжимаемая контактная площадка 314 может представлять собой отдельный слой, соединенный с меткой 306. Метка 306 и/или сжимаемая контактная площадка 314 могут иметь клейкую поверхность для соединения компонентов друг с другом. Предусмотрены и другие способы соединения. На Фиг. 3А показан вариант осуществления изобретения, в котором сжимаемая контактная площадка 314 приклеена к верхней части ПЦР-картриджа 300, и белая метка 306 картриджа прикреплена к верхней части сжимаемой контактной площадки 314. Метка 306 частично удалена, чтобы показать сжимаемую контактную площадку 314 под меткой 306. [0087] В некоторых вариантах осуществления изобретения сжимаемая контактная площадка 314 и метка 306 могут быть объединены в один слой. В некоторых вариантах осуществления изобретения метка 306 может отсутствовать. В таких вариантах осуществления изобретения сжимаемая контактная площадка 314 может иметь верхнюю поверхность для отображения штрих-кода и производственной информации, как указано выше. В некоторых вариантах осуществления изобретения сжимаемая контактная площадка 314 белого или светлого цвета. В некоторых вариантах осуществления изобретения информация на метке может быть напечатана непосредственно на сжимаемом материале, тем самым исключая метку 306. В некоторых вариантах осуществления изобретения отсутствие метки 306 может исключить возможность расслоения между сжимаемой контактной площадкой 314 и меткой 306. [0088] В некоторых вариантах осуществления изобретения сжимаемая контактная площадка 314 представляет собой полностью отделяемую сжимаемую контактную площадку. В некоторых вариантах осуществления изобретения сжимаемая контактная площадка 314 представляет собой отдельный или независимо сформированный компонент. Сжимаемая контактная площадка 314 может быть размещена на картридже 300, например, на верхней поверхности 308 картриджа 300. В некоторых вариантах осуществления изобретения сжимаемую контактную площадку накладывают поверх метки 306 картриджа 300 (этот вариант осуществления изобретения не показан на Фиг. 3А). В некоторых вариантах осуществления изобретения сжимаемую контактную площадку можно применять повторно после завершения ПЦР-амплификации, например, путем извлечения сжимаемой контактной площадки 314 из первого картриджа 300 и нанесения этой же сжимаемой контактной площадки 314 на второй картридж 300. Этот вариант осуществления изобретения демонстрирует такие же улучшения передачи тепловой энергии в реакционные камеры, как и другие варианты осуществления, раскрытые в настоящем описании. В некоторых вариантах осуществления изобретения, таких как указанные в настоящем описании, сжимаемая контактная площадка 314 интегрирована с картриджем 300 или интегрирована в него. Например, сжимаемая контактная площадка 314 не может быть предназначена для повторного применения; удаление картриджа 300 после амплификации одной или более проб также приводит к удалению сжимаемой контактной площадки 314, которая интегрирована с картриджем 300. Сжимаемая контактная площадка 314 может быть интегрирована в конструкцию картриджа 300. Сжимаемая контактная площадка 314, когда она интегрирована, может снизить риск расслоения во время применения. [0089] В некоторых вариантах осуществления изобретения картридж 300 является одноразовым. После проведения ПЦР в пробе и определения наличия или отсутствия исследуемого полинуклеотида обычно амплифицированная проба остается на картридже и картридж либо применяют снова (если одна или более дорожек для проб остаются открытыми), либо утилизируют. Если пользователь желает провести анализ после амплификации, такой как гель-электрофорез, он может проколоть отверстие в ламинате 304 картриджа 300 и извлечь количество, как правило, около 1,5 мкл, ПЦР-продукта. В одном неограничивающем варианте осуществления изобретения пользователь может поместить отдельную дорожку для проб на специальную узкую нагретую пластину, поддерживаемую при температуре, позволяющей расплавить парафин в клапане этой дорожки для проб, а затем распылить прореагировавшую пробу из впускного отверстия этой дорожки для проб. [0090] Микрофлюидный картридж 300 также может быть штабелируемым, например, для удобства хранения или транспортировки, или может быть выполнен с возможностью приема загрузочным устройством, которое удерживает множество картриджей в непосредственной близости друг от друга, но без соприкосновения друг с другом. В различных вариантах осуществления изобретения во время транспортировки и хранения микрофлюидный картридж может быть дополнительно заключен в герметичный футляр для уменьшения воздействия, например, водяного пара. Микрофлюидный картридж можно запечатать в футляре с помощью инертного газа. Микрофлюидный картридж может быть одноразовым, например, предназначенным для одноразового применения. Микрофлюидный картридж может быть одноразовым, например, после применения одной или более его дорожек для проб. [0091] Ниже следует описание неограничивающих примеров нагревательных узлов в соответствии с настоящей технологией. На Фиг. 5А показан пример нагревательного модуля 400 приемной секции 402. Нагревательный модуль 400 может иметь углубленную поверхность, которая обеспечивает платформу для поддержки микрофлюидного картриджа в приемной секции. При применении картридж 300, как правило, термически связан с рядом источников тепла, предназначенных для подачи тепла на различные компоненты устройства (например, реакционную камеру). Примеры таких наборов нагревателей, включающих в себя источники тепла, дополнительно указаны в настоящем описании. Дополнительные варианты осуществления наборов нагревателей описаны в заявке на патент США №11/940315, озаглавленной «Нагревательный блок для микрофлюидной диагностической системы», поданной 14 ноября 2007 г., описание которой включено в настоящую заявку посредством ссылки. [0092] На Фиг. 5В показан другой пример нагревательного модуля 700 приемной секции 702. В этом неограничивающем варианте осуществления изобретения система включает в себя две приемные секции 702, каждая из которых выполнена с возможностью размещения микрофлюидного картриджа по настоящей технологии. На Фиг. 5С показан вид крупным планом нагревательного модуля 700 левой приемной секции 702. На Фиг. 5D показан вид крупным планом нагревательного модуля 700, продемонстрированного на Фиг. 5С, с микрофлюидным картриджем 200, помещенным в приемную секцию 702. [0093] Микрофлюидные подложки, указанные в настоящем описании, выполнены с возможностью приема тепла от контактного источника тепла, такого как нагревательный блок. Нагревательный блок, как правило, содержит плату нагревателя или микросхему нагревателя, которая выполнена с возможностью доставки тепла в определенное время к определенным областям микрофлюидной подложки, включая, помимо прочего, один или более микрофлюидных компонентов. Например, источник тепла сконфигурирован так, что определенные нагревательные элементы расположены рядом с определенными компонентами микрофлюидной сети на подложке. В некоторых вариантах осуществления изобретения устройство равномерно контролирует нагрев области микрофлюидной сети. В иллюстративном варианте осуществления изобретения несколько нагревателей могут быть выполнены с возможностью одновременного и равномерного нагрева области микрофлюидной подложки, такой как реакционная ПЦР-камера. [0094] Нагреватели расположены в слое подложки нагревателя непосредственно под микрофлюидной подложкой. В неограничивающих примерах нагреватели могут быть определены фотолитографически и протравлены металлическими слоями золота (как правило, толщиной около 3000 Å). Слои 400 Å TiW осаждают сверху и снизу слоя золота, чтобы они служили в качестве адгезионного слоя. Подложкой может быть стекло, плавленый кварц или кварцевая пластина толщиной 0,4 мм, 0,5 мм, 0,7 мм или 1 мм. Тонкий электроизоляционный слой из оксида кремния толщиной 2 мкм служит изолирующим слоем поверх металлического слоя. Дополнительные тонкие электроизоляционные слои, такие как 2-4 мкм слои парилена, также могут быть нанесены поверх поверхности оксида кремния. [0095] Может быть предоставлен иллюстративный набор нагревателей, выполненных с возможностью циклического нагрева реакционной ПЦР-камеры. Следует понимать, что конфигурации нагревателя для приведения в действие других областей микрофлюидного картриджа, таких как другие заслонки, клапаны и исполнительные механизмы (если они присутствуют в картридже), могут быть спроектированы и развернуты в соответствии с принципами, аналогичными тем, которые управляют нагревателями, указанными в настоящем описании. [0096] Иллюстративная реакционная камера в микрофлюидной подложке, как правило, камера или канал, имеющий объем, имеет длинную сторону и короткую сторону, каждая из которых имеет соответствующий нагревательный элемент. В настоящем описании реакционная камера также может называться ПЦР-реактором, а область картриджа, в которой расположена реакционная камера, может называться зоной. Подложка нагревателя в этом неограничивающем примере включает в себя четыре нагревателя, расположенные по бокам данной реакционной камеры и предназначенные для нагрева: длинный верхний нагреватель, длинный нижний нагреватель, короткий левый нагреватель и короткий правый нагреватель. Небольшой зазор между длинным верхним нагревателем и длинным нижним нагревателем приводит к незначительному температурному градиенту (разница менее 1°С по ширине реакционной камеры в любой точке по длине реакционной камеры) и, следовательно, к эффективной равномерной температуре по всей длине реакционной камеры. Нагреватели на коротких краях реакционной камеры обеспечивают нагрев для противодействия градиенту, создаваемому двумя длинными нагревателями от центра реактора к краю реактора. [0097] Специалисту в данной области техники должно быть понятно, что и другие конфигурации одного или более нагревателей, расположенных вокруг реакционной камеры, согласуются с указанными в настоящем описании способами и устройствами. Например, «длинная» сторона реакционной зоны может быть выполнена с возможностью нагрева двумя или более нагревателями. Специальные ориентации и конфигурации нагревателей применяют для создания однородных зон нагрева даже на подложках с плохой теплопроводностью, поскольку низкую теплопроводность стеклянных, кварцевых, полиимидных, FR4, керамических или плавленых кварцевых подложек применяют для обеспечения независимой работы различных микрофлюидных компонентов, таких как клапаны (если они присутствуют в картридже), и независимой работы различных дорожек для проб. Кроме того, специалисту в данной области техники должно быть понятно, что принципы, лежащие в основе конфигурации нагревателей вокруг реакционной зоны, аналогичным образом применимы к расположению нагревателей рядом с другими компонентами микрофлюидного картриджа, такими как исполнительные механизмы, клапаны и заслонки (если они присутствуют в картридже). [0098] На Фиг. 38 показан набор нагревательных наборов нагревательного устройства, выполненного с возможностью подачи тепла к микрофлюидным картриджам в соответствии с настоящим изобретением. Например, на Фиг. 38А показан набор нагревателей, выполненный с возможностью подачи тепла к микрофлюидному картриджу, который включает 24 дорожки для проб. На Фиг. 38В показан вид с пространственным разделением деталей одного набора, выполненного с возможностью подачи тепла к одной реакционной камере картриджа с дорожками для 24 проб, включая нагреватели, которые пропускают ток во время работы, и датчики температуры. [0099] В некоторых вариантах осуществления изобретения источники тепла управляются компьютерным процессором и приводятся в действие в соответствии с желаемым протоколом. Процессоры, предназначенные для работы с микрофлюидными устройствами, описаны, например, в заявке на патент США №12/173023, озаглавленной «Интегрированное устройство для проведения экстракции нуклеиновых кислот и диагностического исследования на нескольких биологических пробах», поданной 14 июля 2008 г., и данная заявка полностью включена в настоящую заявку посредством ссылки. Процессор, такой как микропроцессор, выполнен с возможностью управления функциями различных компонентов системы, как показано, и, таким образом, связан с каждым таким компонентом, требующим управления. Следует понимать, что многие такие функции управления могут необязательно выполняться вручную, а не под управлением процессора. Кроме того, порядок, в котором далее описаны различные функции, не ограничивает порядок, в котором процессор выполняет инструкции при работе устройства. Таким образом, процессор может быть выполнен с возможностью получения данных об анализируемой пробе, например, от считывателя проб, который может быть считывателем штрих-кода, считывателем оптических символов или сканером типа RFID (считывателем радиочастотных меток). Также следует понимать, что, хотя один процессор описывается как управляющий всеми операциями, такие операции могут быть распределены, как удобно, более чем между одним процессором. [0100] Процессор может быть выполнен с возможностью приема пользовательских инструкций от ввода, где такие инструкции могут включать в себя инструкции для начала анализа пробы, и выбора рабочих условий. В различных вариантах осуществления изобретения ввод может включать в себя одно или более устройств ввода, но не ограничиваясь ими, таких как: клавиатура, сенсорная поверхность, микрофон, трекпад, сканер сетчатки глаза, голографическая проекция устройства ввода и мышь. [0101] Процессор также может быть выполнен с возможностью связи с дисплеем, так что, например, информация об анализе передается на дисплей и тем самым сообщается пользователю системы. Такая информация включает в себя, но не ограничивается ими: текущее состояние устройства; ход термоциклирования ПЦР; и предупреждающее сообщение в случае неисправности системы или картриджа. Кроме того, процессор может передавать один или более вопросов для отображения на дисплее, которые побуждают пользователя вводить данные в ответ на них. Таким образом, в некоторых вариантах осуществления изобретения ввод и отображение интегрированы друг с другом. [0102] Процессор может быть дополнительно необязательно выполнен с возможностью передачи результатов анализа на устройство вывода, такое как принтер, визуальный дисплей, дисплей, который использует голографическую проекцию, динамик или их комбинацию. [0103] Процессор может быть дополнительно необязательно подключен через интерфейс связи, такой как сетевой интерфейс, к компьютерной сети. Интерфейсом связи может быть один или более интерфейсов, выбранных из группы, состоящей из: последовательного соединения, параллельного соединения, беспроводного сетевого соединения, USB-соединения и проводного сетевого соединения. Таким образом, когда система надлежащим образом адресована в сети, удаленный пользователь может получить доступ к процессору и передать инструкции, ввести данные или получить данные, например, которые могут быть сохранены в памяти (не показана), связанной с процессором, или на каком-либо другом машиночитаемом носителе, связанным с процессором. Таким образом, интерфейс может также разрешать извлечение данных в удаленное местоположение, такое как персональный компьютер, персональный цифровой помощник или сетевое запоминающее устройство, такое как компьютерный сервер или ферма дисков. Кроме того, устройство может быть выполнено таким образом, чтобы пользователь мог отправлять результаты анализа по электронной почте непосредственно какой-либо другой стороне, например, поставщику медицинских услуг, диагностическому центру или пациенту. [0104] Кроме того, в различных вариантах осуществления изобретения устройство может дополнительно содержать носитель данных, выполненный с возможностью приема данных от одного или более процессоров, устройство ввода и интерфейс связи, причем носитель данных представляет собой один или более носителей, выбранных из группы, состоящей из: жесткого диска, накопителя на оптических дисках, флэш-карты и компакт-диска. [0105] Процессор может быть дополнительно выполнен с возможностью управления различными аспектами пробоподготовки и диагностики, как кратко изложено ниже и дополнительно подробно указано в настоящем описании. Микрофлюидный картридж 200, 300 выполнен с возможностью работы в сочетании с комплементарной стойкой (не показана). Сама стойка выполнена, как дополнительно указано в настоящем описании, с возможностью приема ряда биологических проб в форме, подходящей для обработки и диагностического анализа, и ряда держателей, оснащенных различными реагентами, наконечниками для пипеток и емкостями. Стойка выполнена таким образом, чтобы во время клинического исследования пробы пациента проба обрабатывалась в соответствующих держателях, при этом обработка включала независимое нагревание и охлаждение с помощью нагревательного узла. Процессор может управлять функциями обогрева нагревательного узла. Нагревательный узел работает совместно с сепаратором, таким как магнитный сепаратор, который также может управляться процессором для перемещения в и из непосредственной близости от одной или более камер обработки, связанных с держателями, в которых присутствуют такие частицы, как магнитные частицы. [0106] Дозатор для жидкости (не показан), которым аналогичным образом может управлять процессор, предназначен для выполнения различных операций всасывания и дозирования соответствующих проб, жидкостей и реагентов в держателях для достижения экстракции нуклеиновой кислоты из проб. Дозатор для жидкости может выполнять такие операции на нескольких держателях одновременно. Считыватель проб выполнен с возможностью передачи процессору идентифицирующих признаков пробы и, в некоторых случаях, держателя. В некоторых вариантах осуществления изобретения устройство для считывания проб прикреплено к дозатору для жидкости и, таким образом, может считывать идентифицирующие признаки пробы, над которой расположен дозатор жидкости. В других вариантах осуществления изобретения устройство для считывания проб не прикреплено к дозатору для жидкости и может перемещаться независимо под управлением процессора. Дозатор для жидкости также выполнен с возможностью отбора аликвот жидкости, содержащей нуклеиновую кислоту, экстрагированную из одной или более проб, и направления их в приемную секцию, в который расположен микрофлюидный картридж 200, 300. Приемная секция сообщается с нагревателем или набором нагревателей, которые могут управляться процессором таким образом, что определенные области картриджа нагреваются во время анализа в определенные моменты времени. Таким образом, дозатор для жидкости выполнен с возможностью отбора аликвот жидкости, содержащей нуклеиновую кислоту, экстрагированную из одной или более проб, и направления их к соответствующим впускным отверстиям в микрофлюидном картридже. Картридж предназначен для амплификации соответствующих нуклеиновых кислот, например, путем проведения ПЦР. Процессор также выполнен с возможностью управления детектором, который получает отметку о диагностике от картриджа. Результат диагностики может быть передан на устройство вывода и/или дисплей, как описано выше. [0107] Отвечающий требованиям процессор может быть спроектирован и получен согласно, соответственно, принципам проектирования и способам обработки полупроводников, известным в данной области техники. В некоторых вариантах осуществления изобретения устройство содержит секцию, выполненную с возможностью выборочного размещения микрофлюидного картриджа; по меньшей мере один источник тепла, термически связанный с секцией и соединенный с процессором, как дополнительно указано в настоящем описании, при этом источник тепла выполнен с возможностью нагрева отдельных дорожек для проб в картридже, и процессор выполнен с возможностью управления подачей тепла к отдельным дорожкам для проб по отдельности, одновременно или одновременно к группам. При применении картридж 200, 300, как правило, термически связан с набором источников тепла, выполненных с возможностью работы компонентов (например, клапанов, заслонок и технологической зоны) устройства. В некоторых вариантах осуществления источники тепла управляются операционной системой, которая управляет устройством во время применения. Операционная система включает в себя процессор (например, компьютер), выполненный с возможностью приведения в действие источников тепла в соответствии с требуемым протоколом. В некоторых вариантах осуществления изобретения датчики температуры предпочтительно выполнены с возможностью передачи процессору информации о температуре поблизости от них в то время, когда на нагреватели не подается ток, вызывающий их нагрев. Это может быть достигнуто при соответствующем контроле текущих циклов. [0108] Как указано в настоящем описании, приложение давления может облегчить контакт между микрофлюидным картриджем и источниками тепла набора нагревателей. В некоторых вариантах осуществления изобретения давление может составлять около 1 psi (7 кПа). Давление достаточно для улучшения контакта между картриджем и источниками тепла, чтобы способствовать достижению лучшего теплового контакта между источниками тепла и принимающими тепло частями картриджа. В некоторых вариантах осуществления изобретения давление может препятствовать расширению нижнего слоя ламината 304, как в случае, если ПЦР-канал частично заполнен жидкостью, а захваченный воздух термически расширяется во время термоциклирования. [0109] Каждую реакционную камеру нагревают в течение серии циклов для проведения амплификации нуклеотидов в пробе в соответствии с протоколом амплификации. Во время производства внутренние стенки канала в ПЦР-реакторе, как правило, делают очень гладкими и полируют до блеска. Это делают для того, чтобы свести к минимуму любые микроскопические количества воздуха, захваченного на поверхности ПЦР-канала, который может вызвать образование пузырьков во время стадий термоциклирования. Наличие пузырьков, особенно в области детектирования ПЦР-канала, также может привести к ложным или неточным показаниям при наблюдении за ходом ПЦР. [0110] Ссылаясь на Фиг. 1А, реакционные камеры могут иметь такие размеры (например, малую глубину), что градиент температуры по глубине канала минимален. Ссылаясь на Фиг. 2А, для размещения, например, более крупных ПЦР-проб реакционные камеры глубже и шире. В иллюстративном варианте осуществления изобретения, показанном на Фиг. 2А, более широкие и глубокие лунки могут потребовать увеличения теплового контакта между картриджем и подложкой нагревателя, чтобы гарантировать минимизацию температурного градиента по глубине канала, тем самым обеспечивая оптимальную термическую однородность и улучшая ПЦР-амплификацию. В некоторых вариантах осуществления изобретения сжимаемая контактная площадка 314 позволяет применять более широкие и глубокие лунки за счет улучшения распределения давления и, следовательно, увеличения контакта между микрофлюидным картриджем и подложкой нагревателя. [0111] В некоторых вариантах осуществления изобретения область подложки 302 над реакционной камерой может представлять собой утонченную секцию для уменьшения тепловой массы и автофлуоресценции пластика в подложке. Также в настоящем описании указано, что метка 306 может включать в себя окна 320, и сжимаемая контактная площадка 314 может включать в себя окна 324, обеспечивающие визуализацию реакционных камер и передачу света в реакционные камеры и из них. Конструкция картриджа 300 позволяет оптическому детектору более надежно отслеживать ход реакции, а также детектировать флуоресценцию зонда, который связывается с определенным количеством амплифицированного нуклеотида. В некоторых вариантах осуществления изобретения область подложки 302 может быть получена из более тонкого материала, чем остальная часть подложки 302, чтобы уменьшить блики, автофлуоресценцию и чрезмерное поглощение флуоресценции. [0112] Как указано в настоящем описании, микрофлюидные картриджи могут быть выполнены с возможностью размещения в дополнительной приемной секции в устройстве, содержащем нагревательный блок. Неограничивающие примеры нагревательных блоков проиллюстрированы на Фиг. 5А и Фиг. 5B-5D. Нагревательный блок выполнен с возможностью доставки тепла в определенное время к определенным областям картриджа, включая, помимо прочего, одну или более реакционных камер. В некоторых вариантах осуществления изобретения устройство равномерно контролирует нагрев области микрофлюидной сети. В иллюстративном варианте осуществления изобретения несколько нагревателей могут быть выполнены с возможностью одновременного и равномерного нагрева одной области микрофлюидного картриджа, такой как реакционная ПЦР-камера. В других вариантах осуществления изобретения части разных дорожек для проб нагреваются одновременно и независимо друг от друга. [0113] Микрофлюидный картридж 300 может содержать элемент 316 совмещения, который подходит к дополнительному элементу приемной секции. Элемент 316 совмещения может быть, например, вырезом на краю картриджа 300, и приемная секция может включать в себя элемент, дополняющий элемент 316 совмещения. Выборочно принимая картридж, приемная секция может способствовать размещению картриджа таким образом, чтобы устройство могло правильно работать с данным картриджем. [0114] Приемная секция также может быть сконфигурирована таким образом, чтобы источники тепла устройства, которые работают с микрофлюидным картриджем 300, располагались на нем для надлежащего функционирования. Например, контактный источник тепла может быть расположен в приемной секции таким образом, чтобы он мог быть термически связан с одним или более отдельными участками на микрофлюидном картридже 300, который избирательно принимается в секции. Микронагреватели в нагревательном модуле, как дополнительно указано в настоящем описании, выровнены с соответствующими требующими тепла микрокомпонентами (такими как клапаны, насосы, заслонки, реакционные камеры и т.д.). Микронагреватели, упорядоченные в наборе для подачи тепла к определенной области картриджа 300, могут быть спроектированы таким образом, чтобы они были немного больше, чем требующие тепла микрофлюидные компоненты, так что, даже если картридж смещен от центра набора нагревателей, отдельные компоненты могут по-прежнему эффективно функционировать. [0115] Как дополнительно указано в другом месте настоящего описания, нижняя поверхность картриджа может содержать слой механически податливого теплопередающего ламината 304, который может обеспечить тепловой контакт между микрофлюидным картриджем 300 и подложкой нагревателя нагревательного модуля. В некоторых вариантах осуществления изобретения, как указано в настоящем описании, для надежной работы реакционных камер, присутствующих в микрофлюидном картридже, можно применять минимальное давление, такое как давление 1 psi (7 кПа). [0116] Ссылаясь на Фиг. 3 реакционная ПЦР-камера (например, реакционная камера глубиной 150 мкм и шириной 700 мкм) показана в слое подложки 302 картриджа 300. Слой ламината 304 картриджа (например, толщиной 125 мкм) находится непосредственно под реакционной ПЦР-камерой. В некоторых вариантах осуществления изобретения область подложки 302 может быть получена из более тонкого материала, чем остальная часть подложки 302, чтобы позволить реакционной ПЦР-камере быть более чувствительной к циклу нагрева (например, для быстрого нагрева и охлаждения между температурами, подходящими для стадий денатурации и ренатурации). Нагреватели расположены в нагревательном модуле непосредственно под слоем ламината 304, когда нагревательный модуль принимает картридж. [0117] В некоторых вариантах осуществления изобретения каждая реакционная камера имеет длинную сторону и короткую сторону. Каждая из сторон соответствует соответствующему нагревательному элементу, расположенному в подложке нагревателя. Таким образом, подложка нагревателя включает в себя четыре нагревателя, расположенных по бокам реакционной ПЦР-камеры и предназначенных для нагревания: длинный верхний нагреватель, длинный нижний нагреватель, короткий левый нагреватель и короткий правый нагреватель. В некоторых вариантах осуществления изобретения небольшой зазор между длинным верхним нагревателем и длинным нижним нагревателем приводит к незначительному температурному градиенту (разница менее 1°С по ширине ПЦР-канала в любой точке по длине реакционной ПЦР-камеры) и, следовательно, эффективно равномерной температуре во всей реакционной ПЦР-камере. Нагреватели на коротких краях ПЦР-реактора обеспечивают нагрев для противодействия градиенту, создаваемому двумя длинными нагревателями от центра реактора к краю реактора. Специалисту в данной области должно быть понятно, что и другие конфигурации одного или более нагревателей, расположенных вокруг реакционной ПЦР-камеры, согласуются с указанными в настоящем описании способами и устройствами. Например, «длинная» сторона реакционной камеры может нагреваться двумя или более нагревателями. [0118] Источником тепла может быть, например, резистивный нагреватель или сеть резистивных нагревателей. В некоторых вариантах осуществления изобретения по меньшей мере один источник тепла представляет собой контактный источник тепла, выбранный из резистивного нагревателя (или его сети), радиатора, жидкостного теплообменника и устройства Пельтье. Контактный источник тепла может быть сконфигурирован в приемной секции таким образом, чтобы он был термически связан с одним или более отдельными участками микрофлюидного картриджа, размещенного в приемной секции, в результате чего нагрев отдельных участков происходит выборочно. Контактный источник тепла, как правило, включает в себя множество контактных источников тепла, каждый из которых сконфигурирован в приемной секции так, чтобы быть независимо термически связанным с другим отдельным участком в микрофлюидном картридже, размещенном в нем, в результате чего нагрев отдельных участков происходит независимо. Контактные источники тепла могут быть выполнены с возможностью прямого физического контакта с одним или более отдельными участками микрофлюидного картриджа, установленного в секции. В различных вариантах осуществления изобретения каждый нагреватель с контактным источником может быть выполнен с возможностью нагрева отдельного участка со средним диаметром в 2 измерениях от около 1 миллиметра (мм) до около 15 мм (как правило, от около 1 мм до около 10 мм), или отдельного участка с площадью поверхности от около 1 мм2 до около 225 мм2 (как правило, от около 1 мм2 до около 100 мм2 или в некоторых вариантах осуществления изобретения от около 5 мм2 до около 50 мм2). Различные конфигурации источников тепла дополнительно описаны в заявке на патент США №11/940315, озаглавленной «Нагревательный блок для микрофлюидной диагностической системы», поданной 14 ноября 2017 г., которая полностью включена в настоящую заявку посредством ссылки. [0119] В некоторых вариантах осуществления изобретения нагреватели представляют собой определенные с помощью фотолитографии и протравленные металлическими слоями золота (как правило, толщиной около 3000 Å). Слои 400 Å TiW могут быть нанесены сверху и снизу слоя золота, чтобы служить в качестве адгезионного слоя. В некоторых вариантах осуществления изобретения подложка нагревателя представляет собой стекло, плавленый кварц или кварцевую пластину толщиной 0,4 мм, 0,5 мм, 0,7 мм или 1 мм. В некоторых вариантах осуществления изобретения тонкий электроизоляционный слой из оксида кремния толщиной 2 мкм служит изолирующим слоем поверх металлического слоя. В некоторых вариантах осуществления изобретения поверх поверхности оксида кремния также могут быть нанесены дополнительные тонкие электроизоляционные слои, такие как 2-4 мкм слои парилена. В некоторых вариантах осуществления изобретения два длинных нагревателя и два коротких нагревателя расположены рядом и окружают зону, соответствующую каждой реакционной ПЦР-камере. Иллюстративный набор нагревателей описан в заявке на патент США №11/940315, озаглавленной «Нагревательный блок для микрофлюидной диагностической системы», поданной 14 ноября 2017 г., описание которой полностью включено в настоящую заявку посредством ссылки. [0120] Специальные ориентации и конфигурации нагревателей применяют для создания однородных зон нагрева даже на подложках с плохой теплопроводностью. Подложка нагревателя может быть получена из различных материалов, включая подложки из стекла или кварца, полиимида, FR4, керамики или плавленого кварца. Нагревательный модуль применяют для обеспечения независимой работы различных микрофлюидных компонентов, таких как реакционные ПЦР-камеры, и независимой работы различных дорожек для проб. Конфигурация для равномерного нагрева для одной реакционной ПЦР-камеры может быть применена к многорядовому ПЦР-картриджу, в котором протекают несколько независимых ПЦР-реакций. В других вариантах осуществления изобретения, как дополнительно описано в заявке на патент США №11/940315, озаглавленной «Нагревательный блок для микрофлюидной диагностической системы» и поданной 14 ноября 2007 г., нагреватели могут содержать связанный датчик температуры или сами могут функционировать как датчики. [0121] Как правило, нагрев микрофлюидных компонентов, таких как реакционная ПЦР-камера, регулируют путем пропускания токов через соответствующим образом сконфигурированные микронагреватели. Затем под управлением подходящей схемы можно управлять дорожками для проб многорядового картриджа независимо друг от друга. Это может привести к большей энергоэффективности устройства, поскольку не все нагреватели нагреваются одновременно, а данный нагреватель получает ток только в тот промежуток времени, когда требуется нагрев. Системы управления и способы регулируемого нагрева различных нагревательных элементов дополнительно описаны в заявке на патент США №11/940315, озаглавленной «Нагревательный блок для микрофлюидной диагностической системы», поданной 14 ноября 2007 г. [0122] Пример характеристик термоциклирования в реакционной ПЦР-камере, полученный с конфигурацией, указанной в настоящем описании, может включать протокол, который настроен на нагрев реакционной смеси до 92°С и поддержание температуры в течение 1 секунды, затем охлаждение до 62°С и поддержание в течение 10 секунд. Показанное время цикла составляет около 29 секунд, при этом 8 секунд требуется для нагревания от 62°С и стабилизации при 92°С, и 10 секунд требуется для охлаждения от 92°С и стабилизации при 62°С. Чтобы свести к минимуму общее время, необходимое для эффективной ПЦР для получения обнаруживаемых количеств амплифицированного материала, важно минимизировать время, необходимое для каждого цикла. Предпочтительное время цикла находится в диапазоне 15-30 секунд, например, 18-25 секунд и 20-22 секунды. В целом среднее время цикла ПЦР составляет 25 секунд, и время цикла всего 20 секунд является типичным для данной технологии, указанной в настоящем описании. В некоторых неограничивающих примерах применение реакционных объемов меньше микролитра (например, более сотен нанолитров или меньше) позволяет применять соответствующую ПЦР-камеру меньшего размера и позволяет сократить время цикла до 15 секунд. [0123] Ниже следует описание неограничивающих примеров оптических детекторов, пригодных для применения с микрофлюидными картриджами настоящей технологии. Со ссылкой на Фиг. 6 показан вариант осуществления оптического детектора 500. Как описано выше, нагревательный модуль 400 расположен под микрофлюидным картриджем 300. В некоторых вариантах осуществления изобретения теплопроводный, механически податливый слой, такой как сжимаемая контактная площадка 314, может находиться на границе раздела между микрофлюидным картриджем 300 и оптическим детектором 500. Как правило, микрофлюидный картридж 300 и нагревательный модуль 400 могут быть плоскими на своих соответствующих поверхностях сопряжения, например, плоскими в пределах около 100 микрон или чаще в пределах около 25 микрон. Сжимаемая контактная площадка 314 может улучшить тепловой контакт между микрофлюидным картриджем 300 и нагревательным модулем 400. Оптический детектор 500 может быть расположен над верхней поверхностью микрофлюидного картриджа 300. [0124] В различных вариантах осуществления изобретения устройство может дополнительно включать в себя один или более силовых элементов, выполненных с возможностью приложения силы по меньшей мере к части микрофлюидного картриджа 300, размещенной в приемной секции 402, содержащей один или более источников тепла. В неограничивающем варианте осуществления изобретения, показанном на Фиг. 6, силовой элемент включает в себя рычажный узел 502, связанный с оптическим детектором 500. В некоторых вариантах осуществления изобретения система основана на приложении давления к картриджу 300. Нижняя поверхность оптического детектора 500 может быть выполнена плоской (например, в пределах 250 микрон, как правило, в пределах 100 микрон, чаще в пределах 25 микрон), и нижняя поверхность может давить на картридж 300. Картридж 300 может включать в себя сжимаемую контактную площадку 314. Следовательно, оптический детектор 500 может сжимать картридж 300, тем самым создавая давление и, следовательно, тепловой контакт с подложкой нагревателя нагревательного модуля 400, более или менее равномерный по всему микрофлюидному картриджу 300. [0125] Следует понимать, что настоящая технология не ограничивается оптическим детектором, включающим в себя рычажный узел 502. Соответствующим образом могут быть реализованы другие силовые элементы. В одном примере автоматизированную платформу, включающую оптический детектор 500, опускают на микрофлюидный картридж 300 и прижимают к нему, при этом микрофлюидный картридж 300 помещают в приемную секцию, которая остается неподвижной. Движение автоматизированной платформы можно контролировать процессором диагностического инструмента. В другом примере автоматизированную платформу, включающую в себя приемную секцию 402 (и микрофлюидный картридж 300), поднимают и прижимают к нижней поверхности оптического детектора 500, при этом оптический детектор 500 остается неподвижным. Движение автоматизированной платформы можно контролировать процессором диагностического инструмента. [0126] Соответственно, варианты осуществления диагностического устройства в соответствии с настоящей технологией выполнены с возможностью приложения силы для теплового контакта по меньшей мере одного источника тепла с по меньшей мере частью микрофлюидного картриджа 300. Приложение силы важно для обеспечения постоянного теплового контакта между нагревательным модулем 400 и реакционной ПЦР-камерой в микрофлюидном картридже 300. В некоторых вариантах осуществления изобретения рычажный узел 502, аналогичный механический силовой элемент или автоматизированная платформа могут создавать усилие (например, 5-500 Н, как правило, около 200 Н-250 Н) для создания давления (например, 2 psi (14 кПа)) над верхней частью или частью верхней части микрофлюидного картриджа 300. В вариантах осуществления изобретения, в которых оптический детектор 500 перемещается над стационарной приемной секцией 402, механические элементы оптического детектора 500 могут оказывать давление на микрофлюидный картридж 300 после того, как оптический детектор 500 находится в нужном положении, в результате чего реакционные камеры находятся в лучшем тепловом контакте с нагревательным модулем 400. Таким образом, позиционирование оптического детектора 500 может оказывать давление на картридж 300. В вариантах осуществления изобретения, в которых приемная секция 402 перемещается ниже стационарного оптического детектора 500, механические элементы приемной секции 402 могут прижиматься к микрофлюидному картриджу 300 после того, как приемная секция 402 находится в нужном положении, в результате чего реакционные камеры находятся в лучшем тепловом контакте с нагревательным модулем 400. Таким образом, позиционирование приемной секции 402 может оказывать давление на картридж 300. [0127] Предусмотрены и другие конфигурации приложения давления к картриджу 300 для улучшения термической однородности и эффективности ПЦР, включая приложение давления с другим компонентом диагностического инструмента. В иллюстративном варианте осуществления изобретения к верхней поверхности картриджа 300 прикладывают давление, и нагревательный модуль 400 размещают под картриджем 300, однако предусмотрены и другие конфигурации. [0128] Оптический детектор 500 может включать в себя источник света, который избирательно излучает свет в полосе поглощения флуоресцентного красителя, и фотодетектор, который избирательно детектирует свет в полосе излучения флуоресцентного красителя, при этом флуоресцентный краситель соответствует флуоресцентному полинуклеотидному зонду или его фрагменту. Альтернативно, например, оптический детектор 500 может включать в себя диод с полосно-пропускающим фильтром, который избирательно излучает свет в полосе поглощения флуоресцентного красителя, и фотодиод с полосно-пропускающим фильтром, который избирательно детектирует свет в полосе излучения флуоресцентного красителя. Оптический детектор 500 может быть выполнен с возможностью независимого детектирования множества флуоресцентных красителей, имеющих разные спектры флуоресцентного излучения, при этом каждый флуоресцентный краситель соответствует флуоресцентному полинуклеотидному зонду или его фрагменту. Оптический детектор 500 может быть выполнен с возможностью независимого детектирования множества флуоресцентных красителей во множестве различных участков микрофлюидного картриджа, при этом каждый флуоресцентный краситель соответствует флуоресцентному полинуклеотидному зонду или его фрагменту в другой пробе. Оптический детектор 500 также может быть выполнен с возможностью детектирования присутствия или отсутствия исследуемого аналита в пробе в реакционной ПЦР-камере на заданной дорожке для проб и для обусловливания инициирования термоциклирования при положительном детектировании присутствия пробы. В некоторых вариантах осуществления изобретения картридж и устройство сконфигурированы таким образом, что считывающая головка оптического детектора 500 не закрывает впускные отверстия для проб, что позволяет загружать отдельные пробы, в то время как другие пробы подвергаются ПЦР-термоциклированию. Дальнейшее описание детекторов с соответствующей конфигурацией указано в заявке на патент США №11/940321, озаглавленной «Флуоресцентный детектор для микрофлюидной диагностической системы», поданной 14 ноября 2007 г., которая полностью включена в настоящую заявку посредством ссылки. Настоящая технология предусматривает флуоресцентный детектор, который выполнен с возможностью детектирования света, излучаемого для зондовой характеристики полинуклеотида. Полинуклеотид подвергается амплификации в микрофлюидном канале, с которым детектор находится в оптической связи. Детектор выполнен с возможностью детектирования мельчайших количеств полинуклеотидов, которые могут содержаться в микрофлюидном объеме. Детектор также может быть мультиплексирован, чтобы обеспечить одновременное выполнение нескольких одновременных измерений нескольких полинуклеотидов. [0129] Хотя различные иллюстративные описания в настоящем документе описывают подложку нагревателя, расположенную под микрофлюидным картриджем, и детектор, расположенный сверху микрофлюидного картриджа, следует понимать, что перевернутая конфигурация также будет работать. В таком варианте осуществления изобретения нагреватель должен быть прижат к микрофлюидной подложке, вступая с ней в контакт, а детектор должен быть установлен под подложкой, чтобы излучать свет вверх к микрофлюидному картриджу и собирать свет, выходящий из микрофлюидного картриджа, вниз к детектору. [0130] Сжимаемая контактная площадка 314 может обеспечить множество преимуществ, как указано в настоящем описании. Сжимаемая контактная площадка 314 для микрофлюидного картриджа 300 может быть предназначена для улучшения распределения давления, например, для улучшения распределения давления нижней поверхности детектора по верхней поверхности микрофлюидного картриджа и, следовательно, распределения прикладываемого давления через нижнюю поверхность микрофлюидного картриджа приемной секции. Сжимаемая контактная площадка 314 для микрофлюидного картриджа 300 может быть разработана для повышения термической однородности, например, для улучшения равномерного контакта между картриджем и нагревательным модулем. Сжимаемая контактная площадка 314 для микрофлюидного картриджа 300 может быть разработана для улучшения ПЦР-амплификации, например, путем облегчения равномерного нагревания более широких и/или более глубоких реакционных камер. [0131] Как указано выше, в некоторых вариантах осуществления изобретения сжимаемую контактную площадку 314 приклеивают поверх микрофлюидного картриджа 300. Картридж 300 может включать в себя подложку 302, полученную из циклоолефинового полимера (СОР), как указано в настоящем описании. Картридж 300 может включать в себя двадцать четыре микрофлюидные реакционные камеры, выполненные с возможностью содержания молекулярного материала для ПЦР-амплификации. Для ПЦР-амплификации требуется нагревание и охлаждение жидкости в каждой реакционной камере до определенных температур за заданное время. При применении картридж 300 помещают поверх подложки нагревателя. В некоторых вариантах осуществления изобретения подложка нагревателя представляет собой поверхность с расположенными под ней нагревателями. При применении прикладывают сжимающую нагрузку, чтобы плотно удерживать картридж 300 между нагревательным модулем 400 и оптическим детектором 500. Оптический детектор 500 может иметь жесткую поверхность, включая жесткую металлическую поверхность. Сжимающая нагрузка, применяемая в вариантах осуществления настоящей технологии, обеспечивает физический контакт между картриджем 300 и нагревательным модулем 400, включая оптимально распределенный физический контакт между картриджем 300 и нагревательным модулем 400. В некоторых вариантах осуществления изобретения тепло передается от нагревателей к текучей среде в картридже 300 посредством теплопроводности или прямого контакта с нагревателем. [0132] Из-за шероховатости поверхности, механических изменений и/или присущих материалу неровностей жесткие поверхности микрофлюидного картриджа 300 и жесткая поверхность нагревательного модуля 400, которые сведены вместе, не могут обеспечить достаточную плоскостность для оптимального контакта друг с другом. В некоторых вариантах осуществления изобретения сжимаемая контактная площадка 314 включает в себя сильно сжимаемый материал, который приклеен к верхней части картриджа 300. Сжимаемая контактная площадка 314 может улучшить контакт между двумя жесткими поверхностями, внося элемент податливости в жесткую систему. Сжимаемость материала сжимаемой контактной площадки 314 позволяет некоторым областям сжиматься в разной степени по сравнению с другими. Это дифференциальное сжатие приспосабливается к естественным механическим и вариациям материала поверхности двух поверхностей и приводит к гораздо более равномерному распределению давления по всему картриджу 300. Податливая контактная площадка 314 обеспечивает более равномерный контакт между картриджем 300 и нагревательным модулем 400, тем самым обеспечивая более тщательную и последовательную передачу тепла в каждую из микрофлюидных реакционных камер. [0133] Сжимаемая контактная площадка 314 обеспечивает более равномерный физический контакт и распределение давления между картриджем 300 и нагревательным модулем 400. Это предпочтительно, поскольку равномерное давление приводит к меньшим тепловым потерям, и больше тепла может непосредственно передаваться в картридж 300. Это обеспечивает преимущество, т.к. улучшает однородность нагрева и напрямую влияет на успех и постоянство ПЦР-амплификации в вариантах осуществления настоящей технологии. [0134] Нагреватели в нагревательном модуле 400 обеспечивают перенос тепла к пробам жидкости, помещенным в картридж 300. При сжатии картриджа 300 без сжимаемой контактной площадки к нагревательному модулю 400 некоторые области имеют меньший контакт, чем другие, из-за механического воздействия и изменения поверхности материала, а также внутренней кривизны и искривления поверхности нагревателя и/или поверхности микрофлюидного картриджа. Это приводит к неравномерному распределению давления по картриджу 300. При применении области с более слабым физическим контактом между нагревателями и картриджем 300 будут наблюдаться тепловые потери. Следовательно, в реакционные камеры с более слабым физическим контактом поступает меньше тепла. Это приводит к задержкам и несоответствиям ПЦР-амплификации. Непоследовательный физический контакт может привести к значительной изменчивости результатов анализа в целом. [0135] Варианты осуществления сжимаемой контактной площадки 314 в соответствии с настоящей технологией позволяют некоторым областям контактной площадки сжиматься сильнее, чем другим. Эта сжимаемость приспосабливается к присущим системе механическим и материальным изменениям поверхности и обеспечивает более равномерное распределение давления во всех областях картриджа 300. Сжимаемая контактная площадка 314 может улучшить физический контакт между картриджем 300 и нагревателями в нагревательном модуле 400, снизить тепловые потери и/или улучшить эффективность ПЦР. [0136] Как описано выше, сжимаемая контактная площадка 314 может быть встроена непосредственно в метку 306. Метка 306 может включать в себя верхнюю поверхность для отображения штрих-кода и производственной информации, а также других типов информации. Метка 306 получена из тонкого полиэфирного лицевого материала, который не обладает присущей ему податливостью. В некоторых вариантах осуществления изобретения сжимаемая контактная площадка 314 интегрирована непосредственно в существующую конструкцию метки. Существуют различные способы для достижения этого. В первом неограничивающем примере метка 306 может иметь клейкую нижнюю поверхность, которая может прикрепляться к сжимаемой контактной площадке 314 с образованием интегрированной структуры метка-контактная площадка. Во втором неограничивающем примере информация метки наносится непосредственно на сжимаемый материал, а полиэфирная лицевая сторона метки 306 полностью исключается. В некоторых вариантах осуществления изобретения интеграция совместимого материала непосредственно в существующую метку может уменьшить расслаивание по сравнению с другими вариантами осуществления и может быть легко внедрена в существующий производственный процесс и системы цепочек поставок. На Фиг. 3 показан вариант осуществления первого неограничивающего примера, описанного выше, в котором сжимаемая контактная площадка 314 приклеена к верхней части ПНР-картриджа 300, а белая метка 306 картриджа прикреплена к верхней части сжимаемой контактной площадки 314. Метка 306 отогнута, чтобы можно было легко рассмотреть конструкцию. [0137] В некоторых вариантах осуществления изобретения сжимаемая контактная площадка 314 представляет собой полностью отдельную сжимаемую контактную площадку и не образует неотъемлемую часть окончательно полученного микрофлюидного картриджа. Сжимаемая контактная площадка 314 может реверсивно контактировать с картриджем 300, например, на верхней поверхности 308 картриджа 300. В некоторых вариантах осуществления изобретения сжимаемую контактную площадку накладывают поверх метки 306 картриджа 300 (данный вариант осуществления изобретения не показан на Фиг. 3А). В некоторых вариантах осуществления изобретения сжимаемая контактная площадка может быть повторно применена после завершения ПЦР-амплификации для нанесения на другой картридж 300. Этот вариант осуществления изобретения демонстрирует такие же улучшения передачи тепловой энергии к реакционным камерам, как и другие варианты осуществления изобретения, раскрытые в настоящем описании. [0138] В некоторых вариантах осуществления изобретения к оптическому считывающему устройству или его поверхности вместо картриджа прикладывают сжимаемую контактную площадку (вариант осуществления изобретения не показан). Одним из преимуществ этого варианта осуществления изобретения является то, что сжимаемая контактная площадка больше не является частью микрофлюидного картриджа. Как указано в настоящем описании, в некоторых вариантах осуществления изобретения микрофлюидный картридж является одноразовым. В этом варианте осуществления изобретения сжимаемая контактная площадка не образует часть одноразового микрофлюидного картриджа, а вместо этого становится постоянной частью инструмента (где ее применяют повторно несколько раз по мере применения и утилизации каждого картриджа). Сжимаемая контактная площадка в этом варианте осуществления изобретения может обеспечить значительную экономию затрат благодаря возможности повторного применения контактной площадки. В некоторых вариантах осуществления изобретения конструкция оптического детектора 500 может быть переработана или изменена для размещения многоразовой сжимаемой контактной площадки. В некоторых случаях сжимаемую контактную площадку из данного примера заменяют после определенного количества применений или по прошествии определенного времени. Регулярная замена сжимаемой контактной площадки таким образом может обеспечить оптимальные характеристики сжатия контактной площадки, встроенной в инструмент. [0139] Как указано в настоящем описании, термическая однородность по картриджу 300 зависит от физического контакта между картриджем и поверхностью нагревательного модуля 400. В некоторых вариантах осуществления изобретения передача тепла к картриджу 300 может основываться на прямой теплопроводности. Как указано в настоящем описании, существуют присущие поверхности неровности, кривизна и механические изменения в одной или более подложках нагревателя и картридже, две поверхности могут быть не в состоянии обеспечить достаточную плоскостность для оптимального контакта друг с другом. Преимущественно, варианты осуществления настоящей технологии включают сжимаемую контактную площадку 314, которая включает в себя материал с чрезвычайно низким изгибом под действием силы сжатия. Изгиб под действием силы сжатия представляет собой силу, необходимую для сжатия материала на заданное расстояние. Материалы с меньшим изгибом под действием силы сжатия сжимаются легче. Поскольку варианты осуществления сжимаемых контактных площадок в соответствии с настоящим изобретением обладают высокой сжимаемостью, различные части поверхности нагревателя, микрофлюидного картриджа и оптического детектора могут сжиматься немного по-разному в зависимости от того, когда эти компоненты вступают в контакт с другими компонентами. Например, сжимаемая контактная площадка 314 может позволять различным частям нагревательного модуля 400 и/или картриджа 300 сжиматься немного по-разному, в зависимости от того, когда и где впервые происходит контакт между поверхностями. Сжимаемая контактная площадка 314 может придать жесткой системе определенный уровень гибкости. Сжимаемая контактная площадка 314 может подстраиваться под любые внутренние изменения всей системы. Таким образом, сжимаемая контактная площадка 314 может улучшить распределение давления по всему картриджу 300. Таким образом, сжимаемая контактная площадка 314 может помочь обеспечить не только достаточный контакт всех двадцати четырех реакционных камер с нагревателями нагревательного модуля 400, но и оптимальный контакт с нагревателями нагревательного модуля 400. Эта улучшенная термическая однородность может сделать ПЦР-амплификацию более стабильной, уменьшить вариации и улучшить эффективность анализа в целом. [0140] Как указано в настоящем описании, два способа определения характеристик материала включают испытание на твердость посредством дюрометра и испытание на изгиб под действием силы сжатия. Эти способы полезны для определения относительной твердости или стойкости материала. Испытание на твердость посредством дюрометра полезно для измерения твердости твердого материала, например, твердый материал обладает диапазоном твердости. Испытание на изгиб под действием силы сжатия (CFD) может быть полезно для измерения пенистых, губчатых или других нетвердых материалов. Оба типа измерений основаны на руководствах и способах Американского общества по испытанию материалов (American Society for Testing Materials, ASTM), которые полностью включены в настоящую заявку посредством ссылки. [0141] При испытаниях на твердость посредством дюрометра используют шкалу твердости по Шору, например, шкалу твердости по Шору А. Шкалы твердости по Шору коррелируют с применяемым испытательным устройством, в частности, с конфигурацией испытательного индентора, который контактирует с материалом. Индентор прикладывает нагрузку к небольшой точке контакта с материалом. Испытание на твердость посредством дюрометра предполагает, что поверхность материала относительно однородна по твердости относительно тестируемой точки контакта. Различные шкалы твердости по Шору, как правило, используют для разных типов материалов, например, для разных материалов с различной твердостью. Например, шкалу твердости по Шору А, как правило, используют для более мягких эластомерных материалов, а шкалу твердости по Шору D, как правило, используют для более твердых эластомерных материалов. [0142] При испытании на изгиб под действием силы сжатия, напротив, сжимают всю пробу материала, где проба, как правило, составляет около 10 см. Способ включает определение величины напряжения при различных уровнях деформации. Способ позволяет определять твердость или прочность при различных уровнях сжатия. По сравнению с испытанием на твердость посредством дюрометра испытание на изгиб под действием силы сжатия позволяет использовать большую пробу для испытаний, а большая проба может способствовать более точному измерению характеристик материала. [0143] В вариантах осуществления настоящей технологии авторы обнаружили, что испытание на твердость посредством дюрометра, как правило, менее точное, чем испытание на изгиб под действием силы сжатия для определения твердости сжимаемой контактной площадки 314 и, следовательно, для оценки пригодности конкретных материалов сжимаемой контактной площадки для достижения улучшенных результатов ПЦР-теста. Сжимаемая контактная площадка 314 содержит сжимаемый материал, такой как указан в настоящем описании. Твердость этих материалов может зависеть от степени сжатия. Твердость этих материалов может зависеть от участка для испытаний и может варьироваться от одного участка для испытаний к другому. Как указано в настоящем описании, с помощью инденторов для испытаний на твердость посредством дюрометра измеряют только небольшую точку на материале, покрывая небольшую площадь всей поверхности материала. Эта маленькая точка может не отражать большую пробу, в зависимости от материала сжимаемой контактной площадки 314. Напротив, с помощью испытания на изгиб под действием силы сжатия определяют среднюю твердость для пробы большего размера. Испытание на изгиб под действием силы сжатия может позволить определить твердость материала на основе уровня сжатия, характерного для проектируемого приложения. Например, испытание на изгиб под действием силы сжатия может позволить определить твердость материала на основе уровня сжатия, типичного для испытательного устройства, и, в некоторых вариантах осуществления изобретения, уровня сжатия оптического детектора 500, предназначенного для сжатия сжимаемой контактной площадки 314. Как указано в настоящем описании, испытание на изгиб под действием силы сжатия может быть более репрезентативным измерением того, как сжимаемая контактная площадка 314 будет работать при наложении на микрофлюидный картридж 300. ПРИМЕР [0144] Имея общее описание вариантов осуществления настоящей технологии, дальнейшее понимание может быть получено путем ссылки на некоторые конкретные примеры, которые представлены в настоящем документе исключительно в иллюстративных целях и не предназначены для ограничения. [0145] В данном примере описана идентификация материалов для сжимаемой контактной площадки 314. На Фиг. 7А-7С показаны результаты количественного анализа исследуемого аналита без сжимаемой контактной площадки. На Фиг. 8A-8D показаны результаты количественного анализа исследуемого аналита с силиконовой сжимаемой контактной площадкой с низкой твердостью. На Фиг. 9A-9D показаны результаты количественного анализа исследуемого аналита с помощью сжимаемой контактной площадки из пеноматериала типа PORON®. [0146] Как указано в настоящем документе, микрофлюидные картриджи 100, 200, 300 применяют для выполнения протоколов амплификации в пробах, которые были подготовлены для детектирования присутствия или отсутствия многих различных типов исследуемых аналитов. Варианты осуществления автоматизированной тест-системы для молекулярной диагностики, указанные в настоящем документе, подготавливают образец в соответствии с анализом, специфичным для аналита, для получения готовой к ПЦР пробы, которую вводят в микрофлюидный картридж, размещенный в системе. Один пример анализа, специфичного для аналита, включает аналитический тест исследуемого вирусного аналита. Тестирование связано с детектированием исследуемого вирусного аналита с помощью определения молекулярной вирусной нагрузки. Анализ представляет собой анализ типа ОТ-ПЦР (ПЦР с обратной транскрипцией) в реальном времени для количественного определения количества исследуемого вирусного аналита («вирусная нагрузка») в пробе. Как описано выше, анализ проводят на автоматизированной тест-системе для молекулярной диагностики по настоящей технологии. Вирусная нагрузка представляет собой числовое выражение количества вируса в данном объеме. Его выражают в виде вирусных частиц на мл. Более высокая вирусная нагрузка коррелирует с более тяжелой вирусной инфекцией. Количество вируса/мл рассчитывают, оценив количество живого вируса в жидком образце, взятом у пациента. Например, вирусная нагрузка выражена в копиях РНК на миллилитр плазмы крови. Анализ применяют для отслеживания вирусной нагрузки во время антиретровирусной терапии, что позволяет лицам, осуществляющим уход, измерять и оценивать изменения количества вирусного аналита во время лечения. [0147] В анализе данного примера применяют две разные последовательности РНК-калибратора, типа Hi Cal и типа Lo Cal. Последовательность РНК-калибратора («калибратор») представляет собой транскрипт синтетической РНК с известной последовательностью и количеством, который применяют для корректировки результатов измерений. Это отличается от «контроля», стандартной пробы, которая может быть включена в анализ для оценки достоверности результата теста (а не для корректировки результатов теста). Калибратор предназначен для связывания с молекулой с комплементарной последовательностью оснований, также известной как зонд. Этот процесс специфического связывания называют гибридизацией. Во время подготовки пробы известное количество калибратора смешивают с образцом пациента и ПЦР-реагентами. Подготовленную пробу амплифицируют для детектирования и количественного определения нуклеиновых кислот-мишеней (исследуемый вирусный аналит) в пробе. Степень гибридизации между калибратором и его соответствующим зондом применяют для нормализации измерений целевой нуклеиновой кислоты с соответствующим зондом. Калибратор предназначен для амплификации с той же эффективностью, что и нуклеиновая кислота-мишень, и аналогично для реагирования на источники вариации (такие как инструментальные и матричные вариации). В следующих примерах проведено тестирование для измерения количества (как показано посредством измерения типа qCt) и оценки других характеристик (например, ymaxEP) следующих мишеней: калибратора типа Hi Cal, исследуемого вирусного аналита и калибратора типа Lo Cal в тестовых пробах. [0148] Количественное определение нуклеиновой кислоты-мишени в пробе основано на соотношении между флуоресценцией и числом циклов амплификации в логарифмическом масштабе. Количество циклов, при которых флуоресценция превышает заданный порог детектирования, иногда называют порогом цикла (Ct). Во время амплификации количество целевой нуклеиновой кислоты удваивается в каждом цикле. Так, например, пробу, порог цикла которой опережает порог другой пробы на 3 цикла, содержит в 23=8 раз больше целевой нуклеиновой кислоты. При следующем анализе тестирвют два параметра. Первый параметр представляет собой показатель типа qCt, который указывает на первый цикл амплификации, в котором флуоресценцию детектируют в протоколе термоциклирования, включающем множество циклов амплификации. Второй параметр представляет собой показатель типа ymaxEP, который указывает на максимальную единицу флуоресценции в конечной амплитуде покоя после множества циклов амплификации. [0149] Оптимальные объемы проб для вариантов осуществления определения вирусной нагрузки для исследуемого вирусного аналита, указанного в настоящем документе, находятся в диапазоне около 25 мкл (а не около 4 мкл). Как описано выше, такие объемы проб получают, применяя более широкую и глубокую реакционную камеру в версии микрофлюидных картриджей по настоящей технологии с большей толщиной (толщина около 1,68 мм для картриджа с более широкими и более глубокими лунками по сравнению с толщиной картриджа около 1,24 мм). Картридж увеличенной толщины вмещает реакционные ПЦР-камеры увеличенного объема, включая шестикратное увеличение объема, как описано выше. Однако картридж с большей толщиной, применяемый для анализа вирусной нагрузки, приводил к сбоям из-за краевого эффекта (вне дорожек для проб), сбоям из-за обратного краевого эффекта (внутри дорожек для проб) и случайным сбоям. Как указано в настоящем документе, когда сжимаемую контактную площадку 314 добавляли к верхней части картриджа 300, авторы настоящей технологии обнаружили, что результаты определения вирусной нагрузки значительно улучшались. Сжимаемая контактная площадка 314, описанная в настоящем документе, решает долгосрочные проблемы благодаря включению контактной площадки в инструмент или расходный материал (например, микрофлюидный картридж). Сжимаемую контактную площадку 314 рассматривают как решение проблемы эффектов распределения давления, связанных с микрофлюидными картриджами, имеющими лунки увеличенной толщины и увеличенного объема. Хотя в приведенном ниже примере описано решение на основе картриджа, в некоторых вариантах осуществления изобретения сжимаемая контактная площадка, соединенная с оптическим детектором 500, включает в себя любые характеристики указанных в настоящем документе сжимаемых контактных площадок. [0150] В данном примере определение вирусной нагрузки включает картридж 200, как описано в настоящем документе, где картридж 200 имеет более широкие и более глубокие лунки (например, реакционные ПЦР-камеры), чем картридж 100, описанный в настоящем документе. В плане исследования применяют картридж типа Geometry С Prototype, в котором ширина каждой реакционной камеры составляла около 3,5 мм, глубина составляла около 0,83 мм, длина составляла около 10 мм и объем составлял около 25,2 мкл. План исследования включает жидкую «мастер-микс» смесь и картридж, заполняемый тестером вручную (в отличие от автоматического дозатора жидкости). В каждом цикле тестируют как первый блок реакционных камер, так и второй блок реакционных камер картриджа. Выполненный тест представляет собой ПЦР-амплификацию. Тестирование проводилось на 2 инструментах типа BD MAX™ (Becton, Dickinson and Company, Franklin Lakes, NJ). При определении вирусной нагрузки применяли две различные последовательности калибратора РНК, типа Hi Cal и типа Lo Cal. [0151] На Фиг. 7А-7С показаны результаты определения вирусной нагрузки без сжимаемой контактной площадки в соответствии с настоящей технологией. В данном тесте картридж 200 с более широкими и глубокими лунками применяли без сжимаемой контактной площадки. На Фиг. 7А показан количественный анализ целевой нуклеиновой кислоты в пробе. Это иллюстрирует взаимосвязь между флуоресценцией и количеством циклов амплификации в логарифмическом масштабе. По оси X отложен показатель типа qCt, который иллюстрирует скорость изменения флуоресценции. Количество циклов указано по оси Y. Во время термоциклирования, такого как ПЦР, количество целевой нуклеиновой кислоты удваивается в каждом цикле. Каждая цветная линия на графике указывает на отдельную реакционную камеру. Как описано в настоящем документе, микрофлюидный картридж включает в себя 24 дорожки для проб, упорядоченных на 12 дорожках картриджей, где каждая дорожка картриджа соответствует области картриджа 300, которая включает 2 дорожки для проб 312. Каждая дорожка картриджей включает в себя реакционную камеру в первом блоке реакционных камер и реакционную камеру во втором блоке реакционных камер. Показатель типа qCt каждой реакционной камеры на одной и той же дорожке картриджа обозначен одним и тем же цветом на Фиг. 7А. На каждой кривой на Фиг. 7А имеется показатель типа qCt, который указывает на первый цикл амплификации, в котором детектируют флуоресценцию. На каждой кривой на Фиг. 7А продемонстрирован показатель типа ymaxEP, что говорит о максимальной единице флуоресценции в конечной амплитуде покоя после множества циклов. Эти данные также показаны на Фиг. 7В и 7С. [0152] На Фиг. 7В показан индивидуальный показатель типа qCt для каждой реакционной камеры из 24 реакционных камер картриджа 200. На верхнем графике показаны реакционные камеры в первом блоке реакционных камер 226. На нижнем графике показаны реакционные камеры во втором блоке реакционных камер 228. Двенадцать дорожек картриджа указаны на оси Y. Показатель типа qCt, который указывает на первый цикл амплификации, в котором детектируют флуоресценцию, указан на оси X. Показатель типа qCt для Hi Cal довольно постоянен для всех дорожек картриджей, а показатель типа qCt для Lo Cal довольно постоянен для всех дорожек картриджей, хотя присутствуют большие различия в первом блоке, в дорожках 5 и 10 картриджей. Для пробы вирусного аналита наблюдают значительную вариацию в показателе типа qCt, что указывает на то, что первый цикл амплификации, в котором детектируют флуоресценцию, значительно различается среди 24 камер детектирования. Эти различия в реакционных камерах обусловлены многими факторами, такими как вариации поверхности, плохой контакт между картриджем и подложкой нагревателя, плохая сжимаемость картриджа под действием силы и т.д. В частности, реакционные камеры в дорожках 4-10 картриджей из первого блока имеют более высокий показатель типа qCt для исследуемого вирусного аналита, чем реакционные камеры в дорожках 1-3 и 11-12 картриджей из первого блока. В частности, реакционные камеры на дорожках 2, 3, 5, 10 картриджей второго блока имеют более высокий показатель типа qCt для исследуемого вирусного аналита, чем реакционные камеры на дорожках 1, 4, 6-9 и 11-12 картриджей второго блока. [0153] На Фиг. 7С показан ymaxEP для каждой реакционной камеры. На верхнем графике показаны реакционные камеры в первом блоке реакционных камер. На нижнем графике показаны реакционные камеры во втором блоке реакционных камер. Двенадцать дорожек картриджей указаны на оси Y. Показатель типа ymaxEP указывает максимальную единицу флуоресценции в конечной амплитуде покоя после множества циклов. Показатель типа ymaxEP для Hi Cal, показатель типа ymaxEP для Lo Cal и показатель типа ymaxEP для пробы вирусного аналита различаются для реакционных камер. Конечная амплитуда покоя не одинаковая для реакционных камер. Это изменение показателя типа ymaxEP для реакционных камер обусловлено многими факторами, такими как вариации поверхности, плохой контакт между картриджем и подложкой нагревателя, плохая сжимаемость картриджа при приложении силы и т.д. Эта вариация указывает на неэффективность ПЦР-реакции, например, некоторые дорожки картриджей не соответствуют той же максимальной флуоресценции. В частности, реакционные камеры на дорожках 1, 2, 11, 12 картриджей первого блока имеют более высокие показатели типа ymaxEP для исследуемого вирусного аналита, чем реакционные камеры на дорожках 3-10 картриджей первого блока. В частности, реакционные камеры на дорожках 1, 4, 6, 7, 8, 9, 11, 12 картриджей второго блока имеют более высокие показатели типа ymaxEP для исследуемого вирусного аналита, чем реакционные камеры на дорожках 2, 3, 5, 10 картриджей второго блока. Эти базовые характеристики иллюстрируют изменения, которые возникают в микрофлюидном картридже 200, когда сжимаемая контактная площадка по настоящей технологии не применяется. В целом результаты амплификации в реакционных камерах не совпадают.Например, различные реакционные камеры при ПЦР более эффективны, чем другие камеры. На Фиг. 7А-7В данные не плотно сгруппированы, что предполагает большие вариации как в показателе типа qCt, так и в показателе типа ymaxEP. [0154] На Фиг. 8A-8D показаны результаты определения вирусной нагрузки с применением картриджа, в котором применяют силиконовую сжимаемую контактную площадку с низкой твердостью. В качестве твердого силикона с низкой твердостью применяют силикон типа BISCO® НТ-6210 производства Rogers Corporation. На Фиг. 8А показан вариант осуществления силиконовой сжимаемой контактной площадки с низкой твердостью, прикрепленной к верхней части картриджа 200. На Фиг. 8В показан количественный анализ целевой нуклеиновой кислоты в пробе. Это иллюстрирует взаимосвязь между флуоресценцией и количеством циклов амплификации в логарифмическом масштабе. По оси X отложен показатель типа qCt, который иллюстрирует скорость изменения флуоресценции. Ось Y представляет собой количество циклов. На Фиг. 8В данные для начальной амплификации сгруппированы более плотно, чем на Фиг. 7А, что предполагает меньшую вариацию показателя типа qCt для каждой реакционной камеры. На Фиг. 8В данные не плотно сгруппированы, поскольку амплитуды становятся постоянными, что свидетельствовует о широких вариациях показателя типа ymaxEP. [0155] На Фиг. 8С показан индивидуальный показатель типа qCt для каждой реакционной камеры. На верхнем графике показаны реакционные камеры в первом блоке реакционных камер 226. На нижнем графике показаны реакционные камеры во втором блоке реакционных камер 228. Показатель типа qCt для Hi Cal и Lo Cal довольно постоянен для дорожек картриджа. Однако для пробы вирусного аналита имеются различия в показателе типа qCt на дорожках 5 и 7 картриджей первого блока. [0156] На Фиг. 8D показан ymaxEP для каждой реакционной камеры. На верхнем графике показаны реакционные камеры в первом блоке реакционных камер. На нижнем графике показаны реакционные камеры во втором блоке реакционных камер. Показатель типа ymaxEP для Lo Cal и показатель типа ymaxEP для пробы вирусного аналита различаются для реакционных камер в первом блоке. Максимальная флуоресценция в конечной амплитуде покоя после множества циклов непостоянна. В частности, реакционные камеры на дорожках 1-3, 9-12 картриджей первого блока имеют более высокие показатели типа ymaxEP для вирусного аналита и Lo Cal, чем реакционные камеры на дорожках 4-8 картриджей первого блока. Соответственно, сжимаемая силиконовая контактная площадка с низкой твердостью вызывает противоречивые ПЦР-реакции, как показано на графиках. В данном примере с применением силиконовой сжимаемой контактной площадки с низкой твердостью разные реакционные камеры при ПЦР более эффективны, чем другие камеры. [0157] На Фиг. 9A-9D показаны результаты определения вирусной нагрузки с применением картриджа, в котором применяют сжимаемую контактную площадку из пеноматериала типа PORON®. На Фиг. 9А показан вариант осуществления сжимаемой контактной площадки из пеноматериала типа PORON®, прикрепленной к верхней части картриджа 200. Пеноматериал типа PORON® представляет собой пенополиуретан с открытыми порами мелкого шага производства Rogers Corporation. В качестве материала используют ячеистый полиэфирный уретан типа PORON® 4790-92. На Фиг. 9 В показан количественный анализ целевой нуклеиновой кислоты в пробе. Это иллюстрирует взаимосвязь между флуоресценцией и количеством циклов амплификации в логарифмическом масштабе. Ось X представляет собой показатель типа qCt, который иллюстрирует скорость изменения флуоресценции. Ось Y представляет собой количество циклов. На Фиг. 9В данные для начальной амплификации сгруппированы более плотно, чем на Фиг. 7А и 8В, что предполагает меньшую вариацию показателя типа qCt для каждой реакционной камеры. На Фиг. 9В данные для конечной амплификации сгруппированы более плотно, чем на Фиг. 7А и 8В, что предполагает меньшую вариацию показателя типа ymaxEP для каждой реакционной камеры. На Фиг. 9В слева направо первая группа линий относится к Hi Cal, вторая группа линий относится к Lo Cal, и третья группа линий относится к пробе вирусного аналита. [0158] На Фиг. 9С показан индивидуальный показатель типа qCt для каждой реакционной камеры. На верхнем графике показаны реакционные камеры в первом блоке реакционных камер 226. На нижнем графике показаны реакционные камеры во втором блоке реакционных камер 228. Показатель типа qCt для Hi Cal, Lo Cal и пробы вирусного аналита одинаков на всех дорожках картриджей. Для последовательностей РНК-калибратора типа Hi Cal начальная амплитуда или, другими словами, первое детектирование происходит примерно на 20-м цикле. Для последовательностей РНК-калибратора типа Lo Cal начальная амплитуда или, другими словами, первое детектирование происходит примерно на 32-м цикле. Для последовательностей проб вирусных аналитов начальная амплитуда или, другими словами, первое детектирование происходит примерно на 36-м цикле. Эти результаты одинаковы для каждой дорожки картриджей. Эти результаты согласованы для каждого блока первого блока и второго блока. Эти результаты согласованы для каждой реакционной камеры из 24 реакционных камер. [0159] На Фиг. 9D для каждой реакционной камеры продемонстрирован показатель типа ymaxEP. На верхнем графике показаны реакционные камеры в первом блоке реакционных камер. На нижнем графике показаны реакционные камеры во втором блоке реакционных камер. Показатель типа ymaxEP для Hi Cal, Lo Cal и пробы вирусного аналита одинаков на всех дорожках картриджей (имеются относительно небольшие отклонения). Для последовательностей РНК-калибратора типа Hi Cal максимальная единица флуоресценции в конечной амплитуде покоя после множества циклов составляет около 2000. Для последовательностей РНК-калибратора типа Lo Cal максимальная единица флуоресценции в конечной амплитуде покоя после множества циклов составляет около 7000. Для последовательностей проб вирусных аналитов максимальная единица флуоресценции в конечной амплитуде покоя после множества циклов составляет около 5500. Эти результаты согласованы для каждой дорожки картриджа. Эти результаты согласованы для каждого блока первого блока и второго блока. Эти результаты согласованы для каждой реакционной камеры из 24 реакционных камер. [0160] Проведены дополнительные испытания, как описано выше, но с применением сжимаемых контактных площадок из разных материалов. Дополнительное испытание включает сжимаемую контактную площадку из графитовой фольги. Графитовая фольга представляет собой Tgon™ 820 от Laird. Другое испытание включает сжимаемую контактную площадку из стекловолокна, покрытого теплопроводным силиконом. Материал представляет собой TF-1879 производства ThermaCool®. Дальнейшее испытание включает сжимаемую контактную площадку из силиконовой губки. Материал представляет собой силиконовую губку типа BISCO® НТ-800 производства Rogers Corporation. Еще одно испытание включает в себя сжимаемую контактную площадку из термической силиконовой губки с термическим покрытием. Материал представлял собой силиконовую губку типа R-10404 производства ThermaCool®. Схема испытания аналогична описанной выше для силиконовой сжимаемой контактной площадки с низкой твердостью (Фиг. 8А-8D) и сжимаемой контактной площадки из пеноматериала типа PORON® (Фиг. 9A-9D). [0161] При оценке материалов для применения со сжимаемой контактной площадкой 314 для выбранной группы материалов получены неожиданные результаты. В некоторых вариантах осуществления изобретения сжимаемая контактная площадка содержит сжимаемый материал. В некоторых вариантах осуществления изобретения подходящий материал для сжимаемой контактной площадки выбран на основе изгиба под действием силы сжатия (в данном случае величина напряжения (измеряемая в единицах psi) при отклонении материала на 25% от его первоначальной высоты). Материал содержит материал, который имеет изгиб под действием силы сжатия менее 30 psi (207 кПа), менее 29 psi (200 кПа), менее 28 psi (193 кПа), менее 27 psi (186 кПа), менее 26 psi (179 кПа), менее 25 psi (172 кПа), менее 24 psi (165 кПа), менее 23 psi (159 кПа), менее 22 psi (152 кПа), менее 21 psi (145 кПа), 20 psi (138 кПа), менее 19 psi (131 кПа), менее 18 psi (124 кПа), менее 17 psi (117 кПа), менее 16 psi (ПО кПа), менее 15 psi (103 кПа), менее 14 psi (96 кПа), менее 13 psi (90 кПа), менее 12 psi (83 кПа), менее 11 psi (76 кПа), менее 10 psi (69 кПа), менее 9 psi (62 кПа), менее 8 psi (55 кПа), менее 7 psi (48 кПа), менее 6 psi (41 кПа), менее 5 psi (34 кПа), менее 4 psi (28 кПа), менее 3 psi (21 кПа), менее 2 psi (14 кПа), менее 1 psi (7 кПа) и т.д. Материал содержит материал, который имеет изгиб под действием силы сжатия от 0 до 5 psi (от 0 до 34 кПа), от 5 до 10 psi (от 34 до 69 кПа), от 10 до 15 psi (от 69 до 103 кПа), от 15 до 20 psi (от 103 до 138 кПа), от 20 до 25 psi (от 138 до 172 кПа), от 25 до 30 psi (от 172 до 207 кПа), от 0 до 3 psi (от 0 до 21 кПа), от 1 до 4 psi (от 7 до 28 кПа), от 2 до 5 psi (от 14 до 34 кПа), от 3 до 6 psi (от 21 до 41 кПа), от 4 до 7 psi (от 28 до 48 кПа), от 5 до 8 psi (от 34 до 55 кПа), от 6 до 9 psi (от 41 до 62 кПа), от 7 до 10 psi (от 48 до 69 кПа), от 8 до 11 psi (от 55 до 76 кПа), от 9 до 12 psi (от 62 до 83 кПа), от 10 до 13 psi (от 69 до 90 кПа), от 11 до 14 psi (от 76 до 96 кПа), от 12 до 15 psi (от 83 до 103 кПа), от 13 до 16 psi (от 90 до 110 кПа), от 14 до 17 psi (от 96 до 117 кПа), от 15 до 18 psi (от 103 до 124 кПа), от 16 до 19 psi (от ПО до 131 кПа), от 17 до 20 psi (от 117 до 138 кПа), от 21 до 24 psi (от 145 до 165 кПа), от 22 до 25 psi (от 152 до 172 кПа), от 23 до 26 psi (от 159 до 179 кПа), от 24 до 27 psi (от 165 до 186 кПа), от 25 до 28 psi (от 172 до 193 кПа), от 26 до 29 psi (от 179 до 200 кПа), от 27 до 30 psi (от 186 до 207 кПа) и т.д. Материал содержит материал, который имеет изгиб под действием силы сжатия не более 5 psi (34 кПа), не более 10 psi (69 кПа), не более 15 psi (103 кПа), не более 20 psi (138 кПа), не более 25 psi (172 кПа), не более 30 psi (207 кПа). В некоторых вариантах осуществления изобретения способ испытания составляет 0,51 см/мин (0,2 дюйма/мин) при скорости деформации при измеренной силе при отклонении 25%. В некоторых вариантах осуществления изобретения диапазон составляет от 0,3 до 3,5 psi (2-24 кПа). В некоторых вариантах осуществления изобретения типичное значение составляет 1,7 psi (12 кПа). [0162] Как описано в настоящем документе, как испытание на твердость по Шору А посредством дюрометра, так и испытание на изгиб под действием силы сжатия, измеренные при отклонении 25%, представляют собой измерения сжимаемости. Для данных измерений более низкие значения указывают на то, что материал легче сжимается, что, как ожидается, приводит к лучшему распределению давления и лучшим ПЦР-характеристикам. Неожиданно авторы обнаружили, что испытание на твердость по Шору А посредством дюрометра является плохим индикатором отвечающих требованиям материалов, см. Фиг. 7B-7D. Силикон с низкой твердостью, как правило, обладает твердостью по Шору «А», равной 10, а пеноматериал типа PORON®, как правило, обладает твердостью по Шору «А» менее 3. Специалист в данной области техники мог бы ожидать, что оба данных материала легко сжимаются и, следовательно, должны иметь одинаковые ПЦР-характеристикам. Неожиданно, однако, характеристики силикона с низкой твердостью заметно отличались от характеристик пеноматериала типа PORON®. Проведены дополнительные испытания материалов, но корреляции между твердостью по Шору А и ПЦР-характеристиками не выявлены. [0163] Неожиданно оказалось, что изгиб под действием силы сжатия, измеренный при отклонении 25%, является превосходным индикатором отвечающих требованиям материалов. Силикон с низкой твердостью, как правило, имеет изгиб под действием силы сжатия около 30 psi (207 кПа), а пеноматериал типа PORON®, как правило, имеет изгиб под действием силы сжатия от 2 до 5 psi (от 14 до 34 кПа). Проведены дополнительные испытания материалов, и обнаружена корреляция между изгибом под действием силы сжатия и ПЦР-характеристиками. В частности, материалы с изгибом под действием силы сжатия менее 30 psi (207 кПа), измеренным при отклонении 25%, демонстрируют улучшенные ПЦР-характеристики. В некоторых вариантах осуществления изобретения материалы с изгибом под действием силы сжатия от 0 до 20 psi (от 0 до 138 кПа) дают улучшенные ПЦР-характеристики. [0164] Как описано в настоящем документе, характеристики материала определяют как с помощью твердости по Шору «А», измеренной посредством дюрометра, так и с помощью изгиба под действием силы сжатия, измеренного при отклонении 25%. Эти способы полезны для определения относительной твердости или твердости материала. Специалист в данной области техники ожидал бы, что материалы с низкой твердостью по Шору «А», измеренной посредством дюрометра, и низким значением изгиба под действием силы сжатия, измеренным при отклонении 25%, могут давать лучшие ПЦР-характеристики. Однако только изгиб под действием силы сжатия, измеренный при отклонении 25%, (не твердость по Шору «А», измеренная посредством дюрометра), дает корреляцию, указывающую на отвечающие требованиям материалы для улучшения ПЦР-характеристик. [0165] В некоторых вариантах осуществления изобретения сжимаемая контактная площадка обладает свойствами материала, указанными ниже. В некоторых вариантах осуществления изобретения сжимаемая контактная площадка имеет плотность в соответствии с ASTM D 3574-95, испытание А. Значения плотность могут находиться в диапазоне от 225 до 255 кг/м3. В некоторых вариантах осуществления изобретения толщину сжимаемой контактной площадки измеряют вдоль оси Z контактной площадки. Толщина варьируется от 0 до 5 мм, например, от 0 до 1 мм, от 1 до 2 мм, от 2 до 3 мм, от 3 до 4 мм, от 4 до 5 мм, около 3 мм (0,12 дюйма) +/- 10%. В некоторых вариантах осуществления изобретения твердость по Шору «А», измеренная посредством дюрометра, сжимаемой контактной площадки в соответствии со стандартом типа ASTM D 2240-97, составляет 2. В некоторых вариантах осуществления изображения сжимаемая контактная площадка имеет остаточную деформацию в соответствии со стандартом типа ASTM D 1667-90, испытание D, при 23°С (73°F), равную 2. В некоторых вариантах осуществления изобретения остаточная деформация сжимаемой контактной площадки в соответствии со стандартом типа ASTM D 3574-95, испытание D, составляет 10 при 70°С (158°F). В некоторых вариантах осуществления изобретения упругость сжимаемой контактной площадки за счет вертикального отскока в соответствии со стандартом типа ASTM D 2632-96 составляет 4. [0166] В некоторых вариантах осуществления изобретения сжимаемая контактная площадка обладает свойствами материала, указанными ниже. В некоторых вариантах осуществления изобретения предел прочности сжимаемой контактной площадки при растяжении в соответствии со стандартом типа ASTM D412 составляет 120 psi (828 кПа). В некоторых вариантах осуществления изобретения толщину сжимаемой контактной площадки измеряют вдоль оси Z контактной площадки. Толщина варьируется от 0 до 5 мм, например, от 0 до 1 мм, от 1 до 2 мм, от 2 до 3 мм, от 3 до 4 мм, от 4 до 5 мм, около 1 мм (0,035 дюйма) +/- 10%. В некоторых вариантах осуществления изобретения удлинение сжимаемой контактной площадки в соответствии со стандартом типа ASTM D412 составляет 150%. В некоторых вариантах осуществления изобретения твердость по Шору «А», измеренная посредством дюрометра, сжимаемой контактной площадки в соответствии со стандартом типа ASTM D 2240 составляет 13. В некоторых вариантах осуществления изгиб под действием силы сжатия, измеренный при отклонении 25%, сжимаемой контактной площадки в соответствии со стандартом типа ASTM D1056 составляет 18 psi (125 кПа). В некоторых вариантах осуществления изобретения остаточная деформация сжимаемой контактной площадки в соответствии со стандартом типа ASTM D 1056 составляет 15. В некоторых вариантах осуществления изобретения плотность сжимаемой контактной площадки в соответствии со стандартом типа ASTM 297 составляет 69 фунтов/фут3 (1105 кг/м3). [0167] В некоторых вариантах осуществления изобретения сжимаемая контактная площадка обладает свойствами материала, указанными ниже. В некоторых вариантах осуществления изобретения толщину сжимаемой контактной площадки измеряют вдоль оси Z контактной площадки. Толщина может варьироваться от 0 до 5 мм, например, от 0 до 1 мм, от 1 до 2 мм, от 2 до 3 мм, от 3 до 4 мм, от 4 до 5 мм, около 1 мм (0,032 дюйма)+/-10%. В некоторых вариантах осуществления изобретения удлинение сжимаемой контактной площадки в соответствии со стандартом типа ASTM D412 составляет 80%. В некоторых вариантах осуществления изгиб под действием силы сжатия, измеренный при отклонении 25%, сжимаемой контактной площадки в соответствии со стандартом типа ASTM D1056 составляет 9 psi (62 кПа). В некоторых вариантах осуществления изобретения остаточная деформация сжимаемой контактной площадки в соответствии со стандартом типа ASTM D 1056 составляет менее 1 при 70°С и менее 5 при 100°С. В некоторых вариантах осуществления изобретения плотность сжимаемой контактной площадки в соответствии со стандартом типа ASTM 1056 составляет 22 фунта/фут3 (352 кг/м3). В некоторых вариантах осуществления изобретения сжимаемая контактная площадка обладает свойствами материала, включающими диапазон любых двух значений, указанных в настоящем документе. В некоторых вариантах осуществления изобретения сжимаемая контактная площадка обладает свойствами материала, включающими любое значение в пределах +/- 50% значений, указанных в настоящем документе. [0168] Варианты осуществления сжимаемой контактной площадки по настоящей технологии предназначены для улучшения теплопередачи между микрофлюидным картриджем и связанным с ним источником тепла (например, набором источников тепла, расположенным ниже микрофлюидного картриджа). Как описано в настоящем документе, вирусная нагрузка представляет собой числовое выражение количества вируса в заданном объеме. Для микрофлюидных картриджей, предназначенных для определения вирусной нагрузки, например, с помощью ПЦР, требуются более широкие и глубокие лунки для большего объема реакции и увеличения детектирования мишеней. В таких ситуациях теплопередача между микрофлюидным картриджем с более широкими и глубокими лунками и нижележащим источником тепла критически важна. Контакт улучшают за счет более равномерного распределения давления, чтобы каждая реакционная ПЦР-камера находилась в оптимальном контакте с нижележащим источником тепла. Равномерное распределение давления помогает предотвратить плохую воспроизводимость протоколов термоциклирования между дорожками для проб, дорожками картриджей или картриджами. Равномерное распределение давления также позволяет избежать локального перегрева или неэффективной теплопередачи из-за проводимости воздуха. [0169] Как описано в настоящем документе, сжимаемая контактная площадка по настоящей технологии расположена на верхней или нижней поверхности микрофлюидного картриджа. В некоторых вариантах осуществления изобретения сжимаемая контактная площадка на нижней поверхности микрофлюидного картриджа снижает теплопередачу. В некоторых вариантах осуществления изобретения для сжимаемой контактной площадки на верхней поверхности микрофлюидного картриджа требуются окна или другие вырезы, обеспечивающие оптическое детектирование. В некоторых вариантах осуществления изобретения сжимаемая контактная площадка выполнена как можно большего размера, например, равной площади поверхности метки, как описано в настоящем документе. В некоторых вариантах осуществления изобретения сжимаемая контактная площадка составляет по меньшей мере 50% площади поверхности картриджа (например, 50% верхней поверхности картриджа), по меньшей мере 60% площади поверхности, по меньшей мере 80% площади поверхности, по меньшей мере 90% площади поверхности и т.д. [0170] Ниже со ссылкой на Фиг. 10-37 следует описание другого неограничивающего варианта осуществления микрофлюидного картриджа в соответствии с настоящей технологией. На Фиг. 10-37 показаны виды микрофлюидного картриджа 200, содержащего двадцать четыре независимые дорожки для проб. [0171] На Фиг. 10-16 показан первый вариант осуществления микрофлюидного картриджа 200 без сжимаемой контактной площадки. Фиг. 10 представляет собой вид в перспективе. Фиг. 11 представляет собой вид сверху. Фиг. 12 представляет собой вид снизу. Фиг. 13 представляет собой первый вид сбоку. Фиг. 14 представляет собой второй вид сбоку. Фиг. 15 представляет собой третий вид сбоку. Фиг. 16 представляет собой четвертый вид сбоку. [0172] На Фиг. 17-23 показан второй вариант осуществления микрофлюидного картриджа 200 со сжимаемой контактной площадкой. Фиг. 17А представляет собой вид в перспективе. Фиг. 17 В представляет собой чертеж в разобранном виде. Фиг. 18 представляет собой вид сверху. Фиг. 19 представляет собой вид снизу. Фиг. 20 представляет собой первый вид сбоку. Фиг. 21 представляет собой второй вид сбоку. Фиг. 22 представляет собой третий вид сбоку. Фиг. 23 представляет собой четвертый вид сбоку. [0173] На Фиг. 24-30 показаны дополнительные виды микрофлюидного картриджа по Фиг. 10. Фиг. 24 представляет собой вид в перспективе. Фиг. 25 представляет собой вид сверху. Фиг. 26 представляет собой вид снизу. Фиг. 27 представляет собой первый вид сбоку. Фиг. 28 представляет собой второй вид сбоку. Фиг. 29 представляет собой третий вид сбоку. Фиг. 30 представляет собой четвертый вид сбоку. [0174] На Фиг. 31-37 показаны дополнительные виды микрофлюидного картриджа, продемонстрированного на Фиг. 10. Фиг. 31 представляет собой вид в перспективе. Фиг. 32 представляет собой вид сверху. Фиг. 33 представляет собой вид снизу. Фиг. 34 представляет собой первый вид сбоку. Фиг. 35 представляет собой второй вид сбоку. Фиг. 36 представляет собой третий вид сбоку. Фиг. 37 представляет собой четвертый вид сбоку. Пунктирными линиями показаны особенности картриджа, не вошедшие в заявляемую конструкцию. [0175] Настоящее изобретение относится к тест-системам для молекулярной диагностики и способам определения присутствия и/или количества исследуемого аналита в пробе. Используемый в настоящем документе термин «аналит» обычно относится к веществу, подлежащему детектированию. Например, аналиты могут включать в себя антигенные вещества, гаптены, антитела и их комбинации. Аналиты включают, но не ограничиваются ими, токсины, органические соединения, белки, пептиды, микроорганизмы, аминокислоты, нуклеиновые кислоты, гормоны, стероиды, витамины, лекарства (в том числе те, которые вводятся в терапевтических целях, а также те, которые вводятся в незаконных целях), промежуточные лекарственные формы или побочные продукты, бактерии, вирусные частицы и метаболиты или антитела к любому из вышеперечисленных веществ. [0176] Конкретные примеры аналитов включают, но не ограничиваются ими: стрептококковую инфекцию группы В, Chlamydia trachomatis, Neisseria gonorrhoeae, Trichomonas vaginalis, бактерии, вызывающие бактериальный вагиноз, бактерии группы Candida, Candida Glabrata, Candida krusei, Salmonella spp., Shigella spp./энтероинвазивный штамм Escherichia coli (EIEC), Campylobacter spp.(jejuni и coli) и организмы, продуцирующие токсин Шига (STEC, Shigella dysenteriae), Yersinia enterocolitica, Enterotoxigenic E.coli (ETEC), Plesiomonas shigelloides, Vibrio (V. vulnuficus/V. parahaemolyticus/V. cholerae), Giardia lamblia, Cryptosporidium spp. (C. parvum и С.hominis), Entamoeba histolytica, норовирус, ротавирус, аденовирус (40/41), саповирус и астровирус человека, ген В токсина бактерии Clostridium difficile (tcdB), метициллин-устойчивый золотистый стафилококк (MRSA), Staphylococcus aureus. Дополнительные конкретные примеры аналитов включают, но не ограничиваются ими: ферритин; креатинин-киназу типа MB (CK-МВ); хорионический гонадотропин человека (ХГЧ); дигоксин; фенитоин; фенобарбитал; карбамазепин; ванкомицин; гентамицин; теофиллин; вальпроевую кислоту; хинидин; лютеинизирующий гормон (ЛГ); фолликулостимулирующий гормон (ФСГ); эстрадиол, прогестерон; С-реактивный белок (СРБ); липокалины; антитела к IgE; цитокины; апоптоз-индуцирующий лиганд семейства TNF (TRAIL); микроглобулин витамина В2; индуцированный гамма-интерфероном белок 10, (IP-10); индуцированный интерфероном ГТФ-связывающий белок (также называемый устойчивостью 1 к миксовирусу (вирусу гриппа), МХ1, МхА, IFI-78K, IFI78, MX, MX динамин, подобный GTPase 1); прокальцитонин (ПКТ); гликированный гемоглобин (Gly Hb); кортизол; дигитоксин; N-ацетилпрокаинамид (N-АПА); прокаинамид; антитела к краснухе, такие как краснуха IgG и краснуха IgM; антитела к токсоплазмозу, такие как токсоплазмоз IgG (Тохо-IgG) и токсоплазмоз IgM (Toxo-IgM); тестостерон; салицилаты; ацетаминофен; поверхностный антиген вируса гепатита В (HBsAg); антитела к ядерному антигену вируса гепатита В, такие как антитела к ядерному антигену вируса гепатита В IgG и IgM (Anti-НВС); вирус иммунодефицита человека типа 1 и 2 (ВИЧ типа 1 и 2); вирус Т-клеточного лейкоза человека типа 1 и 2 (HTLV); антиген е вируса гепатита В (HBeAg); антитела к антигену е вируса гепатита В (Anti-HBe); вирус гриппа; тиреотропный гормон (ТТГ); тироксин (Т4); общий трийодтиронин (общий Т3); свободный трийодтиронин (свободный Т3); карциноэмбриональный антиген (СЕА); липопротеины, холестерин и триглицериды и альфа-фетопротеин (АФП). Наркотики, вызывающие зависимость, и вещества, распространение которых контролируется законом, включающие, но не ограничивающиеся ими, амфетамин; метамфетамин; барбитураты, такие как амобарбитал, секобарбитал, пентобарбитал, фенобарбитал и барбитал; бензодиазепины, такие как либриум и валиум; каннабиноиды, такие как гашиш и марихуана; кокаин; фентанил; ЛСД; метаквалон; опиаты, такие как героин, морфин, кодеин, гидроморфон, гидрокодон, метадон, оксикодон, оксиморфон и опиум; фенциклидин и пропоксиген. Дополнительные аналиты могут быть включены для целей исследуемых биологических или экологических веществ. [0177] Предшествующее описание предназначено для иллюстрации различных аспектов настоящей технологии. Не предполагается, что представленные в настоящем документе примеры ограничивают объем настоящей технологии. Теперь, когда технология полностью описана, специалисту в данной области техники будет понятно, что в нее могут быть внесены многие изменения и модификации, не отступая от сущности или объема прилагаемой формулы изобретения.
