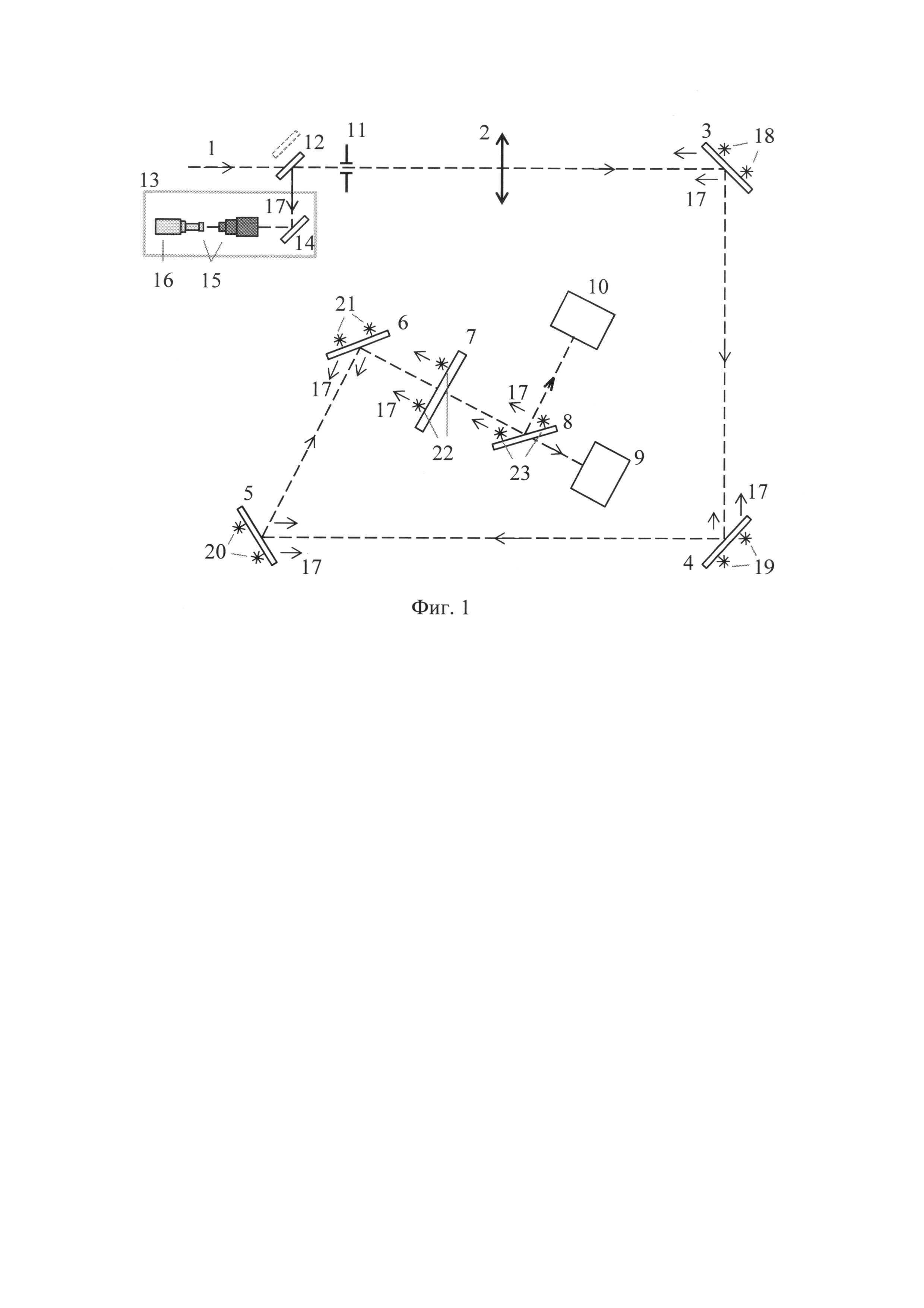
Изобретение относится к области оптической техники. Техническим результатом является упрощение алгоритма автоматической юстировки транспортной системы и повышение точности позиционирования луча по оптическим элементам. Способ настройки системы транспортных зеркал лазерной установки заключается в доставке силового лазерного излучения без апертурных зарезаний от модуля многопроходного усилителя с выходным транспортным пространственным фильтром (ТПФ) к преобразователю частоты, к финальному оптическому модулю (ФОМ), где система содержит пять транспортных зеркал, которые закреплены в оправах с электромеханическими приводами; кристалл-преобразователь частоты (КПЧ) в оправе с электромеханическими приводами; габаритные маркеры, выполненные в виде лазерных диодов, задающие середины апертур транспортных зеркал. 3 ил.
Способ настройки системы транспортных зеркал лазерной установки, заключающийся в доставке силового лазерного излучения без апертурных зарезаний от модуля многопроходного усилителя с выходным транспортным пространственным фильтром (ТПФ) к преобразователю частоты, к финальному оптическому модулю (ФОМ), отличающийся тем, что система содержит пять транспортных зеркал, которые закреплены в оправах с электромеханическими приводами; кристалл-преобразователь частоты (КПЧ) в оправе с электромеханическими приводами; габаритные маркеры, выполненные в виде лазерных диодов, задающие середины апертур транспортных зеркал; первое зеркало транспортной системы устанавливается за выходной линзой ТПФ, затем второе транспортное зеркало направляет излучение на третье транспортное зеркало и попадает на четвертое транспортное зеркало, затем лазерный пучок проходит через КПЧ и попадает на пятое последнее транспортное зеркало, которое установлено перед ФОМ, при этом излучение от габаритных маркеров проходит через выходную линзу ТПФ, фокусируется в плоскости диафрагменного узла ТПФ, затем с помощью вбрасываемых зеркал перископа перехватывают излучение из оптического тракта и направляют в датчик силового усилителя (ДСУ), содержащего объективы и цифровую камеру, при этом изображения на цифровых камерах ДСУ совмещают посредством поворотных транспортных зеркал.
Настоящее изобретение относится к области оптической техники, а именно к способу доставки лазерного излучения без апертурных зарезаний с помощью системы транспортировки от модуля силового многопроходного усилителя с выходным транспортным пространственным фильтром к финальному оптическому модулю и наведению совместно с финальным оптическим модулем лазерного луча на мишень для проведения физических экспериментов в многоканальных лазерных установках с преобразованием длины волны лазерного излучения, воздействующего на мишень, и вызвано необходимостью выставления на одну оптическую ось выходного лазерного пучка и середин апертур оптических элементов системы транспортировки перед каждым опытом, а также значительному упрощению обнаружения и увеличения точности определения взаимного положения центров соответствующих элементов при осуществлении дистанционной настройки, с целью упрощения алгоритма и уменьшения времени автоматической юстировки транспортной системы. В лазерных установках мегаджоульного уровня NIF и LMJ настройка транспортной системы отличается друг от друга, как по способу выставления середин апертур оптических элементов, так и по способу дистанционного контроля положения данных элементов в пространстве с помощью диагностических датчиков, расположенных в транспортном пространственном фильтре. Однако цель данной настройки везде одинаковая - выставить на одну оптическую ось: выходной лазерный пучок силового модуля, середины апертур оптических элементов транспортной системы и середину апертуры финального оптического модуля (ФОМ), что исключает апертурные зарезания. В многоканальной лазерной установке NIF [S C.Burkhart et.al. «National Ignition Facility system alignment)), Appl. Opt. 50, 1136-1157 (2011); M. L.Spaeth et.al. «Description of the NIF Laser)), Fusion science and technology 69, 25-145 (2016); Abdul A. S.Awwal et.al. «Centroid stabilization for laser alignment to corner cubes: designing a matched filter)), Appl. Opt. 56, 41-51 (2017)] транспортная система содержит от 4 до 5 широкоапертурных зеркал, в зависимости от геометрии заведения излучения на мишень. При этом только два зеркала (второе и последнее) имеют электромеханические приводы для дистанционного управления углового положения зеркала и, следовательно, только они участвуют в автоматической настройке транспортной системы, остальные зеркала являются неподвижными. На этапе монтажной сборки все транспортные зеркала выставлялись в пространстве по лазерному трекеру с учетом общей координатной системы всей установки. Угловое выставление зеркал осуществлялось следующим образом. В первый проход диафрагмы транспортного пространственного фильтра (ТПФ) в сторону силового усилителя запускается котировочный пучок основной длины волны λ=1054 нм сонаправленный с силовым пучком лазерного канала. Пройдя все четыре прохода по силовому усилителю, котировочный пучок выходит через четвертый проход диафрагмы ТПФ и падает на первое транспортное зеркало. Теперь на второе транспортное зеркало надевается временная специальная крышка с уголковым отражателем, обозначающим центр зеркала. С помощью заклонов первого транспортного зеркала заводим котировочный пучок на второе транспортное зеркало, таким образом, чтобы отраженный от уголкового отражателя пучок вернулся по тому же пути в первый проход диафрагмы ТПФ, откуда он был запущен. Затем делительным кубиком, который вдвигается в первый проход диафрагмы ТПФ, отраженный от уголкового отражателя котировочный пучок направляется на диагностический датчик, состоящий из объектива и цифровой камеры, по которой контролируется точность настройки транспортных зеркал. С помощью такой автоколлимационной методики выставляются все последующие транспортные зеркала. На этом монтажная настройка системы транспортировки NIF считается законченной, все крышки с уголковыми отражателя снимаются, и в дальнейшем не будут участвовать в каких-либо настройках. После монтажной настройки лишь два моторизованных транспортных зеркала второе и последнее будут участвовать в автоматической настройке транспортной системы во время проведения экспериментов. Стоит отметить, что в таком методе настройки транспортной системы заложена ошибка в непостоянном попадании юстировочного пучка в центры апертур неподвижных транспортных зеркал по мере времени эксплуатации установки. Так как этот момент отслеживается только на стадии монтажа, то от выстрела к выстрелу могут накапливаться ошибки в положении зеркал, вызванные механическими вибрациями и просадкой опорных конструкций на которых закреплены сами зеркала. Следовательно, во время настройки транспортной системы в ходе повседневной эксплуатации совсем отсутствует контроль прохождения лазерного пучка по апертурам транспортных зеркал. Следующая стадия настройки транспортной системы включает в себя совмещение оси ФОМ с осью системы транспортировки и проверка попадания юстировочного пучка в центр мишенной камеры. Для совмещения осей перед входным окном ФОМ дистанционно вставляется механическая рамка с двумя разведенными на некоторое расстояние уголковыми отражателями, центр между которыми обозначает центр входной апертуры ФОМ. С помощью автоколлимационной методики описанной выше, настраиваем прохождение юстировочного пучка через центр входной апертуры ФОМ, двигая при этом углом последнего транспортного зеркала. Следующими в настройке идут кристаллы удвоители, которые выставляются в начальное перпендикулярное положение относительно направления падения юстировочного пучка. Перпендикулярность обеспечивается за счет автоколлимационной методики. Для проверки попадания юстировочного луча в центр мишенной камеры, в четвертый проход диафрагмы ТПФ устанавливается волоконный источник с длиной волны λ=375 нм близкой к длине волны облучения мишени. Пройдя через фокусирующую линзу ФОМ, излучение собирается в центре мишенной камеры, где правильность попадание контролируется при помощи двух цифровых камер с микро-объективами. Если котировочный пучок λ=375 нм не попадает в заданные координаты на цифровых камерах, то с помощью совместного алгоритма движения двух моторизованных транспортных зеркал (второго и послденего) и двух кристаллов удвоителей, добиваются необходимого попадания. Такой сложный алгоритм настройки на мишень, вызван в первую очередь смещением оси транспортной системы, относительно оси настроенных кристаллов удвоителей, вследствие изменения угловых положений второго и последнего транспортных зеркал при попадании в центр мишенной камеры, что в свою очередь требует подстройки наклона кристаллов при каждом движении. Для расчета совместного движения всех подвижек требуются значительные вычислительные мощности и точно выверенные отклики подвижек. Так же можно заметить, что в настройку транспортной системы входит сразу и настройка кристаллов удвоителей и наведение на мишень, при этом разделить эти стадии при такой методике настройки невозможно. Стоит отметить также, что такое наведение на мишень приводит к ошибкам попадания юстировочного пучка в центры апертур транспортных зеркал, ведь при изменении углового положения второго транспортного зеркала, лазерный пучок сдвигается с центров следующих зеркал и никаких корректировок для исправления этих уходов не производится. На многоканальной лазерной установке LMJ [Laurent Hilsz et.al. «Redesign of the image processing techniques used for the alignment of the LMJ beams transportation section», Proc. SPIE 7797, Optics and Photonics fot Information Processing IV, 77970D (2010); Michel Luttmann et.al. «Laser Megajoule alignment to target center», Proc. SPIE 7916, High Power Lasers for Fusion Research, 79160N (2011)] транспортная система содержит от 5 до 7 широкоапертурных зеркал, в зависимости от геометрии заведения излучения на мишень. Финальный оптический модуль сделан на основе фокусирующей решетки третьей гармоники. И так как угловое поле зрения решетки третьей гармоники очень узкое (порядка 100 мкрад), это ограничение не позволяет использовать транспортное зеркало для наведения фокусного пятна на центр цифровой камеры. Поэтому чтобы поместить фокус в желаемую точку прицеливания необходимо перемещать всю конструкцию финального оптического модуля. Это крайне усложняет наведения силового излучения даже на простые мишени. При первом монтаже транспортные зеркала предварительно позиционируются механически, в соответствии с топометрической сеткой всего здания, с помощью трекерной системы. Каждое транспортное зеркало оснащено моторизованными подвижками и дистанционно вставляемыми угловыми отражателями. Предварительное позиционирование приводит зеркала в их номинальное положение в пространстве и в номинальную ориентацию по углу. Затем со стороны четвертого прохода диафрагмы ТПФ запускается юстировочное излучение основной длины волны λ=1054 нм сонапраленный с силовым пучком лазерного канала и с помощью дистанционно вставляемых механических рамок с угловыми отражателями обозначающие центры апертур зеркал, луч последовательно центрируется по одному зеркалу за другим, по схожей методике, как и на установке NIF. После того как все транспортные зеркала выставлены по лучу, идет этап стыковки входной апертуры ФОМ с центром последнего транспортного зеркала. Для этого на входе каждого канала ФОМ располагаются плоскопараллельные фазовые пластины с моторизованными угловыми подвижками выполняющие роль некого зеркала, ориентированного строго перпендикулярно падающему излучению. Перпендикулярность фазовой пластины обеспечивается с помощью двойной автоколлимации настроечного излучения высшей гармоники λ=351 нм и настроечного излучения основной гармоники λ=1054 нм. Настроечный точечный источник с длиной волны λ=351 нм размещается в центре мишенной камеры и его излучение поочередно направляется в каждый канал. Пройдя весь финальный оптический модуль в обратном направлении отраженное от фазовой пластинки излучение λ=351 нм возвращается обратно в центр мишенной камеры. С помощью наклона фазовой пластины обеспечивается центрирование обратноотраженного пятна с центром точечного источника. Теперь по данной пластинке и юстировочному излучению λ=1054 нм подстраивается последнее зеркало транспортной системы. Недостатками такого метода настройки транспортной системы является крайне сложный алгоритм юстировки луча совместно с финальным оптическим модулем. Очень сложен механизм направления настроечного излучения третьей гармоники из центра мишенной камеры в каждый лазерный канал, что делает невозможным одновременную настройку разных каналов. Так же стоит отметить, что определение центра уголкового отражателя зависит от четкости регистрации пересечения граней сторон такого отражателя. А так как нельзя полностью исключить влияние на котировочные пучки таких факторов как механическая вибрация оптических элементов, тепловые искажения, влияние турбулентного перемешивания воздушных потоков внутри тракта, то регистрация изображений в ближней зоне от уголковых отражателей получаются смазанными и не четкими. Кроме того сами уголковые отражатели имеют довольно большие габариты и их довольно сложно располагать вплотную к поверхности зеркала, поэтому при вбросе механической рамы, на которой закреплены такие отражатели, между рамой и самим зеркалом есть большой зазор. Этот момент уменьшает точность выставления уголковых отражателей относительно центра апертуры зеркал. Совокупность признаков, наиболее близкая к совокупности существенных признаков заявляемого изобретения, присуща способу доставки лазерного излучения с помощью системы транспортировки от модуля силового усилителя к финальному оптическому модулю и наведению совместно с финальным оптическим модулем преобразованного лазерного луча на мишень в многоканальной лазерной установке NIF [М. L. Spaeth et. al. «Description of the NIF Laser», Fusion science and technology 69, 25-145 (2016)]. Недостатками известного способа, принятого за прототип является крайне сложный алгоритм юстировки луча совместно с финальным оптическим модулем, при этом в настройку транспортной системы входит сразу, и настройка кристаллов удвоителей с использованием автоколлимационной методики, и наведение на мишень, при этом разделить эти стадии при такой методике настройки невозможно. Эти факторы значительно увеличивают количество времени необходимое для полной автоматической юстировки транспортной системы. Также при таком методе настройки транспортной системы в ходе повседневной эксплуатации совсем отсутствует контроль прохождения лазерного пучка по апертурам транспортных зеркал, что снижает точность попадания пучка в центр зеркал. Сделан вывод о том, что требуется упростить алгоритм настройки транспортной системы и наведение совместно с финальным оптическим модулем преобразованного лазерного луча на мишень. Задачей, на решение которой направлено заявляемое изобретение, является создание маркерной системы, обеспечивающей в каждом опыте дистанционную визуализацию цифровой камерой взаимного положения габаритных центров элементов транспортной системы, тем самым предоставляя возможность контролировать необходимую точность попадания силового лазерного пучка в центры апертур транспортных зеркал и кристалла-преобразователя частоты, и при необходимости корректировать их положение. При этом кристалл-преобразователь частоты должен располагаться между последними двумя зеркалами транспортной системы, отдельно от финального оптического модуля. Техническим результатом, достигаемым за счет применения заявляемого способа, является упрощение алгоритма автоматической юстировки транспортной системы, с последующим наведением совместно с финальным оптическим модулем лазерных пучков силовых каналов лазерной установки нового поколения на мишень, при этом наведение на мишень и настройка кристалла-преобразователя частоты на угол синхронизма происходят отдельно от настройки транспортной системы. Кроме того, при использовании заявленного способа увеличивается точность определения габаритных маркеров и центров апертур оптических элементов, за счет применения лазерных диодов, по сравнению с уголковыми отражателями, имеющими размеры во много раз превосходящие размеры лазерных диодов. А благодаря тому, что появляется возможность перед каждым опытом проверять точность попадания лазерного пучка в центры апертур элементов транспортной системы и осуществлять эту операцию во всех каналах параллельно, то уменьшается общее время настройки установки при проведении физических экспериментов. Технический результат изобретения обеспечивается тем, что способ настройки системы транспортных зеркал лазерной установки, заключается в доставке силового лазерного излучения без апертурных зарезаний от модуля многопроходного усилителя с выходным транспортным пространственным фильтром к преобразователю частоты, к финальному оптическому модулю, расположенному на мишенной камере, и на мишень. Согласно изобретению транспортные зеркала снабжают маркерами, задающими середины апертур зеркал, изображения которых на цифровых камерах датчиков силового усилителя совмещаются посредством поворота транспортных зеркал. Наличие отличительных признаков в способе позволяет в каждом опыте контролировать точность попадания выходного лазерного пучка в центры апертур элементов транспортной системы, и при необходимости корректировать их положение, а благодаря применению лазерных диодов, увеличилась точность определения габаритных центров оптических элементов при осуществлении дистанционной автоматической юстировки. При этом наведение на мишень и настройка кристалла-преобразователя частоты на угол синхронизма происходят отдельно от настройки транспортной системы, что упрощает алгоритм и время автоматической юстировки транспортной системы. Сущность заявляемого способа поясняется чертежом. На Фиг. 1 представлена принципиальная оптическая схема способа настройки системы транспортировки выходного лазерного излучения к финальному оптическому модулю при помощи маркерного метода юстировки, где: 1 - оптическая ось лазерного излучения четвертого прохода силового усилителя (не изображен на чертеже); 2 - выходная линза ТПФ; 3 - первое транспортное зеркало; 4 - второе транспортное зеркало; 5 - третье транспортное зеркало; 6 - четвертое транспортное зеркало; 7 - кристалл-преобразователь частоты (КПЧ); 8 - пятое транспортное зеркало; 9 - модуль диагностики; 10 - финальный оптический модуль (ФОМ); 11 - диафрагменный узел ТПФ; 12 - перископ (конструкция из двух зеркал, которые способны перехватывать пучок из оптического тракта и доставлять его в ДСУ, с помощью моторизованных подвижек может вводиться в оптическую схему на момент проведения юстировки и выводиться на момент проведения опыта); 13 - датчик силового усилителя (ДСУ); 14 - поворотное зеркало; 15 - объективы (объектив Nikon ƒ = 180 мм и микрообъектив с коэффициентом увеличения 4х); 16 - цифровая камера; 17 - направление излучения маркеров транспортной системы; 18 - габаритные маркеры 1-ого транспортного зеркала; 19 - габаритные маркеры 2-ого транспортного зеркала; 20 - габаритные маркеры 3-ого транспортного зеркала; 21 - габаритные маркеры 4-ого транспортного зеркала; 22 - габаритные маркеры кристалла-преобразователя; 23 - габаритные маркеры 5-ого транспортного зеркала. На Фиг. 2 представлен вид датчика силового усилителя (ДСУ) и его расположение в оптической схеме, где: I - оптическая ось лазерного излучения четвертого прохода силового усилителя; II - диафрагменный узел ТПФ; 12 - перископ; 13-ДСУ; 14 - поворотное зеркало; 15 - объективы; 16 - цифровая камера; 24 - моторизованная подвижка; 17 - направление излучения маркеров транспортной системы. На Фиг. 3 представлено изображение с цифровой камеры ДСУ, на котором показаны маркеры транспортной системы в настроенном состоянии, где: 18 - габаритные маркеры 1-ого транспортного зеркала; 19 - габаритные маркеры 2-ого транспортного зеркала; 20 - габаритные маркеры 3-ого транспортного зеркала; 21 - габаритные маркеры 4-ого транспортного зеркала; 22 - габаритные маркеры кристалла-преобразователя; 23 - габаритные маркеры 5-ого транспортного зеркала. Лазерная установка включает 24 силовых модуля. Каждый силовой модуль содержит 8 усилительных каналов. В каждом усилительном канале реализована четырехпроходная двухкаскадная схема. Два усилителя разделены кюветным пространственным фильтром. Второй усилитель отделен от транспортной системы и мишенной камеры транспортным пространственным фильтром, в котором расположены датчики силового усилителя. В аналогичных лазерных установках в первом усилителе всегда четыре прохода, а во втором усилителе встречается двух и трехпроходная схема, поэтому принято называть такие установки многопроходными. Система транспортировки выходного лазерного излучения (Фиг. 1) состоит из набора оптических зеркал 3, 4, 5, 6, 8 в юстируемых оправах, обеспечивающих заведение лазерного излучения каждого из 192 каналов в соответствующие финальные оптические модули 10, расположенные на мишенной камере. По конструкции лазерной установки длина оптического тракта от выходной линзы ТПФ 2 до ФОМ 10 составляет 45 метров в каждом из 192-х лазерных каналов. Все зеркала 3, 4, 5, 6, 8 закреплены в оправах с электромеханическими приводами, обеспечивающими дистанционное управление изменением углового положения отражающей плоскости зеркала. Между четвертым 6 и пятым 8 зеркалами на одинаковом расстоянии от ФОМ 10 установлен КПЧ 7 в оправе с электромеханическими приводами, обеспечивающими дистанционное управление изменением углового и поперечного положений кристалла. Первое поворотное зеркало транспортной системы 3 устанавливается за выходной линзой ТПФ 2, затем идет второе зеркало 4, направляющее излучение на третье 5 и дальше, падая на четвертое зеркало 6, пучок проходит через КПЧ 7. Последнее - пятое зеркало транспортной системы 8 установлено перед ФОМ 10. С помощью этого зеркала осуществляется финальная стадия наведения излучения на мишень. Количество лазерных диодов (габаритных маркеров) на каждом оптическом элементе - 2 шт. Общее количество лазерных диодов транспортной системы на одном канале - 12 шт. Направление 17 свечения всех диодов противоположно направлению падающего рабочего лазерного излучения. Максимальная рабочая выходная оптическая мощность диода составляет 200 мВт. Расходимость излучения 10 градусов в горизонтальной плоскости и 45 градусов в вертикальной. Общие габариты корпуса диода 1x1 см. Размер излучающей области 5x1 мкм. Габаритные маркеры (малоразмерные световые источники), 18, 19, 20, 21 зеркал 3, 4, 5, 6 соответственно, являются стационарными, и располагаются за зеркалами. В то время как габаритные маркеры 23, 22 зеркала 8 и КПЧ 7 должны быть вбрасываемыми и убираться после проведения юстировки, чтобы не попадать в апертуру рабочего излучения. Необходимость вбрасываемых габаритных маркеров 22 на КПЧ 7 обусловлена тем, что рабочее излучение должно проходить сквозь КПЧ 7 и расположение маркеров внутри его апертуры на постоянной основе не возможно. В свою очередь вбрасываемые габаритные маркеры 23 на пятом зеркале 8 обусловлены расположенным за этим зеркалом модулем диагностики 10 для исследования параметров преобразованного излучения второй гармоники λ=527 нм, прошедшего через это зеркало. Вбрасываемые лазерные диоды располагаются на специальных штангах, прикрепленных к поворотным механизмам, для возможности дистанционного ввода и вывода штанг из оптического тракта. На Фиг. 2 представлен вид датчика силового усилителя (ДСУ). ДСУ 13 предназначен для диагностики изображений габаритных маркеров 18, 19, 20, 21, 22, 23, которые установлены на зеркалах транспортной системы 3, 4, 5, 6, 8 и КПЧ 7. По габаритным маркерам 18, 19, 20, 21, 22, 23 настраиваются положения всех оптических элементов транспортной системы. ДСУ 13 располагается вблизи диафрагменного узла ТПФ 11 с внешней стороны кессона. ДСУ 13 представляет собой систему, состоящую из зеркала 14, объективов 15 (объектив Nikon ƒ=180 мм и микрообъектив с коэффициентом увеличения 4х) и цифровой камеры 16 на моторизованной подвижке 24. Настройка системы транспортировки лазерного излучения к апертуре ФОМ 10 заключается в выставлении на одну оптическую ось выходного лазерного излучения 1 и середин апертур оптических элементов системы транспортировки. А именно - пяти транспортных зеркал 3, 4, 5, 6, 8 и КПЧ 7. Для дистанционного осуществления такой настройки применяется маркерный метод юстировки, основанный на контроле с помощью цифровой камеры 16 взаимного положения центров оптических элементов, которые снабжены маркерами. Центр каждого оптического элемента задается серединой отрезка между маркерами. Излучение от габаритных маркеров 18, 19, 20, 21, 22, 23 проходит через выходную линзу ТПФ 2, фокусируется в плоскости диафрагменного узла ТПФ 11 и с помощью вбрасываемых зеркал перископа 12, излучение перехватывается из оптического тракта и направляется в ДСУ 13. После перископа 12 заводящим зеркалом 14 излучение габаритных маркеров 18, 19, 20, 21, 22, 23 направляется на центры апертур объективов 15, а затем на матрицу цифровой камеры 16. На Фиг. 3 представлено изображение с цифровой камеры 16 ДСУ, на котором показаны габаритные маркеры 18, 19, 20, 21, 22, 23 транспортной системы в настроенном состоянии. За опорную точку принимается центр отрезка между габаритными маркерами первого транспортного зеркала 18. Яркость изображений маркеров в паре может различаться из-за разброса световых характеристик, диаграммы направленности и точности монтажа. Данное изображение получается путем заведения центров пар маркеров каждого из оптических элементом на условную опорную точку, которая располагается посередине пары габаритных маркеров первого транспортного зеркала 18. Например, изменением угла первого транспортного зеркала 3 заводим середину отрезка габаритных маркеров второго транспортного зеркала 19 на середину отрезка габаритных маркеров первого транспортного зеркала 18. И так далее. Как можно было заметить, габаритные маркеры второго 19 и четвертого 21 транспортных зеркал, а также маркеры пятого транспортного зеркала 23 и КПЧ 22, накладываются друг на друга, поэтому во время настройки транспортной системы опорные маркеры первого транспортного зеркала 18 включены всегда, в то время как остальные включаются поочередно и только на время, пока очередной элемент не будет считаться настроенным. Установка КПЧ 7 на оптическую ось выходного лазерного луча 1 проводится уже после наведения на пятое транспортное зеркало 8 путем поперечных сдвигов. После всех этих манипуляций можно считать транспортную систему настроенной. Благодаря тому, что КПЧ 7 находится между четвертым 6 и пятым 8 транспортными зеркалами, при дальнейшей настройке КПЧ 7 в угол синхронизма, заклоняется только КПЧ 7 при этом настройка транспортной системы остается прежней. А наведение пучка на мишень осуществляется угловым движением только пятым транспортным зеркалом 8, никаким образом не меняя угловых положений предыдущих транспортных зеркал 3, 4, 5, 6 и КПЧ 7. Таким образом, при реализации данного способа, по сравнению с известными аналогами, удалось отделить настройку транспортной системы от настройки кристалла удвоителя и от наведения на мишень, при этом алгоритм юстировки луча стал намного проще. Возможность постоянного контроля над попаданием юстировочного пучка в центр апертур транспортных зеркал во время всей настройки транспортной системы увеличивает точность позиционирования луча по оптическим элементам.