патент
№ RU 2839154
МПК E21B43/24

СПОСОБ РАЗРАБОТКИ ЗАЛЕЖИ СВЕРХВЯЗКОЙ НЕФТИ ПАРОЦИКЛИЧЕСКИМ ВОЗДЕЙСТВИЕМ

Авторы:
Рогачев Михаил Константинович
Номер заявки
2024120476
Дата подачи заявки
19.07.2024
Опубликовано
28.04.2025
Страна
RU
Как управлять
интеллектуальной собственностью
Чертежи 
9
Реферат

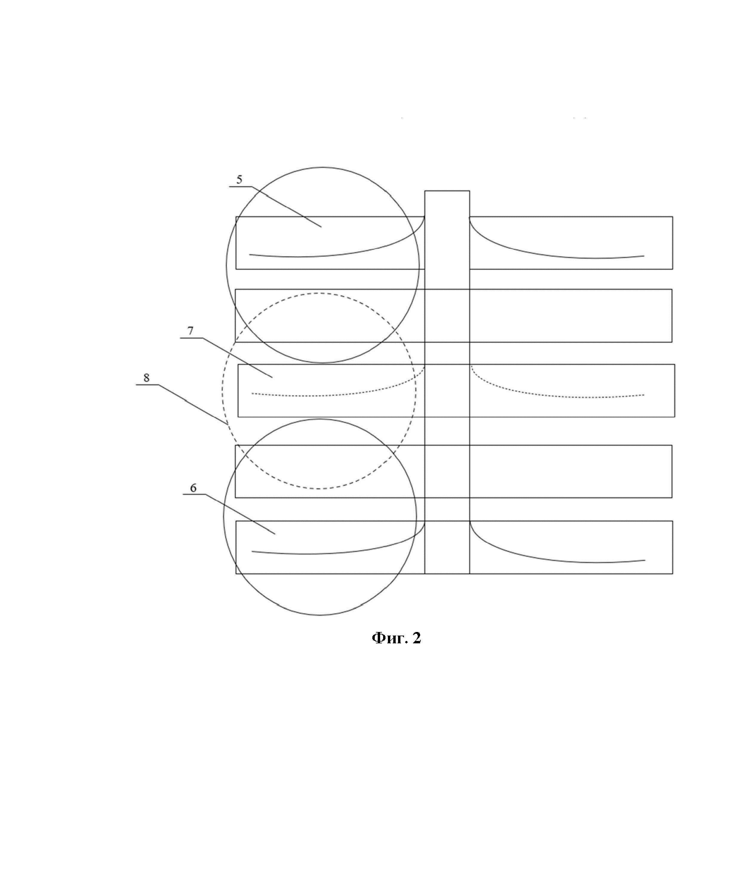
[46]

Изобретение относится к нефтедобывающей отрасли. Технический результат - повышение эффективности скважинной добычи сверхвязкой нефти, возможность более полной выработки запасов нефти в залежи. В способе разработки залежи сверхвязкой нефти пароциклическим воздействием, включающем бурение или использование пробуренных вертикальных или наклонно-направленных скважин, из указанных скважин осуществляют бурение тонких горизонтальных перфорационных каналов от 50 до 70 мм в диаметре. При разработке коллекторов большой толщины тонкие перфорационные каналы размещают один в верхней четверти продуктивного пласта, другой в нижней четверти продуктивного пласта один над другим, осуществляют бурение не менее четырех каналов, формируя зону перекрытия пароциклическим воздействием в пласте большой толщины. При разработке высокорасчлененной залежи производят бурение двух тонких перфорационных каналов в верхнем продуктивном пропластке и двух тонких перфорационных каналов в нижнем продуктивном пропластке, при этом в случае большой толщины разрабатываемой залежи осуществляют бурение двух дополнительных каналов в центральном продуктивном пропластке, формируя зону перекрытия пароциклическим воздействием на высокорасчлененной залежи. Размещение внутрискважинного оборудования выполняют следующим образом: устанавливают под продуктивным пластом пакер высокого давления и температуры с заглушкой или глухую пакер-пробку высокого давления и температуры, спускают на колонне вакуумно-экранированных насосно-компрессорных труб в зону размещения пакер высокого давления и температуры совместно с термокомпенсатором для компенсации удлинения насосно-компрессорных труб и предотвращения деформации забойного фильтра, в подпакерной зоне указанного пакера монтируют противопесочный фильтр щелевой с гравийной набивкой или с прямой намоткой. Далее осуществляют циклическое воздействие: сначала закачивают композицию для химической конверсии тяжелой нефти, включающую прекурсор катализатора Ni и Mo на бентонитовом носителе в нефрасе, затем в течение не более 14 сут производят закачку пара, после этого скважину закрывают на период пропитки не менее 5 сут. Затем переводят под добычу, циклы реализуют до полной выработки залежи. При этом пар в скважину закачивают при температуре, которая обеспечивает температуру в продуктивном интервале в диапазоне от 200 до 320°С. 9 ил., 1 табл.

Формула изобретения

Способ разработки залежи сверхвязкой нефти пароциклическим воздействием, включающий бурение или использование пробуренных вертикальных или наклонно-направленных скважин, циклическую обработку скважин паром и композицией для химической конверсии тяжелой нефти, включающей растворитель нефрас, отличающийся тем, что из указанных скважин осуществляют бурение тонких горизонтальных перфорационных каналов от 50 до 70 мм в диаметре, при этом длину указанных каналов определяют в соответствии с размерами разрабатываемого пласта или пропластка, при разработке коллекторов большой толщины тонкие перфорационные каналы размещают один в верхней четверти продуктивного пласта, другой в нижней четверти продуктивного пласта один над другим, осуществляют бурение не менее четырех каналов, формируя зону перекрытия пароциклическим воздействием в пласте большой толщины, при разработке высокорасчлененной залежи производят бурение двух тонких перфорационных каналов в верхнем продуктивном пропластке и двух тонких перфорационных каналов в нижнем продуктивном пропластке, при этом в случае большой толщины разрабатываемой залежи осуществляют бурение двух дополнительных каналов в центральном продуктивном пропластке, формируя зону перекрытия пароциклическим воздействием на высокорасчлененной залежи, размещение внутрискважинного оборудования выполняют следующим образом: устанавливают под продуктивным пластом пакер высокого давления и температуры с заглушкой или глухую пакер-пробку высокого давления и температуры, спускают на колонне вакуумно-экранированных насосно-компрессорных труб в зону размещения пакер высокого давления и температуры совместно с термокомпенсатором для компенсации удлинения насосно-компрессорных труб и предотвращения деформации забойного фильтра, в подпакерной зоне указанного пакера монтируют противопесочный фильтр щелевой с гравийной набивкой или с прямой намоткой, далее осуществляют циклическое воздействие: сначала закачивают композицию для химической конверсии тяжелой нефти, включающую прекурсор катализатора Ni и Mo на бентонитовом носителе в нефрасе, затем в течение не более 14 сут производят закачку пара, после этого скважину закрывают на период пропитки не менее 5 сут, затем переводят под добычу, циклы реализуют до полной выработки залежи, при этом пар в скважину закачивают при температуре, которая обеспечивает температуру в продуктивном интервале в диапазоне от 200 до 320°С, необходимое значение температуры определяют исходя из пластовых условий и характера взаимодействия добываемой нефти с закачиваемыми композицией для химической конверсии тяжелой нефти и паром, а расчет объема закачки пара и химических реагентов производят с учетом фильтрационно-емкостных свойств продуктивного пласта, а также лабораторных исследований взаимодействия композиции для химической конверсии тяжелой нефти и пара с нефтью разрабатываемой залежи.

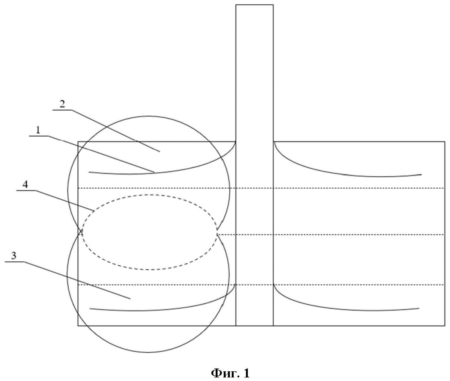
Описание

[1]

Изобретение относится к нефтедобывающей отрасли, в частности к способам комбинированного циклического воздействия паром и химическими реагентами на призабойную зону скважин, вскрывших коллектора со сверхвязкой нефтью, с целью снижения вязкости извлекаемой нефти, ее внутрипластового облагораживания, увеличения эффективной зоны паротеплового воздействия.

[2]

Известен способ разработки залежей тяжелых и сверхвысоковязких нефтей (патент РФ № 2387818, опубл. 27.04.2010), заключающийся в закачке пара в пласт, прогреве пласта с созданием паровой камеры, совместной закачке пара и углеводородного растворителя и последующем отборе продукции. В качестве углеводородного растворителя применяют смесь углеводородов предельного алифатического и ароматического рядов, основным компонентом которой является бензол.

[3]

Недостатком способа является то, что при взаимодействии пара, горячей воды, растворителя и нефти имеет место увеличение количества высокомолекулярных компонентов нефти в пласте - асфальтенов, карбенов, карбоидов, при температурах выше 350°С - продуктов частичного коксообразования, что значительно снижает фильтрационно-емкостные характеристики пласта.

[4]

Известен способ разработки битуминозных карбонатных коллекторов с использованием циклической закачки пара и катализатора акватермолиза (патент РФ №2717849, опубл. 26.03.2020), заключающийся в том, что в пробуренную или уже эксплуатируемую наклонно-направленную скважину с эксплуатационной колонной диаметром не менее 168 мм опускают колонну труб с заглушенным концом и выполненными на концевом участке отверстиями для закачки рабочего агента в интервал щелевой перфорации продуктивного пласта, производят закачку катализатора акватермолиза нефти и растворителя, закрывают скважину на срок не менее двух суток с возможностью обеспечения максимально эффективной пропитки продуктивного пласта, затем закачивают пар при температуре от 200 до 350°С в течение не менее 5 суток, далее останавливают скважину на срок от 5 до 14 суток, затем производят отбор жидкой продукции из скважины.

[5]

Недостаток данного способа заключается в том, что щелевая перфорация не обеспечивает адресного попадания перфорационного канала в целевую зону, глубина перфорационного канала может не достигать необходимых значений, что в свою очередь отразится на неполном охвате пласта воздействием пара и химических реагентов.

[6]

Известен способ разработки залежи высоковязкой нефти пароциклическим воздействием (патент РФ №2624858, опубл. 07.07.2017), заключающийся в бурении добывающей горизонтальной скважины в нижней четверти толщи нефтенасыщенного пласта, монтаже необходимой для пароциклического воздействия технологической оснастки, закачке теплоносителя, состоящего из пара с температурой от 200 до 220°С с добавлением легкого углеводорода (например, углеводорода петролейной фракции), осуществелнии технологической выдержки на пропитку, отборе разогретой нефти.

[7]

Недостатком данного способа является то, что при взаимодействии пара, горячей воды и нефти имеет место увеличение количества высокомолекулярных компонентов нефти в пласте - асфальтенов, карбенов, карбоидов, что значительно снижает фильтрационно-емкостные характеристики пласта.

[8]

Известен способ разработки залежи высоковязкой нефти и природного битума (патент РФ № 2728002, опубл. 28.07.2020), заключающийся в строительстве горизонтальных добывающих и горизонтальных нагнетательных скважин, а также вертикальных наблюдательных скважин либо в использовании уже имеющихся, закачке перегретого пара через нагнетательные скважины с прогревом продуктивного пласта и создании паровой камеры, закачке катализатора для внутрипластового облагораживания высоковязких нефтей и природных битумов через вертикальные скважины, последующем отборе продукции за счет парогравитационного дренажа через добывающие скважины и контролировании состояния паровой камеры.

[9]

Недостаток данного способа заключается в том, что подача катализатора и пара осуществляется через разные скважины, что, в случае отсутствия гидродинамической связи между ними, сформирует зоны отсутствия взаимодействия между теплоносителем и катализатором. В зонах, где добываемая нефть контактирует только с теплоносителем, имеет место образование высокомолекулярных компонентов нефти, снижающих фильтрационно-емкостные характеристики пласта.

[10]

Известен способ разработки залежей высоковязкой нефти и природного битума (патент РФ №2780172, опубл. 20.09.2022), принятый за прототип, заключающийся в бурении горизонтальных скважин или использовании уже пробуренных, пароциклической обработке горизонтальных скважин в три цикла, при этом при проведении третьего цикла к закачиваемому теплоносителю добавляют композицию реагентов для химической конверсии тяжелой нефти, которая включает наноразмерный катализатор на основе смешанного оксида переходных металлов, где металлы выбраны из группы: Cr, Mn, Fe, Co, Ni, Cu, Zn, Mo, водород-донорный растворитель нефрас С4-155/205 и спирто-щелочной состав. Одновременно осуществляют перевод горизонтальной скважины, находящейся в центре залежи пластового-сводового типа и расположенную выше уровня остальных добывающих скважин по структуре, под нагнетание. Через нее осуществляют постоянную закачку теплоносителя, а отбор пластовых флюидов осуществляют через остальные добывающие скважины.

[11]

Недостаток данного способа заключается в том, что в участках залежи, в меньшей степени охваченных воздействием катализатора, после длительной закачки теплоносителя из переведенной под нагнетание скважины, имеет место образование застойных зон с низкими фильтрационно-емкостными характеристиками из-за выпадения высокомолекулярных компонентов нефти. Техническим результатом является повышение эффективности скважинной добычи сверхвязкой нефти.

[12]

Технический результат достигается тем, что из указанных скважин осуществляют бурение тонких горизонтальных перфорационных каналов от 50 до 70 мм в диаметре, при этом длину указанных каналов определяют в соответствии с размерами разрабатываемого пласта или пропластка, при разработке коллекторов большой толщины тонкие перфорационные каналы размещают один в верхней четверти продуктивного пласта, другой в нижней четверти продуктивного пласта один над другим, осуществляют бурение не менее четырех каналов, формируя зону перекрытия пароциклическим воздействием в пласте большой толщины, при разработке высокорасчлененной залежи производят бурение двух тонких перфорационных каналов в верхнем продуктивном пропластке и двух тонких перфорационных каналов в нижнем продуктивном пропластке, при этом в случае большой толщины разрабатываемой залежи осуществляют бурение двух дополнительных каналов в центральном продуктивном пропластке, формируя зону перекрытия пароциклическим воздействием на высокорасчлененной залежи, размещение внутрискважинного оборудования выполняют следующим образом: устанавливают под продуктивным пластом пакер высокого давления и температуры с заглушкой или глухую пакер-пробку высокого давления и температуры, спускают на колонне вакуумно-экранированных насосно-компрессорных труб в зону размещения пакер высокого давления и температуры совместно с термокомпенсатором для компенсации удлинения насосно-компрессорных труб и предотвращения деформации забойного фильтра, в подпакерной зоне указанного пакера монтируют противопесочный фильтр щелевой с гравийной набивкой или с прямой намоткой, далее осуществляют циклическое воздействие: сначала закачивают композицию для химической конверсии тяжелой нефти, включающую прекурсор катализатора Ni и Mo на бентонитовом носителе в нефрасе, затем в течение не более 14 суток производят закачку пара, после этого скважину закрывают на период пропитки не менее 5 сут, затем переводят под добычу, циклы реализуют до полной выработки залежи, при этом пар в скважину закачивают при температуре, которая обеспечивает температуру в продуктивном интервале в диапазоне от 200 до 320°С, необходимое значение температуры определяют исходя из пластовых условий и характера взаимодействия добываемой нефти с закачиваемыми композицией для химической конверсии тяжелой нефти и паром, а расчет объема закачки пара и химических реагентов производят с учетом фильтрационно-емкостных свойств продуктивного пласта, а также лабораторных исследований взаимодействия композиции для химической конверсии тяжелой нефти и пара с нефтью разрабатываемой залежи.

[13]

Способ поясняется следующими фигурами:

[14]

фиг. 1 - принципиальная схема реализации технологии в пласте большой толщины;

[15]

фиг. 2 - принципиальная схема реализации технологии в высокорасчлененной залежи;

[16]

фиг. 3 - принципиальная схема наземного и внутрискважинного оборудования для осуществления пароциклического воздействия;

[17]

фиг. 4 - график суточного дебита при реализации каталитического акватермолиза;

[18]

фиг. 5 - график суточного дебита при реализации некаталитического акватермолиза, где:

[19]

1 - тонкий перфорационный канал;

[20]

2 - верхняя четверть продуктивного пласта;

[21]

3 - нижняя четверть продуктивного пласта;

[22]

4 - зона перекрытия пароциклическим воздействием в пласте большой толщины;

[23]

5 - верхний продуктивный пропласток;

[24]

6 - нижний продуктивный пропласток;

[25]

7 - условно центральный продуктивный пропласток;

[26]

8 - зона перекрытия пароциклическим воздействием на высокорасчлененной залежи;

[27]

9 - нагнетательная линия;

[28]

10 - смеситель для приготовления химической композиции;

[29]

11 - парогенератор;

[30]

12 - насосный агрегат;

[31]

13 - пакер высокого давления и температуры с заглушкой;

[32]

14 - пакер высокого давления и температуры;

[33]

15 - термокомпенсатор;

[34]

16 - вакуумно-экранированные насосно-компрессорные трубы;

[35]

17 - противопесочный фильтр.

[36]

Способ осуществляется следующим образом. Производится бурение или допускается использование пробуренных вертикальных или наклонно-направленных скважин с использованием колонны бурильных труб и компоновки низа бурильной колонны. После этого в скважине в целевом интервале производят установку клина-отклонителя. В случае, если скважина обсажена, посредством фреза осуществляют фрезерование окна в интервале установки клина-отклонителя. Затем на бурильных трубах с компоновкой низа бурильной колонны, включающей винтовой забойный двигатель и долото, осуществляют бурение тонких горизонтальных перфорационных каналов от 50 до70 мм в диаметре. Длину канала определяют в соответствии с размерами разрабатываемого пласта или пропластка.

[37]

При разработке коллекторов большой толщины бурение тонких перфорационных каналов производят следующим образом. Тонкие перфорационные каналы 1 (фиг. 1) размещают по одному в верхней четверти продуктивного пласта 2 и нижней четверти продуктивного пласта 3 один над другим и осуществляют бурение не менее четырех каналов, за счет чего после пароциклического воздействия формируется зона перекрытия пароциклическим воздействием в пласте большой толщины 4.

[38]

При разработке высокорасчлененной залежи бурение каналов осуществляют следующим образом. Производят бурение двух тонких перфорационных каналов 1 (фиг. 1) в верхнем продуктивном пропластке 5 (фиг. 2), двух каналов - в нижнем продуктивном пропластке 6. В случае большой толщины разрабатываемой залежи осуществляется бурение двух дополнительных каналов в условно центральном продуктивном пропластке 7, за счет чего после пароциклического воздействия формируется зона перекрытия пароциклическим воздействием на высокорасчлененной залежи 8.

[39]

После завершения строительства каналов технологическую оснастку для их бурения извлекают из скважины. Далее начинают процесс подготовки и размещения наземного и внутрискважинного оборудования для осуществления пароциклического воздействия на разрабатываемую залежь. Устье скважины оборудуют нагнетательной линией 9 (фиг. 3), обвязанной смесителем для приготовления химической композиции 10 требуемой концентрации, парогенератором 11 и насосным агрегатом 12. Компоновка внутрискважинного оборудования представляет собой установленный под продуктивным пластом пакер высокого давления и температуры с заглушкой 13 или глухую пакер-пробку высокого давления и температуры, установленный над кровлей пласта пакер высокого давления и температуры 14, который спускаеют в зону размещения совместно с термокомпенсатором 15 для компенсации удлинения насосно-компрессорных труб и предотвращения деформации забойного фильтра на колонне вакуумно-экранированных насосно-компрессорных труб 16 для минимизации теплопотерь в процессе закачки теплоносителя. В подпакерной зоне монтируется противопесочный фильтр 17 щелевой, с гравийной набивкой или с прямой намоткой. Выбор конкретного типа фильтра осуществляют посредством лабораторных испытаний и моделирования в специализированных программных продуктах.

[40]

Далее производят циклическое воздействие паром и химическими реагентами на разрабатываемую залежь. В первую очередь осуществляют подготовку воды для закачки пара. Пар закачивают в скважину при температуре, которая будет обеспечивать температуру в продуктивном интервале в диапазоне от 200 до 320°С. Необходимое значение температуры определяют исходя из пластовых условий и характера взаимодействия добываемой нефти с закачиваемым химическим реагентом и паром. В качестве химических реагентов используют прекурсор катализатора акватермолиза Ni и Mo на бентонитовом носителе и донор водорода нефрас. Расчет объема закачки пара и химических реагентов производят для каждой конкретной скважины индивидуально, с учетом фильтрационно-емкостных свойств пласта-коллектора, а также лабораторных исследований взаимодействия теплоносителя и химических реагентов с нефтью разрабатываемой залежи. Закачка пара и химических реагентов реализуют циклично по следующей схеме: в скважину в расчетном объеме производят закачку прекурсора катализатора Ni и Mo в нефрасе, затем в течение не более 14 суток производят закачку пара, после этого скважину закрывают на период пропитки не менее 5 суток, затем скважину переводят под добычу. Циклы реализуются до полной выработки залежи.

[41]

Способ объясняется следующими примерами. В программном продукте для геолого-гидродинамического моделирования было выполнено численное моделирование трех циклов каталитического пароциклического воздействия с бурением двух тонких перфорационных каналов и трех циклов некаталитического пароциклического воздействия. Воздействие осуществлялось на призабойную зону скважины, вскрывшей карбонатный коллектор со сверхвязкой нефтью. Для реализации каталитического пароциклического воздействия использовался прекурсор катализатора акватермолиза на основе Mo и Ni и нефрас в качестве донора водорода. Один цикл каталитического пароциклического воздействия представлял следующую последовательность действий: закачка катализатора акватермолиза и донора водорода - 1 сутки, закачка пара - 14 суток, пропитка - 5 суток, добыча - 120 суток. В случае некаталитического пароциклического воздействия из последовательности исключалась закачка катализатора. Закачка химических реагентов осуществлялась с расходом 50 м3/сут. Закачка пара осуществлялась с расходом 50 м3/сут, сухость пара составляла 0,7. Каталитическое пароциклическое воздействие моделировалась для пяти точек температур: 150, 200, 300, 320 и 370°С. В ходе сравнения результатов моделирования было установлено увеличение зоны внутрипластового облагораживания сверхвязкой нефти за счет наличия тонких перфорационных каналов и эффективного дренирования катализатора акватермолиза на углеводородной основе в доноре водорода. При некаталитическом пароциклическом воздействии максимальные значения концентрации высокомолекулярных компонентов нефти определялись практически во всем околоскважинном пространстве.

[42]

Таблица 1 - Изменение дебита в зависимости о температуры закачиваемого пара

[43]

Температура закачиваемого пара,°СМаксимальное значение дебита в цикле, м3/сутСнижение концентрации высокомолекулярных компонентов нефти, раз
123
1509,222,641,561,12
20012,210,28,41,25
30019,2514,9211,251,5
32016,7214,3310,111,42
37017,17,115,671,18
300 без катализатора7,511,90,92-

[44]

При закачке пара при температуре ниже 200°С наблюдается относительно некаталитического воздействия при температуре 300°С (фиг. 4) незначительное увеличение среднего суточного дебита в 1,3 раза (фиг. 5), при минимальной температуре диапазона в 200°С увеличение среднего суточного дебита составляет 2,98 раза (фиг. 6), при максимальной температуре диапазона в 320°С увеличение среднего суточного дебита составляет 3,99 раза (фиг. 7), при температуре 370°С наблюдается практически двухкратное падение дебита для второго и третьего цикла относительно закачки при температуре 320°С (фиг. 8), что обусловлено реакциями коксообразования и кольматированием призабойной зоны пласта.

[45]

Наилучший результат каталитического парациклического воздействия был получен при температуре пара 300°С, при котором общее снижение максимальной концентрации высокомолекулярных компонентов нефти составило порядка 1,5 раз. Увеличение среднего суточного дебита в 4,4 раза при реализации каталитического акватермолиза с тонкими перфорационными каналами при температуре 300°С (фиг. 9) относительно некаталитического пароциклического воздействия без каналов при той же температуре свидетельствует о том, что высокомолекулярные компоненты нефти не остаются в околоскважинной зоне реакции и не кольматируют призабойную зону пласта, а тонкие перфорационные каналы способствуют увеличению зоны охвата воздействием. Тенденция снижения дебита от первого ко второму циклу сократилась в 3 раза, от второго к третьему - в 1,6 раза, что подтверждает возможность более полной выработки запасов нефти в залежи.

Как компенсировать расходы
на инновационную разработку
Похожие патенты