патент
№ RU 2836529
МПК E01C23/14

СВЧ-УСТАНОВКА ДЛЯ ОБРАБОТКИ ПОВЕРХНОСТЕЙ ДИЭЛЕКТРИЧЕСКИХ ОБЪЕКТОВ

Авторы:
Сивак Татьяна Павловна Кадыкова Юлия Александровна Тригорлый Сергей Викторович
Все (7)
Номер заявки
2024132817
Дата подачи заявки
01.11.2024
Опубликовано
17.03.2025
Страна
RU
Как управлять
интеллектуальной собственностью
Чертежи 
3
Реферат

[52]

Установка относится к области обработки поверхностей диэлектрических объектов СВЧ электромагнитным полем и может найти применение для нагрева и размораживания грунта, восстановления асфальто-битумного покрытия дорожного полотна и мягких кровель на битумной основе, обеззараживания почвы. Технический результат - равномерная обработка поверхности диэлектрического объекта СВЧ электромагнитным полем и обеспечение равномерного нагрева поверхности объекта. СВЧ-установка для обработки поверхностей диэлектрических объектов содержит рабочую камеру с, по меньшей мере, тремя окнами для присоединения, по меньшей мере, трех волноводно-щелевых излучателей, установленную на раму, винтовой электропривод со штоком привода, соединенный с рабочей камерой. В верхней части рабочей камеры установлены волноводные трубки для удаления паров влаги из рабочей камеры и для подключения бесконтактных пирометров. К нижней части рабочей камеры прикреплен гибкий металлический экран. К боковым сторонам рабочей камеры прикреплены кронштейны с блоками вращающихся шаровых опор, выполненные с возможностью перемещения по направляющим конструкциям, расположенным на раме. Каждый из волноводно-щелевых излучателей подключен к двум СВЧ-генераторам. СВЧ-генераторы и винтовой электропривод электрически связаны с блоком управления. 4 з.п. ф-лы, 6 ил.

Формула изобретения

1. СВЧ-установка для обработки поверхностей диэлектрических объектов, характеризующаяся тем, что содержит рабочую камеру с, по меньшей мере, тремя окнами для присоединения, по меньшей мере, трех волноводно-щелевых излучателей, установленную на раму, винтовой электропривод со штоком привода, соединенный с рабочей камерой, в верхней части рабочей камеры установлены волноводные трубки для удаления паров влаги из рабочей камеры и для подключения бесконтактных пирометров, к нижней части рабочей камеры прикреплен гибкий металлический экран, к боковым сторонам рабочей камеры прикреплены кронштейны с блоками вращающихся шаровых опор, выполненные с возможностью перемещения по направляющим конструкциям, расположенным на раме, каждый из волноводно-щелевых излучателей подключен к двум СВЧ-генераторам, при этом СВЧ-генераторы и винтовой электропривод электрически связаны с блоком управления.

2. Установка по п.1, характеризующаяся тем, чтоволноводно-щелевые излучатели размещают симметрично центра рабочей камеры на одинаковом расстоянии друг от друга, равном удвоенной ширине волновода 2a, центр среднего волноводно-щелевого излучателя располагают в центре рабочей камеры.

3. Установка по п.1, характеризующаяся тем, что волноводно-щелевые излучатели изготовлены из волноводной трубы, одна из широких стенок которого выполнена в виде щелевой структуры.

4. Установка по п.1, характеризующаяся тем, что направляющие конструкции имеют синусоидальную форму.

5. Установка по п.1, характеризующаяся тем, чтошток приводавыполнен с шарнирным креплением.

Описание

[1]

Область техники, к которой относится изобретение

[2]

Установка относится к области обработки поверхностей диэлектрических объектов СВЧ электромагнитным полем и может найти применение для нагрева и размораживания грунта, восстановления асфальто-битумного покрытия дорожного полотна и мягких кровель на битумной основе, обеззараживания почвы.

[3]

Уровень техники

[4]

Известно самоходное устройство для обработки швов жестких аэродромных и дорожных покрытий СВЧ-излучением (см. патент RU 208062, МПК E01C23/06, опубл. 01.12.2021 г.), содержащее металлическую раму сварной конструкции с колесами, закрепленными на осях, передние из которых являются ведущими, задние ведомыми; рабочее место оператора с сиденьем, рулем и панелью управления, рамный тентовый навес, сигнальное устройство, силовой блок, включающий электромотор, аккумуляторные батареи, электрогенератор, топливный бак, расположенный на раме сзади рабочего места оператора; СВЧ-излучатель, включающий магнетрон, соединенный через волновод с пирамидальным рупорным облучателем, модулем направления СВЧ-поля; воздушный компрессор; дозатор праймера, включающий емкость с разливочной направленной трубкой и регулируемой задвижкой; фонари заднего освещения, передние фары.

[5]

Недостатком данного устройства является использование СВЧ-излучателя рупорного типа с неравномерным распределением напряженности поля и, как следствие, неравномерным нагревом обрабатываемой поверхности диэлектрика.

[6]

Известно устройство для нагрева дорожного покрытия (см. патент RU 2093635, МПК E01C23/06, опубл. 20.10.1997 г.), содержащее последовательно соединенные СВЧ-генератор, линию передачи и излучатель. Устройство имеет приемную антенну, детектор и индикатор, соединенные последовательно. Причем электрические оси излучателя и приемной антенны лежат в одной плоскости и по разные стороны перпендикуляра к поверхности, в основании которого они пересекаются, и находятся под острыми углами к поверхности дорожного покрытия.

[7]

Недостатком устройства является применение излучателей в виде открытого конца волновода, электрического рупора или электрического диполя, которые не позволяют получить равномерное поле температуры в нагреваемом объекте вследствие неравномерного распределения напряженности электрического поля вблизи этих излучателей. Кроме того, недостатком данного устройства является отсутствие управления СВЧ-мощностью у СВЧ-генератора, что не дает возможности осуществлять регулирования температурой нагреваемого покрытия.

[8]

Известно устройство для нагрева дорожного полотна (см. патент RU 143087, МПК E01C23/14, опубл. 10.07.2014 г.), содержащее тележку, нагревательное устройство с СВЧ-металлическим экраном, установленным на тележке и с введенным в жесткий экран системы четвертьволновых шлейфов по всему периметру жесткого экрана для образования волноводного тройника в пространстве между жестким экраном и покрытием, жесткий экран и система четвертьволновых шлейфов по всему периметру выполнены из материала с проводящим слоем. Дополнительно в нижней части жесткого экрана рупорной антенны с четвертьволновым шлейфом с образованным волноводным тройником установлен подвижный жесткий экран с двумя четвертьволновыми шлейфами по всему периметру экрана и защитой по краям жесткого экрана рупорной антенны из материала с малыми диэлектрическими потерями с возможностью перемещения подвижного жесткого экрана с внутренним четвертьволновым шлейфом в четвертьволновом шлейфе жесткого экрана волноводного тройника, причем в рабочем положении подвижный жесткий экран находится на поверхности покрытия и снижает выход СВЧ-излучения между ним и покрытием за счет двух четвертьволновых шлейфов, а жесткий экран рупорной антенны с четвертьволновым шлейфом с образованным волноводным тройником располагается на расстоянии 1/4 длины волны от покрытия таким образом, что между внутренним четвертьволновым шлейфом подвижного жесткого экрана и 1/4 шлейфом жесткого экрана волноводного тройника образует четвертьволновой шлейф, который исключает выход излучений между ними.

[9]

Недостатком устройства является сложность исполнения конструкции. Кроме того, использование рупорной антенны не позволяет достичь равномерности распределения плотности СВЧ-мощности на поверхности объекта, в связи с чем возникают локальные перегревы и участки с недостаточным нагревом поверхности.

[10]

Известно устройство для разогрева оснований и покрытий (см. патент RU 2098574, МПК E04D 15/06, опубл. 10.12.1997 г.), содержащее самоходную тележку с платформой с закрепленной на ней нагревательной системы. Нагревательная система состоит из СВЧ-генераторов, излучателей, выполненных в виде открытых концов волноводов или электромагнитных рупоров, линий передач, выходы которых соединены с выходами СВЧ-генераторов, а сами выходы со входами излучателей, которые размещены в окне платформы в ряд параллельно обрабатываемому покрытию и перпендикулярно направлению перемещения тележки, жесткий или гибкий экран, укрепленные по периметру платформы. Представленное исполнение устройства обеспечивает его малый вес и возможность доставки на крышу, с целью разогрева кровли для ее ремонта.

[11]

Недостатком устройства является использование излучателей, выполненных в виде открытых концов волноводов или электромагнитных рупоров, которые создают неравномерное распределение напряженности электрического поля вблизи излучателей, что приводит к неравномерности температуры в нагреваемом объекте. Кроме того, в данном устройстве отсутствует управление СВЧ-мощностью СВЧ-генератора, что не позволяет регулировать температуру нагреваемого объекта.

[12]

Известен агрегат для обработки поверхностей электромагнитным СВЧ-полем (см. патент RU 152448, МПК E01C 23/14, опубл. 27.05.2015 г.), включающий в себя транспортное средство с пультом управления в кабине, дизель-генератор, установленный в кузове, и навесное СВЧ-устройство, состоящее из системы подвески и регулировки высоты двухуровневой платформы. На верхнем уровне платформы расположены блоки питания, а на нижнем - блок волноводных резонаторов с установленными на них магнетронами и согласующим элементом. По периметру согласующего элемента размещены пирамидки СВЧ-защиты.

[13]

Недостатком данного устройства является отсутствие управления СВЧ-мощностью и средств контроля температуры поверхности нагреваемого объекта, что не позволяет получить равномерное распределение температурного поля на обрабатываемой поверхности.

[14]

Раскрытие сущности изобретения

[15]

Техническая проблема заключается в разработке установки для обработки поверхностей диэлектрических объектов СВЧ электромагнитным полем, обеспечивающей на поверхности объекта равномерное распределение плотности СВЧ-энергии.

[16]

Технический результат заключается в равномерной обработке поверхности диэлектрического объекта СВЧ электромагнитным полем и в обеспечении равномерного нагрева поверхности объекта.

[17]

Технический результат достигается тем, что СВЧ-установка для обработки поверхностей диэлектрических объектов, согласно решению, содержит рабочую камеру с, по меньшей мере, тремя окнами для присоединения, по меньшей мере, трех волноводно-щелевых излучателей, установленную на раму, винтовой электропривод со штоком привода, соединенный с рабочей камерой, в верхней части рабочей камеры установлены волноводные трубки для удаления паров влаги из рабочей камеры и для подключения бесконтактных пирометров, к нижней части рабочей камеры прикреплен гибкий металлический экран, к боковым сторонам рабочей камеры прикреплены кронштейны с блоками вращающихся шаровых опор, выполненные с возможностью перемещения по направляющим конструкциям, расположенные на раме, каждый из волноводно-щелевых излучателей подключен к двум СВЧ-генераторам, при этом СВЧ-генераторы и винтовой электропривод электрически связаны с блоком управления.

[18]

Волноводно-щелевые излучатели размещают симметрично центра рабочей камеры на одинаковом расстоянии друг от друга, равном удвоенной ширине волновода 2a, центр среднего волноводно-щелевого излучателя располагают в центре рабочей камеры.

[19]

Волноводно-щелевые излучатели изготовлены из волноводной трубы, одна из широких стенок которого выполнена в виде щелевой структуры.

[20]

Направляющие конструкции имеют синусоидальную форму.

[21]

Шток приводавыполнен с шарнирным креплением.

[22]

Краткое описание чертежей

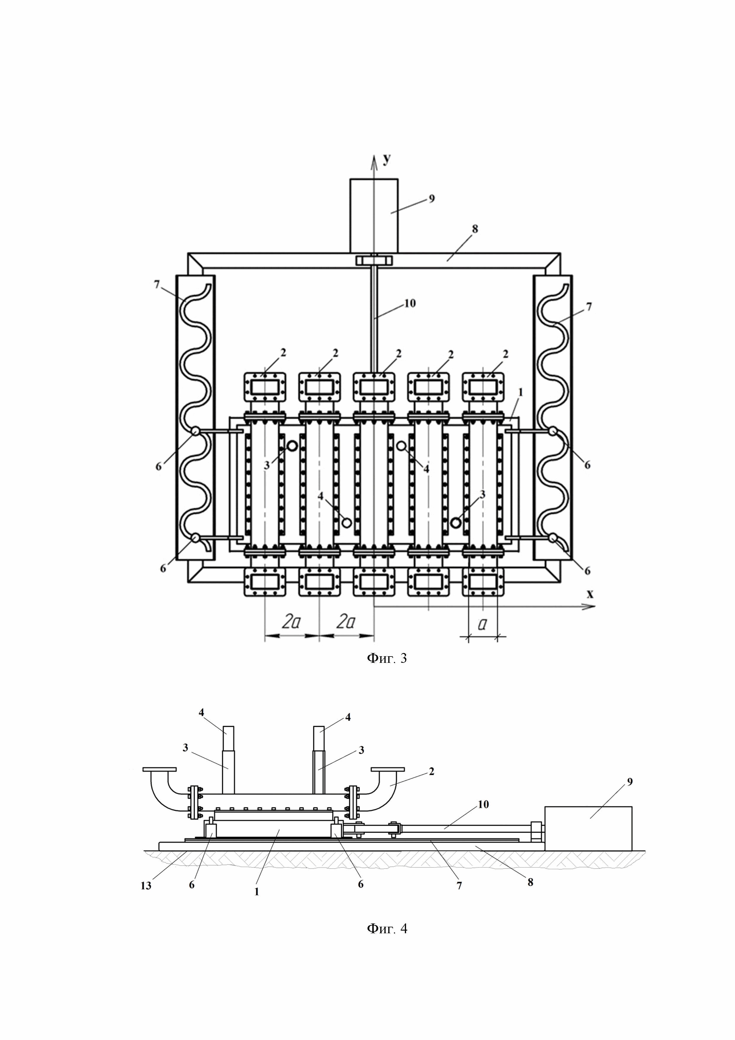
[23]

Изобретение поясняется чертежами, где на фиг. 1 - изображена структурная схема заявляемой установки; на фиг. 2 - показан общий вид установки (без СВЧ-генераторов); на фиг. 3 - показан вид сверху на рабочую камеру с волноводно-щелевыми излучателями; на фиг. 4 - показан вид сбоку установки (без СВЧ-генераторов); на фиг. 5 - показаны расчетные изотермы на наружной поверхности обрабатываемого объекта в момент времени 610 с; на фиг. 6 - показано расчетное распределение температуры в направлении оси x на поверхности объекта при y = 0,15 м на в момент времени 610 с.

[24]

Позициями на чертежах обозначено:

[25]

1 - рабочая камера;

[26]

2 - волноводно-щелевые излучатели;

[27]

3 - запредельная волноводная трубка для удаления паров влаги;

[28]

4 - бесконтактный пирометр;

[29]

5 - гибкий металлический экран;

[30]

6 - кронштейн с блоком вращающихся шаровых опор;

[31]

7 - направляющие конструкции;

[32]

8 - рама;

[33]

9 - винтовой электропривод;

[34]

10 - шток привода;

[35]

11 - СВЧ-генератор;

[36]

12 - блок управления;

[37]

13 - поверхность обрабатываемого объекта.

[38]

Осуществление изобретения

[39]

Заявляемая установка содержит рабочую камеру 1, в верхней части которой выполнены прямоугольные окна в количестве n, для присоединения n волноводно-щелевых излучателей (где n, по меньшей мере, равно трем) 2 (фиг. 1).

[40]

В верхней части рабочей камеры выполнены, не менее двух запредельных волноводных трубок для удаления паров влаги 3 и не менее двух запредельных волноводных трубок для подключения бесконтактных пирометров 4, для контроля температуры обрабатываемого объекта. К нижнему фланцу рабочей камеры 1 прикреплен гибкий металлический экран 5 для защиты от СВЧ электромагнитного излучения. С двух сторон рабочая камера снабжена кронштейнами с блоками вращающихся шаровых опор 6, которые выполнены с возможностью перемещения по направляющим конструкциям 7, расположенным на раме 8 (фиг. 2 и 4). На раме 8 закреплен винтовой электропривод 9 с частотным регулятором со штоком привода 10 с шарнирным креплением, соединенный с рабочей камерой 1. Каждый из волноводно-щелевых излучателей 2 подключен к двум СВЧ-генераторам 11. Управление СВЧ-генераторами 11 и винтовым электроприводом с частотным регулятором 9 осуществляют с помощью блока управления 12. Волноводно-щелевые излучатели изготовлены из волноводной трубы, одна из широких стенок которого выполнена в виде щелевой структуры, обеспечивающей на поверхности обрабатываемого объекта 13 равномерное распределение плотности СВЧ-энергии. Конструкция волновода со щелевой структурой описана, например, в патенте РФ №2454786.

[41]

Для максимальной концентрации плотности СВЧ-мощности и получения равномерного температурного поля на поверхности обрабатываемого объекта 13 при движении рабочей камеры 1 волноводно-щелевые излучатели 2 располагают в верхней части рабочей камеры в соответствии с фиг. 3. При этом центр среднего волноводно-щелевого излучателя 2 располагают в центре рабочей камеры 2, остальные волноводно-щелевые излучатели размещают симметрично центра рабочей камеры на одинаковом расстоянии друг от друга, равном удвоенной ширине волновода 2a (фиг. 3).

[42]

Кроме того, для уменьшения влияния максимумов и минимумов напряженности электрического поля под волноводно-щелевыми излучателями и между ними соответственно, с целью повышения равномерности температуры на поверхности обрабатываемого объекта 13 с помощью винтового электропривода с частотным регулятором 9 со штоком привода 10 с шарнирным креплением осуществляют движение рабочей камеры 1 c волноводно-щелевыми излучателями 2 по осям координат x и y по отношению к поверхности обрабатываемого объекта 13. При этом по оси x осуществляют возвратно-поступательное движение, а по оси y выполняют периодическое разнонаправленное перемещение от центра установки на величину ширины волновода ± a за счет применения кронштейнов с блоками вращающихся шаровых опор 6, движущихся по направляющим конструкциям 7, имеющим синусоидальную форму.

[43]

Для автоматического регулирования температуры нагрева объекта используют микропроцессорный блок управления 12, с помощью которого осуществляют управление мощностью СВЧ-генераторов 11 по сигналам от бесконтактного пирометра 4, измеряющего температуру поверхности обрабатываемого объекта 13. Кроме того, с помощью микропроцессорного блока управления 12 регулируют скорость движения рабочей камеры за счет винтового электропривода с частотным регулятором 11.

[44]

Установка работает следующим образом.

[45]

Раму со всеми элементами конструкции устанавливают на поверхность обрабатываемого объекта. С помощью блока управления, винтового электропривода с частотным регулятором и штока привода с шарнирным креплением рабочую камеру перемещают в исходное положение для начала работы. С помощью блока управления задают требуемую температуру нагрева поверхности обрабатываемого объекта, начальное значение мощности СВЧ-генераторов и скорость движения рабочей камеры, после чего осуществляют пуск установки. В рабочую камеру через волноводно-щелевые излучатели, подключенные к СВЧ-генераторам, подается СВЧ-энергия. СВЧ-электромагнитное излучение, попадая на поверхность обрабатываемого объекта, нагревает объект за счет диэлектрических потерь. Расположение волноводно-щелевых излучателей на рабочей камере обеспечивает максимальную концентрацию плотности СВЧ-мощности и получения равномерного температурного поля на поверхности обрабатываемого объекта. После пуска установки рабочая камера с волноводно-щелевыми излучателями перемещается по направляющим конструкциям, имеющим синусоидальную форму, что позволяет получить равномерное распределение температуры поверхности обрабатываемого объекта за счет возвратно-поступательного движения по оси x и периодического разнонаправленного смещения на величину ширины волновода ± a.

[46]

При отклонении температуры поверхности обрабатываемого объекта от заданной величины осуществляют процесс регулирования мощности СВЧ-генераторов с помощью блока управления по сигналам от бесконтактного пирометра, измеряющего температуру поверхности обрабатываемого объекта.

[47]

При смещении рабочей камеры в крайнее положение по оси x с помощью винтового электропривода с частотным регулятором осуществляют изменение направления движения рабочей камеры в противоположном направлении.

[48]

Для обеспечения необходимого температурного режима обработки поверхностей СВЧ электромагнитным полем необходимо на основе проведения расчетного моделирования выбрать количество волноводно-щелевых излучателей, мощность СВЧ-генераторов, скорость движения рабочей камеры в зависимости от физических свойств обрабатываемого материала и технологических требований к режимам СВЧ-нагрева.

[49]

Заявителем было проведено расчетное моделирование на примере СВЧ-установки для нагрева почвы с целью ее обеззараживания при температурах на наружной поверхности (75 ± 5)°С. Рассмотрен вариант с использованием пяти волноводно-щелевых излучателей. Частота СВЧ-генераторов составляла 2,45 ГГц. При моделировании использовались следующие физические свойства грунта: действительная часть относительной диэлектрической проницаемости ε' = 2,6, мнимая часть относительной диэлектрической проницаемости ε'' = 0,377, коэффициент теплопроводности λ = 1,49 Вт/(м⋅К), удельная теплоемкость с = 1150 Дж/(кг⋅К), плотность ρ = 1750 кг/м3.

[50]

В результате моделирования установлено, что для поддержания требуемой температуры на поверхности обрабатываемого объекта СВЧ-мощность каждого из десяти СВЧ-генераторов должна составлять 1,1 кВт, а суммарная СВЧ-мощность 11 кВт при скорости движения рабочей камеры с излучателями в направлении в СВЧ-камере Vx = 1,5 мм/с. Для указанных значений СВЧ-мощности и скорости на фиг. 5 показаны расчетные изотермы на наружной поверхности обрабатываемого объекта в момент времени 610 с, а на фиг. 6 - распределение температуры в направлении оси x на поверхности объекта при y = 0,15 м в момент времени 610 с. Из представленных результатов видно, что на поверхности объекта в полосе шириной 0,7 м под волноводно-щелевыми излучателями рабочей камеры температура достигает требуемого значения 75°С с установленной точностью ±5°С.

[51]

Таким образом, заявляемая установка позволяет достичь заданной равномерности нагрева поверхности обрабатываемого объекта.

Как компенсировать расходы
на инновационную разработку
Похожие патенты