Группа изобретений относится к металлургии и может быть использована для восстановления и разделения химических веществ из руд с участием углеводородов и сопутствующих соединений, используя плазмохимические реакции, электролиз и крекинг. В способе осуществляют переработку химических веществ и выработку энергии и тепла в замкнутом объеме производственного контура без выбросов тепловой энергии в окружающую среду, при этом поставки вещества потребителю энергии в виде жидкого энергоносителя – метанола или синтетической нефти осуществляют по трубопроводу с обратным возвратом части вещества от потребителя в виде хладагента по трубопроводу, образуя замкнутую систему переработки вещества и энергии. Технический результат заключается в объединении процесса производства энергии с получением энергоносителей, газо-нефтепереработкой и с металлургическим процессом, что позволяет за счет облучения химических веществ частицами плазмы снизить, как минимум на порядок, потребление энергии по сравнению с энергией, необходимой на проведение этих процессов раздельно. 2 н. и 11 з.п. ф-лы, 8 ил.
1. Способ выработки электроэнергии и тепла в химико-металлургическом процессе переработки руд, углеводородного сырья и отходов, в котором нагреваемые в тигле реагенты, состоящие из химических соединений металлов руды, углеводородов и воды, представляющие шихту, образующую падающий поток, перемещают по шахте, при этом плавление шихты осуществляют посредством электродуги, горящей на электродах, образующей плазму, запитанную от энергоустановки, электромагнитных полей, облучения потоками элементарных частиц, электролиза, диссоциации и центробежных сил вращения под действием тигельной турбины, ректификационной колонны с конденсационными стержнями, шлюзовых затворов, а также электромагнитных полей соленоида, и восстанавливают в определенном объеме расплава до металлов и шлаков, формируя слиток дискообразной формы, с образованием химических соединений в виде газов, которые в аппарате синтеза углеводородов синтезируют в углеводородные продукты, включая использование в процессе производства теплоэнергетические установки, вырабатывающие электроэнергию и тепло, отличающийся тем, что перед плавлением шихты руду и твердые углеводороды смешивают для образования шихты, а жидкие и газообразные углеводороды в стехиометрическом составе добавляют к шихте перед плавлением, после чего шихту подают в зону горения плазмы, где осуществляют диссоциацию углеводородного восстановителя на сажистый углерод и водород, который обеспечивает восстановление оксидов металлов с образованием монооксида углерода, который восстанавливают до двуокиси углерода, который далее поступает в зону плавления при температуре горения плазмы выше 2000°С, и обеспечивает восстановление металла из соединений за счет углерода с образованием монооксида углерода, а водород обеспечивает создание защитной среды, предотвращающей обратную реакцию окисления восстановленного металла, и образует совместно с угарным газом синтез-газ, который выкачивают за пределы зоны плавления и направляют на участок синтеза метанола в аппарат синтеза углеводородов, при этом плазма обеспечивает образование из химических веществ расплава и формирование зоны горения плазмы в начальный период времени над зеркалом ванны расплава, а после образования заданного объема расплава плазму с электродом, выполняющим роль анода, погружают в ванну расплава, выполняющую роль катода, для обеспечения процесса электролиза с восстановлением металлов и диссоциации соединений, после чего сливают расплав при постоянном облучении элементарными частицами плазмы, температура которой составляет не менее 10000°С в период времени в диапазоне 0,1 - 0,01 с для разрушения межатомных молекулярных связей химического вещества, разрыв которых усиливают посредством вращения расплава в тигельной турбине, в которой под действием вращения в поле высокого тяготения формируют слиток дискообразной формы с последующей сепарацией по объему диска химических веществ и разделением их по плотностям, причем выработка электроэнергии и тепла объединена с переработкой вещества, при этом поставки вещества потребителю энергии в виде жидкого энергоносителя осуществляют по трубопроводу с обратным возвратом части вещества от потребителя в виде хладагента по трубопроводу, образуя замкнутую систему переработки вещества и энергии. 2. Способ по п. 1, отличающийся тем, что углеводородный восстановитель выбирают из группы: метан, этан, пропан или пиролизный газ. 3. Способ по п. 1, отличающийся тем, что для получения сверхвысоких температур в падающей струе расплава, в зоне вокруг струи, осуществляют усиление обжатия струи расплава дополнительным отдельным электромагнитным полем, а также воздействуют на нее лазерным, электроннолучевым, радиоактивным и сверхчастотным излучением. 4. Способ по п. 1, отличающийся тем, что всю высвобождаемую тепловую энергию за счет экзотермических реакций горения водорода и термоядерных реакций перераспределяют внутри производственного контура для нагрева вещества посредством тепловых трубок и тепловых насосов, где излишки тепла преобразуют в механическую и электрическую энергии посредством двигателей Стирлинга, направляемые на поддержание горения дуги и работу механизмов оборудования, с образованием замкнутого цикла производства, получают продукт в виде слитка дискообразной формы и новых химических соединений, включая метанол, который направляют в контур потребления для производства энергии, после преобразования которой хладагент в виде углекислого газа поступает в производственный контур для охлаждения энергетического оборудования и далее поступает в повторную переработку для синтеза метанола, производства углерода и кислорода. 5. Способ по п. 1, отличающийся тем, что химические элементы, входящие в состав энергоносителя, включены в схему с повторной переработкой для переработки и разделения их до элементарных молекул, где углерод является основным восстановителем металлов, а водород и кислород - основными реагентами для сжигания в энергоустановках, при этом эти химические элементы по круговому замкнутому циклу поступают в устройства внутри производственного контура и контура потребления. 6. Способ по п. 1, отличающийся тем, что одновременно с протеканием процессов производства металлов, неметаллов из руды и энергоносителей из углеводородного сырья протекают процессы дополнительного производства углерода и водорода, связанные с железо-паровой конверсией, диссоциацией углекислого газа в плазме, диссоциацией метана внутри руды и в расплаве металлов посредством жидкометаллического пиролиза, которые протекают во время перемещения руды от момента попадания внутрь корпуса печи до момента плавления, что позволяет произвести полное разложение метана на водород и углерод, при этом реакцию диссоциации завершают проходом метана через плазму. 7. Способ по п. 1, отличающийся тем, что обеспечивают газовые потоки, содержащими СН4, О2, Н2, Н2О, СО и СО2, которые по ходу движения продолжают вступать между собой в реакции, при этом зоны проведения указанных реакций разделены и позволяют осуществить автотермическую реакцию синтез-газа, который поступает на участок синтеза метанола и производство энергии. 8. Способ по п. 1, отличающийся тем, что во время плавления из шихты через газовую фазу все ядовитые химические элементы улавливают на охлаждаемых фильтрах и отделяют от расплава восстановленного металла с неметаллами, который далее сливают и делят на составляющие в тигельной турбине, формируя слиток дискообразной формы, во внешней части которого скапливаются тяжелые металлы, включая редкоземельные металлы и металлы платиновой группы, а летучую часть вещества, включая магний, цинк, мышьяк, при ее переходе в газообразную фазу разделяют на фракции при конденсации за счет различной температуры кипения, которые совместно с синтез-газом образуют поток, проходящий через фильтр из падающих частиц руды, на котором оседают твердые частицы, включая сажистый углерод, далее очищенный поток поступает в ректификационные колонны, в каждой из которых установлены конденсационные стержни для конденсации вещества, имеющего более высокую температуру кипения, при этом при переменном нагреве конденсационных стержней, которых два и более, осуществляют слив вещества в отдельные тигли, из которых конденсат, состоящий из различных веществ удаляют через сепараторы, а шлаки снова возвращают в повторный процесс плавления, при этом очищенный поток синтез-газа и легкокипящие примеси по трубопроводу поступают в сепаратор для разделения на основные газы, откуда синтез-газ подают на производство энергоносителя. 9. Устройство выработки электроэнергии и тепла в химико-металлургическом процессе переработки руды, углеводородного сырья и отходов, содержащее расходуемый плазмотрон, состоящий из графитового катода и анода, источник электропитания, выпрямитель, тигель, тигельную турбину, линии движения, подшипник, электрододержатель, вакуумный насос, дробилку шихты, вакуумную камеру, горизонтальную и вертикальную шахты, шнек, поршень, патрубок, иглу, фильтр, накопитель, шток, привод, турбинные лопатки, электрод, соленоид, индуктор, электромагнитное поле, плазма, производственный контур, контур потребления, конденсатор, трубопроводы, контакты, сопло, тигельную турбину, ванну расплава, ректификационные колонны с конденсационными стержнями, компрессоры, трубопроводы, энергоустановки, включающие атомную электростанцию (АЭС), водороднотепловую электростанцию (ВТЭС) и топливный элемент (ТЭ), тепловые насосы (ТН), тепловые трубки (ТТ) и двигатель Стирлинга (ДС), компрессор, опорную плиту, задвижку, аппарат синтеза углеводородов, производящий химические продукты, включая метанол, отличающееся тем, что плазмотрон установлен в камере плавления и выполнен с возможностью плавления при помощи плазмы шихты в виде смеси частиц руды и углеводородов в горизонтальной шахте, и формирования ванны расплава на днище опорной плиты, оборудованной задвижкой для слива расплава в виде струи во вращающуюся тигельную турбину после восстановления металлов, при этом вращающаяся тигельная турбина выполнена с возможностью перевода падающей струи расплава в сверхкритическое высокотемпературное состояние при облучении потоком элементарных частиц плазмы и при обжатии струи электромагнитным полем соленоида и струей газа из метана, расширения перегретого расплава, его сепарации при вращении тигельной турбины за счет струи газа из метана и образования слитка дискообразной формы, в дальнейшем поступающего на электролиз. 10. Устройство по п. 9, отличающееся тем, что днище опорной плиты, предназначенное для образования ванны расплава, выполнено с донным отверстием в виде сужающегося конуса, перекрывающимся задвижкой для выпуска расплава и повторного накопления шихтой освободившегося пространства для повторного набора ванны расплава, при этом вокруг выпускаемой струи расплава, находящейюся между опорной плитой и тигельной турбиной, размещен отдельный соленоид, создающий электромагнитное поле, воздействующее на плазму и вещество, а лазеры, электронно-лучевые пушки или магнетроны выполнены с возможностью дополнительного облучения вещества струи расплава. 11. Устройство по п. 9, отличающееся тем, что тигельная турбина выполнена с возможностью вращения при помощи метановой струи газа, поступающей на турбинные лопатки, закрепленные на тигельной турбине, и обеспечивающей ее охлаждение и диссоциацию метана на углерод и водород, захватываемый вакуумным насосом, предназначенные для восстановления металлов в расплаве шихты и метанола, соответственно, камера плавления выполнена вакуумной с возможностью откачивания через патрубок вакуумным насосом, выполненный с возможностью ускорения процессов восстановления металла и диссоциации веществ и подачи летучих частиц металлов и газовых продуктов реакции на фильтр при выходе из патрубка, предназначенный для падающих частиц шихты, ректификационные колонны выполнены с возможностью конденсации и кристаллизации паров металлов, включающих магний, цинк, марганец, серу, углерод, фосфор, с оседанием их на нагреваемых стержнях и в отдельных тиглях, выполняющих роль ловушки-холодильника падающих частиц шихты, а сепаратор выполнен с возможностью разделения веществ на различные химические элементы, поступающие из ректификационных колон. 12. Устройство по п. 9, отличающееся тем, что выполнено в виде единой системы участков производства энергии, плавления, восстановления металлов и неметаллов, ограниченной производственным контуром, который через трубопроводы с энергоносителем и хладагентом связан с контуром потребления, при этом контур потребления выполнен с возможностью преобразования энергоносителя - метанола в водород для производства энергии и углекислого газа, направляемого в производственный контур для охлаждения продуктов реакций и пара, с последующим его нагревом и повторной переработкой, включая образование метанола, углерода и кислорода, образуя единую конструкцию, выполненную с возможностью одновременного производства из исходных рудных и углеводородных реагентов, газообразные продукты реакции, синтезируемые в метанол и твердый остаток в виде слитка дискообразной формы с одновременным производством перегретого пара, используемого для вращения паровой турбины, генератора, вырабатывающего электроэнергию для поддержания горения электродуги плазмы, подогрева реагентов, привода механизмов и компрессоров. 13. Устройство по п. 9, отличающееся тем, что оборудовано шнеком, который выполнен с возможностью замешивания в шихту жидкотекучих углеводородов, включающих нефть, мазут или тяжелые отходы нефтепереработки, и подачи по трубопроводу в горизонтальную шахту, а также линией подачи твердых углеводородов в шихту в виде угля, горючих сланцев, торфа, нефтеносных песков, и подачи в ванну с водой, и дополнительно по крайней мере две шахты, выполненные с возможностью подачи шихты в камеру плавления из ванны с водой, в которую загружают промышленные отходы, при этом диаметр дробилки и шахты подобран большим по площади относительно хранилища транспортного средства, которое доставляет бытовые отходы на переработку, а в турбине после плавления и слива порции расплава из камеры плавления сформирован кольцевой слиток дискообразной формы, в котором восстановленные металлы и переплавленные металлы, находившиеся в бытовых отходах, включая медь, железо, алюминий, олово, сосредоточены на нем, исходя из того, что на внешнем контуре слитка сосредоточен наиболее плотный металл, который содержит все сопутствующие драгоценный металлы, а далее с уменьшением плотности все остальные металлы и неметаллы и далее наиболее легкие твердые примеси, такие как оксид кремния, кремний и углерод.
Предлагаемое изобретение относится к области энергохимико-металлургического производства и может быть использовано для переработки руды, углеводородного сырья и отходов с последующей сепарацией, восстановлением и рафинированием любых металлов и неметаллов с получением углеводородов и химических продуктов, для выработки электроэнергии, химической и тепловой энергии, а так же для производства, транспортировки и хранения энергоносителей. [1] В качестве первого аналога предлагаемого изобретения принят способ, запатентованный в США (патент US4363832). Этот способ позволяет в форме (тигле) из продуктов реакции самораспространяющегося высокотемпературного синтеза создавать металлическую трубу с покрытием на внутренней поверхности из оксидной керамики. Данный способ использует поле центробежных сил с ускорением, примерно, [2] В качестве второго аналога предлагаемого изобретения принят способ руднотермической выплавки шлаков и восстановления металлов. Для разделения оксидов титана, железа и других примесных элементов, входящих в состав титановых концентратов, в широком промышленном масштабе используется восстановительная руднотермическая электроплавка этих концентратов, в результате которой большая часть оксидов железа восстанавливается до металла, а оксиды титана и часть примесных элементов переходят в шлак. [3] В качестве третьего аналога предлагаемого изобретения принят способ для карботермического восстановления металлов из оксидного сырья, плавильным плазмотроном. Это плазмотрон обратной полярности, где электрическая дуга замыкается на расплав металла, восстановленного из оксидного сырья. [4] В качестве четвертого аналога принят способ плавления на обратной полярности, разработанный в ИЭС им. Е.О. Патона. Особенность способа заключается в том, что применяются два источника питания. Один источник питания - для непрерывного поддержания дежурной дуги, горящей между внутренним электродом, являющимся катодом и соплом плазмотрона, являющимся анодом, другой источник служит для питания основной дуги, горящей между анодом и переплавляемым металлом, являющимся катодом. Использование сопла в качестве анода для основной дуги позволяет исключить влияние тока обратной полярности основной дуги на внутренний катод, тем самым обеспечивается его хорошая стойкость, а его малый диаметр обеспечивает устойчивое горение дежурной дуги на токах 2-5 А. При малых расходах плазмообразующего газа (0,2-0,8 л/мин) анодное пятно основной дуги размещается внутри канала сопла, а сжатие столба дуги на открытом ее участке и вблизи катода обеспечивается защитным газом, так же как и при плавлении на прямой полярности. [5] В качестве пятого аналога изобретения принят кембриджский процесс прямого электрохимического восстановление TiO2 в расплавленном CaCl2. Реакция восстановления титана производиться при 950°С в закрытом электролизере, заполненном инертным газом на катоде, выполненном из твердого TiO2, тогда как окисление анионов кислорода происходит на графитовом аноде с выделением CO2. [6] В качестве шестого аналога изобретения принято производство водорода, осуществляемое железопаровым способом: Fe3O4+CO ↔ 3FeO+CO2, Fe3O4+H2 ↔ 3FeO+H2O, за счет многоступенчатого перехода, где КПД достигает 63 %. [7] Железопаровой способ применяется многие десятилетия, где водород восстанавливается железом и его закисью: При температуре 700 °С процесс протекает с достаточной скоростью, достигая содержания водорода в 63 % по первой и соответственно 41 % по второй реакции. Пар при этом используется не полностью, а сернистые соединения руды с паром образуют сероводород и другие соединения. Сульфид железа, реагируя с паром и водородом, образует водород содержащий CO2, CO, CH4 и H2S. [8] В качестве седьмого аналога изобретения принят австралийский процесс производства водорода, использующий железную руду, через которую прогоняют природный газ при температуре 600 ÷ 1000°С, где размер частиц руды находится в пределах 0,1 ÷ 10 мм, производя 2000 м3 водорода для которого требуется 27 кг железной руды. Руда, выступая в роли катализатора, видоизменяется и становится более пригодным продуктом для восстановления. Недостатком австралийского процесса является необходимость устранения углерода для восстановления реакционной способности рудного катализатора. [9] В качестве восьмого аналога изобретения принят жидкометаллический пиролиз для производства водорода, который был предложен Д. Тайрером в 1931 году. Это пиролиз метана в расплаве железа, но до практических испытаний предложение не дошло. Последние работы в этой области описывают протекание пиролиза при расходе газа 50 мл/мин, где выход по водороду составляет 78 %. Для получения водорода данным методом применяется жидкий свинец или олово с участием твёрдых частиц (SiC; Al2O; NiMo/Al2O3). Пиролиз успешно протекает в жидком магнии при 700 °С, где конверсия метана достигает 30 %. [10] В Калифорнийском университете для жидкометаллического пиролиза в качестве катализатора наиболее успешно был применён сплав 27 % Ni и 73 % Bi, где никель работает катализатором, а висмут растворителем. Полученный катализатор в 50 раз эффективнее расплава свинца и в 5 раз платины и никеля. [11] Жидкометаллический пиролиз возможен с участием жидкого олова или свинца, где присутствует карбид кремния, позволяя производить процесс до полного распада метана при температуре от 600 до 900 °С. [12] В качестве девятого аналога изобретения принята автотермическая конверсия производства синтез-газа, которая сочетает в одном реакторе несколько реакций: паровая конверсия [13] В качестве десятого аналога изобретения принят пароуглекислотная конверсия для производства метанола, где участвует смесь газов CH4, H2O, CO2 в соотношении 1:3,3:0,24 превращаясь на никелевом катализаторе при 860° в синтез-газ. [14] В качестве одиннадцатого аналога изобретения приняты водородные тепловые электростанции (ВТЭС), для реализации процесса по выработке электроэнергии используется сжигание водорода. [15] В качестве двенадцатого аналога изобретения приняты топливные элементы, позволяющие вырабатывать до 20 мВт и более электроэнергии использующие водород в качестве топлива. [6] В качестве тринадцатого аналога изобретения принята пароуглеродная конверсия производства водорода, где протекает реакция паров воды и углерода C + H2O = CO + H2 при 1000 °С производя водяной газ, который в дальнейшем поступает на производство метанола. [16] В качестве четырнадцатого аналога изобретения принят метод получения потоком элементарных частиц различных соединений вещества, которые включают, например, радиационно-термический крекинг тяжелых нефтей, метод электронно-лучевой обработки высокомолекулярных соединений, метод “Petrobeam”, радиационно-волновой крекинг (РВК), метод сверхвысокочастотного (СВЧ) облучения вещества, включающий вихревой эффект Ранка. [17] К методу облучения относится и процесс получения метанола из природного газа под действием лазерного излучения, где работают фотохимические процессы. Стадия активации метана кислородом с последующей диссоциацией связи углерод-водород составляет 230 кДж/моль, а конверсия метана с гидроксильным радикалом составляет 23 кДж/моль, что на порядок меньше и происходит под действием лазерного облучения. Переработка углеводородного сырья, облучаемого потоком элементарных частиц, позволяет на порядок снижать энергозатраты по сравнению с термическими способами. Современные физико-химические методы переработки тяжелой нефти подтверждают эффективность использования радиационно-волнового излучения для разделения межатомных и молекулярных связей вещества. Направленный поток элементарных частиц вызывает ионизацию любой среды, включая газы, жидкости или минералы, что приводит к изменению структуры и свойств вещества. В молекулах нагретого сырья связи обрываются из-за резонансных колебаний, где на выходе образуются облегчённые молекулы. Использование облучения вещества с вихревым эффектом Ранка позволяет примерно на порядок снизить энергозатраты, по сравнению с термическими технологиями. [18] В качестве пятнадцатого аналога принимается реакция Будуара позволяющая из монооксида углерода производить диоксид углерода и графит при заданной температуре по реакции 2CO → CO2 + C. Данная реакция экзотермична при всех температурах и позволяет в различных производственных процессах уменьшать количество газовой фазы вещества. [19] В качестве шестнадцатого аналога представлены тепловые насосы, которые используются в схемах тепловых электростанций, где вода рассматривается, как наилучший хладагент. На воде создан высокотемпературный тепловой насос по проекту ANR “PACO”. [20] Тепловые насосы используются при передаче тепловой энергии от менее нагретой среды к более нагретой, которая все больше используются на ТЭЦ. [21], [22] В качестве семнадцатого аналога представлены двигатели Стирлинга, работающие по замкнутому циклу, которые используется для совершения работы, используясь, например, в качестве насосов для перекачки вещества или для получения электрической энергии. Работа двигателя Стирлинга, обеспечивается за счёт тепловых труб, которые можно использовать с любым источником тепловой энергии. Благодаря чему система с двигателем Стирлинга становится многотопливной. Принцип действия тепловых труб заключается в переносе тепла, находящегося в замкнутом пространстве, веществом с фазовым переходом. [17] В качестве восемнадцатого аналога представлена технология получения метанола из природного газа под действием лазерного излучения. В основу технологии положены фотохимические процессы, позволяющие на порядок снизить энергозатраты при активации метана молекулярным кислородом, за счёт гидроксильного радикала. [23] В качестве девятнадцатого аналога принят процесс производства магния, где печь состоит из реактора, промежуточной и конденсационной камеры, а обогрев производится элементами сопротивления [24] В качестве двадцатого аналога принят метод электротермического восстановления алюминия перспективнее электролизного, поскольку он расходует в два с половиной раза меньше электроэнергии. [25] Процесс электролизного восстановления алюминия затрачивает 15 кВт⋅ч (57,6 Мдж) электроэнергии на килограмм производимого алюминия, а при электротермическом восстановлении затраты составляют 6 кВт⋅ч (22,5 МДж). [26] Эффективным вариантом, является процесс восстановления алюминия в плазме природным газом, где при карботермическом восстановлении, выход алюминия приближается к 100%. [27] Близким техническим решением, в качестве прототипа принят способ по патенту РФ №2524036, где жидкая фаза металла, поступая в тигель, подогревается в окислительной или восстановительной атмосфере, при этом в расплаве протекают химические реакции и продукты реакции разделяются по плотностям, уходя из зоны реакции в разные стороны под действием центробежных и гравитационных сил, а основной металл кристаллизуется в слиток на внутренней части тигля. Лёгкие примеси вытесняются на поверхность расплава. Для их удаления слиток переворачивают и сливают вместе с расплавом, тяжёлые примеси уходят на периферию слитка, с которого в дальнейшем удаляются различными методами. Предлагаемое изобретение решает задачи восстановления, рафинирования и разделения химических веществ из руды, с участием углеводородов и сопутствующих соединений, где используя плазмохимические реакции, электролиз и крекинг, позволяющие при меньших затратах энергии разрушать атомно-молекулярные связи этих соединений и на выходе синтезировать жидкие топлива, сформировать твердый остаток в виде диска, где металлы и неметаллы по его объему разделяются по плотностям, а также производить энергию на электростанциях за счет выделяемого в процессе водорода и кислорода, где образующееся тепло возвращается на производства, а произведенные вещества и энергоноситель уходят на рынок сбыта и к потребителю при температуре окружающей среды, при этом необходимое охлаждение конденсатора при производстве энергии обеспечивается потоком воды предварительно отдающей излишки тепла реагентам шихты и потоком углекислого газа возвращаемого из контура потребления энергии при температуре окружающей среды, где в контуре производства далее углекислый газ используют для повторной переработки. Процесс переработки вещества и выработки энергии протекает в замкнутом объеме производственного контура без выбросов тепловой энергии в окружающую среду за счет транспортировки вещества, где произведенные промышленные продукты остаются внутри контура и в дальнейшем, перед тем как идти за его пределы, служат аккумуляторами тепловой энергии. Предлагаемый способ решает задачу значительного снижения потерь при выработке энергии и энергозатрат, при переработке руды и углеводородов за счет объединения этих участков производства в единую систему и за счет дополнения термокаталитических реакций электролизом и фотохимическими реакциями, протекающими под действием облучения вещества электронами, ионами, фотонами и другими частицами. Процессы каталитического разделения и синтеза используют руду в качестве постоянно возобновляемого катализатора, а протекаемые параллельно металлургические процессы используют углеводороды в качестве восстановителей металлов из соединений этой руды. Объединенный процесс производства энергии с получением энергоносителей, газо-нефтепереработкой и с процессом металлургии позволяет за счет облучения вещества частицами плазмы снизить, как минимум на порядок, потребление энергии, по сравнению с энергией необходимой на проведение этих процессов раздельно. Для сохранения максимального количества энергии и предотвращения её потерь в окружающую среду, процесс производства энергии, переработки руды с углеводородами, производством энергоносителя, а так же процесс потребления энергии, производятся одновременно и связываются между собой. Для этого все процессы заключаются в пространстве двух или более контуров и связываются трубопроводами поставки энергоносителя и возврата хладагента. Для переработки вещества используется производственный контур, который соединен трубопроводами, передающими энергоноситель и хладагент, с контуром потребления, где расходуется энергоноситель. Внутри производственного контура имеются участки производства энергии, дробления, подготовки вещества, металлургии, сепарации, синтеза метанола, которые объединенные в единую систему. На участке производства электроэнергии две и более электростанции объединяются в единую систему, позволяя вырабатывать электроэнергию от внешних источников и позволяя работать на водороде, полученном внутри контура с целью максимально возможной стабильности проведения процесса, выработки энергии и переработки вещества. Предлагаемое изобретение решает задачу повышения энергоэффективности работы оборудования и расширение его технических возможностей по разделению, восстановлению и синтезу химических веществ, за счёт снижения энергозатрат, сокращения производственного цикла, совмещения различных процессов, уменьшения габаритов оборудования, повышения скорости и экологичности производства. Поставленные задачи достигаются тем, что способ плазменно-дугового электролитического центробежного конвертирования (ПДЭЦК) для производства металлов, неметаллов и энергоносителей заключается в том, что нагреваемые в тигле реагенты, состоящие из химических соединений металлов руды, углеводородов и воды, представляющих шихту, образующую падающей поток и перемещаемую по шахте, которая далее плавится за счет электродуги, горящей на электродах, образующей плазму, запитанную от энергоустановки, электромагнитных полей, облучения потоками элементарных частиц, электролиза, диссоциации и центробежных сил вращения под действием тигельной турбины, ректификационной колонны, конденсационных стержней, шлюзовых затворов, а так же электромагнитных полей соленоида, восстанавливаются в определенном объеме до металлов и шлаков, формируя слиток доскообразной формы, с образованием химических соединений в виде газов, которые в аппарате синтезируются в углеводородные продукты, отличающийся тем, что перед плавлением крупнокусковые руды и твердые углеводороды дробятся в воде до мелких частиц и смешиваются, образуя шихту, а жидкие и газообразные углеводороды в стехиометрическом составе добавляются к ней перед плавлением, поступая в зону горения плазмы, где образуется ванна расплава, в которой протекают химические реакции восстановления за счет углерода, водорода и монооксида углерода, которые усиливаются электролизом, а образующиеся газовые соединения образуют синтез-газ, из которого в аппарате синтезируют метанол, после восстановления металлов ванна расплава в потоке плазмы сплошной струёй сливается во вращающуюся тигельную турбину, где произведенные реагенты под действием вращения в поле высокого тяготения разделяются по плотностям, формируя слиток в виде диска, обеспечивая по его объему сепарацию химических веществ, разделяя их по плотностям, где восстановленный металл смещается на периферийную поверхность диска, а шлаки смещаются к центру вращения. Реагенты шихты поступают по горизонтальной шахте в зону горения дуги и плазмы, одновременно пополняясь продуктами реакций предшествующей плавки, а так же газообразными и жидкими углеводородами, где во время перемещения диссоциирует на сажистый углерод и водород, вступающий в реакцию с оксидами металлов и восстанавливая их с образованием монооксида углерода, который также производит восстановление до двуокиси углерода, а поступая в зону плавления, при температуре горения плазмы, где температура превышает две тысячи градусов Цельсия, восстановление металла из соединений производится только за счет углерода с образованием монооксида углерода, где водород создает защитную среду, предотвращая обратную реакцию окисления восстановленного металла, образуя совместно с угарным газом синтез-газ, из которого на выходе полученная смесь газов выкачивается за пределы зоны плавления и направляется на участок производства синтеза в аппарат метанола, где плазма, образуя из реагентов расплав, в начальный период времени горит над зеркалом ванны расплава, а после образования заданного объема расплава плазма с электродом, выполняющим роль анода, погружается в расплав, позволяя осуществлять процесс электролиза с химическим восстановителем металлов и диссоциацией соединений, а затем сливаемый расплав постоянно облучается элементарными частицами плазмы, позволяя с наименьшими энергозатратами разрушать межатомномолекулярные связи вещества, разрыв которых усиливается за счет вращения расплава в турбине и воздействия на его вещество поля высокого тяготения, где эффект разрыва межатомномолекулярных связей усиливается за счёт сжатия струи расплава и потока плазмы, электромагнитным полем соленоида, при этом повышение напряжённости электромагнитного поля, приводит к сжатию потока плазмы и повышению температуры, что увеличивает скорость перемещения атомов и молекул внутри расплава и способствует более интенсивному разрыву связей, что переводит вещество в сверхкритическое высокотемпературное состояние, не позволяя ему испаряться, за счёт обжатия электромагнитным полем, которое сохраняется в сверхкритическом высокотемпературном состоянии и далее под действием вращения, начинает расширяться и терять температуру под действием кинетической энергии вращения, а химические элементы за счёт различной плотности, начинают отделяться друг от друга, создавая эффект высокоскоростной сепарации, где на периферию слитка выжимается более плотное вещество, а к центру наименее плотное вещество, при этом идет процесс зонной очистки расплава, где тяжелые металлы кристаллизируются в гарнисаж на внешнем диаметре, а легкие шлаки вытесняются в расплав на внутренний диаметр слитка, в зону обогрева расплава плазмой. Перевод вещества струи расплава в высокотемпературное состояние производится на небольшой период времени в диапазоне 0,1÷0,01 сек для разрыва связей, под воздействием фотоэффекта созданного потоком элементарных частиц в поле высокого тяготения, который аналогичен эффекту Ранка, позволяя из сложных веществ получать более простые по составу вещества, со значительно меньшими энергозатратами, при этом разрыв связей происходит на некотором отдалении от электродов плазмотрона, не позволяя воздействовать на вещество электродов действием сверхвысоких температур, а для получения сверхвысоких температур в падающей струе расплава, которые в обычных условиях любое вещество переводят в пар, возможно, в зоне вокруг струи, производить усиление обжатия струи дополнительным отдельным электромагнитным полем, а так же воздействовать на неё лазерным, электронно-лучевым, радиоактивным и сверхвысокочастотным излучением. Процесс восстановления металлов в ванне расплава и получение неметаллов ускоряется за счет диссоциации веществ при повышенной температуры, а так же под воздействием вакуума, где восстановителями для оксидов металлов служат твердые, жидкие и газообразные углеводороды, замешиваемые в руду в стехиометрическом составе, которые под действием плазмы диссоциируют на реагенты образующие синтез-газ, из которого в аппарате синтезируют метанол, где вещество минералов разделяется в тигле за счет восстановления, а затем в тигельной турбине за счет гравитационного поля высокого тяготения, образуя металлы и неметаллы, включающие соединения, состоящие из оксидов, карбидов, фторидов или нитридов, где процесс устроен таким образом, что из расплава в одну сторону идёт кристаллизация чистого металла, а в другую сторону идёт вытеснение не металлических примесей, включая газовые, тем самым, предотвращая обратную реакцию их взаимодействия, а при восстановлении и диссоциации металлов и неметаллов из смеси руды и углеводородов, восстановителями металлов служит водород, углерод и угарный газ образующиеся в результате диссоциации углеводородов, где для конверсии углеводородов, служат руды являясь катализаторами ускоряющими реакции и снижающие энергозатраты, при этом обратные реакции окисления металлов предотвращаются за счет выделения восстановителей водорода, углерода и угарного газа. Способ плазменно-дугового электролитического центробежного конвертирования (ПДЭЦК) для производства металлов, неметаллов и энергоносителей заключается в том, что нагреваемые в тигле реагенты, состоящие из химических соединений металлов руды, углеводородов и воды, представляющих шихту, образующую падающей поток и перемещаемую по шахте, которая далее плавится за счет электродуги, горящей на электродах образующей плазму запитанную от энергоустановки, электромагнитных полей, облучения потоками элементарных частиц, электролиза, диссоциации и центробежных сил вращения под действием тигельной турбины, ректификационной колонны, конденсационных стержней, шлюзовые затворы, а также электромагнитных полей соленоида, восстанавливаются в определенном объеме до металлов и шлаков, формируя слиток доскообразной формы, с образованием химических соединений в виде газов, которые в аппарате синтезируются в углеводородные продукты, включая использование в процессе производства теплоэнергетические установки вырабатывающие электроэнергию и тепло, а так же объекты потребления энергии, куда по трубопроводам поступает вещество и возвращаются продукты реакции, отличающийся тем, что процесс выработки электроэнергии и тепла объединён с процессом переработки вещества, поставки вещества потребителю энергии в виде жидкого энергоносителя по трубопроводу с обратным возвратом части вещества от потребителя в виде хладагента по трубопроводу, образуя замкнутую систему переработки вещества и энергии, где восстановление и диссоциация металлов и не металлов, включая синтез метанола ускоряется и требует значительно меньшего количества энергии за счет одновременного проведения реакции, сепарации, синтеза и выработки энергии, где для производства электро- и тепловой энергии, используется комбинированная энергоустановка, включающая основные агрегаты электростанций на базе АЭС, ВТЭС и ТЭ собранных в единый комплекс, куда поступает выделяемый водород и кислород от химико-металлургического процесса переработки вещества, где направляется на сжигание для выработки тепла и электроэнергии, в свою очередь выделяемое тепло, электроэнергия и вода от энергоустановки, поступают на участок проведения плазмохимического процесса и на участок синтеза метанола. Процесс производства и потребления энергии, восстановления металлов, неметаллов, диссоциации сложных соединений на более простые соединения совмещен с процессом синтеза химической продукции и подготовки шихты в единый процесс переработки энергии и вещества, где производится пересечение технологических цепочек всех производственных участков, заключенных в производственном контуре и всех участков заключенных в конутре потребления, в которые входят все необходимые исходные компоненты при температуре окружающей среды и из которых выходят за границу контура реагенты и продукты реакции, при температуре окружающей среды, где выделяемое тепло от любого вида производства внутри контура идет на нагрев входящих реагентов, а забираемый холод идет на охлаждение пара энергоустановок и производственное оборудование, при этом из производственного контура в контур потребления, энергоноситель в виде метанола поступает по трубопроводу, выходя за границу контура при температуре окружающей среды, а из контура потребления возвращается хладагент в виде газообразного углекислого газа, двигаясь за пределами контура потребления, при температуре окружающей среды, хладагент, поступая в контур производства, используется для охлаждения пара энергоустановок и метанола покидающего производственный контур и далее подогреваясь углекислый газ идет на образование плазмы, синтез метанола или диссоциацию для получения углерода и кислорода, при этом одновременно из входящих реагентов производится восстановление металла, синтезируются химические соединения, идёт сжигание водорода на энергетическом оборудовании, то есть система работает как единое целое, где процессы управляются компьютерной программой с участием автоматизированной системы управления. Вся высвобождаемая тепловая энергия за счет экзотермических реакций, горения водорода и термоядерных реакций перераспределяются внутри производственного контура для нагрева вещества, за счет тепловых трубок и тепловых насосов, где излишки тепла преобразуются в механическую и электрическую энергию за счет двигателей Стирлинга, направляемую на поддержание горения дуги и работу механизмов оборудования, образуя замкнутый цикл производства, где в результате на выходе в виде продукта образуется кольцевой слиток и новые химические соединения, включая метанол, направляемый в контур потребления, для производства энергии, в результате преобразования которого обратно возвращается хладагент, в виде углекислого газа, охлаждающий энергетическое оборудование и далее поступающий в повторную переработку, для синтеза метанола и производства углерода и кислорода, позволяя приблизить энергозатраты на выходящие продукты близко к теоретическим энергозатратам, химические элементы входящих в состав энергоносителя включаются в схему с повторной переработкой, позволяя более полно перерабатывать реагенты и разделять их до элементарных молекул, где углерод, является основным восстановителем металлов, а водород и кислород основными реагентами для сжигания в энергоустановках, таким образом, эти химические элементы по круговому замкнутому циклу поступают в любые устройства внутри производственного контура и контура потребления, за счет этого система по компьютерной программе и АСУ может регулировать любое заданное количество реагентов, необходимых для протекания различных реакций позволяющих производить оптимальное количество металлов, неметаллов и энергоносителей, одновременно с протеканием процессов производства металлов, неметаллов и энергоносителей идут процессы дополнительного производства углерода и водорода связанные с железопаровой конверсией, диссоциации углекислого газа в плазме, диссоциацией метана внутри руды и в расплаве металлов за счет жидкометаллического пиролиза, которые протекают во время перемещения руды, от момента попадания внутрь корпуса печи, до момента плавления, что позволяет произвести полное разложение метана на водород и углерод, где реакция диссоциации завершается проходом метана через плазму, что позволяет использовать процесс для основного производства водорода и углерода в больших количествах, плазма выполняет роль нагревателя, образует расплавы из входящих рудных реагентов, которые служат эффективными катализаторами для диссоциации входящих углеводородных реагентов, позволяя производить их деление на более простые соединения с наименьшими энергозатратами, где одновременно высокой скоростью производится водород и углерод, в свою очередь являющихся восстановителями металлов из руды, а также плазма выполняет роль источника потока элементарных частиц, которые воздействуя на межатомномолекулярные связи вещества, разрушают их с наименьшими затратами энергии. В ходе реакции на выходе идут газовые потоки, содержащие различное количество CH4; O2; H2; H2O; CO и CO2, которые по ходу движения продолжают вступать между собой в реакции, где все зоны проведения указанных реакций разделены, позволяя осуществлять автотермическую реакцию синтез-газа, который расходуется на синтез метанола и производство энергии, где шихта состоящая из руды служит катализатором деления углеводородов для синтеза метанола, а шихта содержащая углеводороды после деления на составляющие, служит восстановителями для производства металлов из руды, где в ходе процесса осуществляются автотермические реакции, где не требуется осуществлять операцию восстановления катализатора, так как руда автоматически обновляется, что значительно упрощает процесс, где поддержание автотермической реакции в ходе процесса, осуществляется за счёт возможности регулирования температуры, давления и объёма реагентов, под действием компьютерной программы и АСУ, перенаправляя вещество на различные производственные участки внутри контура, соответственно подбирая время плавления заданного объема шихты, влажности, степень диссоциации вещества, количество реагентов и другие параметры, возможно, добиться режима, при котором с наименьшими энергозатратами может восстанавливаться максимальное количество металла, неметалла и синтезироваться максимальное количество энергоносителя, во время плавления из шихты через газовую фазу, устраняются все ядовитые химические элементы, улавливаясь на охлаждаемых фильтрах, и отделяются от расплава восстановленного металла с неметаллами, который далее сливается и делится на составляющие в турбине, формируя диск, где во внешней части скапливаются все тяжелые металлы, включая редкозёмы и металлы платиновой группы, а летучая часть вещества, переходя в газообразную фазу, разделяется на фракции при конденсации, за счёт различной температуры кипения, включая магний, цинк, мышьяк, которые совместно с синтез-газом образуют поток, проходящий через фильтр из падающих частиц руды на котором оседают твёрдые частицы, включая сажистый углерод, далее очищенный поток, поступает в ректификационные колонны, где в каждой колонне установлены конденсационные стержни, на которых конденсируется вещество, имеющее более высокую температуру кипения, конденсационные стержни, которых два и более, попеременно нагреваются, позволяя сливать вещество в отдельные тигли, из которых конденсат, состоящий из различных веществ удаляется через сепараторы, поступая на Рынок, а шлаки снова возвращаются в повторный процесс плавления, при этом очищенный поток синтез-газа и легкокипящие примеси, по трубопроводу поступает в сепаратор, разделяется на основные газы, откуда синтез-газ идёт на производство энергоносителя, разделенные примеси поступают на Рынок. В итоге работы производится кольцевой слиток, содержащий чистые металлы, без примесей включая углерод, а после кристаллизации слитка и прекращения вращения турбины слиток извлекается через шлюзовые затворы, далее отделение чистого металла от тяжелых и легких примесей, вмороженных в его контур, производиться электролизом, механической резкой, дроблением или химическим травлением, где дополнительное снижение энергозатрат при производстве металлов и неметаллов, включая энергоносители, достигается за счет использования водорода и кислорода, извлекаемых в ходе разделения вещества, сжигаемых на энергоустановках, производя дополнительную электроэнергию и тепло направляемые обратно в процессе, при этом значительное снижение энергозатрат достигается при использовании всего тепла выделяемого на энергоустановках для подогрева реагентов поступающих на металлургическое и химическое производство, а также дополнительное снижение энергозатрат достигается за счет передачи энергоносителя к месту потребления при температуре окружающей среды, откуда возвращается углекислый газ, также при температуре окружающей среды, который на входе в производственны контур выполняет функции хладагента, охлаждающего энергоустановки и далее в подогретом состоянии поступает на синтез энергоносителя или проходит через плазму образуя реагенты, которые также поступают на синтез энергоносителя или производство углерода и кислорода, при этом энергоустановки не используют сжигание органического вещества в виде сложных соединений, при котором низкий выход тепловой энергии и высокий выход токсичных соединений, где в качестве энергоустановки наиболее выступает объединенный комплекс, состоящий из оборудования классической АЭС, ВТЭС и ТЭ, где для сжигания в качестве топлива используется только водород, при этом термоядерный реактор АЭС в ходе процесса работает на постоянной мощности, которая находится в диапазоне от 1 до 50 % от общей мощности энергоустановки, а дополнительная мощность энергии, сглаживая пульсации при потреблении энергии, неизбежные в результатах осуществления процесса, производится за счет сжигания водородного топлива на ВТЭС и ТЭ, получаемого из перерабатываемого сырья, таким образом, образуется схема переработки тепла и электроэнергии вырабатываемой энергоустановкой в металлы, неметаллы и энергоносители, где вся вырабатываемая энергия преобразуется в вещество, представляющие металлы, неметаллы и энергоносители, которые могут храниться неограниченное время, позволяя перерабатывать все виды рудного и углеводородного сырья в готовую, высококачественную продукцию, где энергоноситель в виде метанола или синтетической нефти, накапливается на объекте производства и при необходимости транспортируется потребителю по трубопроводам, где из него извлекается водород, с помощью которого производится необходимая энергия и обратно транспортируется углекислый газ, то есть при использовании данной схемы, практически весь объём рудного и углеводородного сырья преобразуется в металлы, неметаллы и энергоноситель, которые направляются потребителю и на Рынок, с получением более высокой прибыли. Углеводороды перерабатываются на водород, где при его сжигании производят наибольшее количество энергии, а так же углерод, который поступает на рынок в качестве полезного материала, при этом из реагентов шихты, состоящих из руды, воды и углеводородов синтезируется энергоноситель в виде жидкого топлива, имеющего на Рынке в три раза большую стоимость, чем газообразное топливо, которое требует значительно меньших затрат на хранение и транспортировку потребителю, а подведение тепловой энергии и её преобразование осуществляется внутри производственного контура, где на вход подаются реагенты при температуре окружающей среды, а на выход поступают продукты, так же имеющие температуру равную температуре окружающей среды, повышая упорядоченность системы с уменьшением энтропии, делая процесс ПДЭЦК энергетически малозатратным, где на энергоустановках производящих электроэнергию внутри производственного контура сжигается только водород, в виду самой высокой его энергоэффективности и в результате горения образуется вода, которая как ценное сырье поступает на Рынок, а часть образованной воды используется как хладагент и сырьё для производства энергоносителей, при этом углерод, который сейчас сжигается на классических электростанциях, используется в качестве восстановителя реагентов, готового продукта поступающего на Рынок и в качестве сырья для производства электродов плазматрона, которые автоматически меняются в процессе плавления, для этого используется процессор углерода, где протекает реакция Будуара 2CO ↔ CO2 + C, откуда углерод, в виде чешуйчатого, нитевидного или пластинчатого графита поступает в накопитель, а за счёт плазмы из углекислого газа извлекается заданный объем кислорода и угарного газа, где производится его диссоциация по реакции CO2 → CO + 0,5O2, далее полученный кислород расходуется на автотермическую реакцию образования синтез-газа, сжигание или другие необходимые реакции. Устройство плазменно-дугового электролитического центробежного конвертирования (ПДЭЦК) содержит расходуемый плазмотрон, состоящий из графитового катода и анода, источник электропитания, выпрямитель, реагенты шихты, включающие соединения руды, углеводородов и воды, восстановители в виде твердых частиц, жидкостей или газов, тигель, тигельную турбину, линии движения, электрододержатель, вакуумный насос, дробилка шихты, вакуумную камеру, горизонтальную и вертикальную шахты, шнек, поршень, патрубок, иглу, фильтр, накопитель, шток, привод, турбинные лопатки, электрод, соленоид, индуктор, электромагнитное поле, плазма, производственный контур, контур потребления, конденсатор, трубопроводы, контакты, сопло, тигельную турбину, ванна расплава, компрессоры, трубопроводы, энергоустановки, включающие атомные электростанции (АЭС), водороднотепловые электростанции (ВТЭС) и топливные элементы (ТЭ), тепловые насосы (ТН), тепловые трубки (ТТ) и двигатели Стирлинга (ДС), компрессор, опорную плиту, задвижку, аппарат синтеза, производящий химические продукты включая метанол, отличающееся тем, что для плавления реагентов создается смесь частиц руды и углеводородов, в виде шихты, которая подается под факел плазмотрона по горизонтальной шахте, под торец центрального катода и трубчатого анода, являющихся электродами плазмотрона, где зажигается дуга, горящая на внутренней поверхности электродов с её вращением, внутри которых формируется плазма, создающая ванну расплава на которую при погружении замыкается анод, а расплав выполняет функцию катода, производя электролиз расплава, где на ванну расплава подключается отрицательный полюса от выпрямителя и источника питания, а ванна расплава после восстановления металлов за счет открытия задвижки сливается в виде струи во вращающуюся тигельную турбину, которая раскручивается струёй газа из метана, где падающая струя расплава облучается потоком элементарных частиц плазмы, переводя расплав в сверхкритическое высокотемпературное состояние за счет обжатия струи электромагнитным полем соленоида, далее перегретый расплав расширяется и сепарируется за счет вращения тигельной турбины, где тяжелые химические элементы двигаются к периферии, а легкие химические элементы к центру вращения, образуя кольцевой дисковый слиток, после сплавления расходуемого электрода слиток и шлак извлекается из разборной тигельной турбины и слиток поступает на электролиз. Днище опорной плиты, где образуется ванна расплава, выполнено с донным отверстием в виде сужающегося конуса и перекрывается задвижкой для выпуска расплава и повторного накопления шихтой освободившегося пространства, для повторного набора ванны расплава, в которой дополнительное повышение температуры плазмы производится за счет электромагнитного поля соленоидов, которое охватывает внутреннее пространство ванны расплава, позволяя более интенсивно производить восстановление металлов и диссоциацию соединений, влияя на протекание химических реакций и количество восстанавливаемого, диссоцируемого и синтезируемого вещества, которое участвует в производстве энергии и в виде энергоносителя метанола по трубопроводу направляется на переработку в контур потребления для производства энергии вдали от производственного контура, откуда из контура потребления возвращается по трубопроводу в виде хладагента - углекислого газа, для охлаждения продуктов производства и повторного вовлечения в переработку, а вокруг выпускаемой струи расплава, находящейся между опорной плитой и тигельной турбиной размещается отдельный соленоид, создающий более мощное электромагнитное поле воздействия на плазму и вещество, а также размещаются лазеры, электронно-лучевые пушки или магнетроны, дополнительно облучающие вещество струи расплава, тигельная турбина приводиться во вращение метановой струёй газа, поступающей на турбинные лопатки закрепленные на тигельной турбине, позволяя отказаться от использования привода и обеспечивать охлаждение тигельной турбины и расплава и позволяя одновременно диссоциировать метан, на углерод и водород, захватываемый вакуумным насосом, где углерод оседает на падающих частицах в вертикальной шахте и направляется как восстановитель для восстановления металлов в расплаве шихты, а водород направляется на синтез метанола, образуя с угарным газом, который в свою очередь образован слиянием углерода и кислорода за счет восстановления оксидов металлов, образуя синтез-газ, при этом процесс плавления проводится в вакуумной камере, которая откачивается через патрубок вакуумным насосом, ускоряя процесс восстановления металла и диссоциацию веществ, где летучие частицы металла и газовые продукты реакции при выходе из патрубка улавливаются фильтром из падающих частиц шихты и далее поступают в ректификационные колонны, оседая на нагреваемых стержнях и оседая в отдельных тиглях выполняющими роль ловушки-холодильника для конденсации и кристаллизации паров металлов, включая магний, цинк, марганец, серу, углерод, фосфор и другие, более летучие соединения, поступают в сепаратор, разделяющий вещества на различные химические элементы. В зону горения дуги для образования плазмы подается газовый углеводородный восстановитель, включая метан, этан, пропан или пиролизный газ, которые при диссоциации в электродуге на сажистый углерод и водород восстанавливают оксиды металлов, а так же в качестве плазмообразующего газа подается углекислый газ, который диссоциирует на монооксид углерода и кислород, при этом монооксид углерода восстанавливает металлы, а кислород обеспечивает протекание автоматических реакций при взаимодействии с метаном, паром и углекислым газом с образованием синтез газа, который направляется в специализированный аппарат, где производится синтез метанола, где образуемое тепло синтеза экзотермической реакции, плазмы и горения водорода направляется на подогрев реагентов и производство пара, для выработки электроэнергии, работу компрессоров и механизмов, включая вращение дробилки шихты, при этом процесс завершается формированием дискового слитка. Схема ПДЭЦК объединена в единую систему участков производства энергии, плавления, восстановления металлов и неметаллов, ограниченную в границах производственного контура, который в свою очередь, через трубопроводы с энергоносителем и хладагентом связан с контуром потребления, где энергоноситель - метанол преобразуется в водород из которого производится энергия и углекислый газ, который возвращается в производственный контур для охлаждения продуктов реакций и пара, далее нагреваясь, поступает на повторную переработку, включая образование метанола, углерода и кислорода, образуя единую конструкцию и позволяя одновременно производить из исходных рудных и углеводородных реагентов, газообразные продукты реакции, синтезируемые в метанол и твердый остаток в виде дискового слитка с одновременным производством перегретого пара, используемого для вращения паровой турбины, генератора вырабатывающей электроэнергию для поддержания горения электродуги плазмы, подогрева реагентов, привода механизмов и компрессоров, чтобы снизить себестоимость производства металлов и неметаллов, включая энергоносители и хладагенты, за счет создания в этой схеме энергозамкнутого цикла в производственном контуре объединенным с контуром потребления, при этом используя в качестве пускового источника электроэнергии атомные электростанции или электростанции из возобновляемых источниках энергии, где процесс производства химических веществ становиться наиболее экологически чистым и менее энергозатратным. Устройство используется в качестве мусороперерабатывающего завода, где отходы пересекают линию производственного контура, при температуре окружающей среды, а внутри контура охлаждают воду, которая идет на охлаждение пара в конденсаторе, при этом по одной линии в ёмкость с водой поступают промышленные отходы, которые имеют подобный состав с промышленной рудой, являясь минералами, которые в своем составе в основном содержат кислород и который при переработке будет далее служить составляющим элементом в синтезируемом метаноле и воде, а по другой линии в ёмкость с водой поступают бытовые отходы, которые в основном содержат углеводороды, углерод и металлы, где углерод в основном содержится в бумаге, древесине, картоне и т.п., а углеводороды, содержатся в пластике, которые при переработке так же будут служить составляющими элементами в синтезируемом метаноле и воде, где далее рабочая схема с переработкой промышленных и бытовых отходов работает аналогично схеме, переработки обычной руды и углеводородов, где отходы так же представляют шихту и смешиваясь в дробилке поступают в вертикальную и горизонтальную шахту, а для продвижения отходов по горизонтальной шахте используется шнековый механизм или механизм, типа поршня проталкивающего вещество, при смешивании отходов в образующуюся шихту добавляются ископаемые углеводороды, поступающие по трубопроводу в горизонтальную шахту и замешиваются в шихту шнеком, жидкотекучие углеводороды, включают нефть, мазут или тяжелые отходы нефтепереработки, а твердые углеводороды подаются в шихту в виде угля, горючих сланцев, торфа, нефтеносных песков, по линии в ванну с водой, куда загружаются промышленные отходы и далее поступают в зону плавления сразу по нескольким шахтам, которых может быть две и более, где при подаче отходов по нескольким шахтам, происходит более равномерное выравнивание химического состава шихты, где производится в зоне плавления за счет поступления отходов с различным химическим составом по каждой шахте, а диаметр дробилки и шахты подбирается большим по площади, относительно хранилища транспортного средства, которое доставляет бытовые отходы на переработку, после плавления и слива порции расплава в турбину, формируется слиток, где содержатся восстановленные металлы и переплавленные металлы, находившиеся в бытовых отходах, например, медь, железо, алюминий, олово и т.п., при этом на внешнем контуре слитка будет сосредоточена медь, как наиболее плотный металл, которая содержит все сопутствующие драгметаллы, а далее с уменьшением плотности все остальные металлы и неметаллы и далее наиболее легкие твёрдые примеси, такие как оксид кремния, кремний и углерод на который для охлаждения слитка подаётся пар через сопло, за счет чего образуется водяной газ, являясь сырьём для производства метанола, а после извлечения слитка, дальнейшее разделение полученных веществ производится известными промышленными способами, которые включают электролиз, дробление, сепарацию, плавление и другие способы, при этом переработка бытовых и промышленных отходов ни чем не отличается от переработки обычной руды с добавлением угля, торфа, сланцев, нефтеносных песков и т.п. По аналогии с обычной шихтой, может перерабатывать плавающий мусор в океанах, который представляет из себя бытовые отходы и который будет собираться без его разделения, направляясь в дробилку для смешивания с любым грунтом содержащим оксиды металлов, при этом для создания рабочей шихты, к бытовому мусору будет добавляться ископаемая руда, находящаяся рядом с мусором, как источник кислорода, в качестве этой руды, со дна моря добывается песок, глина, галька и тому подобные соединения, которые замешиваются в бытовые отходы, поступая далее в шахту под действием прессующих механизмов для переработки в камере плавления, где в результате переработки будут получены металлы, неметаллы, метанол и вода, а при работе плавучей фабрики, мусорные плавающие острова будут рассматриваться в качестве плавающих рудников по добыче полезных ископаемых. Блок-схема работы устройства объединяет промышленный контур с контуром потребления в единую систему связанную между собой трубопроводами передающими энергоносители и хладагенты, где за границу промышленного контура и контура потребления, тепловая энергия расходуется в зависимости от его теплопроводности, а внутри промышленного контура на максимально близком расстоянии друг от друга размещены участки различных производств, границы которых пересекаются, так как они используют общие узлы и объединены для повторного использования вещества и энергии друг друга, где производится первичное и вторичное тепло и электроэнергия, энергоноситель, синтезируется метанол, производится приготовление шихты, восстановление и выплавка, при этом ввод исходного вещества внутрь контура, производится при температуре окружающей среды, при этом в контур не заходят водные потоки, линии сторонних электропередач и воздух, так как для выработки воды, энергии и воздуха, все компоненты содержатся в исходном веществе, что позволяет системе работать под водой или в космическом пространстве, откуда выход вещества производится при температуре окружающей среды в виде готовой продукции для Рынка, а именно металлов, неметаллов, включая энергоносители и воду, при этом передача энергоносителя обеспечивается по трубопроводу, а возврат хладагента осуществляется по другому трубопроводу при температуре окружающей среды, где все процессы, производимые в пределах границ контура, не несут тепловых потерь за счет передачи энергии в окружающую среду, кроме тепловых потерь, теряемых через границу контура, а при поддержании температуры, внутри контура, равной температуре окружающей среды эти потери устраняются, дополнительно для устранения потерь тепла используются тепловые насосы и тепловые трубки, собирающие энергию с внешней поверхности контуров и направляя полученное тепло для нагрева реагентов или на двигатель Стирлинга, что позволяет дополнительно вырабатывать механическую энергию, которая будет задействована для перемещения вещества внутри контуров, выработки электроэнергии или повышения-понижения температуры в заданной точке пространства внутри системы, позволяя дополнительно снижать энергопотери и производить продукцию с энергопотреблением, близким к теоретическому потреблению энергии. Вокруг или внутри производственного контура и контура потребления, возможно, размещать участки различного производства, включая машиностроение, металлургию, химию и т. п. производство, где необходимая энергия в виде тепла или электричества, а также вода и углекислый газ вырабатываются в контурах и могут быть использованы для нужд этого производства, например, углекислый газ, может в определённом объёме, потребляться пищевой промышленностью, а использование контура потребления, возможно, по аналогии с классической ТЭЦ, где во вне через клеммы подаётся вырабатываемая электроэнергия, а по тепловому трубопроводу за пределы контура передается тепло для обогрева помещений, где производственный контур, возможно, использовать для этих целей, при этом выходы контактов и тепловые трубопроводы размещаются в пределах определенного радиуса на которое, возможно, передавать электроэнергию и тепло без особых потерь. Устройство используется вблизи городов в качестве ТЭЦ, электростанций и мусороперарабатывающих заводов, которые не производят выбросов, следовательно, их размещение может быть в центре, вокруг которого может строиться город или промышленная зона, которая по окружности будет размещать металлургические, химические и машиностроительные заводы, использующие вещество и энергию производимую внутрь производственного контура, что решает задачу снижения энергозатрат при производстве металлов, неметаллов и энергоносителей, за счет размещения энергоустановок вырабатывающих электроэнергию внутри производственного контура, совместно с металлургическими, химическими и другими установками, в связи с тем, что энергоустановки всю вырабатываемую электроэнергию и тепло, расходуют на производство продукта, позволяя его вырабатывать на порядок больше, чем по классической схеме производства, это позволяет, примерно, в десять раз больше перерабатывать сырья, чем обычные электростанции, находящиеся на значительном расстоянии от того или иного производства, а также позволяет снижать энергозатраты при разделении межатомных и межмолекулярных связей, за счёт облучения вещества потоком элементарных частиц плазмы, с одновременным воздействием на разделяемое вещество гравитационным полем высокого тяготения, позволяя дополнительно снижать энергозатраты при облучении вещества, которые также могут снижаться на порядок, позволяя при той же мощности энергоустановки, перерабатывать в десять раз больше вещества, при этом в десять раз затрачивая меньше энергии на деление межмолекулярных связей, следовательно, общие энергозатраты, в пересчете на единицу продукции, могут быть снижены в сто раз. КРАТКОЕ ОПИСАНИЕ ЧЕРТЕЖЕЙ Фиг.1. Устройство плазменно-дугового электролитического центробежного конвертирования (ПДЭЦК). Фиг.2а, 2б, 2в, 2г. Этапы плавления шихты и восстановления меди из руды. Фиг. 3. Модификация установки ПДЭЦК для производства магния. Фиг. 4. Схема установки ПДЭЦК для производства алюминия. Фиг.5. Схема способа ПДЭЦК. Фиг. 6. Принципиальная схема работы мусороперерабатывающего завода с использованием новой технологии ПДЭЦК. Фиг. 7. Блок-схема работы устройства ПДЭЦК, включающая промышленный контур в единую систему с контуром потребления. Фиг. 8. Таблица затрат энергии теоретические и практические. Предложенный способ плазменно-дугового электролитического центробежного конвертирования (ПДЭЦК) реализует устройство плазменно-дугового электролитического центробежного конвертирования (ПДЭЦК), представленное на фиг.1. Устройство включает плазмотрон, состоящий из двух электродов, графитового трубчатого анода 1, внутри которого находятся графитовый стержень катод 2, внутри электродов горит электродуга 3, выдуваемая плазмообразующим газом, подаваемым из баллона 4 через редуктор 5 и трубопровод 6. Плазмотрон установлен в камеру плавления 7, в которую по плоскости установлены горизонтальные шахты 8, по которым подается шихта 9 путём обратно поступательного перемещения поршня 10. В шахту 8 шихта подается по вертикальной шахте 11, которая двигается под действием сил тяжести или под действием механизмов типа шнека. Шихта под действием нагрева в камере плавления образует ванну расплава 12, вокруг которой размещена зона нагрева 13 шихты поступающей из горизонтальных шахт. Над зеркалом ванны расплава испаряются летучие примеси, которые удаляются через патрубок 14 и трубопровод 15, где установлен основной фильтр 16, улавливающий основную массу летучих примесей. Откачка летучих примесей производится вакуумным насосом 17, на выходе которого стоит чистовой фильтр 18, улавливающий оставшиеся примеси. Камера плавления размещена на опорной плите 19, где в нижней части установлено опорное кольцо 20, внутри которого установлен медный охлаждаемый поддон 21 с центральным отверстием 22 перекрываемым медной охлаждаемой задвижкой 23, при открытии которой расплав 12 сливается в турбину 24, вращающуюся на оси 25, установленную на поворотном диске 26 вокруг оси 27. Турбина и механизмы перемещения защищены от атмосферы нижней камерой 28. Для управления электродугой 3 и для перемешивания расплава применяется электромагнитное поле, создаваемое нижним соленоидом 29, установленным в опорном кольце и верхнем соленоидом 30, установленным вокруг камеры плавления. Источник питания плазмотрона 31 подключен к аноду и катоду плазмотрона. Источник питания 32 основной дуги подключён отрицательной клеммой к поддону через опорную плиту, а положительная клемма во время подогрева и плавления шихты в определенное время подключается к аноду 1 плазмотрона за счет переключателя 33. Под действием горения дуги и газа образуется факел плазмы между торцом плазмотрона и поверхностью шихты, которая превращается в расплав. Расплав достигает днища поддона выполненного с углублением в виде конуса, что позволяет обеспечить электропроводимость и включить источник питания 32 за счет переключателя 33, установив горение основной электродуги 3. На фиг. 1 показано, как при достижении расплавом днища поддона включается основная дуга, проходящая через пространство шихты по вертикальной оси, обеспечивать протекание электролиза, который позволяет более интенсивно восстанавливать металлы из руды. Когда расплав достигает задвижки 23, сразу после этого, без выключения дуги, расплав сливается в турбину, где производится под действием центробежных сил, его разделение по плотностям. На фиг. 1, показано, что для изменения температурного градиента внутри шихты используется магнитное поле соленоидов. Верхний соленоид 30 и нижний соленоид 29, охватывающие электромагнитным полем внутреннее пространство расплава, увеличивая напряженность в одном направлении, сжимают дугу по вертикальной оси, тем самым повышают температуру её горения. Дуга, сжимаясь до большой плотности по ее центру, может достигать 50000 K. [28] При включении соленоидов в противоход тока в катушках, то есть в противоположном направлении, дуга будет расширяться, снижая температуру. Момент достижения расплавом заданной температуры фиксируется датчиками, расположенными на поверхности поддона и задвижки. Вращение турбины обеспечивается за счет струи газа, которая поступает из газового сопла. Турбина снаружи снабжается турбинными лопатками 34, на которые подаётся струя газа. В качестве среды создающей вращение и охлаждение, возможно использовать сжатый газ (воздух, пар, азот, водород, метан, аргон, гелий, угарный и углекислый газ и т.п.). Данная конструкция позволяет без лишних механизмов за счет потока газа, создавать одновременно вращение и охлаждение турбины, а так же определенную среду (восстановительную, окислительную или нейтральную) влияющую на процесс восстановления, рафинирования и синтеза веществ. Предлагаемая конструкция совмещает несколько функций, то есть усиливает деление вещества, охлаждение вещества, повышает надёжность конструкции и создает заданную среду. Газ выполняет одновременно функции энергоносителя, среды и хладагента. Снижение массы конструкции турбины приводит к меньшим энергозатратам и позволяет достигать очень больших скоростей вращения. Для снижения трения на оси 25 применяется аэродинамический подшипник за счет подачи по трубопроводу 35 газа, который проходит через полость оси 36, обеспечивая снижение трения между поверхностью оси и посадочным местом турбины 37. Данная конструкция позволяет быстро менять турбины на новые, снимая одну турбину с оси и устанавливая новую не заполненную расплавом. На поворотном диске 26 размещается одновременно две или более турбины, которые меняют своё расположение под задвижкой за счет поворотной оси 27. После слива расплава в турбину и закрытия задвижки идет поворот диска, что позволяет по оси установить новую турбину. Для проведения процесса плавления в долгосрочном режиме, по схеме непрерывной разливки стали или схеме работы домны, предусмотрено устройство смены плазматрона, а именно его электродов на новые, которое не изображено на фиг. 1. Замена электродов плазматрона позволяет их менять во время плавления, в момент слива расплава в турбину, например, путем поворота плазматрона и смене его на дублирующий. Путем поворота на схеме непрерывной разливки стали меняются разливочные ковши. Вещество электродов плазматрона, состоящее из графита, принимает участие в процессе плавления и восстановления металла. На фиг. 1 изображена схема установки с вакуумной камерой плавления, которая откачивается через патрубок 14 вакуумным насосом 17. Вакуум позволяет ускорить процесс восстановления металла. Твердые летучие примеси, частицы металла и соединения при выходе из патрубка 14 улавливаются фильтром 16, который может выполнять роль ловушки-холодильника для конденсации и кристаллизации паров металла и неметалла. Для раскрытия технологических возможностей способа приведём пример восстановления меди из сульфидной руды. Наибольшего эффекта применения данного способа можно достичь при переработке медной руды с одновременной плавкой на штейн и получением анодного слитка. На современном этапе руда до слитка перерабатывается по многопереходной схеме. На фиг. 2 показаны этапы плавления шихты и восстановления меди из руды. По новой схеме получение расплава будет осуществляться в нейтральной среде без окисления серы, которая испаряясь, будет улавливаться фильтрами. На первом этапе, в продуваемом расплаве природным газом (метаном), под действием температуры диссоциирует сернистая медь, а затем сернистое железо. Отделение серы от меди и железа усиливается электролизом. Медь собирается внизу ванны, железо образует ванну выше меди, а оставшийся шлак собирается над железом в верхней части ванны. Далее, расплав будет слит в турбину, где можно будет получить кольцевой слиток меди и железа. [29] Сульфидные руды, такие как халькопирит CuFeS2, в мировой добыче меди занимают около 80 %, а остальные руды содержат оксиды Cu2O. Современная схема производства меди включает операции нагрева шихты, восстановления оксидов железа и меди, окисление серы и шлакообразование. FeS + 3Fe3O4 + 5SiO2 = 5 (2FeO⋅SiO2) + SO2; 2Cu2S + 3O2 = 2Cu2O + 2SO2. В процессе плавления сульфиды меди и железа, сплавляясь, образуют штейн, который обогащается медью: Штейн, где плотность ~5 г/см3, собирается на дне печи, а шлак плотностью ~3,5 г/см3 образует верхний слой. На сегодня, как правило, плавка медных концентратов производится в отражательных печах. Электропечи, пока не нашли широкого применения, а для плавки кусковой медной руды применяют шахтные ватержакетные печи. При герметизации шахтной печи и создании восстановительной атмосферы образуются пары серы, конденсирующиеся внутри фильтров. Предложенный способ ПДЭЦК целесообразно применить для производства анодной меди напрямую из руды. На фиг. 2а показан момент плавления халькопирита в нейтральной среде, где в качестве плазмообразующего газа используется метан. После заполнения шихтой 9 камеры плавления 7, поступающей через шахты под действием поршней, зажигается факел плазмы 38, который сверху расплавляет шихту. В результате нагрева образуется ванна расплава 12, зона нагрева 13 и выделяется газообразная сера, удаляемая вакуумным насосом и улавливаемая фильтром. В плазменной среде образуется сероводород, который при дальнейшем нагреве распадается на водород и серу. [30] Нитрид серы N4S4 получают взаимодействием серы с жидким аммиаком, температура его разложения составляет 300 °C. [31] Сульфид меди при атмосферном давлении распадается при температуре 1065 °C: Cu2S → Cu2-xS + xCu. В вакууме распад молекулы происходит при температуре 700 °C: Cu2S → 2Cu + S. [32] Температура начала диссоциации пирита равна 500 °C, на основании которой разложение халькопирита можно принять в пределах 1000 °C. На фиг. 2б изображен момент образования ванны расплава, куда погружен плазмотрон, от анода которого горит основная дуга, замкнутая на расплав и поддон, выполняющий роль катода и выполняет операцию проведения электролиза. При испарении из расплава серы восстановленная медь 39 скапливается на дне ванны, выше скапливается железо 40, которое практически не сплавляется с медью, а зеркало ванны расплава покрывает шлак 41. [33] Сплав железа и меди не существует по причине разных температур плавления и свойств растворимости. При плавлении меди и железа получается две ванны расплава, одна над другой. Температурную диссоциацию меди и железа от серы усиливает электролиз. [24] Обычно электролиз меди проводят в ваннах, наполненных раствором сернокислой меди, подкисленным серной кислотой по реакции Cu → Cu2+ - 2 При осуществлении способа ПДЭЦК в качестве электролита выступает расплав сульфидов металлов (штейн). Новый способ можно считать высокотемпературным электролизом, а устройство ПДЭЦР высокотемпературным электролизёром. На фиг. 2б показан момент выпуска струи расплава 42 за счет открытия задвижки 23 во вращающуюся турбину 24, куда сначала сливается расплав меди 39, а затем железа 40 и соединений металлов в виде шлака 41. Сливаемый расплав постоянно облучается элементарными частицами плазмы, позволяя с наименьшими энергозатратами разрушать межатомномолекулярные связи вещества, разрыв которых усиливается за счет вращения и воздействия вещества поля высокого тяготения. Эффект разрыва межатомномолекулярных связей усиливается за счёт сжатия струи расплава потоком сжатой плазмы 43, магнитным полем 44, созданным соленоидами. Повышение напряжённости магнитного поля, приводит к сжатию потока сжатой плазмы и повышению температуры, что увеличивает скорость перемещения атомов и молекул внутри расплава, и способствует более интенсивному разрыву связей. Температура в расплаве за счёт обжатия потока плазмы, может повышаться до 10000 K и более, что переводит вещество в сверхкритическое высокотемпературное состояние. При воздействии столь высоких температур любое вещество начинает интенсивно испаряться, но за счёт малого времени воздействия температуры на вещество, сохраняется ближний порядок между атомами и молекулами, не позволяя им уходить в газовую фазу и испаряться. Вещество в сверхкритическом высокотемпературном состоянии, под действием вращения, начинает расширяться и быстро терять за счёт расширения полученную температуру. Одновременно химические элементы и более прочные механические соединения, под действием кинетической энергии вращения, за счёт различной плотности, начинают отделяться друг от друга, что создаёт эффект высокоскоростной сепарации. На данном этапе технология включает период перевода вещества в сверхкритическое высокотемпературное состояние, в котором расплав попадает в высокое поле тяготения за счёт вращения турбины, и теряя полученную температуру нагрева, интенсивно начинает делиться по плотности. Присутствие данного момента в технологической цепочке ПДЭЦК, где расплав во время движения приобретает вращение и интенсивно облучается потоком плазмы, сжимаемой электромагнитным полем соленоида, принципиально отличает предлагаемый способ от существующих способов восстановления металлов и способов их сепарации. Переводя расплав в сверхкритическое высокотемпературное состояние на короткий промежуток времени, в пределах 0,1 ÷ 0,001 сек, возможно, с наименьшими энергозатратами производить деление этих связей. При этом регулируя температурный диапазон внутри вещества, возможно, производить разрушение связи отдельных тех или иных веществ, производя заданную сепарацию вещества с выходом необходимых химических элементов и их соединений. Перевод вещества в высокотемпературное состояние на наибольший период времени с разрывом связей в поле высокого тяготения аналогична эффекту Ранка, который позволяет из сложных веществ получать более простые по составу вещества, со значительно меньшими энергозатратами. Необходимо отметить, что сжатие плазмы вокруг расплава, которая так же сжимается под действием электромагнитного поля соленоида, позволяет на некотором отделении от графитового анода 1 и катода 2 плазмотрона, воздействовать на вещество расплава, подвергая его высокотемпературному нагреву, при этом не разрушая материал анода и катода под действием сверхвысоких температур. Для получения сверхвысоких температур, вокруг падающей струи расплава 42, возможно, разместить отдельный соленоид, создающий более мощное электромагнитное поле воздействия на плазму и вещество, а также возможно разместить лазеры, электронно-лучевые пушки или магнетроны, дополнительно облучающие вещество струи расплава. На фиг. 2в показан момент, когда после слива ванны расплава, задвижка возвращается назад, перекрывая поддон 21, плазмотрон отводится вверх в исходное положение. Внутренний объем полости турбины превышает объем сливаемого расплава, который под действием центробежных сил вращения разделяется по плотностям, застывая в виде кольцевого слитка (диска). На внешнем диаметре диска скапливается анодная медь 39, за ним железо 40, а далее ближе к центру соединения металлов с серой, кислородом и азотом, то есть шлак 41. Сразу после слива и закрытия задвижки внутрь камеры плавления поступает шихта, включая подогретую шихту 45, которая движется в центр под действием поршней и холодной шихты 9, до заполнения внутреннего пространства камеры плавления. На фиг. 2г показан момент, где сразу после этого факел плазмы 38, который не выключался, начинает плавить подогретую шихту 45 смешанную с холодной шихтой 9, образуя ванну 12 и зону нагрева 13. Плазмотрон постепенно погружается в расплав и после достижения определенной электропроводности расплава, включается основная дуга, обеспечивая дополнительный нагрев ванны расплава, до поддона и задвижки. Во время включения основной дуги обеспечивается протекание электролиза во всём объёме ванны расплава ускоряющего восстановление и разделение молекулы халькопирита на металлы и серу. После разделения химических элементов электролизом, производится слив расплава во вращающуюся турбину при одновременном облучении потока расплава частицами плазмы, то есть фотонами, ионами, протонами, электронами и т.п. частицами. Процесс облучения расплава в гравитационном поле высокого тяготения, как изложено ранее, ускоряет процесс деления меж атомных и межмолекулярных связей при более низких затратах энергии. Деление вещества на составляющие химические соединения, усиливается за счет его вращения в турбине с формированием нового слитка и далее процесс повторяется. На сегодня для снижения энергозатрат при переработке углеводородов используют радиоактивные и радиационные излучения, где ионизация вещества приводит к изменению его структуры и свойств. Например, к такому методу относится Апгрейдинг, где используют поток электронов мощностью до 800 кВт, 5 МэВ, с низкой металлоёмкостью и без использования дорогих катализаторов. Другой способ под названием “Радиационно-волновой крекинг” (РВК) использует эффект Ранка облучая (СВЧ) сверхвысокочастотными волнами и ионами углеводороды, где энергозатраты могут снижаться в 10 раз по сравнению с обычными технологиями. Слиток далее поступает на электролиз в качестве анодной меди или на плавление для выплавки анодов из меди под стандартный электролиз. Произведенные слитки после электролиза от шлака очищаются механической резкой, дроблением или электрогидроимпульсным дроблением. Шлак с более стойкими оксидами направляются на повторную переработку методом ПДЭЦК. [34] Для сравнения с аналогами нового способа ПДЭЦК, необходимо учесть, что процесс восстановления руды протекает в расплаве при высоком нагреве с протеканием электролиза. Далее разделение расплава на химические элементы, имеющие различную плотность, производится в поле высокого тяготения. Процесс разделения объединён с процессом направленной кристаллизации слитка. Восстановление и разделение металла в электродуговом центробежном реакторе будет отличаться от обычных металлургических процессов, следующим: 1. На границе двух сред (жидкий металл - растущий кристалл), где межфазная энергия значительно меньше межфазной энергии на границе двух сред (газ - жидкий металл) в поверхностном слое твёрдого тела значительно меньше свободных связей, чем на границе с газовой фазой. В связи с этим, все примеси при кристаллизации металла в слиток переходят в жидкую фазу. При этом складываются благоприятные условия для формирования чистых металлов в твёрдой фазе; 2. Усилить эффект и скорость рафинирования металла может повышение оборотов вращения. Существование газового пузырька в расплаве металла определяется давлением в нём: где [34] С технической стороны значение этой формулы можно разделить на три части: 1. При изменении 2. Металлостатическое давление 3. Капиллярное давление Дополнительно необходимо учесть, что при осуществлении способа ПДЭЦК одновременно с протеканием химических реакций идёт процесс электролиза, т.е. времени на проведение реакций требуется меньше, а на завершающей стадии перед формированием слитка, идет процесс разделения продуктов реакции за счет облучения и вращения в поле высокого тяготения. Процесс устроен таким образом, что из расплава в одну сторону идёт кристаллизация чистого металла, а в другую сторону идёт вытеснение примесей, включая газовые, тем самым предотвращая обратную реакцию их взаимодействия. [34] Для восстановления и разделения металлов по плотностям повышенная гравитация будет играть положительную роль, ускоряя процесс отделения чистого металла от примесей. Центробежная сила, действующая на частицу металла, при частоте n вращения турбины, равна: где При расчёте скорости вращения турбины по коэффициенту гравитации учитывают, что на частицы расплава действует центробежная сила: где Если центробежная сила больше силы тяжести Коэффициент гравитации k рассчитывается, исходя из формулы: Например, если внутренний диаметр турбины при частоте вращения n = 240 об/мин равен 2 м, радиус вращения составит R = 1 м, окружная скорость V = 6,28 м/сек, следовательно, коэффициент гравитации составит k ≈ 64. Это значительный коэффициент гравитации, обеспечивающий быстрое разделение конечных продуктов восстановления, где на выходе производиться кольцевой слиток металла без примесей. По представленной схеме, возможно, производство никеля, кобальта, железа и других металлов из сернистых и оксидных рудных соединений. Для промышленности предлагаемый способ может представлять особый интерес для переработки пирита и арсенопирита, содержащих драгметаллы. В результате производства, драгметаллы попадают во внешнюю часть дискового слитка, так как имеют наиболее высокую плотность. Драгметаллы не сплавляются с железом, и для их извлечения из внешней поверхности слитка используется электролиз. В результате плавления пирита и арсенопирита в нейтральной среде вредные примеси в виде серы и мышьяка, испаряясь, улавливаются фильтром, не образуя токсичных летучих соединений. Предлагаемый способ ПДЭЦК может получить дальнейшее распространение для производства магния. [35] В промышленности наиболее известен способ Pidgeon, который из доломита за счет ферросилиция восстанавливает магний под вакуумом: 2MgO(т) + 2СаО(т) + (Si-Fe)(т) = 2Mgг + 2CaO·SiO2(т) + Fe. Оксид магния восстанавливается до газообразного магния, а оксид кальция связывает образующийся кремнезем в тугоплавкий двухкальциевый силикат. Железо участия в процессе восстановления не принимает. При рабочей температуре процесса 1150 °C возможно взаимодействие СаО и Si с появлением жидких сплавов Са - Si и двукальциевого силиката: 2CaO⋅SiO2: 4CaO(т)+ 2Si(т)= Ca2Si(ж) + 2CaO⋅SiO2(т), 4CaO(т) + 3Si(т) = 2CaSi(ж) + 2CaO·SiO2(т) Дальнейшее взаимодействие расплава Ca2Si с оксидом магния приводит к образованию газообразного магния: 4MgO(т) + Ca2Si(ж) = 4Mg(г)+ 2CaO⋅SiO2(т) Тепловая энергия, выделяющаяся при образовании двукальциевого силиката, облегчает восстановление оксида магния за счет снижения температуры начала реакции. В реторте размещается кальцинированный доломит и ферросилиций. Цикл восстановления составляет примерно 13 часов, остаточное давление 10 кПа, при температуре процесса 1150 °C. Развитие способа Pidgeon произведено в Китае, где был внедрен ряд усовершенствований. Это замена генераторного газа на угольный порошок, установка вакуумных насосов, оснащенных паровым эжектором, взамен механических, где пар, подаваемый в насосы, вырабатывается за счет теплоты отходящих газов ретортной печи. В первых установках использовали горизонтальные реторты, в КНР применили вертикальные реторты большого диаметра. Данные мероприятия снизили энергопотребление, увеличили производительность, улучшили процесс восстановления магния, что позволило КНР занять в мире первое место по производству магния. Технология Magnetherm улучшила силикотермическое восстановление магния за счет восстановления оксида магния в шлаковом расплаве, где для плавления шихты используется электрическая печь сопротивления. Шлак из печи удаляется без нарушения вакуума на уровне 35 кПа, при температуре 1600 °C. При мощности 4,4 МВт ежесуточно производиться 7,5 т магния. Шихта загружается из герметичных бункеров в течение 8,5 ч, а пары магния в конденсатор поступают при 650 °C, стекая в водоохлаждаемый стальной тигель, который после наполнения расплавленным магнием отделяют от конденсатора и транспортируют на разливку слитков. Расход электроэнергии на плавку в печи составляет 11 МВт-ч/т при извлечении магния на 85%. На фиг. 3 показана модификация установки ПДЭЦК для производства магния. Установка снабжена герметичными бункерами 44 для загрузки шихты, которая поступает через герметизирующую задвижку 45. Выход шихты с заданной скоростью и объемом производится через регулировочный клапан 46, в вертикальную шахту 47. Шихта 48 падает в виде капель дождя через перегородку верхнюю 49 и перегородку нижнюю 50, создавая песчаный фильтр для паров магния 51, вместе с которыми испаряются другие химические вещества, оседающие на падающей шихте 48. Благодаря этой операции шихта подогревается и захватывает частицы сажистого углерода, испаряющегося с парами магния, что позволяет сокращать расход восстановителя металлов при плавке. Очищенные пары магния 52 конденсируются на трубах 53, через которые откачивается вакуум, которых две или более, служащих для поочерёдного нагрева и слива магния с их поверхности. Трубы закреплены на фланце 54, закрытого камерой 55, из которой так же откачивается вакуум через трубопровод 56, проходящий через основной фильтр 57, где улавливаются летучие примеси. Откачка вакуума производится вакуумным насосом 58, снабженным паровым эжектором, где на выходе установлен чистовой фильтр 59, захватывающий оставшиеся примеси из откачиваемого потока веществ. Вакуумный насос 58, через трубопровод 60 запитан на подачу пара, который образуется при охлаждении камеры плавления, поддона, задвижки и других узлов установки. Через трубопровод 61 конденсат идет в обратную сторону для охлаждения узлов установки ПДЭЦР. В качестве шихты 62, куда попадает углерод для производства магния целесообразно использовать минерал оливин, который содержит MgO - 48%; SiO2 - 40%; Fe2O3 - 8%; CaO - 0,5%. В качестве восстановителя шихты используется метан, который подается из баллона 63 по трубопроводу 64 внутрь плазмотрона 65. В зоне горения основной дуги 66 идет разделение метана на водород и углерод. При температуре дуги выше 2000 °C, водород не участвует в реакции восстановления и работает, как защитная среда. Углерод в первую очередь восстанавливает железо и далее кремний, создавая ферросилиций в ванне расплава 67, который начинает восстанавливать магний 51, испаряющийся над ванной. Реакцию восстановления магния ускоряет свободный углерод, образуя угарный газ за счет захвата кислорода из окислов металлов. В результате плавления на выходе из вакуумного насоса и фильтра по трубопроводу 68 в накопитель 69 поступает синтез газ, состоящий из водорода и CO, который далее может быть использован для синтеза химических углеводородов или для сжигания на тепловых электростанциях для выработки электроэнергии, которую может использовать плазмотрон установки ПДЭЦР. В ванне расплава 67 восстановление магния ускоряется за счет электролиза протекающего под действием основной дуги 66, так как расплав является катодом, где протекают реакции восстановления. Как известно, ферросилиций это материал с низкой теплопроводностью, которая препятствует восстановлению магния. Для исключения этого недостатка ванна расплава приводится в движение, перемешивая вещество под действием электромагнитных полей основной дуги, за счет верхнего 70 и нижнего 71 соленоидов. После того, как из шихты испарился магний, производится слив расплава во вращающуюся турбину 72, где под действием облучения плазмой и центробежных сил формируется кольцевой слиток. Слиток на внешнем диаметре образуется кольцо 73 из железа, далее кольцо 74 из оксида кальция плотностью 3,3 г/см3, а внутри кольцо 75 из оксида кремния плотностью 2,3 г/см3. Для выгрузки жидкого магния 76 из тигля 77, без остановки процесса, устанавливается вакуумная камера 78, в которой идет замена одного тигля на другой. В результате работы установки ПДЭЦР производство значительно снижает время, затраты и энергозатраты, получая на выходе сразу несколько продуктов имеющих высокую рыночную стоимость - это магний, железо, синтез-газ, окись кальция и кремния. С целью снижения энергозатрат и увеличения скорости производства предлагаемое изобретение, возможно, использовать для восстановления алюминия. Используя предлагаемый способ ПДЭЦК, возможно, производить алюминий из бокситов при восстановлении его углеродом в присутствии водорода. Для этого, через плазмотрон в зону горения дуги подается природный газ или метан, который при разложении в зоне горения дуги на C и H2, будет восстанавливать углеродом алюминий. В результате полученный синтез газ, далее направляется на производство химических продуктов или сжигание для производства тепла и электроэнергии. На фиг. 4 показана схема установки ПДЭЦК для производства алюминия. В качестве восстановителя алюминия используется природный газ (метан), который поступает по трубопроводу 79, через редуктор 80 на сопло 81, из которого вырывается газовая струя 82, раскручивая и охлаждая турбину 83, куда сливается восстановленный алюминий, оставшийся оксид алюминия и углерод. При формировании кольцевого слитка на внешней части образуется кольцо 84 из оксида алюминия плотностью 3,9 г/см3, далее кольцо алюминия 85 плотностью 2,7 г/см3 и в центре кольцо 86 из углерода плотностью 1,8 г/см3. Подогретый газ, полученный после вращения и охлаждения турбины, из герметичной камеры 87 выкачивается за счет компрессора 88 и накапливается в ресивере 89. Далее при открытии клапана 90 проходит по трубопроводу 91 через корпус установки, дополнительно нагреваясь до определенной температуры, поступая через редуктор 92 во внутреннюю полость плазмотрона. Предварительный нагрев метана позволяет снизить энергозатраты при его диссоциации в плазме. За счет горения плазмы и основной дуги 93, образуется ванна расплава 94 из оксида алюминия, который плавиться при температуре около 2050°С. За счет восстановления алюминия углеродом в атмосфере водорода над ванной расплава испаряется синтез газ и сажистый углерод, которые по трубопроводу 96 проходят через песочный фильтр 97, созданный частицами падающего порошка из оксида алюминия. Синтез-газ освобождается от частиц сажистого углерода за счет их осаждения на частицах оксида алюминия. Поэтому углерод снова возвращается вместе с подогретой шихтой 98 в процесс плавления, снижая затраты на расход углерода из метана и общий нагрев. Очищенный синтез-газ содержит часть недиссоциированного в плазме метана, который поступает в газовый сепаратор 99, где отделяется от синтез-газа. Метан, захваченный в сепараторе, направляется по трубопроводу 100 на продолжение процесса в плазматрон. По трубопроводу 101 синтез-газ поступает на основной фильтр 102, проходит через вакуумный насос 103 с паровым эжектором, проходит чистовой фильтр 104 и поступает в накопитель 105. Используя предлагаемое изобретение для производства алюминия, возможно, не только снизить энергозатраты в два с половиной раза, но и произвести синтез-газ для использования в химическом производстве. [5] Перспективно использование нового изобретения по аналогичной схеме для производства титана. Восстановленный титан за счет углерода, как и алюминий, будет образовывать ванну расплава, в которой содержатся шлаки, состоящие из карбидов и оксидов. В расплаве плотность титана 4,1 г/см3, что меньше, чем у оксидов и карбида титана TiO2 - 4,23 г/см3, Ti2O3 - 4,49 г/см3, TiO - 4,95 г/см3, TiC - 4,93 г/см3, но больше, чем плотность углерода - 2,26 г/см3. При сливе ванны расплава во вращающуюся турбину все соединения титана, как более тяжелые будут вытеснены на внешний контур слитка, а углерод будет вытеснен из расплава титана к центру вращения. В дальнейшем после извлечения слитка, чистый титан за счет механического дробления будет отделен от керамических примесей. [36] Как известно, оксид титана и углерод под действием нагрева вступают в химическую реакцию по схеме: Термодинамические расчеты показывают, что прежде всего будут происходить реакции карбидообразования. Процесс карбидообразования по суммарной реакции а также связанной с ней реакции Металлический титан может быть получен восстановлением его диоксида углеродом при температуре около 3000 °С в вакууме по суммарной реакции: Ранее в лабораторных условиях восстановление титана производилось в ретортах, где после извлечения металл всегда был загрязнен углеродом, кислородом, а также азотом. На сегодня, при использовании установки ПДЭЦК возможно восстановить титан, который в жидком виде под действием центробежных сил будет кристаллизоваться в гарнисаж, образуя кольцевой слиток, при этом вытесняя к центру вращения легкие примеси кислорода, углерода и водорода, а на периферию тяжелые соединения титана. На аноде, которым является плазмотрон, будут окисляться анионы кислорода с выделением CO. В известном “кембриджском” процессе на аноде выделяется только CO2, так как температура реакции очень низкая и поверхностный слой анода насыщен анионами, которые бомбардируется потоком электронов. В предлагаемом способе ПДЭЦК восстановление титана будет ускоренно за счет повышенной температуры ванны расплава (более 2000°С), при которой углерод становиться наиболее активным восстановителем, по сравнению с любыми другими восстановителями, что смещает химическую реакцию в сторону восстановления металла, одновременно с химическим процессом протекает процесс электролиза. При восстановлении титана в ванне расплава, которая является катодом, восстановление металла усиливается за счет “горячего” электролиза. Произведенный титан химического и электролитического восстановления при попадании во вращающуюся турбину, выводится из обратной реакции взаимодействия с углеродом и кислородом, за счет облучения плазмой и центробежных сил вращения в присутствии водорода, который предотвращает взаимодействие титана с углеродом и кислородом. Титан, в расплаве имея наибольшую плотность, по сравнению с водородом, кислородом и углеродом будет смещаться к периферии слитка, где будет намораживаться в кольцевой слиток, без присутствия этих химических элементов. Дополнительная очистка от примесей производиться за счет зонной очистки, при кристаллизации титана послойно в слиток. Титан затвердевая, повышает свою плотность, что усиливает вытеснение в расплав меньших по плотности примесей водорода, углерода и кислорода. По мере снижения температуры, водород будет вступать в реакцию с кислородом, образуя воду, которая в виде паров будет удаляться через вакуумную систему. С углеродом водород так же вступает в реакцию, образуя углеводороды, которые откачиваются вакуумным насосом. Водород, который наиболее активно попадает в расплав титана, предотвращает попадание в расплав кислорода и углерода и позднее удаляется из титана путем вакуумного отжига. Способ ПДЭЦК, схема которого изображена на фиг. 5, наиболее эффективно может использоваться для производства энергии совместно с производством металлов и неметаллов, выработки энергоносителей в виде метанола, его хранения и транспортировки до потребителя энергии, с обратным возвратом углекислого газа, используемого на первом этапе в качестве хладагента, а на втором этапе в качестве сырья для производства энергоносителя. В этой схеме на установке ПДЭЦК производство металлов и неметаллов объединено с процессом производства энергии и энергоносителя, замкнутого на потребителя энергии. Для производства энергоносителя, которым служит метанол, необходимо соблюдать определенное соотношение количества реагентов для его эффективного синтеза. Поэтому процесс синтеза метанола производится за счет накопления реагентов и сжигания их части при производстве электроэнергии, которая расходуется на горение плазмы. Две и более электростанции обеспечивают поддержание заданного соотношения количества вырабатываемой электроэнергии по отношению к тепловой энергии, так как выработка производится с электростанциями, имеющими различные КПД. Электростанции, которые связаны в единую систему, позволяют стабильно поддерживать заданное соотношение, вне зависимости от изменения соотношения количество вырабатываемого водорода и кислорода в процессе деления вещества. Поэтому на участке выработки энергии автоматически регулируется соотношение доли вырабатываемой электроэнергии по отношению к доле тепловой энергии. Увеличение доли выработки электроэнергии по отношению к выработке тепловой энергии приводит к увеличению мощности плазмотрона и соответственно к увеличению объёмов переработки шихты, синтеза метанола и количества объёмов хладагента, охлаждающего оборудование металлургического и химического участка, при этом расход хладагента на охлаждение конденсатора турбины снижается, что приводит к повышению КПД процесса производства энергоносителя, металлов и неметаллов. Увеличение доли выработки тепловой энергии по отношению к выработке электроэнергии приводит к уменьшению мощности плазмотрона, снижению объёмов переработки шихты, синтеза метанола и количества объёмов хладагента, при этом снижается объём хладагента на охлаждение металлургического и химического участка и одновременно увеличивается объём хладагента на охлаждение конденсатора турбины, что приводит к снижению КПД процесса производства энергоносителя, металлов и неметаллов. В связи с вышеизложенным на участке производства электроэнергии выстраивается схема, которая включает электростанцию конденсаторного типа, вырабатывающую заданную мощность, но которая не работает за счёт сжигания многокомпонентного органического топлива, к которому относится углеводородное ископаемое топливо. Для этого наиболее подходит атомная электростанция, работающая при постоянной мощности. АЭС наиболее эффективно использовать совместно с электростанциями на возобновляемых источниках энергии, что позволяет вырабатываемую энергию переводить в металлы, неметаллы и энергоноситель. При работе тепловых электростанций на органическом топливе, таком как метан, нефть, мазут, уголь, торф или сланец, требуется отдельная топка для сжигания, в которой идут неизбежные потери энергии и вещества, но основные потери идут в результате неэффективного сжигания горючих химических элементов, таких как углерод и водород, находящихся в соединениях. Органическое топливо в результате сжигания не выделяет максимально возможного количества теплоты, которое выделяется при сжигании по отдельности водорода и углерода, входящих в состав различного топлива. Поэтому в систему из нескольких типов электростанций будут входить АЭС и электростанции, работающие на сжигании водорода, который не относится к органическому топливу. Для запуска процесса и наработки необходимого объема водородного топлива, а так же для стабильной работы всей схемы, из имеющихся на сегодня различных типов электростанций, наиболее пригодна АЭС. Выработка электроэнергии на АЭС соотносится к тепловой энергии как 30-70%. Данное соотношение по доле объёма электроэнергии не слишком эффективно, при этом АЭС не требует сжигания органического топлива и не производит вредных выбросов. [14] Для повышения КПД по выработке электроэнергии турбины АЭС совмещаются с водородными камерами сгорания. [14] Другим типом конденсаторных электростанций, которые наиболее пригодны для реализации процесса, являются водородные тепловые электростанции (ВТЭС). Эти электростанции, как и АЭС содержат паровые турбины, но у ВТЭС турбины снабжены камерами сгорания. Поэтому для реализации процесса ПДЭЦК объединяются схемы АЭС и ВТЭС в общую схему, где имеется общая турбоустановка, на которой размещены пароперегреватели, а цилиндры высокого и среднего давления снабжены камерами сгорания (КС), работающему на обычном паре и паре, полученном при сжигании в КС, кислорода и водорода. Специализированные АЭС, где паровые турбины дополнены камерами сгорания для сжигания водорода, повышают КПД по выработке электроэнергии до 37%. ВТЭС по КПД достигает 69%, следовательно, при объединении АЭС и ВТЭС средний КПД будет примерно 53%. Система вырабатывающая электроэнергию, созданная на базе АЭС и ВТЭС, для увеличения КПД, дополняется высокотемпературными топливными элементами (ВТЭ), имеющими КПД по выработке электроэнергии достигающий 85%. ВТЭ для своей работы требуют нагрева в пределах 650-950°, поэтому необходимое тепло задействуется от АЭС и ВТЭС. В результате объединения создается комбинированная электростанция с КПД по выработке электроэнергии достигающей в среднем 69%. Все агрегаты электростанции созданной на базе АЭС-ВТЭС-ВТЭ объединены и работают по взаимосвязанной схеме. Практическим преимуществом электростанции созданной на этой базе из трёх различных систем является гибкая настройка по выработке электроэнергии и тепла в любой момент времени, что необходимо для работы всего процесса ПДЭЦК. В результате осуществления процесса в различные моменты времени поглощается различное количество электроэнергии по отношении к теплу, так как выделяется во времени различное количество окислителей и горючих веществ. Атомный реактор наиболее эффективно и безопасно работает с постоянной нагрузкой и не применяется в случае её постоянного изменения. Следовательно, мощность реактора по отношению к мощности других типов электростанций может находиться в пределах от 1 до 50 %, а колебания нагрузки гасятся или восполняются за счёт ВТЭС и ВТЭ. Процесс перераспределения энергии и вещества, устроен таким образом, чтобы в любой момент времени, необходимые химические реагенты, такие как водород, CO, CO2, H2O и энергию, направлять на тот или иной участок производства, где в них есть необходимость. Например, хранение водорода достаточно затратный процесс, поэтому основной его объём, сразу после выделения водорода в ходе плазмохимической реакции, направляется на синтез метанола, для его длительного и неограниченного по времени хранения. Излишки водорода поступают на сжигание в камеры сгорания турбин электростанций или на топливные элементы, а небольшая часть объёма водорода хранится в накопительной емкости, для сглаживания пульсации при выработке необходимой мощности энергии или для пополнения объема при синтезе метанола. Для выработки большего количества энергии водород извлекается из метанола, за счет процессора метанола, куда поступает вода и метанол. При нагревании идет каталитическая реакция взаимодействия метанола с водой, образуя водород и углекислый газ. Водород направляется на сжигание в камеры сгорания электростанции. Углекислый газ используется на участке энергопроизводства в качестве нагревателя пара, на участке плавления в качестве плазмообразующего газа и на участке синтеза метанола в качестве реагента. В результате более глубокого преобразования углекислого газа при воздействии плазмы, протекает реакция его диссоциации на кислород и угарный газ. Кислород, обеспечивает протекание автотермической реакции образования синтез-газа для синтеза метанола, совместно с метаном и паром, а также кислород используется для сжигания водорода на турбинах и топливных элементах. Угарный газ работает восстановителем металлов из руды и участвует реагентом для синтеза метанола. Для полного устранения тепловых выбросов в окружающую среду, применяется схема использования руды, углеводородов и конечных продуктов производства в качестве хладагентов, то есть процесс выработки электроэнергии и тепла объединён с процессом переработки вещества, поставки вещества потребителю энергии и обратным возвратом части вещества от потребителя. На сегодня в мире наибольшее количество из всех производимых промышленностью металлов, приходится на железо. Следовательно, производство железа потребляет наибольшее количество энергии и сопутствующих реагентов, по сравнению с другими металлами. Способ ПДЭЦК, направлен на снижение энергозатрат при производстве железа и сопутствующих металлов и неметаллов, к которым относятся углеводороды. В качестве примера осуществления способа ПДЭЦК для производства металлов, неметаллов и энергоносителей, включая железо, предлагается устройство ПДЭЦК, изображенное на фиг. 5. Для первичной выработки электроэнергии используется атомный реактор 1, но при необходимости можно использовать любой тип электростанций, работающий на возобновляемых видах энергии или на сжигании топлива. Через реактор 1 проходит и нагревается вода, циркулирующая по контуру 2, под действием насоса 3 нагревая воду в теплообменнике 4, через которые проходит парапровод 5, снизу подающий воду, которая выходит в виде пара, поступая в камеру сгорание 6 турбины высокого давления 7. В камеру сгорания 6 подводится трубопровод кислородный 8 и трубопровод водородный 9, а пар подводится по трубопроводу 10, где регулировка объёма газов осуществляется за счёт клапанов 11, 12, 13. Для запуска турбины используется байпас 14 с клапаном 15, позволяя вырабатывать энергию без камеры сгорания. На выходе турбины установлена труба 16, по которой пар через клапан 17 напрямую поступает в турбину среднего давления 18, а по трубопроводу 19 через клапан 20 и трубопровод 21, пар поступает в камеру сгорание 22, куда через трубопровод 23 и клапан 24 подводится водород, а через трубопровод 25 и клапан 26 кислород. Из турбины среднего давления пар выходит через трубопровод 27, попадая в теплообменник 28 и по трубопроводу 29 поступая на турбину низкого давления 30, откуда по трубопроводу 31 пар поступает в конденсатор 32, откуда по трубопроводу 33 часть конденсата под действием насоса 34 через теплообменник 28 и теплообменник 35, установленный на турбине среднего давления и клапан 36 возвращается в трубопровод 21. Другая часть конденсата насосом 37 по трубопроводу 38 через теплообменник 39 поступают в теплообменник 28 клапан 40, и паром приходит в камеру сгорания 6. Через теплообменник 28 проходит трубопровод 41, где подогревается кислород, и попадая в распределительный клапан 42, откуда по трубопроводу 43 может поступать на камеры сгорания, а по трубопроводу 44 на топливный элемент 45. [14] Водородная турбина использует последнюю разработку, которая позволяет достигать КПД по выработке электроэнергии 69 %, за счёт генератора 46 который передает энергоносителю во внешнюю сеть через контакты 47. На внутреннее потребление вырабатываемая мощность передается через трансформатор 48, который запитывает два выпрямителя 49 и 50, откуда электроэнергия поступает на контакты плазмотрона 51; 52; 53. На трансформатор 48 электроэнергия может поступать через инвертор 54 и контакты 55 от топливного элемента 45. Топливный элемент (ТЭ) может вырабатывать мощность соизмеримую с водородной турбиной, для чего наиболее подходит высокотемпературный топливный элемент, который дополнительно своим теплом через теплообменник 56 подогревает кислород в трубопроводе 44, который поступает на катод ТЭ. [15] Аналогом топливного элемента приняты высокотемпературные топливные элементы устройства, позволяющие вырабатывать до 20 мВт и более. На анод ТЭ поступает водород по трубопроводу 57 через распределительный клапан 58, куда водород может поступать по трубопроводу 59, подогреваясь в теплообменнике 60 из накопительной ёмкости 61 или по трубопроводу 62 из процессора метанола 63. В процессор по трубопроводу 64 поступает метанол, подогреваясь в теплообменнике 65, куда он поступает через распределительный клапан 66 по трубопроводу 67 из накопительной ёмкости 68, в которую поступают под действием насоса 69 из сбросной ёмкости 70. В процессор 63 также подается вода по трубопроводу 71 через распределительный клапан 72, поступая из топливного элемента 45 под действием насоса 73. В результате взаимодействия метанола и воды помимо водорода образуется углекислый газ, который из процессора через накопительную ёмкость 74 по трубопроводу 75 направляется на распределительный клапан 76, откуда газ подаётся в двух направлениях. По трубопроводу 77 в распределительный клапан 78 и редуктор 79 газ поступает внутрь плазмотрона 80 через отверстие 81, проходя вокруг центрального электрода 82 и внутри трубчатого электрода 83 обеспечивая горение дуги 84, которая формирует плазму 85. Электроды в плазмотроне разделяет изолятор 86 закреплённый в охлаждаемой втулке 87 установленной в корпусе печи 88. Внутрь плазмотрона через клапан 89 трубопровод 90 и распределительный клапан 91 в регулируемом объёме поступает природный газ (метан). Метан поступает через трубопровод 92, предварительно сжимаясь компрессором 93, проходя через распределительный клапан 94, поступая по трубопроводу 95 и проходя с целью очистки через сепаратор 96 с которого примеси, включая серу, поступают в накопитель 97. В сепаратор 96 газ поступает через трубопровод 98, предварительно подогреваясь в теплообменнике 99 и 100. Дополнительный объём метана в производственную цепочку поступает через распределительный клапан 94 по трубопроводу 101 из накопительной ёмкости 102. Помимо подачи определённого объёма метана внутрь плазмотрона, куда он поступает по трубопроводу 90, через клапан 89 и редуктор 79 для поддержания горения плазмы, обеспечивается подача другой части метана по трубопроводу 103, через распределительный клапан 104, по трубопроводу 105, который подаётся на охлаждение корпуса камеры 88. Метан, охлаждая корпус камеры, проходя по внутренним змеевикам, подогревается и выходит по трубопроводу 106, поступая на фильтр 107 сбрасывая примеси в ёмкость 108 и далее поступая в смеситель (предриформинг) 109. Из распределительного клапана 104 по трубопроводу 110 другая часть метана в определённый момент времени подаётся через сопло 111, создавая струю 112, раскручивающую тигельную турбину 113 и одновременно охлаждая её снаружи через плоскости лопаток 114. При закрытой задвижке 115 метан попадает в нижнюю камеру 116, откуда по трубопроводу 117, подаётся насосом 118 в трубопровод 119, а затем через отверстие 120, метан поступает внутрь шихты 121, где начинают протекать реакции с выделением углерода и водорода. Шихту толкает и перемешивает шнек 122. Одновременно во внутренний объем шихты, вместе с метаном через отверстие 120, поступает нефть, которая подается в определённом объёме через распределительный клапан 123, куда нефть поступает по трубопроводу 124, предварительно нагреваясь в теплообменниках 125 и 126. В качестве нефти может использоваться мазут или другие жидкотекучие смеси углеводородов, после НПЗ. После открытия задвижки 115 и слива определённого объёма расплава 127, находящегося во время плавления плазмы 85 в гарнисаже 128 в тигельную турбину 113, формируется слиток (диск) 129, состоящий из различного по плотности вещества. Во время открытия задвижки метан, поступающий через сопло 111, проходит через плазму 85 и нагретый гарнисаж 128, частично диссоциируя на углерод и водород и далее, поступая в патрубки 130, проходя через поток частиц руды 131 и проходит через ректификационные колонны 132, 133, 134, выкачиваясь по трубопроводу 135 насосом 136, поступает в сепаратор 137. Вместе с метаном в поток газов 138, во время работы плазмы, поступают газы, состоящие из угарного и углекислого газа, водорода и кислорода, паров воды и углерода, а также паров металлов и неметаллов, находящихся в переплавляемых реагентах. Поток газов 138, проходя через сетчатый катализатор 139, образует в потоке определённый объём синтез газа, и далее проходя через поток частиц руды, нагревает его и освобождается от части примесей, таких как углерод, который осаждается на частицах руды. Затем поток газа, проходя ректификационные колонны, освобождается в первой колоне от наиболее тугоплавких металлов и неметаллов, скапливающихся в виде расплава в ёмкости 140. В следующей ёмкости 141 скапливаются вещества со средней температурой плавления, а в ёмкости 142 более легкоплавкие вещества. Ёмкости 140, 141 и 142, находятся в камере 143, где расплавы подогреваются и затем сливаются в сепараторы 144, 145 и 146. Из этих сепараторов восстановленные металлы и неметаллы насосами 147, 148 и 149 откачиваются к месту хранения, а шлаки насосами 150, 151 и 152 подаются на повторную переработку по трубопроводу 153 и отверстие 154, поступают в переплавляемую шихту 121. Тигельная турбина 113 с твердым диском 129 через шлюзовой затвор 156 поступает в камеру 157, где наружная и внутренняя плоскость турбины обрабатываются струёй пара 158, вращая и охлаждая её. Пар поступает через сопло 159 и 160, а перед этим поступает через распределительный клапан 161 и провод 162, выходя из опорной плиты 163, куда вода поступает по трубопроводу 164. На внутренней поверхности диска 129 скапливается углерод, имеющий наименьшую плотность среди компонентов шихты. При взаимодействии с паром нагретый углерод, образуют водяной газ, который из камеры 157 вместе с паром, по трубопроводу 165, под действием насоса 166, поступает в трубопровод 153, смешиваясь со шлаками и далее через отверстие 154, смешивается с шихтой 121, под действием шнека 122, поступает под плазму. Определённый объём пара через распределительный клапан 161 поступает по трубопроводу 167 на компрессор 168 и далее под давлением в трубопровод 169, по которому движется метан, образуя смесь в смесителе 109. За счет образования смеси протекает процесс предриформинга, откуда смесь газов выходит через трубопровод 170, смешиваясь углекислых газом в трубопроводе 171, куда он поступает, сжимаясь компрессором 172, двигаясь по трубопроводу 173 от распределительного клапана 174. В этот клапан углекислый газ поступает по трубопроводу 175 и 176. В трубопроводе 177, образованного слиянием трубопроводов 170 и 171, образуется синтез газ, который направляется на подогрев и пропускается через внутреннюю полость охлаждаемой втулки 87 плазмотрона, выходя через трубопровод 178, поступая в компрессор 179. Из этого компрессора по трубопроводу 180 синтез-газ поступает под давлением в теплообменник 181 и далее в реактор метанола 182, где проходя вдоль внешнего периметра его корпуса вниз, синтез-газ подогревается за счёт температуры реагентов и далее проходит вверх, попадая на катализатор 183 и затем образованная смесь метанола и синтез-газ по трубам 184 движется вниз, через фильтр 185, выходя по трубопроводу 186, проходя через теплообменник 181, где охлаждается и выходит по трубопроводу 187, дополнительно охлаждаясь, проходя через теплообменник 188. Из этого теплообменника смесь поступает в сепаратор 189, где в нижней части образуется ванна метанола 190, сливаемого по трубопроводу 191 в сборную ёмкость 70. Синтез-газ не превращённый в метанол по трубопроводу 192 выходит из сепаратора 189, и сжимаясь компрессором 193 по циркуляционному трубопроводу 194 и 195 снова поступает в теплообменник 181. В трубопровод 195 подаётся дополнительный объём синтез-газа за счет его подачи по трубопроводу 196, который образуется внутри корпуса плазменной печи 88. Синтез-газ образуется из водорода, поступающего через трубопровод 197, предварительно сжимаемый компрессором 198, через распределительный клапан 199, куда водород поступает по трубопроводу 200 из сепаратора 137. Из этого же сепаратора по трубопроводу 201, через распределительный клапан 202, поступает угарный газ, сжимаясь компрессором 203 и через трубопровод 204, соединяясь с трубопроводом 197, где образует синтез-газ, который двигаясь по трубопроводу 196, далее поступает в трубопровод 195 на синтез метанола. Через распределительный клапан 199 и трубопровод 205, заполняется накопительная ёмкость 61 водородом из сепаратора 137. Через трубопровод 206, из сепаратора 137 заполняется кислородом накопительная ёмкость 207, откуда по трубопроводу 208 под действием насоса 209, поступает в теплообменник 210, где, подогреваясь, выходит через трубопровод 41. Из сепаратора 137 по трубопроводу 211 выходит вода, скапливаясь в накопительной ёмкости 212, откуда по трубопроводу 213, под действием насоса 214, поступает в распределительный клапан 215 и по трубопроводу 216, через отверстие 217, в определённом объёме поступает внутрь корпуса камеры печи 88, влияя на концентрацию газовых реагентов потока 138. Поток воды, внутри печи нагреваясь, попадает на катализатор 139, очищает его поверхность от поверхностного налёта и восстанавливает его работоспособность. Регулируя объём подачи воды, в камере корпуса печи регулируется образование максимального объёма синтез-газа. Другая часть объёма воды из распределительного клапана 215 направляется по трубопроводу 218 и 219 в ванну 220, куда сверху по линии 221 поступает уголь 222. В качестве угля могут использоваться любые углеродсодержащие вещества, включая торф, опил, древесина, картон и другие. Вода в ванне охлаждается и проходя по всей длине снизу забирается по трубопроводу 223, под действием насоса 224, поступая в ванну 225, куда сверху по линии 226 поступает руда 227, так же охлаждая воду. В качестве руды, могут использоваться любые отходы обогащения руды, речной песок, галька, глина и другие подобные вещества, так как для процесса ПДЭЦК, они являются промышленными рудами. Вода по трубопроводу 228, забирается снизу ванны под действием насоса 229, проходя через фильтр 230, откуда по трубопроводу 231 идёт на охлаждение конденсатора 32, возвращаясь в нагретом виде по трубопроводу 232, соединяясь с трубопроводом 218, поступая на повторный цикл охлаждения в ваннах, за счет угля и руды. Мелкие примеси, из воды захваченные фильтром 230 по линии 233 поступают в выходной лоток 234 дробилки 235, куда в лоток 236, по линии 237 и линии 238, поступает нагретая в ваннах руда и уголь. Из выходного лотка 234, смесь измельченной руды и угля с добавкой частиц с фильтра, по линии 239 идут на отжим пресса 240, удаляющий лишнюю воду, которая по трубопроводу 241 возвращается в ванну 220, а готовая смесь по трубопроводу 242 поступает в вертикальную шахту 243 корпуса печи. Часть объёма воды, после конденсатора 32 подается в трубопровод 33 и 38, для работы турбин, а вода, которая образовалась в результате горения водорода, отбирается насосом 244 и объединяется с частью потока воды полученной на ТЭ двигающейся по трубопроводу 245 и отдавшей часть тепла в теплообменник 39 выходя из распределительного клапана 72. Эта часть воды в объеме двух третей, также образована путём горения водорода на ТЭ и незадействованная в процессоре метанола для извлечения из метанола, водорода и углекислого газа. Излишки воды образованной при горении водорода на турбинах и в топливном элементе, по трубопроводу 246 направляются через теплообменник 100, на предварительный подогрев метана и далее в теплообменник 126 на предварительный подогрев нефти, поступая в распределительный клапан 247. Из этого клапана излишки воды по трубопроводу 248 направляются во вне, при температуре окружающей среды, для того чтобы устранить потери энергии из системы находящейся внутри производственного контура. Другая часть воды из распределительного клапана 247 по трубопроводу 249, идёт на распределительный клапан 250, откуда одна её часть по трубопроводу 251 идёт на охлаждение задвижки 115, откуда по линии 252 нагретая вода идёт на охлаждение опорной плиты 163, откуда по трубопроводу 253 вода направляется на подогрев теплообменника 125, через который нагревается нефть и теплообменник 99, обогревая поток метана. Охлаждаясь, вода по трубопроводу 260 поступает до соединения с трубопроводом 219, по которому цикл движения воды описан ранее. Другая часть воды с распределительного клапана 250, движется по трубопроводу 261, поступая в распределительный клапан 262, откуда часть воды поступает в трубопровод 164, по которому движение воды описано ранее. Другая часть воды из клапана 262 по трубопроводу 263 направляется на охлаждение теплообменника 188, где охлаждается смесь метана и синтез газа и подогретая вода по трубопроводу 264 возвращается на соединение с трубопроводом 259, далее цикл движения воды повторяется согласно ранее представленного описания. Из сепаратора 137 по трубопроводу 265 в сепаратор 266 поступают летучие примеси, улавливаемые из газовой фазы и которые не участвуют в повторном использовании, для образования плазмы и, представляя из себя готовый продукт, состоящий из различных газов и нелетучих примесей, поступающий на Рынок. Из сепаратора 266 каждый газ или примесь, по отдельности, через трубопроводы попадают в накопительные емкости 267 и выводятся из системы, пересекая границу производственного контура, при температуре окружающей среды. Из сепаратора 137 углекислый газ уходит по трубопроводу 268 и накапливается в ёмкости 269, откуда через распределительный клапан 270, направляется по трубопроводу 271 в распределительный клапан 78. Метанол, который производится внутри системы, из накопительной ёмкости 68 по трубопроводу 67, через распределительный клапан 66 направляется во вне по трубопроводу 272, для охлаждения в теплообменнике 273, выходя из системы при температуре окружающей среды по трубопроводу 274, за производственный контур 275. Трубопровод 274 покидает производственный контур 275 системы, где производится энергоноситель и разделение вещества. Далее трубопровод 274 пересекает границу контура потребления 276, где производится потребление энергоносителя для выработки энергии. Сразу пересечении при границы контура потребления 276, метанол в трубопроводе 274 начинает подогреваться в теплообменниках 277, 278, 279 и попадает в процессор метанола 280. [37] Водород из метанола производится вместе с водой в присутствии катализатора по общей реакции CH3OH + H2O = CO2 + 3H2 - 49,5 кДж/моль, которая является эндотермической. Конверсия за цикл составляет 95%, а не прореагировавшее сырьё поступает на повторный цикл, по аналогичной схеме, используемой при синтезе метанола из синтез-газа. [38] ТЭ обладают в 20 раз больше по запасу плотности энергии, чем литий-ионные батареи, где КПД по выработке электроэнергии превышает 80%. Для сравнения, при сжигании органического топлива средний КПД составляет только 33,5%. При работе ТЭ, наиболее эффективно использовать метанол в качестве энергоносителя, а так же для хранения водорода в жидком соединении неограниченное время, который при необходимости, в любой момент времени подвергается конверсии для извлечения водорода. Для извлечения водорода из других энергоносителей, типа бензина, дизельного топлива, природного газа требуется значительно больше энергии. Для метанола при конверсии водорода требуется нагрев до 275 °C, а например, для метана или бензина требуется нагрев более 850 °C. Это связано с тем, что метан и бензин состоят только из двух химических элементов, углерода и водорода, а метанол из трёх - углерода, водорода и кислорода. Поэтому, химические связи метанола разрушаются при более низких затратах энергии. Как было показано ранее, химические соединения и смеси химических соединений, включающие в свой состав наибольшее количество различных химических элементов, с меньшими энергозатратами делятся на более простые химические соединения. Напротив сжигание этих многокомпонентных смесей, приводит к наименьшему выделению тепловой энергии. В качестве примера, наиболее простое соединение метан, включающее в свой состав два главных горючих химических элемента, водород и углерод, выделяют наибольшее количество энергии, по сравнению с более сложными углеводородными соединениями. При этом метан уступает по своей энергоэффективности водороду, так как сжигание производится в соединении двух химических элементов, если сжигать находящийся в метане углерод и водород по отдельности, то на 20% будет получена большая тепловая энергия. [39] На сегодня в мире для хранения водорода в соединениях жидкой фазы все больше используют метанол и аммиак, но последний требует больших энергозатрат для извлечения водорода. Больший расход энергии для извлечения водорода из аммиака, как было показано выше, связан с тем, что аммиак состоит всего из двух химических элементов, азота и водорода, в отличие от метанола, где содержится три химических элемента водород, углерод и кислород. По трубопроводу 281 в процессор через распределительный клапан 282 за счёт насоса 283 поступает вода с топливного элемента 284. На анод топливного элемента 284 по трубопроводу 285 из процессора поступает водород, а на катод по трубопроводу 286 поступает кислород, предварительно подогретый в теплообменнике 287 из накопительной ёмкости 288, куда попадает из процессора воздуха 289. В процессор воздух накачивается извне насосом 290, подогреваясь в теплообменнике 291, куда воздух поступает по трубопроводу 292. Из процессора воздуха азот уходит на рынок через теплообменник 277 по трубопроводу 293, пересекая контур потребления 276 при температуре окружающей среды. С распределительного клапана 282 часть воды в объеме две трети, не расходуемая на процессоре метанола, направляется в теплообменник 294 через который проходит водяной нагревательный контур 295, используемый для отопления помещений. Вода в контуре движется под действием циркуляционного насоса 296, проходя сквозь накопитель 297, который дополняется водой через трубопровод 298 и распределительный клапан 299, куда вода поступает по трубопроводу 300. С распределительного клапана 299, основная часть воды по трубопроводу 301, поступает в систему потребления 302, из которой насосом 303 откачивается вовне, через теплообменник 279, пересекая границу контура потребления 276 при температуре окружающей среды, по трубопроводу 304. Вырабатываемый ток на ТЭ 284 поступает на инвертор 305 и далее через контакты 306 на внешнее потребление, а через контакты 307, на внутреннее потребление. Процессор метанола 280, вырабатывает углекислый газ, который накапливается в ёмкости 308 и далее под действием насоса 309, через теплообменник 278 и 291 по трубопроводу 310, направляет на переработку. Углекислый газ пересекает границу контура потребления 276 и входит в производственный контур, пересекая границу 275 при температуре окружающей среды. Углекислый газ по трубопроводу 310 поступает на распределительный клапан 311 и далее по трубопроводу 312 идёт в конденсатор 32, для охлаждения пара турбины низкого давления. После конденсатора по трубопроводу 175 углекислый газ проходит через теплообменник 210, 60, 65, отдавая тепло, и попадает в распределительный клапан 174 и далее перемещается согласно ранее представленного описания. Часть углекислого газа из распределительного клапана 311 в зависимости от температуры окружающей среды, пара в конденсаторе и метанола, в заданном объёме по трубопроводу 313, проходит через теплообменник 273, охлаждая метанол до температуры внешней среды. Далее углекислый газ, поступая в трубопровод 175, следует ранее представленному описанию. Тигельная турбина 113 после охлаждения в камере 157 раскрывается для извлечения диска 129, который через нижний шлюз 314, по линии 315 поступает в в электролизную ванну 316. Ванна заполняется электролитом и к диску 129 подключается контакт 317, который служит анодом, а контакт 318 закрепляется на электролизной ванне и служит катодом. После проведения электролиза на внутренней поверхности ванны образуется осадок 319 состоящий из смеси чистых металлов и шламов, содержащих в основном драгметаллы, платиноиды и редкоземельные металлы, которые согласно электроотрицательности в первую очередь выделяется на катоде, то есть на внутренней поверхности ванны. После электролиза осадок 319 отделяется от ванны (механически, кислотно-щелочным способом, плавлением и т. п.) и по линии 320 направляется на аффинажный предел, пересекая производственный контур 275, при температуре окружающей среды. Диск 129 после электролиза по линии 321 извлекается из ванны и идёт на электрогидроимпульсное дробление, которое позволяет отделить восстановленные металлы от керамики. Например, от железа соединений включающих оксид алюминия, магния, кальция и углерода. Вещество, разделенное на частицы, идёт на сепарацию где дополнительно разделяется за счёт плотности, магнитных или других свойств, поступая на Рынок, пересекая производственный контур 275, при температуре внешней среды. Способ ПДЭЦК, представленный на фиг. 5, одновременно с восстановлением металлов и неметаллов, позволяет производить большое количество водорода, используя известные методы. Например, в классическом железопаровом способе в устройство для получения водорода пускают пар, а для восстановления железа из оксидов, в устройство направляют водяной пар. Недостатком классического железопарового способа является его периодичность, требующая восстановления железа, что усложняет работу и конструкцию устройства, делая способ низкорентабельным. В случае реализации способа ПДЭЦК недостатки классического железопарового способа устраняются за счёт устранения его периодичности. При реализации нового способа железная руда, приняв участие в реализации получения водорода, уходит на восстановление и плавление. Для выработки нового объема пара и водорода, в корпус печи постоянно поступает новая порция влажной руды. В классическом железопаровом способе водород загрязняется примесями, поступающими в него из водяного газа, а в случае использования ПДЭЦК, производится наиболее чистый водород, так как не применяется стадия повторного восстановления руды. Для определения возможного количества вырабатываемого водорода из влажной железной руды, при реализации способа ПДЭЦК, необходимо воспользоваться статистикой исследований на содержание различных оксидов железа в руде. При производстве метанола способом ПДЭЦК, где применяется руда, содержащая оксиды железа, появляется возможность производства дополнительного объема водорода за счет железопарового способа, а следовательно, дополнительного объема метанола. [40] По данным “Курса общей химии” железопаровой процесс протекает при температуре 650 ÷ 700 °С. При этом железо образует несколько продуктов, отвечающих различным степеням его окисления, а водяной пар, восстанавливаясь, разлагается с выделением водорода. [41] По данным д.х.н. И.Б. Рапопорта железопаровой процесс ведут в пределах 700 ÷ 800 °С, учитывая что водяной газ дороже пара, процесс восстановления проводят до закиси железа, а не до металлического железа, где расход пара 1,75 кг на 1 м3 водорода. [42] Соотношение содержания двух- и трех-валентного железа в рудах определяется их минеральным составом. Определение соотношения между Fe2+ и Fe3+ в рудах имеет большое значение для оценки их качества. При определении содержания FeO в железных рудах был установлен диапазон от 3 до 25 %, то есть среднее содержание равно 14 %. Поэтому в тонне руды, будет в среднем окисляться 140 кг FeO, где на реакцию потребуется 11,7 кг воды. На практике, как было показано выше, водорода образуется 41 %, то есть 0,54 кг, следовательно, количество оставшегося пара 59 % составит массу 6,9 кг. [43] Реакция окисления закиси железа протекает по двум схемам, при температуре ниже 570 °С: и при температуре выше 570 °С: Для реализации процесса ПДЭЦК, температура восстановления водорода принимается 700 °С, где необходимо определить расход тепловой энергии затрачиваемый на нагрев одного кг руды и одного кг воды. [44] В руде два оксида Fe2O3 и FeO, имеющие различную теплоёмкость, которая при увеличении температуры так же увеличивается. Теплота потребляемая одним кг Fe2O3 массой в диапазоне от 0 °С до 700 °С равна 533,4 кДж, на нагрев воды от 0 до 100 °С будет затрачено 418,6 кДж, на фазовый переход будет затрачено 2260 кДж, на нагрев пара от 100 до 700 будет затрачено 1206 кДж, что в итоге составляет 3885 кДж. На одну тонну руда состоит из 140 кг FeO и 860 кг Fe2O3, куда добавляется 11,7 кг воды. Следовательно, в одном килограмме реагентов находится 138,4 г FeO, 850,1 г Fe2O3 и 11,5 г H2O. Необходимое, количество теплоты, требуемое на нагрев одного кг реагентов составляет FeO - 72,15 кДж, Fe2O3 - 453,44 кДж и соответственно на нагрев воды и образование пара 44,68 кДж, что при нагревании до 700 °С потребует тепловую энергию равную 570,27 кДж. С учётом экзотермической реакции, где до 570 °С выделяется на один кг железа 372 кДж, а выше 570 °С соответственно 497 кДж, в среднем выделяется 400 кДж. Поэтому, на нагрев килограмма реагентов потребуется, примерно 170 кДж. При окислении FeO массой 138,4 г, теоретически должно образоваться Fe3O4 148,67 грамма, где прирост массы составляет 10,27 г. На практике прирост составит только 41 %, что равно 4,21 г, то есть образуется смесь Fe3O4 + FeO массой 142,61 г. Твёрдой фазы в килограмме реагентов будет 992,71 г (Fe2O3 - 850,1 г; Fe3O4 + FeO - 142,61 г). Учитывая, что в пар перейдёт 59 % воды из 11,5 г, а водород образуется из 41 % воды, в результате реакции одного кг реагентов будет получен водород массой 0,505 г и пар 6,785 г. При сжигании произведенного водорода будет получено, примерно 70 кДж, в итоге на проведение реакции необходимы затраты энергии в пределах 100 кДж, при которой до 700 °С нагреваются оксиды железа с образованием пара. Нагретые вещества на участок металлургии передают тепловую энергию на другие участки производства в устройстве ПДЭЦК. Производство дополнительного объема водорода, получаемого за счет сушки руды в момент её транспортировки в зону плавления, путём реакции паров воды с рудой, наиболее энергоэффективно и позволяет производить продукт в большом объёме и с высокой скоростью. Подавать влажную порошковую шихту в зону горения плазмы наиболее целесообразно, так как устраняется процесс сушки руды характерный при агломерации, а при образовании пара во время нагрева, будет происходить окисление руды с выделением водорода. В связи с этим, без сушки руды производится водород перед попаданием реагентов в зону плавления, образуя дополнительный объём синтез-газа. Конечный объём синтез-газа в процессе плавления будет производиться за счет многоступенчатых реакций с участием углерода, метана, кислорода, водорода, паров воды и других химических соединений. [45] Произведенный водород находится в смеси реагентов, которые продвигаются на плавление плазмой, где при нагреве взаимодействуя с оксидами восстанавливаются до металлов. Как известно, водород в течение 35 минут при температуре 900 °С может полностью восстанавливать железо. Используя в устройстве ПДЭЦК данную реакцию, целесообразно производить восстановление железа на стадии его перемещения в зону плавления, одновременно производя дополнительный объем водорода, за счет прохождения через руду природного газа. Восстановленные частицы железа могут служить центрами каталитических реакций, поэтому в эту зону так же целесообразно подавать природный газ для его разложения (диссоциации) на водород и углерод. Для этого метан (фиг.5), поступающий по трубопроводу 124, через распределительный клапан 123 подаётся в трубопровод 119 и отверстие 120 для взаимодействия с рудой, которая нагреваясь до 900 °С и более, перед плавлением позволяет метану диссоциировать на водород и углерод. Полученный углерод, взаимодействуя с кислородом руды, восстанавливает её до железа, образуя CO и CO2, а водород, восстанавливая железо, образует пары воды. Пары воды, взаимодействуя снова с рудой, образуют водород, а с метаном при участии катализатора, которым служит руда, образуют синтез-газ, который идёт на производство метанола. Продолжительность процесса нагрева руды и плавления на установке ПДЭЦК может достигать в среднем от двух до двадцати часов, следовательно, за это время природный газ полностью диссоциирует на углерод и водород. Для нагрева одного кг метана требуется тепловая энергия, примерно, равная 2415 кДж. Расчёт произведён для нагрева газа, где в шихте поддерживается температура 700 °С. Расчёт произведён с учётом удельной теплоемкости метана, которая в диапазоне от 0 до 700 °С, в среднем равна 3450 Дж/кг °С. Произведенный водород, за счёт диссоциации метана, поступая в сепаратор 137 и далее в накопитель 212, откуда может подавиться на восстановление шихты или на выработку электроэнергии. Руда прошедшая предварительное восстановление, за счет водорода и захватив углерод, начинает поступать в зону плавления, где интенсивно восстанавливается углеродом при температуре выше 1500 °С. Регулировать скорость подачи шихты 121, возможно, за счёт изменения скорости вращения шнекового механизма 122, размещённого внутри горизонтальной шахты. Шнеком, возможно, перемешивать реагенты, ускоряя реакции при железопаровой конверсии и диссоциации метана. В процессе разделения газовых смесей в сепараторе 137, идёт отделение газовых примесей типа соединений серы, хлора, фтора, фосфора и т.п., которые улавливаются и собираются в отдельных накопителях 267 на дальнейшее использование во вне, то есть поставляются на Рынок, пересекая границу производственного контура 275 при температуре окружающей среды. Другая часть синтез-газа, образуется за счет паров воды, отделённых в сепараторе 137 поступающих по трубопроводу 213, под действием насоса 214 через клапан 215, по трубопроводу 216, откуда пар через патрубок 117 поступает на сетчатый катализатор 139, куда из печи, так же поступает смесь газов и сажистый летучий углерод. [12] В ходе эндотермической реакции на один моль углерода будет поглощаться 74,8 кДж. Для проведения паровой конверсии углерода наиболее подходит никелевый катализатор размещённый на поверхности оксидов магния и алюминия. Одновременно на катализатор 139 поступает монооксид углерода, который так же вступает в реакцию с парами воды. Паровая конверсия CO экзотермична, поэтому идёт с выделением тепла - 41 кДж/моль, компенсируя потерю тепла при паровой конверсии углерода. Регулируя в камере плавления количество образуемого сажистого углерода, водорода, паров воды, угарного газа и углекислого газа, возможно, осуществить автотермическую конверсию синтез-газа. Для уменьшения энергозатрат на установке ПДЭЦК, при проведении автотермической конверсии, возможно, производить различные комбинации реакции. [46] Например, для этого, возможно, использовать смешенную конверсию СН4+Н2О+О2, с комбинацией двух катализаторов, а так же конверсию смесей CH4+CO2+O2 и CH4+H2O+O2 согласно работ. Тепловой эффект процесса при 800 °С в смеси CH4:CO2:O2 = 60:16:24 близок к нулевому, где производится синтез-газ состава 2H2:1CO. Как известно основная трудность в создании автотермических реакторов связана с протеканием реакций при разных температурах, для этого необходимо разделять пространство зоны протекания реакций, но для устройства ПДЭЦК данные трудности устранены в виду уже имеющегося разделенного пространства при различных температурах. Регулировка производится за счёт изменения объёма поступления реагентов, по заданной программе, за счет автоматизированной системы управления (АСУ). АСУ управляет механизмами, открытием клапанов, скоростью и температурой подачи реагентов, за счёт обратной связи поступающей при выходе вещества из зоны плавления, где определяется количественный состав химических элементов, давление и температура. Все коммуникации на схеме устройства ПДЭЦК образуют замкнутый производственный контур, внутри которого производится регулировка количества реагентов, температуры и давления, а так же количества вырабатываемой энергии, что позволяет на выходе получать восстановленный металл, метанол, электроэнергию, водород и сопутствующие вещества в твердом остатке, полностью устраняя любые вредные выбросы. Например, для перераспределения пара, если требуется уменьшить его объём подачи в печь, пар из сепаратора 137 направляется по трубопроводу 218 на подогрев руды и угля. Электроэнергия, вырабатываемая генератором 46, может направляться по трём направлениям, например, на инвертор 54 через трансформатор 48, для запуска высокотемпературного топливного элемента 45, на плазмотрон 80 или на клеммы 47 во внешнюю сеть. Таким образом, процесс ПДЭЦК использует реагенты с повторяющимися циклами их переработки, управляя их объемом по заданной программе с помощью АСУ. Химические элементы, образующие энергоносители, все без исключения перерабатываются по повторяющемуся замкнутому циклу. При осуществлении способа ПДЭЦК, водород производится не только железопаровой конверсией и за счет диссоциации метана в твердых частицах руды, но и за счет жидкокристаллического пиролиза метана. На фиг. 5 процесс жидкометаллического пиролиза метана протекает по двум направлениям. В первом случае, когда метан подает в полость плазмотрона, проходя через плазму 85, поступая сверху в ванну расплава 121, а во втором случае, когда метан поступает через отверстие 120 и 154, поступая снизу в ванну расплава 121, где происходит жидкометаллический пиролиз. В зоне расплава при высоких температурах выше 2000 °С, одновременно протекают реакции диссоциации и восстановления, где углерод становится основным восстановителем железа образуя CO в виде газового потока над ванной расплава, запуская реакцию углекислотной конверсии метана, которая протекает в присутствие катализаторов. Наибольшую активность в углекислотной конверсии метана проявляют никелевые катализаторы, однако теряют активность при закоксовывании. Наименее подвержены влиянию кокса катализаторы, где никель нанесен на оксиды металлов. Например, катализатор Ni/Al2O3 обладает наибольшей активностью без коксования, а катализаторы Ni/MgO, Ni/CaO, Ni/MnO, Ni/ZrO2 превосходят его по эксплуатационным качествам, проявляя устойчивость в отношении коксообразования. Ряд каталитической активности, увеличивается от меди до железа, согласно экспериментальным данным: Fe > Ni > Rh > Ru > Ir > Pd > Pt > Cu. Однако для практики Ni предпочтительнее Fe, потому что никель менее подвержен коксоотложению, а Ru лучше Rh, поскольку рутений дешевле. Промышленному применению углекислотной конверсии метана препятствуют низкая стабильность катализаторов по отношению к закоксовыванию. В рамках проблемы борьбы с закоксовыванием используется способ ПДЭЦК, где руда, являясь катализатором, постоянно обновляется. В ходе проведения процесса ПДЭЦК в широком диапазоне, возможна регулировка по переводу части вещества, электроэнергии и тепла на различные производственные участки. Это позволяет в зависимости от поставленной задачи, в каждый момент времени, в нужном объеме производить энергию, вещество или энергоноситель. Переработка углеводородов наравне с металлургией, так же требует большого потребления энергии. Химические и нефтеперерабатывающие заводы (НПЗ), в основном работают за счет сжигания органического топлива. Предлагаемый способ ПДЭЦК, позволяет снижать энергозатраты, за счет объединения металлургических и химических процессов, где например, для переработки углеводородов требуется использование катализаторов, в качестве которых используются руды, из которых одновременно восстанавливают металлы. Катализаторами служит определенная часть руды или часть восстановленной руды до металлов, таких как железо, алюминий, магний, медь и другие металлы. В свою очередь для восстановления металлов на установке ПДЭЦК требуются восстановители, такие как водород и углерод или их соединения, поэтому, совместно с рудой на проведение реакций, поступают углеводороды. Востановители подаются в зону плавления, в виде нефти, мазута, парафина, природного газа, угля, сланцев, торфа и других углеводородосодержащих природных веществ. [16] Например, при переработке тяжелой нефти на НПЗ обычно удается извлекать не более 30% топливных фракций. Это связано с низкой температурой перегонки, которая на не превышает 580 °C, а также с присутствием хлора, серы и других веществ снижающих эффективность работы катализаторов. При использовании способа ПДЭЦК, где в шихте одновременно с оксидами металлов присутствуют углеводороды и пары воды, нет ограничений по нагреву до высоких температур, а также нет возможности выхода из строя катализаторов, так как их роль играют руды, которые постоянно обновляются. Помимо тяжёлой нефти более сложно переработать нефтяные остатки НПЗ обычными методами, но при использовании устройства ПДЭЦК эти остатки используются, как обычная руда, смешанная с углеводородами. Процесс переработки рудного и углеводородного сырья на установке ПДЭЦК сопровождается извлечением из продуктов реакции металлов и неметаллов, включая извлечение водорода и кислорода, которые в этом процессе служат одновременно продуктами для синтеза энергоносителей и топливом для горения при производстве энергии, которая поддерживает процесс плавления и синтез энергоносителей. Для повышения энергоэффективности процесс переработки и синтеза нового вещества, объединён с энергоустановками, которые содержат конденсаторные турбоустановки и топливные элементы. Для большего повышения энергоэффективности, устраняются потери вещества и энергии в окружающую среду. Процесс ПДЭЦК переработки вещества производится в замкнутом контуре и объединен с процессом потребления энергоносителя в другом замкнутом контуре. После переработки энергоносителя в контуре потребления, образующийся в ходе реакции углекислый газ возвращается в контур производства, где на первой стадии служит хладагентом для конденсатора электростанции, а на второй стадии перерабатывается в энергоноситель. Способ ПДЭЦК подобен процессу, протекающему в известных шахтных печах, к которым относиться домна или печь Midrex, где восстановление металла протекает через карбидизацию от высших оксидов к низшим. Отличием способа ПДЭЦК от известных способов восстановления железа, является отсутствие процесса агломерации, так как шихтой является порошок рудного железа, перемешанный с углеводородным сырьём. В качестве углеводородного сырья для восстановления железа может быть использован горный сланец, нефтеносный песок, торф, парафин, тяжелая нефть, битум и другие подобные углеводородные вещества. Для осуществления способа ПДЭЦК не требуется наполнителей в виде бентонита склеивающего частицы агломерата, а так же флюса снижающего температуру плавления. [47] Как известно, в черной металлургии наибольший экологический ущерб наносит агломерационное производство, где объем выбросов достигает 52 % и коксохимическое производство с объемом выбросов до 9 %, поэтому использование нового способа позволит сделать процесс экологически чистым. Так например, современный доменный процесс производит значительное количество выбросов углекислого газа и является наиболее материалоёмким и энергоемким. Поэтому в мире идет активный поиск новых способов требующих меньших энергозатрат бездоменной, безкоксовой и безагломерационной металлургии. [48] Для решения этой задачи все больше используются способы с применением плазмы. В России первые разработки плазменных печей были реализованы на Челябинском металлургическом заводе и комбинате «Южуралникель». При осуществлении способа ПДЭЦК для производства стали, как и при производстве магния, алюминия или титана, для восстановления железа из руды используется плазма. Во время плавления и восстановления шихты состоящей из оксидов металлов и углеводородов в зоне горения плазмы, образуется синтез-газ, кислород, сера, пары воды и другие химические вещества. Синтез-газ должен содержать на одну молекулу CO две молекулы водорода, для того чтобы из этого состава в дальнейшем произвести метанол. Поэтому, процесс ПДЭЦК построен таким образом, чтобы поддерживать заданное соотношение молекул для синтеза метанола, извлекать из смеси излишки воды, кислорода, водорода или монооксида углерода. Излишний водород и кислород идут в камеру сгорания турбоустановок совмещенных с АЭС или на топливные элементы для выработки тепла и электроэнергии. При производстве метанола на фиг. 5 показано, что часть синтез-газа извлекается из сепаратора 137, угарный газ попадает в накопитель, распределительный клапан 202 и на сжатие компрессором 203, а водород через распределительный клапан 199 идет на сжатие компрессором 198. Полученная смесь водорода и угарного газа объединяются в требуемом объеме за счет трубопроводов 197 и 204 и далее по трубопроводу 196 попадают в циркуляционный трубопровод 194. Привод ступеней компрессоров осуществляется паровыми турбинами, где пар достигает давления 12 МПа и температуры 600°С. Пар для компрессоров поступает по трубопроводам, которые не отмечены на фиг. 5, за счет нагрева воды, которая охлаждает оборудование, размещенное на участках металлургического производства, синтеза метанола или производства энергии. Дробилка 235 приводится во вращение, так же за счет этого пара. Другая часть синтез-газа образуется за счет подачи метана, охлаждающего корпуса печи, по трубопроводу 105, где нагретый газ выходит по трубопроводу 106 и очищается в фильтре 107, выходит по трубопроводу 169, объединяясь с потоком пара. Пар образуется за счёт потока воды, охлаждающей опорную плиту печи, куда поступает по трубопроводу 164. Нагретый пар выходит по трубопроводу 162 и через распределительный клапан 161 по трубопроводу 167, поступает в компрессор 168. Смесь метана и пара, попадают в предриформинг 109 и, выходя из него по трубопроводу 170, сливаются с углекислым газом, движущимся по трубопроводу 171. Полученная смесь по трубопроводу 177, направляется на нагрев плазмотрона и возвращается по трубопроводу 178 для сжатия компрессором 179 и далее идет на синтез метанола. Таким образом, создаётся схема синтеза метанола из двух потоков, внешнего, где нагрев реагентов происходит за счёт охлаждения металлургического оборудования и внутреннего, где синтез-газ образуется в ходе автотермической реакции. Объём производимого метанола, возможно, регулировать за счёт двух потоков, например, при снижении объема внутреннего потока, наращивая объем внешнего потока. Следовательно, заданный объём синтеза метанола будет выдерживаться, вне зависимости от производства синтез-газа за счёт автотермической реакции. Для синтеза метанола циркуляционный газ нагревается до 205-225°C и направляется в реактор синтеза 182, в котором на катализаторе 183 протекает процесс образования метанола. Поддержание температуры по слоям катализатора в реакторе осуществляется вводом более холодного газа по трубопроводам 184. Синтезированный метанол выходит из реактора по трубопроводу 186, проходя рекуперационный теплообменник 181, а затем, охлаждаясь в холодильнике - конденсаторе 188 проходит в сепаратор 189, сборник 70 и хранилище метанола 68. В замкнутой схеме работы устройства ПДЭЦК охлажденный пар или вода возвращаются в замкнутые линии трубопроводов для производства более нагретого пара или воды, которые приводят в действие турбины, компрессора и механизмы. Схема позволяет производить нагрев пара или воды до заданной температуры за счёт её прохождения через различные трубопроводы и паронагреватели, разделяя и смешивая пар в необходимых пропорциях для получения заданной температуры. Произведенные излишки воды за счет сжигания водорода на энергоустановках по трубопроводу 248 идут на сброс во вне, при температуре окружающей среды. [49] На фиг. 5, для реализации процесса ПДЭЦК, на участке синтеза метанола используется рабочая схема аналога [13], где агрегат мощностью до 400 тыс. тонн в год, в устройстве применяется давление до 9 МПа. В общей конструкции, изображенной на фиг. 5 устройства ПДЭЦК, устройство аппарата для синтеза метанола совмещено с устройствами плавления металла, производства энергии и потребления энергии. В результате производства энергии, деления вещества и производства энергоносителя с его потреблением на установке ПДЭЦК энергозатраты на осуществление этих процессов значительно сокращаются и становятся минимальными. Энергия не теряется в окружающую среду и общие расходы энергии делятся между всеми продуктами, поступающими на Рынок, куда входят различные металлы, неметаллы, синтезированный метанол и энергия. Вследствие этого, при расчете на отдельный продукт, энергозатраты снижаются значительно. Способ ПДЭЦК может найти применение не только для восстановления и сепарации руды, но может быть эффективным при переработке любых отходов. На сегодня, одним из основных способов переработки отходов является сжигание, которое существенно уменьшает вовлечение в промышленность сырья находящегося в отходах. При сжигании теряется до 90 % вещества, которое в виде газа выбрасывается в атмосферу. Количество вредных выбросов при сжигании отходов только вдвое ниже, чем при сжигании угля, а в твёрдых остатках необходимо утилизировать токсичный сажистый углерод и соединения азота. При использовании технологии ПДЭЦК, бытовые и промышленные отходы необходимо рассматривать в качестве руды смешанной с углеводородами, которую не требуется разделять на составляющие и возможно перерабатывать по вышеприведенной схеме. Для сохранения и повторного использования всех химических элементов, находящихся в отходах, необходимо процесс сжигания заменить на процесс восстановления, то есть в качестве среды плавления, необходимо использовать углеводороды, где образуются углерод и водород, являющимся самыми сильными восстановителями. При нагревании и плавлении отходов, где содержаться углеводороды, образуется водород и углерод, как и при восстановлении рудного сырья показанного на фиг. 5. Предлагаемая схема ПДЭЦК устраняет процесс разделения бытовых и промышленных отходов, который сейчас используется для выделения части полезного сырья, что значительно сокращается время и затраты при переработке отходов. Современная стратегия разделения отходов на составляющие, не только увеличивает количество отходов за счет применения отдельной тары, но так же требует специализированного оборудования под каждый вид отходов, что делает все современные способы переработки не эффективными. Для разделения отходов необходимы дополнительные трудозатраты, ёмкости, пространство, транспорт и различное по типам сырья оборудование. На сегодня, всё человечество ежегодно производит более 2 млрд. тонн отходов, из которых сжигается только малая часть. Следовательно, для захоронения отходов требуется пространство, которого у многих стран не хватает. При этом химические элементы, которые уходят в отходы, для производства снова необходимо добывать из недр земли. Соответственно человечество сокращает пространство среды обитания, осваивая рудники и создавая свалки. Поэтому стратегия переработки отходов должна быть пересмотрена в пользу схемы, где все образующиеся отходы на определенной площади, сразу поступают на переработку с целью получения промышленного сырья и производства энергоносителей. В этой схеме отсутствуют свалки, мусоросжигательные заводы и разделение отходов, перед их переработкой на составляющие. В связи с вышеизложенным для переработки отходов, предлагается использовать новую технологию ПДЭЦК, где отходы необходимо представлять в качестве рудного сырья, которое без разделения идет на переработку. Отходы на установке ПДЭЦР, в процессе нагрева, плавления и испарения одновременно будут разделяться на различные группы по плотности и свойствам. В результате данной переработки на выходе будут получены различные нефтехимические соединения, включая метанол, металлы, не металлы, газовые и другие соединения, которые снова будут направлены в промышленность. Принципиальная схема работы мусороперерабатывающего завода с использованием новой технологии ПДЭЦК изображена на Фиг. 6. Отходы пересекают линию производственного контура 275, при температуре окружающей среды, а внутри контура охлаждают воду, которая идет на охлаждение пара в конденсаторе 32. По линии 226 в ёмкость 225 поступают промышленные отходы, которые имеют подобный состав с промышленной рудой. Промышленные отходы это минералы, которые в своем составе в основном содержат кислород, который при переработке способом ПДЭЦК будет служить составляющим элементом в метаноле и воде. По линии 221 в ёмкость 220 поступают бытовые отходы, которые содержат углеводороды, углерод и металлы. Углерод, содержится в бумаге, древесине, картоне и т.п., а углеводороды, содержащиеся в пластике, служат источником водорода и углерода, которые при переработке способом ПДЭЦК, будут служить составляющими элементами в метаноле и воде. Вся рабочая схема на фиг. 6 с промышленными и бытовыми отходами работает аналогично схеме, представленной на фиг. 5. Отходы, состоящие из смеси бытовых и промышленных, поступают в вертикальную и горизонтальную шахту, а для продвижения отходов по горизонтальной шахте, возможно, использовать шнековый механизм или механизм, типа поршня проталкивающего вещество. При использовании технологии ПДЭЦК присутствует операция смешивания отходов с углеводородами, поступающими по трубопроводу 124, где находится нефть, мазут или тяжелые отходы нефтепереработки имеющие жидкотекучесть. Добавка углеводородов, необходима для поддержания процесса ПДЭЦК, если в бытовых отходах недостаточное количество углеводородов в виде пластика или других продуктов. Подача отходов в зону плавления производится сразу по нескольким шахтам, которых может быть две, пять, двенадцать и более. При подаче отходов по нескольким шахтам, происходит более равномерное выравнивание химического состава шихты, где перемешивание составов производится в зоне плавления за счет поступления отходов с различным химическим составом по каждой шахте. Диаметр дробилки и шахты подбирается большим по площади, относительно хранилища транспортного средства, которое доставляет бытовые отходы на переработку. Для отходов диаметр дробилки и шахты будет более двух метров, куда без сопротивления можно подавать любые отходы. В турбине 113 после слива порции расплава формируется слиток, где содержатся восстановленные металлы и переплавленные металлы, находившиеся в бытовых отходах, например, медь, железо, алюминий, олово и т.п. На внешнем контуре слитка будет сосредоточена медь, как наиболее плотный металл, которая содержит все сопутствующие драгметаллы. Ближе к центру слиток содержит железо и сопутствующие металлы типа никеля, хрома, кобальта, далее ещё ближе к центру алюминий и сопутствующие металлы. Следующее близкие к центру кольца вещества, содержат более стойкие оксиды, типа оксида алюминия, магния, кальция и далее наиболее легкие твёрдые примеси, такие как оксид кремния, кремний и углерод. После извлечения слитка, дальнейшее разделение полученных веществ производится известными промышленными способами, которые включают электролиз, дробление, сепарацию, плавление и другие способы. В остальном переработка бытовых и промышленных отходов на установке ПДЭЦК не чем не отличается от переработки обычной руды с добавлением угля, торфа, сланцев, нефтеносных песков и т.п. Особый интерес технология может представлять для переработки мусора в океанах, где площадь загрязненная, скоро сравнится с площадью континента Австралия. Для этого установка ПДЭЦК может размещаться на корабле, снабженном ядерным реактором для обеспечения электроэнергией процесса ПДЭЦК. В качестве восстановителя будет использован плавающий мусор, который содержит углеводороды. Плавающий мусор будет собираться без его разделения, и направляться в шахту под действием прессующих механизмов для переработки в камере плавления. Для создания рабочей шихты, к бытовому мусору будет добавляться ископаемая руда, находящаяся рядом с мусором, как источник кислорода. В качестве этой руды со дна моря используется песок, глина, галька и тому подобные соединения. В результате переработки будут получены металлы, неметаллы, метанол и вода. При работе плавучей фабрики, мусорные плавающие острова будут рассматриваться в качестве плавающих рудников по добыче полезных ископаемых. Блок-схема работы устройства ПДЭЦК изображена на фиг. 7, включающая промышленный контур в единую систему с контуром потребления. Контуры связанны между собой трубопроводами с энергоносителем и хладагентом. Промышленный контур 1 изображен в виде большого круга, за границу которого тепловая энергия расходуется в зависимости от его теплопроводности. Внутри промышленного контура на максимально близком расстоянии друг от друга размещены кольцевые участки различных производств, границы которых пересекаются, так как они используют общие узлы и объединены для повторного использования вещества и энергии друг друга. Окружность 2 обозначает границу участка производства энергии, где производится первичное тепло и электроэнергия. Вторая окружность 3 обозначает границы участка производства энергоносителя, где синтезируется метанол. Третья окружность 4 обозначает границы участка горно-металлургического производства, где производится приготовление шихты, восстановление и выплавка. Шахта 5 обозначает ввод вещества при температуре окружающей среды для его переработки, включая ввод руды и углеводородов. В контур 1 не заходят водные потоки, линии сторонних электропередач и при необходимости в контур не требуется подавать воздух, так как для выработки воздуха, все компоненты содержатся в перерабатываемом веществе. Таким образом, новая система может работать под водой или в космическом пространстве. Вторая шахта 6 означает выход вещества при температуре окружающей среды в виде готовой продукции для Рынка, а именно металлов и неметаллов, включая энергоносители и воду. Трубопровод 7 обозначает передачу энергоносителя, а второй трубопровод 8 - возврат хладагента при температуре окружающей среды от контура потребления 9. В трубопроводе 7 движется метанол, а во втором трубопроводе 8 движется углекислый газ. Блок-схема показывает, что все процессы, производимые в пределах границ контура 1, не несут тепловых потерь за счет передачи энергии в окружающую среду, кроме тепловых потерь, теряемых через границу контура. При поддержании температуры, внутри контура, равной температуре окружающей среды эти потери устраняются. Устранение потерь достигается за счет использования, тепловых насосов и тепловых трубок, собирающих энергию с внешней поверхности контуров, направляя полученное тепло на двигатель Стирлинга, что позволяет дополнительно вырабатывать механическую энергию, которая будет задействована для перемещения вещества внутри контуров, выработки электроэнергии или повышения-понижения температуры в заданной точке пространства, внутри системы. Использование тепловых насосов, тепловых трубок и двигателей Стирлинга, внутри производственного контура и контура потребления, для снятия с оборудования и контуров, низкопотенциального тепла, для его использования во внутренних процессах, позволяет дополнительно снижать энергопотери и производить продукцию с энергопотреблением, близким к теоретическому потреблению энергии. Контур потребления 9 изображённый в виде круга, так же теряет тепловую энергию за счёт теплопроводности материала конструкции, а при равенстве температур внутри и снаружи контура эти потери устраняются. Четвертая окружность 10 означает границу участка производства кислорода из воздуха. Пятая окружность 11, границу участка производства энергии, которую целесообразно вырабатывать за счет ТЭ, для выработки максимального количества электроэнергии, а для выработки большей части тепловой энергии наиболее подходит турбоводородная установка. Шестая окружность 12, на фиг. 7, означает границу участка производства других необходимых процессов потребления, к которым относятся вентиляция, охлаждение, перемещение вещества и т.п. Границы окружностей 10, 11, 12 так же пересекаются, изображая использование частично общего оборудования и последовательную переработку вещества и энергии, по аналогии с производственным контуром. Внутри контура потребления 9, целесообразно располагать не только окружности 10, 11, 12, но и участки для глубокой переработки сырья. Вокруг или внутри контура потребления, возможно, размещать участки различного производства, включая машиностроение, металлургию, химию и т.п., где необходима энергия в виде тепла или электричества, а также вода и углекислый газ, которые вырабатываются в контурах. Например, углекислый газ, может в определённом объёме, потребляться пищевой промышленностью. В зависимости от назначения контура потребления по третьей шахте 13, поступают необходимые вещества, а по четвертой шахте 14 выходят продукты реакции при температуре окружающей среды. При использовании контура потребления 9, по аналогии с классической ТЭЦ, через клеммы 15 подаётся вырабатываемая электроэнергия во вне, а по тепловому трубопроводу 16 тепло для обогрева помещений за пределами контура. Производственный контур, также возможно использовать для этих целей, где размещается выходы контакта 17 и второй тепловой трубопровод 18. Радиусы R1, R2, R3, R4 на фиг. 7, показывают оптимальное расстояние, на которое, возможно, передавать электроэнергию и тепло без особых потерь. Для более подробного раскрытия работы блок-схемы, далее представлен механизм переработки вещества и энергии. Схема с повторной переработкой химических элементов составляющих энергоносители, позволяет более полно перерабатывать в процессе ПДЭЦК реагенты и разделять их до элементарных молекул. В частности углерод, является ценным продуктом для восстановления металла, а водород ценным реагентом для сжигания в энергоустановках. Таким образом, вещество по круговому замкнутому циклу может поступать в любые устройства производственных участков, размещенных внутри производственного контура, которым относится участок: подготовки реагентов, металлургии, синтеза метанола и производства энергии. За счет этого система может регулировать любое заданное количество реагентов, включая водород, углерод, воду, метан и т.п. необходимых для протекания реакций позволяющих производить оптимальное количество восстановленных металлов, неметаллов метанола и электроэнергии. Как было рассмотрено ранее, например, метан не успевший разделиться на водород и углерод, улавливается в сепараторе 137 (фиг.5), отделяется от остальных газов и направляется на повторную переработку. За счёт этого производится полное использование метана в процессе ПДЭЦК. В устройстве ПДЭЦК одновременно с протеканием процессов диссоциации метана идут процессы, связанные с железопаровой конверсией, диссоциации углекислого газа в плазме, диссоциации метана внутри руды, а так же с участием расплава, то есть жидкометаллургическим пиролизом метана. Одновременно протекают и процессы восстановления железа, на участках перемещения руды от момента попадания внутрь корпуса печи, до момента плавления, где восстанавливается метал путем химических реакций и с участием электролиза. Осуществление способа ПДЭЦК позволяет произвести полное разложение метана на водород и углерод, проходящий через плазму и расплав шихты по схеме жидкометаллического пиролиза, что в свою очередь позволяет направлять предлагаемое изобретение на производство водорода в больших количествах. Плазматрон в устройстве ПДЭЦК играет роль нагревателя, который образует расплавы металлов из руды, которые служат эффективным катализатором для диссоциации метана проходящего через плазму и расплав. Высокие температуры плазмы и эффективный катализатор позволяют производить с наименьшими энергозатратами и высокой скоростью водород и углерод в больших количествах. В связи с этим способом ПДЭЦК, возможно использовать для производства водорода из метана в качестве основной продукции, а производство метанола, металлов и неметаллов в качестве вспомогательной продукции. В ходе реакции на выход из печи пойдут потоки, содержащие различное количество CH4; O2; H2; H2O; CO и CO2, которые по ходу движения продолжат вступать между собой в реакции. В связи с этим, для производства необходимо с наименьшими затратами в максимальном количестве на выходе получить синтез-газ и водород, которые пойдут на синтез метанола и производство энергии. Применительно к осуществлению способа ПДЭЦК данная проблема решена за счёт предлагаемого устройства ПДЭЦК, где все зоны проведения указанных реакций разделены, позволяя осуществлять автотермическую конверсию метана в синтез-газ. При осуществлении автотермической реакции, одновременно производится восстановление и сепарация металлов и неметаллов, получение водорода и для выработки тепла и электроэнергии. На сегодня при извлечении из руды металлов, применяется дробление руды до величины примерно 70 мкм с последующей флотацией, которая позволяет извлекать только часть полезных продуктов. При этом в отходы удаляются продукты содержащие драгметаллы и редкоземы, которые приходится удалять в отвалы по причине концентрации в них ядовитых веществ, таких как мышьяк, сера, фосфор, таллий и т.п. Используя способ ПДЭЦК, во время плавления из руды через газовую фазу, устраняются все ядовитые вещества, улавливаясь на охлаждаемых фильтрах. Расплав восстановленных металлов и оксидов сливается и делится на составляющие в турбине, формируя диск, где во внешней части скапливаются все тяжелые металлы, включая металлы платиновой группы и все редкоземы. Летучая часть вещества, переходя в газообразную фазу разделяется на фракции при конденсации за счёт различной температуры кипения. Летучие вещества, к которым относятся магний, цинк, мышьяк совместно с синтез-газом образуют поток, который проходит через фильтр из падающих частиц руды, на котором оседают твёрдые частицы, включая сажистый углерод. Далее очищенный поток, поступает в ректификационные колонны, где в каждой колонне установлены конденсационные стержни, на которых конденсируется вещество, имеющее более высокую температуру кипения. Конденсационные стержни, которых два и более, попеременно нагреваются, позволяя сливать вещество в тигли. Из тиглей конденсат из различных веществ удаляется через сепараторы, без остановки всего процесса на установке ПДЭЦК. Очищенный поток газов, где в основном присутствует синтез-газ и легкокипящие примеси, по трубопроводу поступает в сепаратор. Смесь газов в сепараторе, разделяется на основные газы, которые участвуют в процессе ПДЭЦК и которые поступают на Рынок. Предлагаемый способ отличается от аналогов тем, что шихта, состоящая из руды и углеводородов, служит катализатором для синтеза метанола, а продукты углеводородов, служат восстановителями для производства металлов. В ходе процесса автотермической реакции не требуется осуществлять операцию восстановления катализатора, так как руда автоматически обновляется, что значительно упрощает процесс. Поддержание автотермической реакции в ходе процесса, осуществляется за счёт возможности регулировать температуру, давление и объём реагентов, перенаправляя их на различные производственные участки устройства ПДЭЦК. Подбирая время плавления заданного объема шихты, влажность шихты, степень диссоциации метана, количество реагентов и другие параметры, возможно, добиться режима, при котором с наименьшими энергозатратами может восстанавливаться максимальное количество металла и синтезироваться максимальное количество метанола. С использованием процесса ПДЭЦК восстановлены металлы, имеющее более высокую плотность при центробежном разделении, будет уходить на периферию слитка, более легкие оксиды металлов сместятся ближе к центру вращения, а углерод будет вытеснен на внутреннюю поверхность кольцевого слитка. При этом драгметаллы и тяжелые металлы сконцентрируются на внешнем диаметре слитка. Данная схема восстановления позволяет намораживать в гарнисаж, например, железо без примесей, которые вытесняются в расплав и далее, кристаллизуясь, разделяются по плотностям. Итогом работы устройства ПДЭЦК будет производство кольцевого слитка содержащего чистое железо, которое не содержит углерода, превращающего его в чугун. Следовательно, новый способ не требует дополнительного передела чугуна в сталь. После кристаллизации слитка вращение турбины прекращается и извлекается слиток. Отделение чистого металла от тяжелых и легких примесей, вмороженных в его контур, производиться электролизом, механической резкой, дроблением или химическим травлением. Способ ПДЭЦК представляет особый интерес для производства железа, т.к. по сравнению с другими металлами, железа в мире производится наибольшее количество. В год производимая масса железа достигает двух миллиардов тонн. При этом в процессе производства железа участвует дополнительно, примерно десять миллиардов тонн вспомогательных веществ, которые необходимо добывать, нагревать и утилизировать. В связи с этим, стратегически важно при производстве железа снижать энергозатраты, материалоемкость и вредные выбросы. Для этого предлагается восстановление железа производить за счет углеводородного сырья, которое выполняет роль восстановителя и после проведения реакции преобразуется в готовые химические продукты, включая метанол. Дополнительное снижение энергозатрат при производстве металлов и неметаллов, включая железо и метанол, достигается за счет использования водорода и кислорода извлекаемых в ходе разделения вещества, как энергоносителей производящих дополнительную электроэнергию. Значительное снижение энергозатрат при организации схемы процесса достигается при использовании всего тепла, выделяемого на электростанциях, задействованных в процессе разделения вещества, которое расходуется на подогрев реагентов поступающих на металлургическое и химическое производство. Дополнительное снижение энергозатрат достигается за счет передачи энергоносителя к месту потребления при температуре окружающей среды, откуда возвращается углекислый газ, так же при температуре окружающей среды, который на входе в производственный контур выполняет функции хладагента, охлаждающего энергоустановки и далее в подогретом состоянии поступающий на синтез энергоносителя. При этом окисленное и восстановленное железо, включая сопутствующие металлы, выполняют роль катализатора для диссоциации углеводородов, снижая энергозатраты при синтезе метанола. Поэтому новый процесс производства стали позволяет значительно снизить временные и энергетические затраты за счет его объединения с процессом диссоциации углеводородов, где на выходе образуется метанол и сопутствующие вещества и с процессами производства энергии. Для организации переработки вещества способом ПДЭЦК необходим источник электроэнергии, который не использует сжигание органического вещества в виде сложных соединений, при котором низкий выход тепловой энергии и высокий выход токсичных соединений. В качестве источника наиболее эффективно использовать АЭС, водородные турбоустановки и ТЭ, где вся вырабатываемая электроэнергия и тепло направляется на нагрев, разделение и синтез вещества. [50] На данный момент, промышленному потребителю электроэнергия, от ТЭС сжигающих органическое топливо, поступает по линиям электропередач, где её потери находятся в пределах от 15 до 36 %. КПД по выработке электроэнергии для ТЭС в среднем 37 %, следовательно на начальный стадии в виде тепла теряется 63 %, которое возможно использовать для нагрева реагентов при реализации способа ПДЭЦК. При сжигании органического топлива в среднем теряется 25 % энергии от теоретически возможной, которую можно получить при сжигании водорода и углерода по отдельности. В итоге до промышленного потребителя доходит не более десяти процентов энергии, которую способно вырабатывать топливо. Согласно данным [6, 7, 40, 41, 42, 43], на электростанциях сопротивление кабелей увеличивается с расстоянием, где потери достигают 20 %, а эффективность использования энергии, например, для освещения лампой накаливания у потребителя составляет всего 0,7 % от энергии первичных источников. Поэтому для питания лампы накаливания 60 Вт каждый год в среднем необходимо 250 кг качественного угля. При этом для строительства линий электропередач, приходится истреблять лесные массивы, которые утилизируют углекислый газ. В итоге значительно теряется вырабатываемая электроэнергия, увеличивается количество вредных выбросов за счет неэффективной работы ТЭС и наносится вред лесным массивам. Для устранения этих недостатков, новая схема разделения вещества и синтеза метанола, преобразует всю вырабатываемую электростанциями электроэнергию и тепло в готовый продукт, часть из которого является энергоносителем и направляется по трубопроводным линиям потребителю. Трубопроводные линии не требуют вырубки лесных массивов и работают более эффективно позволяя хранить любое количество запасенной энергии. [51] Например, транспортировка водорода по трубопроводам, в четыре раза выгодней по сравнению с передачей электроэнергии по линиям электропередач. Соответственно, передача по трубопроводу метанола для транспортировки энергии не менее чем на порядок будет более выгодна. Для более эффективной работы электростанций использующих линии электропередач при смене нагрузки потребления требуются затраты для передачи мощности на большие расстояния. Для этого линии электропередач одного района страны, закольцовывают с другим районом, что приводит к экономическим затратам и потерям электроэнергии. Особенно чувствительны к изменениям в объемах потребления электроэнергии АЭС, которые предназначены работать на постоянной нагрузке. В связи с этим их развитие в России, сдерживается нехваткой источников постоянного потребления. На сегодня в РФ, АЭС вырабатывают только 20 %, от всей производимой электроэнергии, уступая, примерно в пять раз, по количеству электростанций работающих в США. При использовании предлагаемого изобретения, где используются АЭС, ситуация в стране может измениться, так как эти станции, возможно, строить в местах сосредоточения углеводородов и рудных массивов, там где нет возможности строить ГЭС и другие электростанции. При строительстве АЭС в зонах сосредоточения сырья, появляется возможность обеспечения их работы на постоянной мощности, где дополнительная мощность энергии при необходимости будет производиться за счет использования водородного топлива получаемого из перерабатываемого сырья. Таким образом, строится схема переработки тепла и электроэнергии вырабатываемой АЭС в металлы, неметаллы и энергоноситель. Таким образом АЭС, всю вырабатываемую мощность переводит в вещество, то есть металлы, неметаллы и энергоносители, которое может храниться неограниченное время. На сегодня для производства энергоносителей на НПЗ, таких как бензин, керосин, солярка, требуется сжигать до трети добываемого углеводородного топлива. При этом треть углеводородов по техническим причинам, не перегоняется и теряется в виде тяжелых фракций, поступая на Рынок по низким ценам. В случае использования ПДЭЦК все виды углеводородного сырья перерабатываются в готовую, высококачественную продукцию. Энергоноситель в виде метанола или синтетической нефти, накапливается на объекте производства и при необходимости транспортируется потребителю по трубопроводам, где из него извлекается водород, с помощью которого производится необходимая энергия и обратно транспортируется углекислый газ. При использовании данной схемы, практически весь объём рудного и углеводородного сырья будет преобразован в металлы, неметаллы и энергоноситель, тем самым направлен потребителю с получением более высокой прибыли. На сегодня по трубопроводам потребителю направляется нефть и газ, которые используются в качестве сырья химической промышленности и в качестве энергоносителя. Государству отправителю это не позволяет получать максимальную прибыль. Например, нефть это коллоидный раствор, содержащий помимо углеводородов, минералы. Нефть, перерабатывая по схеме ПДЭЦК, превращается в значительно большее количество продуктов, включая полученные из неё металлы, неметаллы, энергоносители, а так же воду, которая в определенных странах, может быть наиболее ценным продуктом. Продукты из нефти будут произведены в более чистом виде и будут иметь более высокую стоимость. Природный газ, переработанный по схеме ПДЭЦК, будет переработан в водород, который при сжигании сможет произвести большее количество энергии, а углерод поступит на рынок в качестве полезного материала. Из руды и углеводородов синтезируется энергоноситель в виде жидкого топлива, имеющего на Рынке в три раза большую стоимость, чем газообразное топливо, так как жидкое топливо требует значительно меньше затрат на хранение и транспортировку потребителю. Для определения преимуществ процесса ПДЭЦК в отношении аналогов необходимо сравнение по энергопотреблению. [50] Согласно первому закону термодинамики, энергия не исчезает и не возникает вновь, переходя из одного вида в другой, где затраты теплоты Q связаны с изменением внутренней энергии ΔU и совершением внешней работы L, то есть Q = ΔU + L. В термодинамике используется параметр энтропии S, устанавливающей связь между количеством теплоты и температурой, которая выражается в Дж/K, а энергию, отнесённую к одному кг вещества, называют удельной энтропией Дж/кг⋅K. Физический смысл энтропии выражается в мере ценности теплоты, работоспособности и технологической эффективности. При равном количестве теплоты Q, если температура теплоносителя выше окружающей температуры, соответственно меньше энтропия, поэтому теплота более эффективно может использоваться, как для совершения работы, так и для других применений, например, нагрева и выплавки металлов, отопления, подготовки руды и т.д. В изолированной системе энтропия измеряет потерю работы, чем больше возрастает энтропия, тем больше энергии рассеивается в окружающую среду и не превращается в работу. Энтропия, как мера беспорядка, возрастание которого связано с возрастанием энтропии. При подводе теплоты, энтропия увеличивается, а при охлаждении системы и извлечении из неё теплоты, упорядоченность системы повышается, а энтропия уменьшается. По третьему закону термодинамики, неупорядоченность и энтропия равны нулю, при абсолютном нуле температуры, который практически недостижим. Применительно к осуществлению способа ПДЭЦК подведение тепловой энергии и её преобразование осуществляется внутри устройства ПДЭЦК, где на вход подаются реагенты при температуре окружающей среды, а на выход поступают продукты, так же имеющие температуру равную температуре окружающей среды. Следовательно, упорядоченность системы повышается, а энтропия уменьшается, делая процесс ПДЭЦК энергетически малозатратным. [52] Во время производства реагентов для метанола на установке ПДЭЦР, количество синтез-газа изменяется в зависимости от термодинамических параметров их получения. Соотношение CO:Н2 в синтез-газе варьируется от 1:1 до 1:3. Повышением температуры в процессе синтеза, можно увеличить количество СО, а увеличив давление можно повысить содержание Н2 и СН4. Как известно, синтез-газ является исходным сырьём для производства многих нефтехимических продуктов (метанола, аммиака, продуктов оксосинтеза, продуктов синтеза Фишера-Тропша). Для производства синтез-газа, в основном используют взаимодействие водяного пара и метана, которое проводится при повышенной температуре (800-900 градусов Цельсия) и давлении в присутствии никелевых катализаторов. Формула данного процесса: CH4 + H2O → CO + 3H2. Для осуществления этого процесса классическими методами требуется большое количество тепла, которое получается путём сжигания большого количества природного газа с большими выбросами углекислого газа в атмосферу. Это дорого, приводит к потере полезного вещества и негативно влияет на экологию. При использовании предлагаемой технологии ПДЭЦК синтез-газ производится, как побочный продукт металлургического и энергетического производства. Для этого производится сжигание водорода на участке производства энергии и диссоциация углеводородов и восстановление металлов на металлургическом участке. [53] При работе плазмотрона вырабатывается тепловая энергия, которая превышает в несколько раз энергию необходимую на плавление шихты. Поэтому наиболее эффективно использовать выделяемую тепловую энергию, одновременно на восстановление металлов, производство неметаллов и получение синтез-газа. Тепло производимое при выработке электроэнергии, необходимо использовать на подогрев реагентов шихты, снижая энергозатраты при восстановлении металлов. В итоге работы установки ПДЭЦК при производстве металлов, неметаллов и синтезе метанола, будет использовано минимальное количество энергии. При осуществлении предлагаемого способа, излишки синтез-газа, которые не используются для энергоносителя в качестве метанола, могут быть использованы для синтеза других полезных продуктов, который должен осуществляться внутри производственного контура. Полученный синтез-газ с использованием ПДЭЦР, возможно, направить на синтез Фишера-Тропша, который может рассматриваться как реакция восстановительной олигомеризации монооксида углерода. В общем виде она представляет собой ряд гетерогенных реакций: nCO + 2nH2 = (CH2)n + nH2O, 2nCO + nH2 = (CH2)n + nCO2. Продуктами реакции являются алканы, алкены и кислородсодержащие соединения, в качестве катализаторов синтеза Фишера-Тропша используются как высокодисперсные железные катализаторы, нанесенные на оксиды алюминия, кремния и магния, так и биметаллические катализаторы: железо-марганцевые, железо-молибденовые, металлы VIII группы: наиболее активен Ru, затем Co, Fe, Ni. При проведении процесса ПДЭЦК катализаторами служит руда, где присутствуют эти химические элементы. Побочными реакциями синтеза углеводородов из СО и Н2 являются: СО + 3Н2 → СН4 + Н2О 2СО → СО2 + С СО + Н2О ↔ СО2 + Н2 [54] Из смеси СО и Н2 при высоком давлении (10-15 МПа) образуется смесь кислородсодержащих соединений, а при понижении давления до 3 МПа получаются главным образом углеводороды в том числе бензин, дизельное топливо, парафин и более сложные спирты. На установке ПДЭЦК, возможно, создавать в широком диапазоне давление и температуру, чтобы произвести заданный химический продукт из синтез-газа. [55] На сегодня, необходимость значительного сокращения выбросов парниковых газов, в том числе СО2, требует не только разработки эффективных методов снижения эмиссии, но и поиска принципиально новых путей их утилизации. Существующие в настоящее время способы захоронения углекислого газа в геологических формациях и закачки в нефтяные пласты с целью повышения внутрипластового давления имеют ограниченное значение и не позволяют решать проблему в целом. В связи с этим чрезвычайно актуальной представляется разработка методов прямого разложения углекислого газа в соответствии с уравнениями: Термодинамические расчеты и моделирование прямого разложения углекислого газа показывают, что конверсия начинается с температур выше 1500°C по уравнению (1), при температурах выше >6000 °C начинается разложение СО на элементы (уравнение 2). Применяя метод ПДЭЦК, где температура нагрева может достигать 50000 °C за счет плазмы, возможно, осуществить конверсию не только углекислого газа, но и угарного газа. На установке ПДЭЦК плазматрон служит инструментом для диссоциации углекислого газа на монооксид углерода и кислород, а процессор монооксида углерода позволяет по реакции Будуара, снова образовывать углекислый газ с получением углерода. Поэтому, пропуская по замкнутому циклу углекислый газ, в зависимости от количества проходов будет уменьшаться его количество до необходимого объема с производством углерода и кислорода. [56] Для производства водорода и кислорода, существует промышленная технология электролиза химически чистой воды, без применения каких-либо добавок [49] Производители метанола считают, что экономически целесообразно использовать комбинирование схемы при производстве синтез-газа, где с обычным производством синтеза метанола участвует, например, производство железа. При производстве выделяется угарный и углекислый газ, который, возможно, использовать в качестве реагентов для синтеза метанола. В соответствии с этим, предлагаемая технология ПДЭЦК реализует схему объединения металлургии и химической промышленности, предложенную специалистами в области производства метанола. Как известно, себестоимость химической продукции складывается из затрат на сырье, энергетику, заработную плату, амортизацию, а также из цеховых и общезаводских расходов. В последние годы наблюдается снижение себестоимости продукции за счет внедрения крупных, практически полностью автономных по энергии, агрегатов. Поэтому, объединяя производство химической продукции с производством металла, за счет использования технологии ПДЭЦК, возможно, добиться большего экономического эффекта. Снижение удельных капитальных вложений при объединении производства металла и химической продукции происходит в результате сокращения расхода на сырьё, тепловую энергию, электроэнергию, расходов на строительство, обслуживающий персонал и снижения затрат связанных с защитой окружающей среды. При использовании предлагаемого изобретения, себестоимость производства металлов, неметаллов, энергоносителей, снижается за счет создания энергозамкнутого цикла с максимальным использованием тепла, электроэнергии, уменьшения потери химических реагентов, эксплуатационных и амортизационных расходов, а так же общего времени производства продукции. Для практического освоения способа приведём пример расчёта основных параметров процесса восстановления рудного железа, включая габаритные размеры конструкции. Допустим, исходный вес оксида железа составляет 5 т. Железо будет восстановлено по стехиометрической реакции углеродом: 2Fe2O3 + 3C → 4Fe + 3CO2, где на 1 кг руды требуется 112,8 г углерода. Следовательно, масса реагентов составит 5564 кг. При плотности руды 5,24 т/м3 и плотности углерода 1,8 т/м3 объём реагентов составит 0,95 м3 и 0,31 м3, в общем, объем шихты это составит 1,26 м3. При диаметре горизонтальной шахты 0,6 м, площадь сечения составит 0,28 м2, следовательно горизонтальная шахта заполняемая этим объёмом шихты будет длиной 4,46 м. В руде содержание железа примерно 70 %, а к кислорода 30 %, следовательно, железа будет восстановлено 3,5 т, при плотности железа 7,8 т/м3, его объем составит 0,45 м3. Поэтому, объем турбины, где производится отделение железа от шлака, должен быть примерно 1 м3. При внутреннем диаметре турбины равном 2 м, его внутренняя средняя высота составит 0,3 м. При вращении турбины со скоростью 240 об/мин максимальный коэффициент гравитации действующий на расплав составит 64 ед. [48] При мощности 1 МВт, скорость плавления железа составляет 21,8 кг/мин. Следовательно, время плавления шихты составит 2 ч 40 мин. Для снижения времени плавления, возможно, использовать источник мощностью 10 МВт, следовательно, в минуту будет плавиться 2018 кг и время плавления составит 16 мин. Расход энергии на плавление железа, при использовании электродугового оборудования составляет 765 Вт⋅ч/кг. [57] Теоретически на нагрев и плавление железа от 20°С до 1657°С требуется в переводе на затраты электроэнергии не более 371 Вт⋅ч/кг, за счет экзотермических реакций [58], дополнительно выделяется не менее 14 % тепла. Поэтому в зоне горения дуги имеется дополнительная мощность, которую возможно направить, например, на диссоциацию метана или других соединений. [59] Плазменная металлургия используется для прямого восстановления оксидных руд и при использовании метана в качестве плазмообразующего газа производит восстановительный эффект. Потребление энергии на плазменных печах при увеличении мощности плазматрона снижается. Например, при мощности 0,1 МВт потребление энергии на плавку руды составляет примерно 5 МВт*ч/т, а при мощности 1 МВт снижается до 2,7 МВт*ч/т. Доменный процесс, для сравнения имеет потребление энергии приблизительно 3,6 МВт*ч/т. При повышении мощности плазмотрона до 10 МВт энергопотребление снижается до 0,55 МВт*ч/т, а при 20 МВт соответственно до 0,5 МВт*ч/т. При диссоциации метана в зоне горения дуги будет образован водород и углерод, который восстанавливает оксиды металлов. В зоне горения дуги развивается температура выше 2000°C, что согласно диаграмме Эллингема [60], соответствует реакции восстановления металла углеродом, водород при данной температуре не восстанавливает металл из оксида. Из шихты в объеме 1,26 м3 будет восстановлено 3,5 тонны железа и будет выделено 1,5 тонны кислорода, который далее будет синтезирован в метанол CH3OH. В соответствие с атомной массой, кислород занимает равно половину массы молекулы метанола, следовательно, в результате синтеза будет получено 3 тонны метанола. [61] Для расчета затрат на сырьё и получение прибыли, принимаем, что цена за тонну руды на европейском рынке составляет 53 $/тонн (на февраль 2019 г), а себестоимость руды на “Новолипецком МК” составляет 21 $/тонн, примерно 2,830 тыс. руб./т. Следовательно, стоимость руды массой 5 т составит 14,15 тыс. руб. [62] Стоимость метана при массе 0,67 кг/м3, за один метр кубический на это время, составляет примерно 15 руб. Стоимость метана массой 1,5 тонны, составляет примерно 33,56 тыс. руб. Затраты электроэнергии на производство 3,5 тонн железа составят 2303 кВт, что при стоимости 4 руб./кВт, достигает 9,24 тыс. руб. Общие затраты на материалы и электроэнергию составят - 56,95 тыс. руб. На рынок поступает слиток железа весом 3,5 т. по цене 94,5 тыс. руб., где на 2019 г, кг железа стоит 27 руб./кг. Метанола будет произведено 3 тонны на сумму 91,5 тыс. руб. (396 $/т в феврале 2019 года). Общая стоимость железа и метанола составит 186 тыс. руб. При организации производства, например на базе Новолипецкого МК, где руда стоит 21 $/т или 1,6 руб./кг, а метан поставляется по цене 10 рублей за м3, себестоимость материалов снизиться более чем в полтора раза. При организации процесса производства железа и метанола методом ПДЭЦК тепловая энергия будет использоваться повторно, затраты на электроэнергию не превысят более 1 руб./кВт. Следовательно, общие затраты на 3 тонны выпускаемого метанола и 3,5 тонн железа снизиться до 33 тыс. руб. В год при выплавке в час 300 тонн железа и синтезе в час 257 тонн метанола, по новой технологии возможно произвести 2,63 млн. тонн железа и 2,25 млн. тонн метанола. При этом затраты на сырье и электроэнергию составят 24,8 млрд. руб. На рынок по ценам 2019 г, возможно, поставить железа на сумму 70 млрд. руб., а метанола на сумму 65 млрд. руб., где общая сумма продаж в год составит 135 млрд. руб. Для раскрытия энергоэффективности способа ПДЭЦК, за счет использования на его энергоустановках водорода, необходимо сравнение с энергоустановками, работающими на углеводородном топливе. При сжигании углеводородного топлива, по объективным причинам связанным с конструкцией электростанций и схемой горения, на нагрев воды и выработку электроэнергии, часть выделяемой энергии топлива не расходуется. Полезно используемая теплота на нагрев, испарение и перегрев пара в котле, для разных видов органического топлива, различна и зависит от потерь тепла, которое уходит в трубу, с наружным охлаждением конструкции, неполной химической и механической теплотой сгорания и с физической теплотой шлаков. [63] Согласно расчётам на самых современных ТЭС при сжигании топлива в паровых котлах потери для природного газа составляют 9,5%, сернистого мазута 10,3%, и угля 14%. Помимо этих потерь необходимо учитывать потери энергии, которая не выделяется при сгорании соединений химических элементов. Например, при сгорании метана выделяется 50 МДж/кг, а при сгорании по отдельности водорода и углерода находящегося в метане, выделяется 60,25 МДж, то есть выделяемая в соединении энергия на 20,5% меньше. На практике для выработки электроэнергии вместо чистого метана сжигается природный газ, имеющий примеси. [64] Удельная теплота сгорания природного газа в среднем 45 МДж/кг, который содержит [50] CH4 - 94,9 %; CnHn - 3,8 %; CO2 - 0,4 %; N2 - 0,9 %, где при сжигании водорода и углерода по отдельности выделяется 59 МДж/кг, что на 26,55 % больше, чем при сжигании природного газа. На современных ТЭС, по объективным причинам на нагрев воды для турбины не расходуется 9,5% тепловой энергии выделяемой при сжигании природного газа, поэтому с учетом энергии, которую возможно извлечь при сжигании углерода и водорода по отдельности, общие потери составляют 33,5%. [65] В мире в пересчете на нефтяной эквивалент из природного газа производится 24% энергии, из нефти - 29%, угля - 27% и биомассы - 10%. Соответственно, для выработки энергии, нефти используется максимальное количество. Для сжигания в основном используется сернистый мазут [50], содержащий водорода 11,8% углерода 85% и серы 2,5% который выделяет 40,2 МДж/кг. При сжигании по отдельности водорода, углерода и серы выделяется 45,4 МДж/кг, что больше на 12%. На современных ТЭС при сжигании мазута, на нагрев воды не расходуется 10,3 % тепловой энергии, соответственно общие потери составляют 21,1%. [50] При сжигании бурого угля, в котором содержится в среднем 71 % углерода, 3,15 % серы и 5,05 % водорода, выделяется 27 МДж/кг. При сжигании находящихся в угле горючих химических элементов, по отдельности выделяется 30,8 МДж/кг, что больше на 14%. На современных ТЭС при сжигании угля, на нагрев воды не расходуется 14%, соответственно общие потери энергии достигают 26,04%. [50] При сжигании торфа, где 58 % углерода, 6 % водорода, 0,31 серы, 33,6 % кислорода, 2,5 % N2, выделяется 8,12 МДж/кг, а при отдельном сжигании горючих химических элементов выделяется 27,7 МДж, что на 70,6 % больше. На ТЭС с объективными потерями тепла в 14 %, общие потери энергии достигают 74,7 %. [66] Особенность эффективности переработки торфа в том, что это возобновляемый энергетический ресурс, которого в мире более 600 млрд. тонн. РФ занимает первое место по запасам торфа, где содержится 200 млрд тонн и ежегодно образуется дополнительно 1 млрд. тонн. [65] Производство энергии в мире осуществляется в пересчете на миллион тонн нефтяного эквивалента (Mtoc). 2021 году в Российской Федерации производство всей энергии составило 1516 Mtoc, следовательно, переработка возобновляемого торфа ежегодно образующегося в стране покрывает 213 Mtoc от всего объема вырабатываемой энергии. [50] На электростанциях по аналогии с торфом, применяется горючий сланец содержащий в среднем 60,5% углерода, 8,5% серы, 8,5 водорода, 14,5% кислорода и 0,75 N2, который при сгорании выделяет 7,66 МДж/кг. При сжигании по отдельности горючих химических элементов находящихся в сланце выделяется 35,13 МДж/кг, что больше на 78,2%. На ТЭС с общеобъективными потерями тепла в 14 %, общие потери достигают 81,25 %. В отличие от угля, газа, нефти и даже торфа, сланец помимо кислорода, содержит дополнительно минералы в виде оксидов металлов. Поэтому, сжигание сланца без его разделения на составляющие горючие химические элементы, особенно неэффективно. Напротив, при выделении из сланца водорода и синтеза из него бензина на килограмм, требуется всего 1,75 кг сланца. Один кг сланца, стоит примерно 0,5 руб., а килограмм бензина 81 руб., что создает разницу более чем в 90 раз. Все вышеперечисленные виды топлива, которые при сжигании производят на сегодня более 60% энергии в мире, работают не в полную меру. Природный газ может выделить на 33,5% больше энергии, нефть на 21,1%, уголь на 26,04%, торф на 74,7%, а сланец на 81,25%. [65] В 2020 году в мире общий объём производства электроэнергии составил 26823 ТВт*ч, достигнув 14500 млн.т., в нефтяном эквиваленте где разбивка по типу энергии составляет нефть-29%, уголь-27% и газ-24%. В мировом производстве электроэнергии за счёт сжигания, это составляет 80%. Как известно, уголь содержит 71 % С и 5% H2, нефть 85% C и 12% H2, и газ 74% C и 24% H2. В общей смеси: нефти 36,25%, угля 33,75% и газа 30%, следовательно, в среднем углерода 77% и водорода 13,24%. В одном кг усредненного топлива находится 0,77 кг углерода, который при сгорании выделит 25,41 МДж, а водород 0,1324 кг выделит 18,8 МДж. Поэтому сжигая углерод и водород по отдельности с кг, возможно, получить 44,21 МДж, где на углерод приходится 58% энергии, а на водород 42% энергии. Используя новую схему ПДЭЦК для переработки того же количества шихты потребуется, примерно, в десять раз меньше энергии. Для производства энергии вместо обычного сжигания угля, газа и нефти, будет сжигаться водород, извлекаемый из смеси углеводородов, что изменит количество сжигаемого топлива. Например, если сегодня в мире сжигается 14500 млн. т в нефтяном эквиваленте, то за счет использования новой схемы ПДЭЦК потребуется сжигать только 3452 млн. т, что в четыре раза меньше, где углеводороды будут переработаны на водород для сжигания, а полученный углерод пойдет на строительство или в другие отрасли промышленности. При выработке электроэнергии, производстве металлов и неметаллов, а также энергоносителей, схема полностью устраняет выбросы углерода. В связи с вышеизложенным, все виды органического топлива следует перерабатывать в более эффективное горючее топливо. Как известно, для выработки энергии за счёт сжигания, наиболее эффективно использовать водород, который может сжигаться непосредственно перед турбиной в камере сгорания, что позволяет устранить объективные потери тепла, сопутствующие при сжигании топлива в котлах. Водородные турбины целесообразно использовать для выработки большого количества электроэнергии, которая превышает 5 МВт. Сжигание водорода на топливных элементах особенно эффективно, при выработке электроэнергии, где КПД достигает 85%. ТЭ целесообразно использовать для выработки электроэнергии до 5 МВт, например, на местных электростанциях размещенных в различных районах города. Учитывая что при сжигании водорода образуется вода которая на сегодня в мире достигает стоимости 50 руб./кг, применяясь для потребления и использования в быту, эффект от сжигания водорода повышается многократно. Таким образом, необходимо создавать новую схему горения топлива, в качестве которого служит водород, при этом одновременно создавая схему наиболее эффективного производства водорода с его хранением и транспортированием потребителю. Для производства водорода из различных соединений, необходимо учитывать энергозатраты на производство и особенности этого производства, что показано далее в описании. [67] При сгорании водорода выделяется 3,57 кВт*ч/нм3, следовательно, для производства водорода, теоретически требуется та же энергия. Для получения 1 м3 водорода разложением метана, теоретически требуется 0,47 кВт/нм3 энергии. [14] Теоретически паровая конверсии метана требует 0,78 кВт*ч/нм3 энергии, но на практике достигнуты результаты в пределах 2,25 кВт*ч/нм3, теоретически окисление тяжёлой нефти требует 0,94 кВт*ч/нм3, практически достигнуто 4,9 кВт*ч/нм3, теоретически газификация угля 1,01 кВт*ч/нм3, а практически 8,6 кВт*ч/нм3. [68] Водород слабо связан в молекуле сероводорода, H2S - 4,82 ккал/моль, по сравнению со связью в молекуле воды, H2O - 57,8 ккал/моль. Следовательно, на диссоциацию молекулы H2S требуется 0,25 кВт*ч/нм3, а практически пока затрачивается 0,95 кВт*ч/нм3. В представленной таблице 1 (фиг.8) необходимо обратить внимание на паровую конверсию метана (ПКМ), где практические энергозатраты наиболее приблизились к теоретическим. Это связано с тем, что в мире производство водорода методом ПКМ наиболее отработано. Данная реакция показывает, что извлечение водорода из смеси воды и углеводородов, более эффективно, чем извлечение водорода из воды. Как показывает практика при участии в реакции большого количества различных сложных соединений, содержащих смеси из различных химических элементов, разделение на более простые соединения будет наиболее эффективно, так как в ходе деления одних веществ, другие выступают в качестве катализаторов. Напротив, для производства максимально возможной тепловой энергии путем сжигания требуется использование чистого топлива, которым является водород, состоящий из одного химического элемента. При использовании в виде топлива различных химических смесей и соединений, где в молекулах помимо водорода содержится, например, углерод, кислород, сера, фосфор и другие химические элементы, будет получено минимальное количество тепла. Для определения энергозатрат при восстановлении металлов из руды, необходимо учитывать не только их прочность в оксидах, но и концентрацию, то есть процентное содержание восстанавливаемого металла в руде. [69] Для восстановления металлов из оксидов необходимо оценивать прочность оксида, согласно стандартного изменения энергии Гиббса. [70] Диаграмма Эллингема прогнозирует условия восстановления руды до металла. Процессы восстановления, согласно диаграмме могут быть медленными. Термодинамическая осуществимость реакции зависит от изменения свободной энергии Гиббса связанной с изменением энтальпии и энтропии уравнением: Особенность восстановителей, таких как водород, монооксид углерода и углерод при восстановлении металлов из руды, заключается в том, что до температуры 700 °C восстановление идет за счет водорода и монооксида углерода, а выше температуры 700 °C идет за счет углерода. [71] Эффект энергосбережения при использовании способа ПДЭЦК, достигается за счет устранения потерь энергии которая неизбежны при работе классического оборудования. Например, уровень потерь тепловой энергии на НПЗ достигает 62% на электростанциях до 70%, а на металлургических заводах до 80%. Перераспределяя эту энергию между участками производства внутри производственного контура устройства ПДЭЦК, на получение полезного продукта в виде металлов, неметаллов и энергоносителей, возможно приблизиться по затратам энергии на получение того или иного вещества, близко к теоретическому. Например, для производства водорода путём паровой конверсии метана, на сегодня требуется 2,25 кВт*ч/нм3 водорода, а при этом теоретические затраты составляют всего 0,78 кВт*ч/нм3, что в три раза меньше. Поэтому снижая энергопотери при работе металлургического, химического, энергетического и другого оборудования за счет перераспределения энергии и вещества внутри производственного контура, возможно, достигнуть энергопотребления при получении продукта, близкого к теоретическому. [18] При использовании способа ПДЭЦК, на энергоустановках производящих электроэнергию сжигается только водород, в виду самой высокой его энергоэффективности. В результате горения образуется вода, которая как ценное сырье поступает на Рынок, часть образованной воды используется как сырьё для производства энергоносителей, при этом вода работает хладагентом. Углерод, который сейчас сжигается на тепловых электростанциях, на установке ПДЭЦК, используется в качестве восстановителя реагентов или в виде готового продукта поступающего на Рынок. Для этого на фиг. 5 используется процессор углерода 323, где протекает реакция Будуара 2CO ↔ CO2 + C, откуда углерод поступают в накопитель 324 и далее идёт на Рынок. В накопителе образуется чешуйчатый, нитевидный или пластинчатый графит, достаточно ценное сырье, которое на Рынке сегодня имеет стоимость, превышающую 500 руб. за килограмм. Из этого углерода, для плазматрона будут изготовляться графитовые электроды, замыкая кругооборот углерода в процессе ПДЭЦК. [72] Способ ПДЭЦК, за счёт плазмы позволяет извлекать из углекислого газа заданный объем кислорода и угарного газа, где производится его диссоциация по реакции CO2 → CO + 0,5O2. Полученный кислород в устройстве ПДЭЦК далее расходуется на автотермическую реакцию при образовании синтез-газа, сжигание водорода или другие необходимые реакции, а так же в чистом виде кислород поступает на Рынок. [73] Как известно минимальные теоретические энергозатраты при восстановлении железа из оксида Fe2O3, равны 2,06 кВт*ч/кг (энергия диссоциации оксида). При производстве чугуна на сегодня расход энергии примерно в три раза больше. Высокая энергоемкость при производстве стали связана с высокими потерями энергии на большой цепочке оборудования, размещенного в большом объёме пространства. [74] Полные затраты на добычу руды и производство железа, в среднем составляют 11,14 кВт*ч/кг, что более чем в пять раз превышает энергию диссоциации оксида. Общие затраты энергии на производство меди на сегодня составляют 25,83 кВт*ч/кг, алюминия 45 кВт*ч/кг, никеля 44 кВт*ч/кг, титана 111 кВт*ч/кг, серебра 806 кВт*ч/кг, золота 1472 кВт*ч/кг. Общие затраты энергии на производство продукции из углеводородного сырья, на производство, например, метанола составляют до 13 кВт*ч/кг, поливинилхлорида до 23 кВт*ч/кг, полипропилена до 31 кВт*ч/кг, углеродного волокна до 195 кВт*ч/кг. [75] Изменение свободной энергии Гиббса ΔG, равно ΔH = TΔS, где ΔH - изменение энтальпии, а ΔS - изменение энтропии, совместно с диаграммой Эллингема показывают температурную зависимость стабильности соединений. Например, оксиды Ag, Cu и Hg при нагревании восстанавливаются в первую очередь и далее идёт восстановление никеля, железа, цинка, хрома, марганца и кремния. Наиболее трудно восстанавливаются оксиды титана, алюминия, магния, бериллия и кальция. Высокая температурная стабильность соединений требует больших на энергозатрат при производстве того или иного металла. Энергозатраты при производстве того или иного металла, электролизом различны и зависят от электрохимического ряда. [76] Согласно электрохимическому ряду напряжений металлов при проведении электролиза в первую очередь будет восстанавливаться золото, металлы платиновой группы, серебро, ртуть, медь, отдельные редкоземельные металлы, железо, хром и далее титан, алюминий и магний. Поэтому при воздействии температуры на оксиды металлов и за счет электролиза в первую очередь восстанавливаются драгметаллы, включая золото, серебро, платину и медь, но на практике при производстве этих металлов, на сегодня идут очень высокие энергозатраты. При этом наибольшие затраты энергии идут на производство никеля, кобальта и редкоземельных металлов несмотря на их более легкое восстановление при более низких температурах и за счёт электролиза. Высокие энергозатраты на сегодня при получении этих металлов связаны в первую очередь с их малым содержанием в руде, поэтому для их извлечения требуется большая цепочка обогатительного и металлургического оборудования, а так же привлечение для производства большого количества необходимых реагентов. При использовании способа ПДЭЦК металлы из соединений, находящихся в руде, извлекаются по схеме отличной от классических схем. На сегодня классическим способом из руды в первую очередь извлекается основной металл путём флотации, сепарации и обогащения, который далее поступает на восстановление и переплав. По схеме ПДЭЦК все металлы, находящиеся в руде подвергаются плазменному плавлению, с последующим проведением электролиза, гравитационной сепарации, а полученный слиток за счет отдельного электролиза, освобождается от драгметаллов, редкозёмов и тяжелых металлов. Одновременно во время плавления соединений металлов, производится конверсия углеводородов с получением на выходе энергоносителей, что позволяет окупить начальную стадию восстановления и сепарации металлов, производимую на устройстве ПДЭЦК. При извлечении путем электролиза из полученного слитка меди, платиноидов и драгметаллов процесс ПДЭЦК дополнительно окупается. Далее, идёт процесс переработки менее ценных металлов и неметаллов, находящихся в слитке, которых по объёму в исходной руде значительно больше. Поэтому используя способ ПДЭЦК энергозатраты при производстве продукции, возможно, снизить до теоретического уровня за счет одновременного восстановления металлов, неметаллов и синтеза метанола. Например, энергопотребление при производстве железа, возможно, уменьшить примерно в пять раз. Для меди, теоретические энергозатраты на диссоциацию оксида, согласно диаграмме Эллингема, не превышают 1 кВт*ч/кг, при этом реальные затраты на производство меди составляют 25 кВт*ч/кг. Следовательно, энергозатарты при производстве меди способом ПДЭЦК, могут быть снижены в двадцать пять раз. Ещё больше энергетический выйгрыш будет достигнут при производстве никеля, кобальта, титана, алюминия и подобных металлов. Для диссоциации оксида серебра и золота требуются энергозатраты не превышающие 0,5 кВт*ч/кг, при этом на практике энергозатраты при производстве серебра составляют 806 кВт*ч/кг, а золота 1472 кВт*ч/кг. Следовательно, при использовании новой технологии, для извлечения и восстановления этих металлов энергозатраты, возможно, уменьшить в полторы и три тысячи раз. Новый способ позволит при синтезе энергоносителей и производстве водорода, так же снизить энергозатраты приближая их к теоретически возможным. Например, энергозатраты при производстве водорода на установке ПДЭЦР из метана будут снижены в три раза. Преимуществом новой технологии является исключение из цепочки производства железа, процесса агломерации, выплавки чугуна, конвертерного передела, вакуумирования стали в отдельных ковшах, а из цепочки синтеза метанола, процесса сжигания углеводородов для производства синтез-газа. Для современной промышленности технология ПДЭЦК может стать наиболее экономически выгодной и экологически чистой, где на производство одного кг железа будет затрачиваться не более двух кВт электроэнергии. На сегодня для производства 1 кг железа в США затрачивается 10 кВт⋅ч электроэнергии, а в РФ - 15 кВт⋅ч. Разница в энергозатратах связана с использованием в США электрометаллургии, а в РФ доменного производства. Поэтому, используя способ ПДЭЦК в РФ для производства металлов, возможно, в несколько раз снизить энергозатраты, обогнав США, при этом одновременно, значительно снизить нагрузку на экологию. [77] Согласно процентному содержанию химических элементов в земной коре, кислорода 47%, поэтому для определения в первом приближении затрат энергии на количество вещества находящихся в реагентах процесса ПДЭЦК принимаем три основных группы соединений. В первой группе находятся соединения металлов и кислорода, для простоты расчёта в соотношении 50 % ÷ 50 % обозначаемых MeO, во второй группе соединения углеводородов, представленные в виде наиболее простого соединения CH4 и в третьей группе соединения неметаллов, включая оборотную воду обозначаемых N. Массовая доля оксидов металлов принимается за один кг, где кислорода содержится 0,5 кг, при взаимодействии, которого с 0,5 кг метана, будет образован один кг метанола. В реакции так же учувствуют 0,5 кг химических веществ, входящих в третью группу соединений неметаллов, поэтому на входе и выходе масса реагентов составляет 2 кг. [59] При 20 МВт⋅ч мощности плазмотрона расход энергии составляет 0,5 кВт⋅ч /кг, следовательно, на 2 кг реагентов при плазменном нагреве расходуется 1 кВт⋅ч. Реагенты на входе: Реагенты на выходе: В одном кг произведенного метанола содержится 12,5% водорода, то есть 125 г из которого при сжигании выделяется 4,93 кВт⋅ч энергии, где на выработку 1 кВт⋅ч будет затрачено, примерно, пятая часть водорода в объеме 25 г. При сжигании этого объёма образуется 225 г воды. Следовательно, на синтез одного кг метанола, при энергозатратах приближающихся к теоретическим, потребуется 0,5 кВт⋅ч энергии, а на восстановление одного кг металлов потребуется 0,5 кВт⋅ч и соответственно одного кг неметаллов 0,5 кВт⋅ч. Таким образом, в результирующей реакции из одной тонны металлосодержащей руды, производится одна тонна метанола, полтонны восстановленных металлов и полтонны неметаллов, которые включают воду образующуюся в ходе многочисленных промежуточных реакций. При этом на поддержание процесса ПДЭЦК, без участия АЭС или возобновляемых электростанций, которые требуются для запуска и поддержания работы процесса, будет тратиться пятая часть синтезированного метанола массой 0,2 тонны, образуя на выходе воду массой 0,225 тонны, которая поступает на Рынок. Особый интерес способ ПДЭЦК будет представлять для Ближневосточных стран, богатых углеводородным сырьем при переработке которого будет производиться металлы, неметаллы, энергоносители и вода, необходимая этим регионам. [78] Как известно, в 2018 году Россия заняла шестое место в мире по производству стали, опустившись на одну позицию, уступив своё место Южной Корее. На 2018 год объем производства в России составил 71,7 млн. тонн. В том же году всеми странами было произведено 1803 млн. тонн стали, где Россия заняла долю в 4 % от мирового производства, что очень мало для нашей страны. При этом Россия, обладает запасами железа и природного газа больше, чем любая другая страна. В связи с вышеизложенным, можно с уверенностью утверждать, что развитие производства стали в РФ сдерживает, отсутствие энергоэффективной технологии. На данный момент сталь в РФ приходиться производить, используя домну. Более современная технология Midrex принадлежит металлургическим корпорациям США, поэтому её использование в РФ ограничено лицензиями, но даже в отсутствие данных ограничений эта технология не позволит сделать России качественный скачек при производстве стали. Для сравнения, российский объем продаж стали в 2018 г., составили примерно 25 млрд. $, а газа примерно 45 млрд. $. При использовании новой технологии ПДЭЦК, возможно, увеличение производства стали не менее чем в десять раз, при этом одновременно будут произведены другие металлы, а вместо поставки газа на внешний Рынок, будет поставляться метанол, производимый на этом же оборудовании. Россия, располагая самыми большими запасами железных руд и природного газа, по производству стали отстает от КНР в пятнадцать раз. Для возвращения лидирующего положения в нашей стране, необходимо увеличивать объем производства стали, примерно, в двадцать раз. В этом случае при использовании новой технологии ПДЭЦК, РФ сможет получать прибыль от продажи стали и метанола, из расчета на 2018 г, на сумму не менее одного триллиона $. Китаю сегодня достаточно сложно удержаться на достигнутом уровне производства стали. В этой стране производство стали будет сдерживаться за счет нехватки углеводородов, руды и использования старой технологии. Используя новую технологию ПДЭЦК и самые большие природные ресурсы, Россия сможет занять первое место не только по производству стали, но и по производству метанола. Одновременно будет решена проблема безуглеродного следа, так как новая технология ПДЭЦК не производит выбросов, все газы участвующие в производстве стали идут на производство метанола. Это принципиально сможет изменить политическое положение страны в мире, так как самая дешевая сталь даст толчок к развитию машиностроения в России. Дешевые нефтепродукты, произведённые с использованием новой технологии, такие как метанол, дизельное топливо, бензин, пластик и другие продукты, смогут не менее эффективно повлиять на мировой Рынок. Метанол, имеющий не большую себестоимость, возможно, поставлять на внешний Рынок, уходя от строительства новых нефтепроводов, так как для этого будет достаточно уже построенных. Сталь и метанол позволят проводить более независимую внешнюю политику и загрузить северный морской путь, потеснив конкурентов на общем Рынке. Увеличить производство стали в двадцать раз, возможно, используя рудные запасы Курской магнитной аномалии и используя электроэнергию Курской АЭС. Для переработки руды потребуется природный газ, который сейчас освобождается от поставок на Запад и проходит по трубопроводам через Курскую область. При выходе на данный объем производства, оборот продаж стали и метанола по ценам на 2023 год, может превысить три триллиона долларов. Метанол, по сравнению с газом и сжиженным газом значительно легче хранить и транспортировать. В заключении, необходимо отметить, что при освоении новой технологии переработки бытовых и промышленных отходов, появляется возможность значительного снижения нагрузки на экологию и возможность добычи полезных ископаемых сосредоточенных на свалках. Новая технология позволит извлекать сырьё для промышленности в более благоприятных условиях, так как скопления мусора находятся рядом с городами. За счёт переработки свалок, в промышленное сырье, останутся нетронутыми запасы нефти и газа, а также руды в недрах севера России, где условия добычи намного сложнее. Мусороперерабатывающие заводы, созданные по технологии ПДЭЦК, целесообразно размещать вблизи городов, дополнительно их используя в качестве ТЭЦ и электростанций. В отличие от мусоросжигающих заводов, мусороперарабатывающие заводы не производят выбросов, следовательно, их размещение может быть в центре, вокруг которого может строиться город. Более того данный объект может являться центром промышленной зоны, которая по окружности будет размещать металлургические, химические и машиностроительные заводы, которые используют материалы и энергию мусороперерабатывающего завода. Для освоения предлагаемого способа наиболее подходит Россия, где развита технология строительства АЭС, сосредоточено большое количество руды и углеводородов. При взятии на вооружение данного направления, количество АЭС в России, возможно, довести до количества АЭС используемых в США, что позволит всю металлургическую и химическую промышленность перевести на схему без углеродных выбросов. Потребитель для сжигания будет использовать только водородное топливо, так как сжигание топлива содержащего углерод и его соединения экономически не выгодно. Производство водорода электролизом из воды экономически не выгодно в виду более высоких энергозатрат. При производстве водорода из смеси воды и углеводородов энергозатраты снижаются, а при добавлении к этой смеси рудных минералов с участием плазмохимических процессов, энергозатраты снижаются значительно, что делает производство водорода общедоступным. В связи с этим, целесообразно освоить процесс ПДЭЦК, который позволяет одновременно извлекать водород, металлы и неметаллы из шихты, содержащей руду, воду и углеводороды. Для максимального извлечения полезных веществ из шихты в схему процесса ПДЭЦК включается АЭС, где вся вырабатываемая мощность расходуется для переработки шихты в полезные продукты. Водород, как самое эффективное топливо, будет накапливаться в виде энергоносителя метанола или синтетической нефти. Как известно, вырабатываемое тепло ядерными реакторами в объеме 70 % сбрасывается в окружающую среду. В схеме работы ПДЭЦК, это тепло полностью используется на нагрев реагентов и продуктов реакции, что повышает КПД АЭС до ста процентов. Таким образом, АЭС, встроенная в схему ПДЕЦК, позволяет в десять раз больше произвести полезного продукта, чем АЭС, передающая энергию предприятию, находящемуся на большом расстоянии. Вместо АЭС или совместно с АЭС наиболее эффективно будут работать электростанции на возобновляемых источниках энергии. Вырабатываемая энергия этими электростанциями полностью будет расходоваться на производство металлов, неметаллов и энергоносителей, которые хранятся, неограниченное количество времени. Необходимо отметить, что способ ПДЭЦК решает задачу снижения энергозатрат при производстве металлов, неметаллов и энергоносителей за счет размещения энергоустановок, вырабатывающих электроэнергию внутри производственного контура, совместно с металлургическими, химическими и другими установками. Энергоустановки всю вырабатываемую электроэнергию и тепло расходуют на производство продукта, позволяя его вырабатывать на порядок больше, чем по классической схеме производства. Электростанции, используемые в схеме ПДЭЦК, позволяют, примерно, в десять раз больше перерабатывать сырья, чем обычные электростанции находящиеся на значительном расстоянии от того или иного производства, за счет использования в процессах всего вырабатываемого тепла и электроэнергии. Способ ПДЭЦК, помимо использования всей энергии вырабатываемой электростанциями, позволяет снижать энергозатраты при разделении межатомных и межмолекулярных связей за счёт облучения вещества потоком элементарных частиц плазмы с одновременным воздействием на разделяемое вещество гравитационным полем высокого тяготения. Энергозатраты при разделении соединений за счет облучения вещества могут так же снижаться на порядок, поэтому способ ПДЭЦК позволяет при той же мощности энергоустановки перерабатывать в десять раз больше вещества, при этом в десять раз затрачивая меньше энергии на деление межмолекулярных связей, следовательно, общие энергозатраты, в пересчете на единицу продукции, могут быть снижены в сто раз. ЛИТЕРАТУРА [1]. Osamu Odawara, Method for providing ceramic lining to a hollow body by thermit reaction. Patent US, no. 4363832, 1982. [2]. В.А. Гармата, А.Н. Петрунько, Н.В. Галицкий, Ю.Г. Олесов, Р.А. Сандлер - Титан. М.: Изд-во “Металлургия”, 1983. (стр. 128÷212). [3]. Ю.Н. Туманов - Плазменные и высокочастотные процессы получения и обработки материалов в ядерном топливном цикле: настоящее и будущее. - М.: Изд-во “ФИЗМАТЛИТ”, 2003г. (стр.295÷306). [4]. В.А. Малаховский - Плазменные процессы в сварочном производстве: Учеб. пособие для сред. ПТУ. - М.: Изд-во “Высшая школа”, 1988. Стр. 29÷32. [5]. А.Е. Волков - “Теоретическая разработка руднотермического электролизера с зонной очисткой титана, восстановленного из оксидного сырья” / А.Е. Волков // Тяжелое машиностроение. - 2016 - №10. (Стр. 3). [6]. Р. В. Радченко, А. С. Мокрушин, В. В. Тюльпа - Водород в энергетике: учеб. пособие. - Екатеринбург: Изд-во “Урал. ун-та”. 2014. (Стр. 22÷44). [7]. С. В. Вольфкович, А. П. Егоров, Д. А. Эпштейн - Общая химическая технология в двух томах. Том 1. - Москва; Ленинград: Изд-во “Государственное научно-техническое издательство химической литературы”. 1953. (Стр. 277). [8]. Cornejo, Andrew, Chua, Hui Tong, inventor(s); Hazer Group Ltd, assignee; A process for producing hydrogen and graphite from natural gases. Australian patent AU 2018101788 A4. 2019 Jan 3. [9]. В. Е. Парфенов, Н. В. Никитченко, А. А. Пименов, А. Е. Кузьмин, М. В. Куликова, О. Б. Чупичев, А. Л. Максимов - Пиролиз метана водородного направления: особенности применения металлических расплавов (обзор) / В. Е. Парфенов, Н. В. Никитченко, А. А. Пименов, А. Е. Кузьмин, М. В. Куликова, О. Б. Чупичев, А. Л. Максимов // Журнал прикладной химии. - 2020 - Т. 93. Вып. 5. (Стр. 611÷619). [10]. Официальный сайт “N + 1” интернет-издание / Расплавы металлов разложили метан на углерод и водород без побочных продуктов [Электронный ресурс]. 2017. - Режим доступа: https://nplus1.ru/news/2017/11/22/methane-catalyst. [11]. Manuela Serban, Michele A. Lewis, Christopher L. Marshall and Richard D. Doctor - Hydrogen production by direct contact pyrolysis of natural gas // Energy & Fuels. 2003. Volume 17, Issue 2. (Pages 746÷747). [12]. О.В. Крылов. Углекислотная конверсия метана в синтез-газ / О.В. Крылов. // Российский Химический журнал. - 2000. - Т. 44. № 1. (Стр. 19÷33). [13]. Официальный сайт “ Vector-Study” [Электронный ресурс] / Производство метанола под давлением 5 МПа. - Режим доступа: https://vector-study.ru/library/tehnology/metanol/metanol-5mpa.html. [14]. Диссертация. Гаранин Иван Владимирович. Высокотемпературные технологии производства электроэнергии на угольно-водородных энергетических комплексах и способы их практической реализации. Стр. 19÷20, стр. 20÷22, стр. 38. [15]. С. Филиппов, А. Голодницкий, А. Кашин. Топливные элементы и водородная энергетика / С. Филиппов, А. Голодницкий, А. Кашин // Общественно-деловой научный журнал Энергетическая полтика. - 2020. №11(153), ноябрь. Стр. 28÷39. [16]. Официальный сайт “Студенческий научный форум” [Электронный ресурс] / Современные физико-химические методы переработки тяжелых нефтей. - Режим доступа: https://scienceforum.ru/2020/article/2018018579. [17]. Л.Г. Кесель, В.А. Милочкин, Б.А. Кесель - “Процесс получения метанола из природного газа под действием лазерного излучения” / Л.Г. Кесель, В.А. Милочкин, Б.А. Кесель // Электроника, фотоника и киберфизические системы. - 2022. - Т. 2, № 1. (Стр. 85÷92). [18]. Официальный сайт “Альфапедия” [Электронный ресурс] / Реакция Будуара. - Режим доступа: https://alphapedia.ru/w/Boudouard_reaction. [19]. А.Б. Касымов - “Применение тепловых насосов в схемах тепловых электростанций” / А. Б. Касымов, А. К. Садуакасова // Молодой ученый. - 2021. - № 49 (391). (Стр. 31÷34). [20]. Тепловые насосы в современной промышленности и коммунальной инфраструктуре. Информационно - методическое издание. - М.: Изд-во “Перо”, 2016. - 204 с. [21]. Г. Уокер. Двигатели Стирлинга. Сокр. перевод с англ. Б. В. Сутугина, Н. В. Сутугина. - М.: Изд-во “Машиностроение”, 1985. - 405 с. [22]. Ридер, Г.Т., Хупер, Ч. Двигатели Стирлинга. Пер. англ. С.С. Ченцова, Е.Е. Черейского, В.И. Кабакова. - М.: Изд-во “Мир”, 1986. - 464 с. [23]. Н.И. Уткин - Металлургия цветных металлов. Учебник для техникумов - М.: Изд-во “Металлургия”. 1985г. Стр. 380÷400. [24]. Н.А. Дворников - Математическое моделирование физико-химических процессов при разработке новых технологий получения алюминия. Институт теплофизики СО РАН. “Актуальные научно-технические проблемы алюминиевой промышленности” ответств. ред. А.Н. Платэ, Москва 2002, Типография МИФИ, стр. 248÷253. [25]. Я.П. Шейн, Н.В. Гудима - Краткий справочник металлурга по цветным металлам. - М.: Из-во “Металлургия”, 1964. 412 с. [26]. В.А. Любочко, В.В. Маликов, О.Г. Парфенов, Н.В. Белоусова - Восстановление оксида алюминия в неравновесной водородной плазме // Инж.-физ. Ж.- 2000.- Т.73.- No 3. Стр. 580÷584. [27]. А.Е. Волков - Патент РФ №2524036 “Способ и устройство центробежного литья металла”, - С2 B22D 13/00, 28.10.2010. [28]. Н.А. Соснин, С.А. Ермаков, П.А. Тополянский - Плазменные технологии. Руководство для инженеров. СПб: Изд-во “Политехнического университета”, 2013. стр. 11. [29]. Б.А. Кузьмин, Ю.Е. Абраменко, М.А. Кудрявцев и др. - Технология металлов и конструкционные материалы: Учебник для машиностроительных техникумов - 2-е изд., перераб. и доп. - М.: Изд-во “Машиностроение”. - 1989. Стр. 147÷157. [30]. Официальный сайт “http://khimie.ru” [Электронный ресурс] / Нитрид серы. - Режим доступа: http://khimie.ru/himiya-elementov/nitrid-seryi. [31]. Официальный сайт “Википедия” Свободная энциклопедия [Электронный ресурс] / Нитрид меди. - Режим доступа: https://ru.wikipedia.org/wiki/Нитрид_меди. [32]. Официальный сайт “chemistry-expo.ru” [Электронный ресурс] / Сернистый газ. - Режим доступа: https://www.chemistry-expo.ru/ru/ui/17139/. [33]. Официальный сайт “Металлообрабатывающая компания VT-metall” [Электронный ресурс] / Сплав железа и меди. - Режим доступа: https://vt-metall.ru/articles/797-splav-zheleza-i-medi. [34]. А.Е. Волков, А.А. Волков - “Повышение эффективности процесса восстановления металлов при центробежном конвертировании” / А.Е. Волков, А.А. Волков // Тяжелое машиностроение. - 2019 - № 4. (Стр. 28÷34). [35]. В.А. Лебедев, В.И. Седых - Металлургия магния: учебное пособие. - Екатеринбург: УГТУ-УПИ. 2010 г. Стр. 149÷160. [36]. Официальный сайт “ctcmetar.ru” информационный некоммерческий ресурс [Электронный ресурс] / Прямое получение титана из его диоксида. - Режим доступа: http://ctcmetar.ru/metallurgiya-titana/8734-pryamoe-poluchenie-titana-iz-ego-dioksida.html. [37]. Официальный сайт “Российское представительство Sichuan Techairs CO., LTD.” [Электронный ресурс] / Водород из метанола. - Режим доступа: https://www.techairs.ru/tekhnicheskie-vozmozhnosti/proizvodstvo-vodoroda/vodorod-iz-metanola/. [38]. Б.Н. Лукьянов - “Каталитическое производство водорода из метанола для мобильных, стационарных и портативных энергоустановок на топливных элементах” / Б. Н. Лукьянов // Успехи химии. - 2008. Т. 77, выпуск 11. (Стр. 1065÷1087). [39]. Д.Ю. Гамбург и др. Водород. Свойства, получение, хранение, транспортирование, применение: Справочник / под ред. Д.Ю. Гамбурга, Н.Ф. Дубовкина. - Москва: Изд-во “Химия”, 1989. - 671 с. [40]. Я. И. Михайленко, С. В. Кафтанова, А. П. Крешкова, В. И. Семишина. - Курс общей и неорганической химии. Для хим.-технол. вузов. - Москва: Изд-во “Высшая школа”. 1966. (Стр. 621). [41]. И.Б. Рапопорт. - Искусственное жидкое топливо. Учеб. пособие для вузов. - Москва; Ленинград: “Гостоптехиздат”. 1949. (Стр. 159.) [42]. В.М. Чубаров, А.Л. Финкельштейн, А.А. Амиржанов. Определение отношения FeO/Fe2O3tot в железных рудах по эмиссионным линиям K-серии рентгеновского флуоресцентного спектра / В.М. Чубаров, А.Л. Финкельштейн, А.А. Амиржанов // Аналитика и контроль. - 2009. - Т. 13. - № 3. (Стр. 28÷34). [43]. Официальный сайт “StudFiles” файловый архив студентов / Современные представления о процессах доменной плавки [Электронный ресурс]. - Режим доступа: https://studfile.net/preview/1865388/page:4/. [44]. Официальный сайт “Thermalinfo.ru” / Свойства оксидов металлов [Электронный ресурс]. - Режим доступа: http://thermalinfo.ru/svojstva-materialov/oksidy/svojstva-oksidov-metallov. [45]. Официальный сайт “ГрантСтрой” закрытое акционерное общество научно-проектное производственно-строительное объединение / Водородная энергетика и черная металлургия [Электронный ресурс]. 2014. - Режим доступа: http://www.grantstroy.net/ru/2013-02-25-09-33-44/77.html. [46]. Choudhary V.R., Uphade B.S., Mamman A.S. Appl. Catal., 1998, v. A168, №1, p. 33÷46. [47]. Официальный сайт “НОЦ Плазма” Научно-образовательный центр по фундаментальным проблемам приложений физики низкотемпературной плазмы. / Бородин В.И. Низкотемпературная плазма в процессах получения металлов / В.И. Бородин. Петрозаводский государственный университет, 2003. 10 с. - Режим доступа: https://plazma.karelia.ru/pub/fntp/Borodin.pdf. [48]. Ю.В. Цветков, А.В. Николаев, А.В. Самохин - Плазменные процессы в металлургии и технологии неорганических материалов // Автоматическая сварка. - 2013. № 10-11 (726). Стр. 112÷118. [49]. М.М. Караваев, В.Е. Леонов, И.Г. Попов, Е.Т. Шепелев - Технология синтетического метанола - М.: Из-во “Химия”, 1984. [50]. Г.Ф. Быстрицкий, Г.Г. Гасангаджиев, В.С. Кожиченков - Общая энергетика (Производство тепловой и электрической энергии). Учебник. - 2-е изд., стер. - М.: Изд-во “КНОРУС”, 214. [51]. Д.Ю. Гамбург, В.П. Семенов, Н.Ф. Дубовкин, Л.Н. Смирнова - Водород. Свойства, получение, хранение, транспортирование применение: Справ. изд. - М.: Изд-во “Химия”, 1989. [52]. Официальный сайт “Вторая индустриализация России” средство массовой информации (сетевое издание) [Электронный ресурс] / Получение синтез-газа - альтернативный способ переработки природного и попутного нефтяного газа. Россия. 2016. - Режим доступа: https://втораяиндустриализация.рф/poluchenie-sintez-gaza/. [53]. Ф.И. Швед - Слиток вакуумного дугового переплава. - Челябинск: Изд-во ООО “Издательство Татьяны Лурье”. 2009 г. Стр. 210÷219. [54]. Официальный сайт “Мои Лекции.ру” [Электронный ресурс] / Синтез-газ. - Режим доступа: https://mylektsii.su/6-115941.html. [55]. М.С. Котелев, П.А. Гущин, Е.В. Иванов, Ю.И. Исаенков, Е.В. Нестеров, В.А. Винокуров - Плазмохимическая конверсия углекислого газа с получением монооксида углерода // Башкирский химический журнал. - 2010. Том 17. № 3. Стр. 175÷178. [56]. Официальный сайт “Википедия” Свободная энциклопедия [Электронный ресурс] / Производство водорода. - Режим доступа: https://ru.wikipedia.org/wiki/Производство_водорода. [57].Официальный сайт “Thermalinfo.ru” Справочник по свойствам веществ и материалов: плотность, теплопроводность, теплоемкость, вязкость и другие физические свойства веществ в таблицах в зависимости от температуры и давления / Плотность железа Fe, удельная теплоемкость, теплопроводность и другие его свойства. - Режим доступа: http://thermalinfo.ru/svojstva-materialov/metally-i-splavy/svojstva-zheleza-plotnost-teploemkost-teploprovodnost [58]. А.Е. Волков - Восстановление железа в горизонтальной домне и производство стали в руднотермическом электролизере / А.Е. Волков // Тяжелое машиностроение. - 2016 - № 11-12, стр. 22÷33. [59]. Kouji Mimura, Michio Nanjo - Recent Developments in Plasma Metal Processing // High Temperature Materials and Processes. 1986. Volume. 7, № 1. (Pages 1÷16). [60]. Официальный сайт “Википедия свободная энциклопедия”. Диаграмма Эллингема. - Режим доступа: https://ru.wikipedia.org/wiki/Диаграмма_Эллингема. [61]. С.Е. Донской. Государственный доклад «О состоянии и использовании минерально-сырьевых ресурсов Российской Федерации в 2009 году» // Центр “Минерал” ФГУНПП “Аэрогеология” [Электронный ресурс]. 2010. - Режим доступа: http://www.mnr.gov.ru/upload/iblock/9d9/2009.zip. [62]. Официальный сайт “TAdviser” российский интернет-портал и аналитическое агентство / Экспорт газа из России. 2019. - Режим доступа: https://www.tadviser.ru/index.php/Статья: Экспорт_газа_из_России#2019:_.D0.A1.D0.BF.D0.B0.D0.B4_.D1.8D.D0.BA.D1.81.D0.BF.D0.BE. D1.80.D1.82.D0.B0_.22.D0.93.D0.B0.D0.B7.D0.BF.D1.80.D0.BE.D0.BC.D0.B0.22_.D0.BD. D0.B0_38.25_.D0.B2.D0.BE_.D0.B2.D1.82.D0.BE.D1.80.D0.BE.D0.BC_.D0.BA.D0.B2.D0. B0.D1.80.D1.82.D0.B0.D0.BB.D0.B5. [63]. Е.В. Шумилин. Тепловой расчет котла: практикум / Е. В. Шумилин, С. А. Псаров. - Хабаровск: Изд-во “Тихоокеан. гос. ун-та”, 2013. - 78 с. [64]. Официальный сайт “Википедия” Свободная энциклопедия [Электронный ресурс] / “Скандий”. - Режим доступа: https://ru.wikipedia.org/wiki/Удельная_теплота_сгорания [65]. Официальный сайт “Ежегодник Enerdata” [Электронный ресурс] / Общее производство энергии, после спада на 4,1%, вызванного пандемией COVID-19 в 2020 году, в 2021 году производство энергии в мире выросло на 3,4 %. - Режим доступа: https://energystats.enerdata.net/total-energy/world-energy-production.html. [66]. С.С. Тимофеева, Г.Р. Мингалеева - “Перспективы использования торфа в региональной энергетике” / С.С. Тимофеева, Г.Р. Мингалеева // Известия Томского политехнического университета. Техника и технологии в энергетике. - 2014. Т. 325, № 4. (Стр. 46÷55). [67]. Официальный сайт “Информационно-аналитический портал Neftegaz.RU” [Электронный ресурс] / Водородное топливо. - Режим доступа: https://neftegaz.ru/tech-library/energoresursy-toplivo/142374-vodorodnoe-toplivo/. [68]. А.Н. Старцев - “Низкотемпературное каталитическое разложение сероводорода с получением водородаи двухатомной газообразной серы” / А. Н. Старцев // Кинетика и катализ. - 2016. - Т. 57, № 4. (Стр. 516÷528). [69]. Е.А. Казачков. Расчеты по теории металлургических процессов: учебное пособие для вузов. - М.: Изд-во «Металлургия», 1988. - 288 с. [70]. J.H.E. Jeffes - Ellingham Diagrams // Encyclopedia of Materials: Science and Technology. 2001. (Pages 2751÷2753) [71]. С.С. Горобей, Ю.С. Мельникова - “Снижение потерь тепловой энергии в технолическом цикленефтеперерабатывающего завода” / С.С. Горобей, Ю.С. Мельникова // Актуальные вопросы энергетики. - 2019. № 1 (1). (Стр. 42÷48). [72]. Р.З. Аминов, А.Н. Байрамов. Комбинирование водородных энергетических циклов с атомными электростанциями. Саратовский научный центр РАН. - М.: Изд-во “Наука”, 2016. - 254 с. [73]. Официальный сайт “Студенческая библиотека онлайн” [Электронный ресурс] / Энергоёмкость в металлургической промышленности. - Режим доступа: https://studbooks.net/2579020/tovarovedenie/energoyomkost_metallurgicheskoy_promyshlennosti. [74]. Официальный сайт “ОКО ПЛАНЕТЫ” [Электронный ресурс] / Траты энергии на производство. Справочно. - Режим доступа: https://oko-planet.su/finances/financesnews/549048-traty-energii-na-proizvodstvo-spravochno.html. [75]. А.В. Тарасов. Металлургия титана - Москва: Изд-во “Академкнига”. 2003. - 325 с. [76]. Официальный сайт “InfoTables.ru” [Электронный ресурс] / Электрохимический ряд напряжения металлов (Таблица). - Режим доступа: https://infotables.ru/khimiya/272-elektrokhimicheskij-ryad-napryazheniya-metallov-tablitsa. [77]. А.Г. Бетехтин. Курс минералогии: учебное пособие, электронное издание сетевого распространения / под науч. ред. Б.И. Пирогова и Б.Б. Шкурского. - М.: Изд-во “КДУ”, “Добросвет”, 2018. - 736 c. [78]. Обзор рынка черной металлургии // Аналитическое агентство «Делойт» [Электронный ресурс]. 2019. - Режим доступа: https://www2.deloitte.com/content/dam/Deloitte/ru/Documents/manufacturing/russian/Deloitte-steel-iron-russia-survey-2019-h2.pdf.
парциальное окисление кислородом
углекислотная конверсия 


протекает через образование ряда промежуточных оксидов, которые образуют непрерывный ряд твердых растворов с карбидом титана. Повышение температуры или понижение давления сдвигает равновесие системы Ti - TiCxOy - С - CO в сторону замещения кислорода углеродом. Практически чистый карбид титана может быть получен при атмосферном давлении и температуре около 2430 °С. При давлении ниже 1000 Па и температуре выше 1300 °C достигается полное обескислороживание твердого раствора и выделяется металлический титан вследствие протекания реакции:
протекающей при этих условиях в левую сторону.



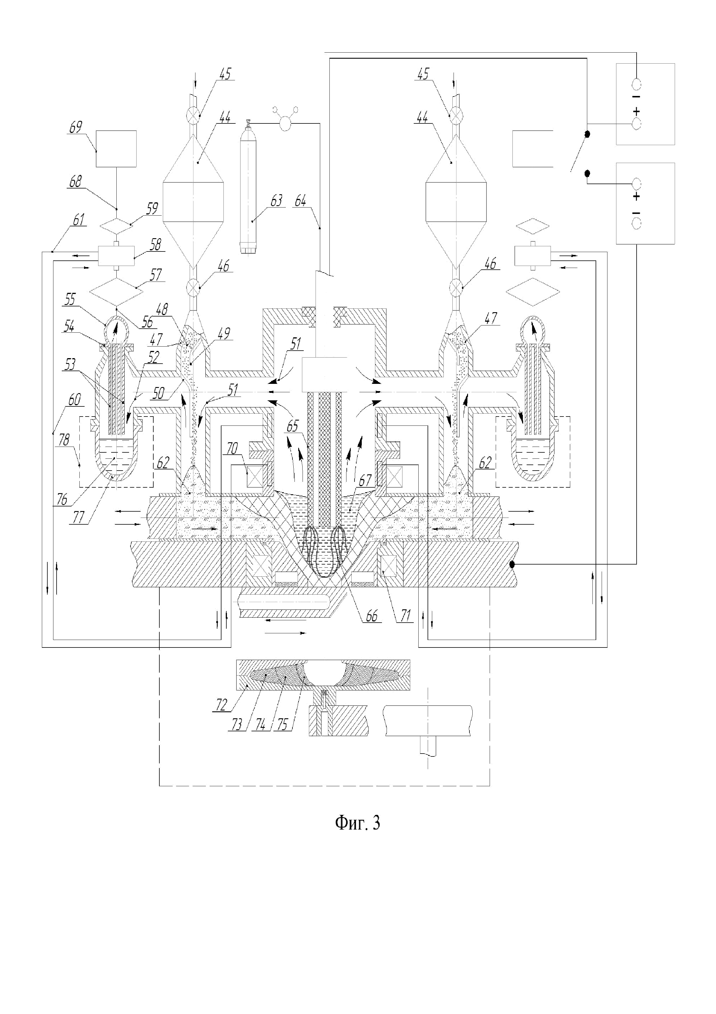
но её осуществление требует больших затрат энергии. В ходе плавления шихты на установке ПДЭЦК, плазмотрон работает в режиме электролиза, погружаясь в ванну расплава, поэтому пары воды находящиеся в шихте будут распадаться на водород и кислород. Последние работы по проведению высокотемпературного электролиза, показывают его эффективность, так как затраты энергии снижаются. Соответственно при осуществлении способа ПДЭЦК, энергозатраты при электролизе водорода и кислорода, из расплава шихты, за счет погружения в расплав плазмотрона, так же будут снижаться.

