патент
№ RU 2836106
МПК B01D11/00

ЖИДКОСТНО-ЖИДКОСТНЫЙ ЭКСТРАКТОР И БАТАРЕЯ, СОДЕРЖАЩАЯ ТАКИЕ ЭКСТРАКТОРЫ

Авторы:
РУССЕЛЬ, Эрве (FR)
Номер заявки
2021128681
Дата подачи заявки
01.10.2021
Опубликовано
11.03.2025
Страна
RU
Дата приоритета
15.12.2025
Номер приоритета
Страна приоритета
Как управлять
интеллектуальной собственностью
Чертежи 
5
Реферат

[65]

Группа изобретений относится к жидкостно-жидкостному экстрактору и к батарее для жидкостно-жидкостной экстракции, содержащей по меньшей мере один жидкостно-жидкостный экстрактор. Жидкостно-жидкостные экстракторы приспособлены к очень низким расходам жидкости, проходящей через них. Выпускные проходы содержат ниже по потоку от отстойной камеры, где разделяются тяжелая и легкая фазы, переливы фаз, край которых имеет неравномерную по высоте форму, например зубчатую. Циркуляционные каналы фаз предпочтительно открыты, чтобы также снизить риск блокировки жидкости пузырьками воздуха. Группа изобретений обеспечивает уменьшение влияния явлений капиллярности и воздействия воздуха, которые могут сделать поток жидкости неравномерным. 2 н. и 18 з.п. ф-лы, 13 ил.

Формула изобретения

1. Жидкостно-жидкостный экстрактор (60), содержащий полый блок (1) со смесительной камерой (8) и отстойной камерой (9), которые сообщаются, впускные проходы (10, 11) двух жидких фаз, ведущие в смесительную камеру, и выпускные проходы (12, 13) двух жидких фаз, ведущие в отстойную камеру, отличающийся тем, что выпускные проходы снабжены переливами (18, 24) вблизи отстойной камеры (9) и каждый из них выполнен с краем перелива жидких фаз, который имеет неравномерную высоту в форме ломаной линии, ограничивающей множество рельефов.

2. Жидкостно-жидкостный экстрактор по п.1, отличающийся тем, что край (30) перелива по меньшей мере одного из переливов (24) состоит из множества углублений, сужающихся вниз до нулевой ширины и образованных двумя наклонными краями.

3. Жидкостно-жидкостный экстрактор по п.1, отличающийся тем, что край перелива по меньшей мере одного из переливов имеет зигзагообразную форму и состоит из одинаковых и равномерно распределенных рельефов.

4. Жидкостно-жидкостный экстрактор по любому из пп.1-3, отличающийся тем, что один из переливов (18) размещается на стыке между отстойной камерой и выпускным проходом одной из упомянутых жидких фаз, известных как легкая фаза.

5. Жидкостно-жидкостный экстрактор по любому из пп.1-4, отличающийся тем, что другой из переливов (24) размещается во впускном колодце (16) выпускного прохода (14) другой жидкой фазы, известной как тяжелая фаза, на регулируемой высоте во впускном колодце.

6. Жидкостно-жидкостный экстрактор по любому из пп.1-5, отличающийся тем, что выпускные проходы по существу состоят из каналов (14, 15), открытых на верхней стороне (1) блока.

7. Жидкостно-жидкостный экстрактор по п.6, отличающийся тем, что каналы (14, 15) проходят параллельно боковым сторонам (2, 3) блока (1), где выпускные проходы открыты по меньшей мере на половине длины блока, измеренной параллельно боковым сторонам (2, 3), впускные и выпускные проходы тяжелой фазы выходят из блока (1) в местах, выровненных по первой линии, перпендикулярной боковым сторонам, и впускные и выпускные проходы легкой фазы выходят из блока в местах, выровненных по второй линии, перпендикулярной боковым сторонам.

8. Жидкостно-жидкостный экстрактор по п.7, отличающийся тем, что каждый канал (14, 15) имеет ширину, равную по меньшей мере одной трети ширины, измеренной перпендикулярно боковым сторонам (2, 3), отстойной камеры (9).

9. Жидкостно-жидкостный экстрактор по любому из предыдущих пунктов, отличающийся тем, что он содержит третий перелив (38) между смесительной камерой (8) и отстойной камерой (9), снабженный краем перелива для жидких фаз, имеющим неравномерную высоту в виде ломаной линии, ограничивающеймножество рельефов.

10. Жидкостно-жидкостный экстрактор по любому из предыдущих пунктов, отличающийся тем, что он содержит отстойное оборудование (42), которое может погружаться в отстойную камеру путем перемещения и содержащее опускающуюся пластину (43), погружающуюся в отстойную камеру (9) и непрерывную вплоть до защитного расстояния до дна отстойной камеры.

11. Жидкостно-жидкостный экстрактор по п.10, отличающийся тем, что отстойное оборудование (42) содержит коалесцентную сетку (44, 45), погруженную в отстойную камеру (9).

12. Жидкостно-жидкостный экстрактор по п.11, отличающийся тем, что оборудование содержит вторую коалесцентную сетку (45), причем коалесцентные сетки имеют противоположные свойства смачиваемости по отношению к одной из жидких фаз.

13. Жидкостно-жидкостный экстрактор по любому из пп.1-12, отличающийся тем, что блок включает в себя консоль (49), на верхней стороне которой может быть установлен рециркуляционный насос (48), причем рециркуляционный насос снабжен вертикальными всасывающими и отводящими трубками (50, 51), погруженными соответственно в выпускной проход (12) одной из жидких фаз и в рециркуляционный колодец (52), углубленный в блок (1) и сообщающийся со смесительной камерой (8).

14. Батарея для жидкостно-жидкостной экстракции, содержащая по меньшей мере один жидкостно-жидкостный экстрактор по любому из пп.1-13, отличающаяся тем, что по меньшей мере один экстрактор (60) и концевые модули (67, 68) выровнены и закреплены на опоре, причем концевые модули содержат соединения с контурами противоточных жидких фаз в батарее, при этом впуски и выпуски каждой из фаз находятся на продолжении между экстракторами.

15. Батарея для жидкостно-жидкостной экстракции по п.14, отличающаяся тем, что она содержит разделительные пластины (71), прижатые к экстракторам, и опорные уплотнения (74, 75), окружающие впускные и выпускные отверстия для жидких фаз.

16. Батарея для жидкостно-жидкостной экстракции по любому из пп.14 или 15, отличающаяся тем, что жидкостно-жидкостные экстракторы, концевые модули и при необходимости разделительные пластины соединены друг с другом на рельсе, образуя опору с возможностью скольжения по рельсу.

17. Батарея для жидкостно-жидкостной экстракции по любому из пп.14-16, отличающаяся тем, что опора содержит нагревательный мат.

18. Батарея для жидкостно-жидкостной экстракции по любому из пп.14-16, отличающаяся тем, что она содержит устройство для циркуляции хладагента, проходящего через блок по меньшей мере одного жидкостно-жидкостного экстрактора.

19. Батарея для жидкостно-жидкостной экстракции по любому из пп.14-18, в которой экстракторы выполнены по п.7, отличающаяся тем, что все экстракторы размещены таким образом, что их гомологические компоненты выровнены по линиям, параллельным рельсу.

20. Батарея для жидкостно-жидкостной экстракции по п.19, отличающаяся тем, что экстракторы (60) являются прозрачными по меньшей мере на одном участке (20), выходящем в отстойные камеры (9).

Описание

[1]

Область техники, к которой относится изобретение

[2]

Настоящее изобретение относитсяк области химического машиностроения и, более конкретно, к жидкостно-жидкостным экстракторам, а также к батарее, содержащей такие экстракторы.

[3]

Уровень техники

[4]

Эти экстракторы предназначены для переноса растворенных веществ между двумя несмешивающимися фазами, как правило, называемыми водной фазой и растворителем или органической фазой, или тяжелой фазой и легкой фазой. Они принадлежат к семейству смесителей-отстойников. Две жидкие фазы смешиваются с образованием эмульсии, затем разделяются путем осаждения, что позволяет растворенному веществу, изначально содержащемуся в одной из жидкостей, переноситься во вторую жидкость. Часто случается так, что используется батарея из множества каскадов, каждый из которых содержит такой экстрактор для того, чтобы получить лучшую экстракцию в способе, где фазы последовательно проходят через каждый из каскадов. Экстракторы, как правило, содержат смесительный отсек, в котором эмульсия образуется за счет движения подвижного тела, и отстойный отсек, в котором разделяются жидкие фазы. Циркуляция фаз в этих батареях, как правило, является противоточной.

[5]

Предложены жидкостно-жидкостные экстракторы различных размеров, от больших промышленных аппаратов, способных содержать несколько десятков кубических метров в расчете на один каскад, до аппаратов небольшого объема, экстракторы которых могут содержать несколько сотен миллиметров в расчете на один каскад.

[6]

Экстракторы с очень малой производительностью и очень низким расходом экстракции были разработаны для применений в области ядерного топлива. Очень низкие скорости потока могут составлять от нескольких десятков до нескольких сотен миллиметров в час. Пример такого экстрактора описан в документе FR 1580163 A. Батарея экстракторов, которая приспособлена для таких применений и позволяет легко монтировать и модифицировать с помощью дистанционного манипулирования, описана в документе FR 2831075 A.

[7]

Другие экстракторы подробно описаны в документах EP 0531213 A1 и FR 2459064 A1.

[8]

Конкретная проблема, связанная с низкими скоростями потоков, состоит в том, что силы капиллярности могут сделать потоки жидких фаз неравномерными, с отклонениями, которые могут быть неприемлемыми, уровней фаз или их смешивания в отсеках. Другой часто встречающейся проблемой является сложность модификации батареи экстракторов в агрессивной среде, например, ядерной, или демонтажа и регулировки отдельных экстракторов, которые часто имеют небольшие размеры для низких скоростей потоков, с помощью средств дистанционного манипулирование или с помощью перчаточной камеры.

[9]

Изобретение, во-первых, относится к улучшенному жидкостно-жидкостному экстрактору, который может иметь меньший размер и выполнен с различными усовершенствованиями, обеспечивающими особенно хорошую равномерность потока даже при очень низких скоростях потока, облегченному осаждению и различным элементам оборудования, которое можно легко установить на стационарную конструкцию экстрактора путем дистанционного манипулирования, если это необходимо. Другим аспектом изобретения является батарея, содержащая такие экстракторы и спроектированная таким образом, чтобы ее можно было легко использовать в ядерной среде, то есть в перчаточном ящике или в экранированном цепном механизме, благодаря большой простоте установки и сборки путем дистанционного манипулирования.

[10]

Сущность изобретения

[11]

В общем виде изобретение относится к жидкостно-жидкостному экстрактору, содержащему полый блок со смесительными и отстойными камерами, сообщающимися по текучей среде, впускные проходы двух жидких фаз, ведущие в смесительную камеру, и выпускные проходы двух жидких фаз, соединенные с отстойной камерой, который характеризуется тем, что выпускные проходы снабжены переливами, вблизи отстойной камеры, и каждый из них выполнен с краем перелива жидких фаз, имеющим неравномерную высоту в виде ломаной линии, ограничивающей множество рельефов.

[12]

Переливы или сливные трапы представляют собой препятствия для потоков жидких фаз, которые ограничены высотой, выше которой начинает течь поток. Переливы, которые обсуждаются в данном документе, размещаются на выпускных отверстиях отстойной камеры на разной высоте таким образом, чтобы можно было регулировать высоту каждой из фаз в этом месте. Ломаная линия в данном документе будет относиться к линии, как правило, ограничивающей множество рельефов, попеременно выступающих и углубляющихся, с наклоном, эволюция которого нерегулярна, с множеством инверсий направлений вдоль линии. В случае очень низкой скорости потока поток проходит через нижние части углубленных рельефов благодаря их узкости, что позволяет избежать значительного воздействия капиллярных сил и удержания жидкости перед переливом. Такого эффекта не существует на прямом переливе, или на горизонтальной стороне потока, или на стороны с небольшим уклоном, или даже на дне желоба круглого сечения, радиус кривизны которого был бы намного больше, чем у предусмотренных в данном документе рельефов.

[13]

Согласно предпочтительной форме край перелива по меньшей мере одного из переливов состоит из множества углублений, сужающихся вниз до нулевой ширины и образованных двумя наклонными краями.

[14]

Согласно другой форме, в этом отношении совместимой с предыдущей, край перелива по меньшей мере одного из переливов имеет зубцы, состоящие из чередующихся идентичных и равномерно распределенных рельефов.

[15]

В конкретном варианте осуществления изобретения один из переливов размещается на стыке между отстойной камерой и выпускным проходом одной из упомянутых жидких фаз, известной как легкая фаза; при этом он ограничивает общую высоту фаз в отстойной камере.

[16]

Согласно еще одному варианту осуществления, совместимому с предыдущим вариантом осуществления, другой из переливов может размещаться во впускном колодце выпускного прохода другой жидкой фазы, известной как тяжелая фаза, на высоте, которую можно регулировать во впускном колодце для того, чтобы регулировать относительное время удержания двух жидких фаз в экстракторе.

[17]

Согласно необязательному, но важному усовершенствованию, выпускные проходы в основном или по существу состоят из каналов, открытых на верхней стороне блока, образуя конструкцию экстрактора. Однако эффект этой конструкции открытых выпускных каналов аналогичен эффекту рельефов от перелива: уменьшаются эффекты капиллярности, задержки потока при низких скоростях потока, и также улавливание воздушных пузырьков, и, таким образом, также достигается лучшая равномерность потока.

[18]

Эти открытые каналы, которые являются средоточием гравитационных потоков жидких фаз, могут предпочтительно проходить по прямой линии, например, параллельно боковым сторонам блока, где открываются выпускные проходы; они могут быть без недостатков довольно длинными и продолжаться, например, по меньшей мере на половину длины блока, измеренной параллельно боковым сторонам. Протекание потоков остается легким и равномерным, и блок экстрактора остается компактным. Такая компоновка является полезной для того, чтобы получить экстрактор, в котором впускное и выпускное отверстия каждой из жидких фаз выровнены по двум линиям, перпендикулярным боковым сторонам. Интерес к такой компоновке проявляется в батареях, содержащих множество каскадов, собранных на боковых сторонах: все экстракторы в этом случае имеют одинаковую ориентацию, и их аналогичное оборудование выровнено по параллельным линиям, что облегчает манипулирование с батареей, улучшает ее внешний вид и делает возможными общие проверки осаждений для всех каскадов батареи, если все отстойные камеры повернуты к наблюдателю и открыты для обзора, например, через смотровое отверстие или другую прозрачную стену.

[19]

Выпускные каналы также предпочтительно являются довольно широкими, при необходимости каждый с шириной, равной по меньшей мере одной трети ширины, измеренной перпендикулярно боковым сторонам, отстойной камеры, также для того, чтобы можно было регулировать гравитационный поток в этих местах.

[20]

Экстрактор может содержать третий перелив, расположенный между смесительной камерой и отстойной камерой и выполненный, таким же образом, как предыдущие, и с таким же эффектом, краем перелива жидких фаз, имеющим неравномерную высоту в форме ломаной линии, ограничивающей множество рельефов.

[21]

Согласно другим возможным дополнительным улучшениям:

[22]

- экстрактор содержит опускаемую пластину, погружаемую в отстойную камеру и продолжающуюся до защитного расстояния с дном отстойной камеры;

[23]

- экстрактор содержит отстойное оборудование, которое может быть вставлено в отстойную камеру путем перемещения и которое содержит коалесцентную сетку с ранее образованной эмульсией, погружаемую в отстойную камеру и способствующую коалесценции одной из жидких фаз;

[24]

- это отстойное оборудование содержит вторую коалесцентную сетку, способствующую коалесценции другой жидкой фазы;

[25]

- блок включает в себя консоль, на верхней стороне которой может быть установлен рециркуляционный насос, причем рециркуляционный насос снабжен вертикальными всасывающими и нагнетательными трубами, соответственно, погруженными в выпускной проход одной из жидких фаз и во всасывающую камеру, предусмотренную в блоке и сообщающуюся по текучей среде со смесительной камерой.

[26]

Другим аспектом изобретения является батарея для жидкостно-жидкостной экстракции, содержащая по меньшей мере один экстрактор в соответствии с вышеизложенным; экстрактор или экстракторы и концевые модули выровнены и закреплены на рельсе, причем концевые модули содержат соединения с противоточными контурами жидкой фазы в батарее, впускные отверстия и выпускные отверстия каждой из фаз находятся на продолжении между экстракторами.

[27]

Батарея может предпочтительно содержать разделительные пластины, плотно прижатые к экстракторам и несущие уплотнения, окружающие впускные и выпускные отверстия жидких фаз, таким образом, чтобы также облегчить установку устройства.

[28]

Жидкостно-жидкостные экстракторы, концевые модули и при необходимости разделительные пластины могут быть взаимно соединены на рельсе с возможностью их скольжения по нему для того, чтобы также облегчить монтаж.

[29]

Другое усовершенствование, которое можно предусмотреть, состоит в том, чтобы снабдить батарею нагревательным средством. Это средство может быть установлено внутри рельса или под ним и состоять из нагревательного мата, например, за счет электрического сопротивления. Другое устройство может содержать устройство для циркуляции хладагента, проходящей через блок каждого из экстракторов батареи.

[30]

Краткое описание чертежей

[31]

Различные аспекты, особенности и преимущества изобретения будут теперь описаны более подробно с помощью следующих фигур, которые, таким образом, иллюстрируют некоторые чисто иллюстративные варианты осуществления:

[32]

фиг.1 - вид сверху экстрактора;

[33]

фиг.2 - продольный разрез выпускного прохода тяжелой фазы;

[34]

фиг.3 - регулируемый перелив тяжелой фазы;

[35]

фиг.4 - камера смешивания фаз;

[36]

фиг.5 - оборудование для эмульгирования смеси;

[37]

фиг.6 - оборудование, облегчающее отстаивания;

[38]

фиг.7 - рециркуляционное оборудование;

[39]

фиг.8 - перелив легкой фазы;

[40]

фиг.9 - батарея с множеством каскадов экстрактора;

[41]

фиг.10 - рельс для монтажа и поддержки батареи;

[42]

фиг.11 - уплотнительная пластина между экстракторами;

[43]

фиг.12 - вариант осуществления экстрактора хладагента;

[44]

фиг.13 - вариант осуществления рельса для поддержки батареи со встроенным нагревательным средством.

[45]

Подробное описание изобретения

[46]

Сначала будет описан отдельный жидкостно-жидкостной экстрактор 60, показанный на фиг.1. Он состоит из блока 1, как правило, параллелепипеда, почти правильного и ограниченного двумя длинными вертикальными сторонами, которые представляют собой первую боковую сторона 2 и вторую боковую сторона 3, параллельную предыдущей стороны, двумя короткими вертикальными сторонами, из которых передняя сторона 4 и задняя сторона 5 перпендикулярны предыдущим сторонам, и нижней стороной 6 и верхней стороной 7, которые перпендикулярны всем предыдущим сторонам. Блок 1 является полым с камерами, которые включают в себя смесительную камеру 8, отстойную камеру 9, а также впускной проход 10 тяжелой фазы, впускной проход 11 легкой фазы, выпускной проход 12 тяжелой фазы и выпускной проход 13 легкой фазы. Впускные проходы 10 и 11 тяжелой фазы и легкой фазы заканчиваются в смесительной камере 8, соответственно, начиная со второй боковой стороны 3 и первой боковой стороны 2, и выпускные проходы 12 и 13 тяжелой фазы и легкой фазы начинаются от отстойной камеры 9 и заканчиваются, соответственно, на первой боковой стороны 2 и на второй боковой стороны 3. Отверстия впускного и выпускного проходов 10 и 12 тяжелой фазы на боковых сторон 2 и 3 выровнены в направлении, перпендикулярном этим боковым сторонам 2 и 3, и отверстия впускного и выпускного проходов 11 и 13 легкой фазы также выровнены в этом направлении.

[47]

Таким образом, можно получить батареи, состоящие из множества последовательно соединенных каскадов, каждый из которых содержит один из этих экстракторов 60, где сформированы одиночные проходы тяжелой фазы и легкой фазы, последовательно проходящие через все смесительные камеры 8 и отстойные камеры 9 и следующие по противоточным путям через экстракторы 60. Такая батарея будет описана ниже. Прохождение через множество экстракторов 60 применяется для улучшения экстракции растворенного вещества.

[48]

Выпускные проходы 12 и 13 тяжелой фазы и легкой фазы в основном содержат участки, параллельные боковым сторонам 2 и 3, соответственно, называемые выпускным каналом 14 тяжелой фазы и впускным каналом 15 легкой фазы; выпускной канал 14 тяжелой фазы прилегает к первой боковой стороны 2 и продолжается от впускного колодца 16 до выпускного колодца 17, первый из которых прилегает к отстойной камере 9 и к передней стороне 4 на расстоянии, немногим большим половине длины экстрактора между передней стороной 4 и задней стороной 5. Выпускной канал 15 легкой фазы сообщается по текучей среде с отстойной камерой 9 за счет перелива 18 легкой фазы и продолжается до выпускного колодца 19, прилегая ко второй боковой стороне 3 примерно на половине упомянутой длины экстрактора 60. Смесительная камера 8, отстойная камера 9 и наибольший участок выпускных каналов 12 и 13, из которых, в частности, выпускные каналы 14 и 15, открываются из экстрактора 60, проходя к их верхней стороне 7. Такое расположение позволяет уменьшить влияние явления капиллярности и захвата пузырьков воздуха, которые могут блокировать выходной поток даже при очень низких скоростях потока.

[49]

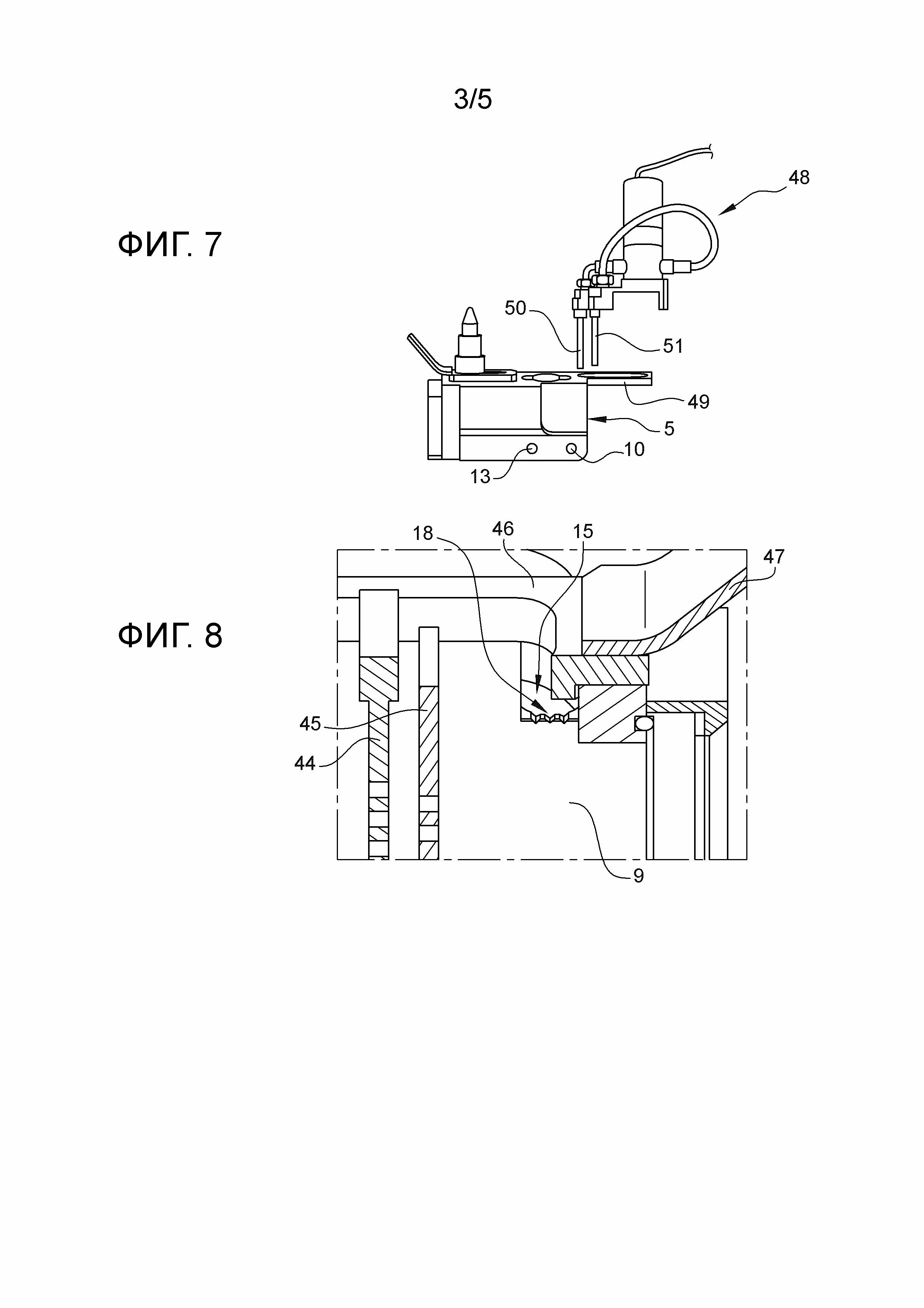
Передняя сторона 4 является частично прозрачной и снабжена смотровым отверстием 20 (показанным на фиг.2, 6 и 9), которое позволяет наблюдать, в каждом экстракторе 60 батареи, последовательность осаждения и откачки фаз: действительно, смотровое отверстие 20 частично разграничивает отстойную камеру 9 и впускное отверстие впускного прохода 13 легкой фазы. В качестве альтернативы, весь блок 1 может быть прозрачным.

[50]

Выпускные каналы тяжелой фазы и легкой фазы 14 и 15 снабжены промежуточными колодцами 21 и 22, которые могут принимать спектрофотометрические зонды для оперативного анализа состава фаз. Перемещение потока легкой фазы показано стрелками 53.

[51]

На фиг.2 и 3 дополнительно показан выпускной проход 12 тяжелой фазы. Впускной колодец 16 включает в себя нижнее отверстие 23, которое сообщается по текучей среде с дном отстойной камеры 9: тяжелая фаза накапливается во впускном колодце 16 в процессе выполнения способа и заканчивается, достигая перелива 24 тяжелой фазы, который представляет собой отдельную часть, подробно показанную на фиг.3. Перелив 24 тяжелой фазы, как правило, имеет цилиндрическую форму и содержит сверху вниз захватный держатель 25, резьбу 26 и гнездо 27. Держатель 25 выступает на экстракторе над верхней стороной 7, резьба 26 входит в резьбовую часть, соответствующую верхней части впускного колодца 16, и гнездо 27 продолжается в последнем с зазором, за исключением его нижнего участка, который снабжен уплотнительным кольцом 28, соприкасающимся с впускным колодцем 16 над нижним отверстием 23 и под соединением с выпускным каналом 14 тяжелой фазы.

[52]

Верхняя участок гнезда 27, над уплотнением 28, снабжен треугольными вырезами 29, распределенными по его периферии и ограниченными нижним пилообразным краем 30 таким образом, что каждый из треугольных вырезов 29 имеет нижний конец 31, образующий острый угол. Нижние окончания 31 продолжаются спереди соединения с выпускным каналом 14 тяжелой фазы, и тяжелая фаза разгружается в этот канал, когда она достигает уровня треугольных вырезов 29. Затем она может течь в выпускной канал 14 тяжелой фазы перед достижением выпускного отверстия 17 и выхода из экстрактора 60. Перемещение потока тяжелой фазы показано стрелками 32.

[53]

Конструкция экстрактора 60 с одиночным полым блоком 1 позволяет добавлять в него различное оборудование путем установки его через верхнюю сторону 7, с помощью ввинчивая, например, с переливом 24 тяжелой фазы, или с помощью простой вставки путем вертикального перемещения, например, оборудования, которое будет описано ниже. Регулировки и манипуляции с экстракторами 60, а также их сборка в батареи значительно упрощается и может выполняться с помощью устройств дистанционного управления или через перчаточные ящики.

[54]

На фиг.4 показана смесительная камера 33, которая погружена в смесительную камеру 8 с узким зазором. Это полая часть приблизительно цилиндрической формы, открытая вверх и снабженная с одной стороны верхней выемкой 34, нижний край которой представляет собой смесительный перелив 35, с нижним отверстием 36 внизу и вертикальным штифтом 37, поднимающимся вертикально наверху на его верхней стороне. Когда смесительная камера 33 установлена, верхний паз 34 и смесительный перелив 35 продолжаются спереди верхнего участка отстойной камеры 9 и образуют уровень, выше которого смесь, присутствующая в камере 33, может течь в отстойную камеру 9. Смесительный перелив 35 имеет пилообразную или зубчатую форму, и его верхний край, через который смесь течет к отстойную камеру, имеет форму ломаной линии, образуя попеременно небольшие выступающие и углубляющиеся рельефы. Таким образом, высота этого верхнего края может изменяться. Кроме того, углубленные рельефы предпочтительно сужаются вниз, что выверяется, если рельефы разделены наклонными сторонами. В крайнем случае, можно предусмотреть, чтобы наклонные стороны соединялись вместе под прямым углом, чтобы придать нижней части углубленных рельефов нулевую ширину. Эти компоновки имеют эффект регулирования потока даже при очень низких скоростях потока, несмотря на капиллярные силы, которые могут вызывать задержку жидкости, временно накапливающуюся в виде капель, или за счет небольшого зависания на переливе и разбрызгивания потока; предложенная здесь конструкция смесительного перелива, ограниченного ломаной линией, образующей множество рельефов, обеспечивает малую или минимальную ширину потока для жидкости с низким расходом, если она едва находится на уровне перелива, что снижает влияние капиллярных сил и имеет тенденцию поддерживать постоянный поток.

[55]

Аналогичная компоновка с краем перелива в виде ломаной линии с той же целью характеризует перелив 24 тяжелой фазы, а также характеризует перелив 18 легкой фазы, который будет подробно описан ниже. Кроме того, открытая конструкция выпускных каналов 14 и 15 также преследует одну и ту же цель уменьшения влияния капиллярных сил и регулирования потоков.

[56]

На фиг.5 показан опорный подшипниковый блок 38, поддерживающий перемешивающее устройство 39 с вертикальными лопастями, которое может быть размещено на верхнем крае 40 смесительной камеры 33 в фиксированном угловом положении благодаря вертикальному штифту 37; и двигатель 41, который может быть размещен на верхнем крае опорного подшипникового блока 38 таким образом, чтобы вращать перемешивающее устройство 39, когда оно включено, при этом перемешивающее устройство 39 проникает в смесительную камеру 33 в этот момент, чтобы смешивать жидкие фазы и создавать эмульсию.

[57]

Два других элемента оборудования также могут быть установлены в экстракторе путем вставки с верхней стороны 7. Первый входит в отстойную камеру 9, обозначен общей поз.42 (фиг.6), и может содержать опускаемую пластину 43, а также две коалесцентные сетки 44 и 45, каждая из которых соединена с верхней пластиной 46. В показанном состоянии опускаемая пластина 43 расположена вертикально и прилегает к смесительной камере 8; его функция состоит в том, чтобы заставить смесь поступать в отстойную камеру 9 через середину. Коалесцентные сетки 44 и 45, как указывает их название, предназначены для содействия слиянию той из фаз, которая находятся в эмульсии в другой фазе, таким образом, обеспечивая четкое разделение тяжелой фазы и легкой фазы и их наложение в отстойной камере 9. Одна из коалесцентных сеток 44 может быть гидрофобной, а другая гидрофильной, чтобы способствовать коалесценции органической фазы (в общем, легкой фазы), а также водной фазы (в общем, тяжелой фазы) в соответствии с категорией эмульсии. В качестве альтернативы можно использовать две коалесцентные сетки для коалесценции для фаз в эмульсиях, которые трудно восстановить. Коалесцентные сетки 44 и 45 также расположены вертикально, параллельно опускаемой пластине 43 и продолжаются к середине отстойной камеры 9 в любом порядке. Вытяжной язычок 47, поднимающийся вверх и прикрепленный к верхней пластине 46, добавлен, чтобы можно было манипулировать оборудованием.

[58]

Другой съемный элемент оборудования показан на фиг.7 и состоит из рециркуляционного насоса 48, который используется в некоторых способах и используется для частичного возврата одной из фаз, в данном случае тяжелой фазы, в смесительную камеру 8. Рециркуляционный насос 48 установлен на горизонтальной консоли 49, прикрепленной к задней стороне 5 блока 1 и выступающей назад (однако для ясности показан рециркуляционный насос 48, поднятый над консолью 49). Он оснащен вертикальной всасывающей трубой 50 и вертикальной выпускной трубой 51, способной проникать, соответственно, в выпускной колодец 17 тяжелой фазы для всасывания в нем потока и в вертикальный рециркуляционный колодец 52, выполненный в блоке 1 рядом со смесительной камерой 8. Рециркуляционный колодец 52, как и каналы 10 и 11 ввода тяжелой фазы и легкой фазы, ведет в смесительную камеру 8, и жидкости, которые следуют за ними, затем поступают в смесительную камеру 34 через нижнее отверстие 36.

[59]

На фиг.8 показано, что выпускной канал легкой фазы 15 находится на другом уровне по сравнению с переливом 18 легкой фазы. Перелив легкой фазы в данном случае осуществляется с помощью края перелива, пересекаемого потоком жидкости и образованным ломаной линией, образуя горизонтальные нижние участки и наклонные участки и, таким образом, выступающие плоские верхние рельефы, чередующиеся с треугольными углублениями, сужающимися вниз.

[60]

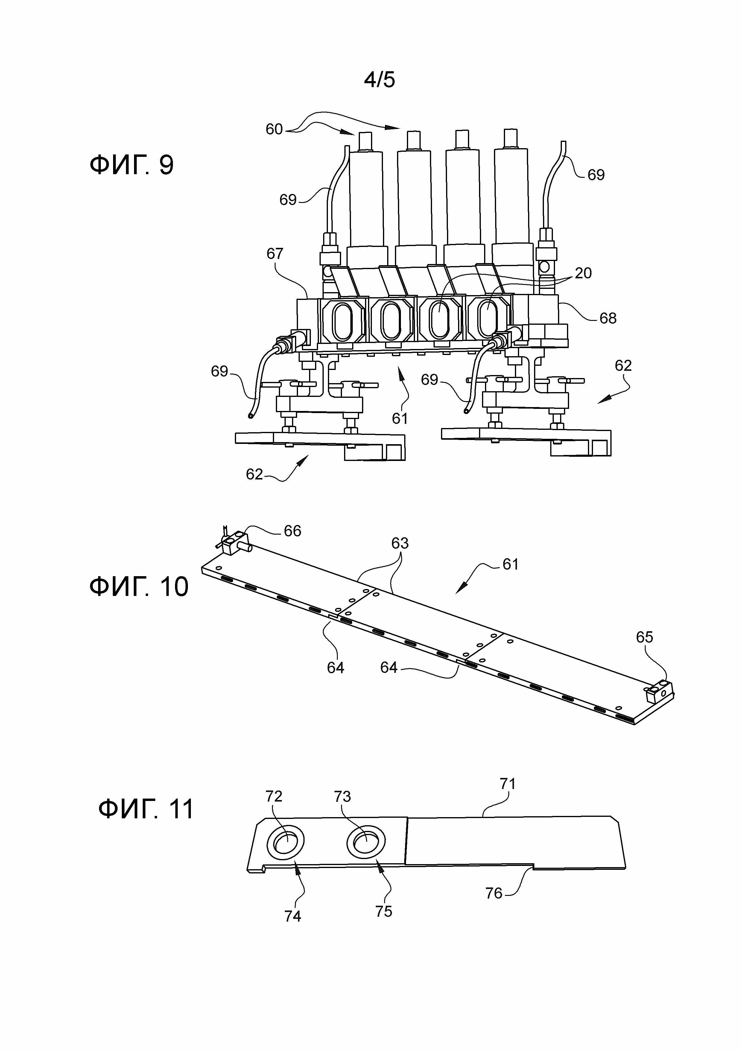
Другой аспект изобретения будет теперь описан с использованием последних фиг.9-13 настоящего описания, на которых показана сборка экстракторов 60, описанная до сих пор, для формирования экстракционной батареи.

[61]

Такая батарея показана на фиг.9. Экстракторы 60 расположены бок о бок на плоской опорном рельсе 61, концы которого установлены на опорах 62. Следует отметить, что смотровые отверстия 20 выровнены на одной стороне батареи, чтобы обеспечить быстрое общее изучение способов, выполняемых в батарее. Такая компоновка обусловлена, в частности, расположением взаимно выровненных смесительных камер 8 и взаимно выровненных отстойных камер 9, параллельных опорному рельсу, и каналами тяжелой фазы 14 и легкой фазы 15, довольно длинным и параллельными боковым сторонам 2 и 3, через которые происходит сборка экстракторов 60, так что впускной и выпускной каналы каждой из фаз выходят из блока 1 в положениях, выровненных в направлении, перпендикулярном боковым сторонам 2 и 3, и параллельном опорному рельсу 61; в то время как обычная компоновка экстракторов батареи является поперечной, с камерами для смешивания и отстаивания, чередующимися по двум параллельным линиям, что позволяет использовать выпускные каналы для жидкой фазы, которые короче и почти перпендикулярны боковым сторонам (как впускные каналы 10 и 11 в данном документе), но, следовательно, с тем недостатком, что полный контроль оседания каскадов больше невозможен.

[62]

На фиг.10 показано, что опорный рельс 61 может состоять из любого количества отдельных пластин 63, собранных друг с другом путем привинчивания и фиксации формы в месте их соединения 64. Концы опорного рельса имеют противоположные упоры 65 и 66, один (66) из которых по меньшей мере может содержать шпиль для затягивания батареи, во избежание разделения ее элементов и для обеспечения герметизации каналов 10-13. Помимо экстракторов 60, батарея содержит на своих концах и, следовательно, в контакте со стопорами 65 и 66, два концевых модуля 67 и 68, которые также имеют форму параллелепипеда и содержат входные и выходные соединения, в общем, обозначенные поз. 69, фаз, ведущих к остальным их контурам циркуляции. Концевые модули 67 и 68 сообщаются по текучей среде с впускным и выпускным каналами соседнего экстрактора 60. Сцепление батареи также обеспечивается участками ползунов и рельефов 70 (показанных на фиг.2) для перемещения экстракторов 60 на опорном рельсе 61, но без возможности их подъема. Аналогичная система предусмотрена на концевых модулях 67 и 68. В дополнение к этому, батарея комплектуется (фиг.11) разделительными пластинами 71 между экстракторами 60, которые снабжены двумя опорными уплотнениями 74 и 75 с отверстиями 72 и 73. Разделительные пластины 71 снабжены нижней канавкой 76, которая регулируется на опорной направляющей 61 и позволяет удерживать их в нужном положении на ней. При выполнении затяжки впускные и выпускные проходы 10-13 экстракторов 60 продолжаются друг с другом с отверстиями 72 и 73 между ними и уплотнениями 74 и 75 вокруг них, что гарантирует герметичность жидкостных контуров.

[63]

Наконец, мы обратим внимание на возможность регулировки температуры жидких фаз. Это может быть достигнуто путем циркуляции хладагента через экстракторы 60. Один вариант осуществления, показанный на фиг.12, может содержать, в блоке 77 немного более объемном, чем блок 1, описанный выше, каналы для подачи хладагента, содержащие впускной проход 78 для хладагента, расположенный около задней стороны 5, выпускной проход 79 для хладагента, также расположенный около задней стороны 5 и соединяющий впускным и выпускным проходы 78 и 79, внутренний канал, последовательно содержащий первый нисходящий участок 80, продольный участок 81, расположенный около нижней стороны 6 и направленный к передней стороны 4, второй продольный участок 82, который направляет жидкость обратно к задней стороны 5, параллельно и в противоположном направлении к первому продольному участку 81, и восходящий участок 83. Продольные участки 81 и 82 разделены перегородкой 84. Они пропускают хладагент ниже смесительных камер 8 и отстойных камер 9.

[64]

Другая возможность упоминается в отношении фиг.13. Регулировка температуры может осуществляться каждой пластиной 63 опорного рельса 61, которая снабжена полостью 85, открывающейся, например, на ее нижней стороне, и которая заполняется плоским нагревательным матом 86, снабженный соединениями с внешней стороной 87. Крышка 88 прикручивается для того, чтобы закрыть полость 85 и удерживать в ней нагревательный мат 86.

Как компенсировать расходы
на инновационную разработку
Похожие патенты