патент
№ RU 2834932
МПК A01D41/127

СЕЛЬСКОХОЗЯЙСТВЕННАЯ УБОРОЧНАЯ МАШИНА И СПОСОБ ОПРЕДЕЛЕНИЯ ПАРАМЕТРОВ СЕЛЬСКОХОЗЯЙСТВЕННОЙ КУЛЬТУРЫ ПРИ УБОРКЕ УРОЖАЯ ТАКОЙ СЕЛЬСКОХОЗЯЙСТВЕННОЙ УБОРОЧНОЙ МАШИНОЙ

Авторы:
БАРТЕР, Марвин (DE) ХОЙФЕКЕС, Майк (DE) ВИТТЕ, Йоханн (DE)
Все (6)
Номер заявки
2021118298
Дата подачи заявки
23.06.2021
Опубликовано
18.02.2025
Страна
RU
Дата приоритета
15.12.2025
Номер приоритета
Страна приоритета
Как управлять
интеллектуальной собственностью
Чертежи 
3
Реферат

[111]

Группа изобретений относится к сельскому хозяйству. Сельскохозяйственная уборочная машина, в частности зерноуборочный комбайн или полевой измельчитель, содержит по меньшей мере один рабочий агрегат для уборки урожая и для обработки сельскохозяйственной культуры урожая, устройство управления, содержащее измерительную систему, расположенную, по меньшей мере частично, на транспортировочном пути сельскохозяйственной культуры, для анализа структуры и/или составных частей сельскохозяйственной культуры. Сельскохозяйственную культуру при работе уборочной машины транспортируют вдоль транспортировочного пути сельскохозяйственной культуры через уборочную машину в потоке сельскохозяйственной культуры. Измерительная система имеет первый пассивный оптический датчик для регистрации света в диапазоне длин волн в поле обзора. Измерительная система в процессе измерения регистрирует получаемые от первого оптического датчика в указанном диапазоне длин волн элементы изображения, отображающие сельскохозяйственную культуру в первом массиве потока сельскохозяйственной культуры. Измерительная система содержит второй не пассивно-оптический, в частности неоптический, датчик для регистрации данных, получаемых от этого датчика в поле измерения. Измерительная система в процессе измерения регистрирует получаемые от второго датчика измеренные значения, отображающие сельскохозяйственную культуру во втором массиве потока сельскохозяйственной культуры. Уборочная машина содержит анализатор для определения параметра сельскохозяйственной культуры, относящегося, в частности, к структуре и/или составным частям сельскохозяйственной культуры. Первый и второй массивы, по меньшей мере, частично перекрывают друг друга в массиве перекрытия. Анализатор в процессе анализа соотносит друг с другом элементы изображения, получаемые от первого датчика в массиве перекрытия, и измеренные значения, получаемые от второго датчика в массиве перекрытия, и таким образом определяет параметр сельскохозяйственной культуры. Способ определения параметров сельскохозяйственной культуры при уборке урожая сельскохозяйственной уборочной машиной, с помощью которой убирают урожай и обрабатывают сельскохозяйственную культуру, причём посредством оптической измерительной системы выполняют процесс измерения для анализа структуры и/или составных частей сельскохозяйственной культуры и посредством анализатора выполняют процесс анализа для определения параметра сельскохозяйственной культуры, относящегося, в частности, к структуре и/или составным частям сельскохозяйственной культуры. Обеспечивается оптимизация определения параметров сельскохозяйственной культуры. 2 н. и 9 з.п. ф-лы, 3 ил.

Формула изобретения

1. Сельскохозяйственная уборочная машина, в частности зерноуборочный комбайн (1) или полевой измельчитель, содержащая по меньшей мере один рабочий агрегат (2) для уборки урожая (3) и для обработки сельскохозяйственной культуры (4) урожая (3), причём сельскохозяйственную культуру (4) при работе уборочной машины транспортируют вдоль транспортировочного пути сельскохозяйственной культуры через уборочную машину в потоке сельскохозяйственной культуры, устройство (8) управления, содержащее измерительную систему (9), расположенную, по меньшей мере частично, на транспортировочном пути (5) сельскохозяйственной культуры, для анализа структуры и/или составных частей сельскохозяйственной культуры (4),

причём измерительная система (9) имеет первый пассивный оптический датчик (10) для регистрации света в диапазоне длин волн в поле (11) обзора,

причём измерительная система (9) в процессе измерения регистрирует получаемые от первого оптического датчика (10) в указанном диапазоне длин волн элементы изображения, отображающие сельскохозяйственную культуру (4) в первом массиве (A1) потока сельскохозяйственной культуры,

при этом уборочная машина содержит анализатор (12) для определения параметра сельскохозяйственной культуры, относящегося, в частности, к структуре и/или составным частям сельскохозяйственной культуры (4), отличающаяся тем,что

измерительная система (9) содержит второй не пассивно-оптический, в частности неоптический, датчик (13) для регистрации данных, получаемых от этого датчика в поле (14) измерения,

при этом измерительная система (9) в процессе измерения регистрирует получаемые от второго датчика (13) измеренные значения, отображающие сельскохозяйственную культуру (4) во втором массиве (A2) потока сельскохозяйственной культуры,

при этом первый и второй массивы (A1, A2), по меньшей мере, частично перекрывают друг друга в массиве (U) перекрытия, и при этом анализатор (12) в процессе анализа соотносит друг с другом элементы изображения, получаемые от первого датчика (10) в массиве (U) перекрытия, и измеренные значения, получаемые от второго датчика (13) в массиве (U) перекрытия, и таким образом определяет параметр сельскохозяйственной культуры.

2. Машина по п. 1, отличающаяся тем, что первый датчик (10) выполнен с возможностью регистрации света в поле (11) обзора с пространственным разрешением,

при этом измерительная система (9) в процессе измерения регистрирует с пространственным разрешением получаемые от первого датчика (10) в диапазоне длин волн элементы изображения, отображающие первый массив (A1) сельскохозяйственной культуры (4), и/или

второй датчик (13) выполнен с возможностью регистрации с пространственным разрешением данных, получаемых от этого датчика в поле (14) измерения, при этом измерительная система (9) в процессе измерения регистрирует с пространственным разрешением измеренные значения, получаемые от второго датчика (13) и отображающие второй массив (A2) сельскохозяйственной культуры (4), при этом, предпочтительно, анализатор (12) в процессе анализа определяет параметр сельскохозяйственной культуры с пространственным разрешением.

3. Машина по п. 1 или 2, отличающаяся тем,что второй датчик (13) содержит по меньшей мере один электромагнитный чувствительный элемент (15),

при этом измерительная система в процессе измерения регистрирует измеренные значения, получаемые от второго датчика (13) и отображающие по меньшей мере одно электрическое и/или магнитное свойство второго массива (A2) сельскохозяйственной культуры,

при этом, предпочтительно, таким электрическим свойством является импеданс, и/или ёмкость, и/или индуктивность, и/или сопротивление, и/или характеристика электрического поля, в частности диэлектрическая проницаемость или проводимость, и/или таким магнитным свойством является характеристика магнитного поля, в частности магнитная проницаемость.

4. Машина по одному из предыдущих пунктов, отличающаяся тем,что по меньшей мере один электромагнитный чувствительный элемент (15) второго датчика (13) представляет собой ёмкостный электрод,

при этом, предпочтительно, измерительная система (9) использует второй датчик (13) в процессе измерения как бесконтактный датчик,

причём далее, предпочтительно, измерительная система в процессе измерения с помощью второго датчика (13) измеряет электрическое свойство ёмкостным способом, в частности проекционно-ёмкостным способом.

5. Машина по одному из предыдущих пунктов, отличающаяся тем,что первый датчик (10) выполнен с возможностью регистрации видимого и/или невидимого света из по меньшей мере одного видимого и/или невидимого диапазона длин волн в поле (11) обзора,

при этом, предпочтительно, первый датчик (10) представляет собой камеру, в частности RGB-камеру, или

первый датчик (10) представляет собой мультиспектральную камеру или гиперспектральную камеру.

6. Машина по одному из предыдущих пунктов, отличающаяся тем,что измерительная система (9) содержит корпус (16),

при этом, предпочтительно, первый датчик (10) и второй датчик (13) расположены в корпусе (16).

7. Машина по одному из предыдущих пунктов, отличающаяся тем,что измерительная система (9) имеет прозрачное окно (17),

при этом, предпочтительно, свет, исходящий от сельскохозяйственной культуры (4) и принимаемый первым оптическим датчиком (10), проходит через прозрачное окно (17) и, предпочтительно, проходит от прозрачного окна (17) к первому оптическому датчику (10) полностью внутри корпуса (16).

8. Машина по п. 7, отличающаяся тем,что по меньшей мере один электромагнитный чувствительный элемент (15) второго датчика (13) расположен на прозрачном окне (17),

при этом, предпочтительно, по меньшей мере один электромагнитный чувствительный элемент (15) второго датчика (13), расположенный на прозрачном окне (17), расположен внутри или снаружи поля (11) обзора, и/или

поле (11) обзора и поле (14) измерения по меньшей мере частично пространственно перекрывают друг друга.

9. Машина по одному из предыдущих пунктов, отличающаяся тем,что сельскохозяйственная уборочная машина содержит зерноподъёмник (27), при этом первый оптический датчик (10), и/или второй оптический датчик (13), и/или прозрачное окно (17), и/или корпус (16) расположены на зерноподъёмнике (27), в частности под ним, и/или

массив (U) перекрытия является частью нижней или верхней стороны потока сельскохозяйственной культуры вдоль транспортировочного пути (5) сельскохозяйственной культуры.

10. Машина по одному из предыдущих пунктов, отличающаяся тем, что параметр сельскохозяйственной культуры относится к доле зерна, и/или к доле битого зерна, и/или к доле незерновой фракции, в частности к доле верхушек колосьев, и/или к доле необмолоченных компонентов, и/или к доле соломы, и/или к доле кусочков стеблей, и/или к доле оболочки, и/или к влажности зерна, и/или к влажности соломы, и/или к составной части сельскохозяйственной культуры (4), в частности к содержанию белка и/или к содержанию крахмала.

11. Способ определения параметров сельскохозяйственной культуры при уборке урожая сельскохозяйственной уборочной машиной по одному из предыдущих пунктов, согласно которому с помощью этой сельскохозяйственной рабочей машины убирают урожай (3) и обрабатывают сельскохозяйственную культуру (4),

причём посредством оптической измерительной системы (9) выполняют процесс измерения для анализа структуры и/или составных частей сельскохозяйственной культуры (4) и

посредством анализатора (12) выполняют процесс анализа для определения параметра сельскохозяйственной культуры (4), относящегося, в частности, к структуре и/или составным частям сельскохозяйственной культуры (4).

Описание

[1]

Область техники, к которой относится изобретение

[2]

Изобретение относится к сельскохозяйственной уборочной машине согласно ограничительной части пункта 1 формулы изобретения и к способу эксплуатации сельскохозяйственной уборочной машины согласно пункту 11 формулы изобретения.

[3]

Уровень техники

[4]

Сельскохозяйственные уборочные машины, к которым относятся зерноуборочный комбайн и полевой измельчитель, убирают урожай в поле и обрабатывают полученную таким образом сельскохозяйственную культуру разными рабочими агрегатами. Принципиально важно заметить, что уже сам урожай может иметь разное качество. Однако частично на качество сельскохозяйственной культуры все же еще можно повлиять в процессе уборки урожая. В частности, большое значение имеет разделение зерновых и незерновых компонентов. Поэтому важно - с одной стороны, для непосредственной корректировки процесса уборки урожая, а с другой стороны, в качестве информации и для целей документирования - определять качество или, в более общем смысле, параметры урожая сельскохозяйственной культуры.

[5]

В известной сельскохозяйственной уборочной машине (ЕР 2826356 А1), из которой исходит изобретение, при работе уборочной машины сельскохозяйственную культуру транспортируют вдоль транспортировочного пути сельскохозяйственной культуры через уборочную машину. Машина имеет устройство управления, содержащее измерительную систему, расположенную, по меньшей мере, частично на транспортировочном пути сельскохозяйственной культуры и предназначенную для анализа структуры и/или составных частей сельскохозяйственной культуры. Измерительная система имеет оптический датчик для регистрации видимого света с пространственным разрешением в видимом диапазоне длин волн в поле обзора. В процессе измерения эта измерительная система регистрирует получаемые от оптического датчика в видимом диапазоне длин волн элементы изображения, отображающие некоторый массив сельскохозяйственной культуры. В известной сельскохозяйственной уборочной машине оптический датчик представляет собой стандартную камеру. Далее, уборочная машина имеет анализатор для определения параметра сельскохозяйственной культуры.

[6]

Принципиально важно отметить, что также известно использование неоптических датчиков для измерения различных параметров сельскохозяйственной культуры. Особо следует здесь отметить измерение влажности или измерение объемного потока. Принципиально важно при этом, что каждое измерительное устройство имеет свои преимущества и недостатки. В частности, оптические измерения с помощью камер являются экономичными и универсальными. Однако они быстро наталкиваются на свои границы при измерении физических свойств сельскохозяйственной культуры. Так, например, можно оптически отличить оболочку зерна от самого зерна, но трудно или даже невозможно определить, есть внутри этой оболочки зерно или она пустая.

[7]

Раскрытие сущности изобретения

[8]

В основе изобретения лежит задача таким образом развить и усовершенствовать известную сельскохозяйственную уборочную машину, чтобы оптимизировать определение параметров сельскохозяйственной культуры.

[9]

Вышеуказанная задача решена в сельскохозяйственной уборочной машине согласно ограничительной части пункта 1 формулы изобретения благодаря признакам отличительной части пункта 1 формулы изобретения.

[10]

Существенным моментом является основополагающая идея пространственной комбинации пассивного оптического измерения с помощью первого, пассивного оптического датчика и дальнейшего измерения с помощью второго, не пассивно-оптического датчика. Суть данной комбинации состоит при этом в проведении измерения в некотором массиве перекрытия сельскохозяйственной культуры. Т.е. один и тот же массив сельскохозяйственной культуры анализируют с помощью двух способов измерения, результаты измерений соотносят друг с другом, и параметр сельскохозяйственной культуры определяют на основе обоих измерений. Это позволяет эффективно устранить недостаток оптического измерения при определении физических свойств в одной и той же области измерения, т.е. в массиве перекрытия.

[11]

В частности, предложено, что измерительная система содержит второй, не пассивно-оптический, в частности неоптический, датчик для регистрации данных, получаемых от этого датчика в поле измерения, при этом измерительная система в процессе измерения регистрирует получаемые от второго датчика измеренные значения, отображающие сельскохозяйственную культуру во втором массиве потока сельскохозяйственной культуры, при этом первый и второй массивы по меньшей мере частично перекрывают друг друга в массиве перекрытия и при этом анализатор в процессе анализа соотносит друг с другом элементы изображения, получаемые от первого датчика в массиве перекрытия, и измеренные значения, получаемые от второго датчика в массиве перекрытия, и таким образом определяет параметр сельскохозяйственной культуры.

[12]

Особенно предпочтительной формой осуществления изобретения согласно пункту 2 формулы изобретения является измерение с обеспечением пространственного разрешения с помощью первого и/или второго датчика. Эти варианты осуществления изобретения особенно интересны с разных аспектов. С одной стороны, камеры, обеспечивающие пространственное разрешение, являются недорогими. С другой стороны, преимущества оптических датчиков особенно проявляются при измерениях с пространственным разрешением благодаря наличию большого количества алгоритмов обработки изображений. Поскольку многие параметры сельскохозяйственной культуры также пространственно очень неоднородны, то именно измерения, обеспечивающие пространственное разрешение, с использованием обоих датчиков имеют особое значение. Так, например, оптическое измерение может позволить отличить оболочку зерна от самого зерна, а дальнейшее измерение при соответственно высоком пространственном разрешении может показать, содержит эта оболочка зерно или она пустая. Уже этот пример показывает, какие совершенно новые возможности анализа открывает двойное измерение с пространственным разрешением.

[13]

Другим особенно предпочтительным вариантом осуществления изобретения является объект пункта 3 формулы изобретения. В соответствии с ним второй датчик может содержать по меньшей мере один электромагнитный чувствительный элемент. С помощью этого электромагнитного чувствительного элемента можно определить по меньшей мере одно электрическое или магнитное свойство сельскохозяйственной культуры. Зерновые и незерновые компоненты иногда имеют сильно различающиеся электрические и магнитные свойства. Поскольку электромагнитные измерения часто можно провести экономично, сравнительно просто и надежно, то большой объем данных может быть получен с небольшими затратами.

[14]

Согласно пункту 4 формулы изобретения по меньшей мере один электромагнитный чувствительный элемент может быть емкостным электродом. Дополнительно или альтернативно второй датчик может действовать бесконтактно. Бесконтактные емкостные измерения находят применение уже во многих областях. Например, в секторе смартфонов доступны уже технически хорошо отработанные емкостные электроды, которые могут быть использованы как основа для данной разработки. Именно емкостные электроды также обеспечивают высокое пространственное разрешение. В частности, это позволяет анализировать отдельные зерна и незерновые компоненты.

[15]

В пункте 5 формулы изобретения приведены предпочтительные варианты осуществления первого датчика.

[16]

В пунктах 6-8 формулы изобретения раскрыты возможности расположения датчиков относительно друг друга и остальных компонентов сельскохозяйственной уборочной машины. Особенно интересна при этом возможность создания прозрачного окна, пропускающего воспринимаемый первым датчиком свет и одновременно предназначенного для размещения второго датчика. В частности, в комбинации с емкостным измерением оптические и емкостные измерения могут быть выполнены, таким образом, с помощью техники, подобной сенсорному экрану, в одном и том же месте. Благодаря этому, соответствующие результаты измерений могут быть прямо сопоставлены и использованы для совместного анализа.

[17]

Пункт 9 формулы изобретения относится к предпочтительным местам измерения. В пункте 10 формулы изобретения приведены предпочтительно определяемые параметры сельскохозяйственной культуры.

[18]

В соответствии с дальнейшим вариантом осуществления изобретения согласно пункту 11 формулы изобретения, имеющему самостоятельное значение, заявлен способ эксплуатации предлагаемой сельскохозяйственной уборочной машины. Можно сослаться на все варианты осуществления изобретения, касающиеся предлагаемой сельскохозяйственной уборочной машины.

[19]

Краткое описание чертежей

[20]

Далее изобретение пояснено более подробно с помощью чертежа, представляющего только примеры вариантов осуществления изобретения.

[21]

На чертеже показано

[22]

Фиг. 1 схематичный вид сбоку зерноуборочного комбайна как предлагаемой сельскохозяйственной уборочной машины,

[23]

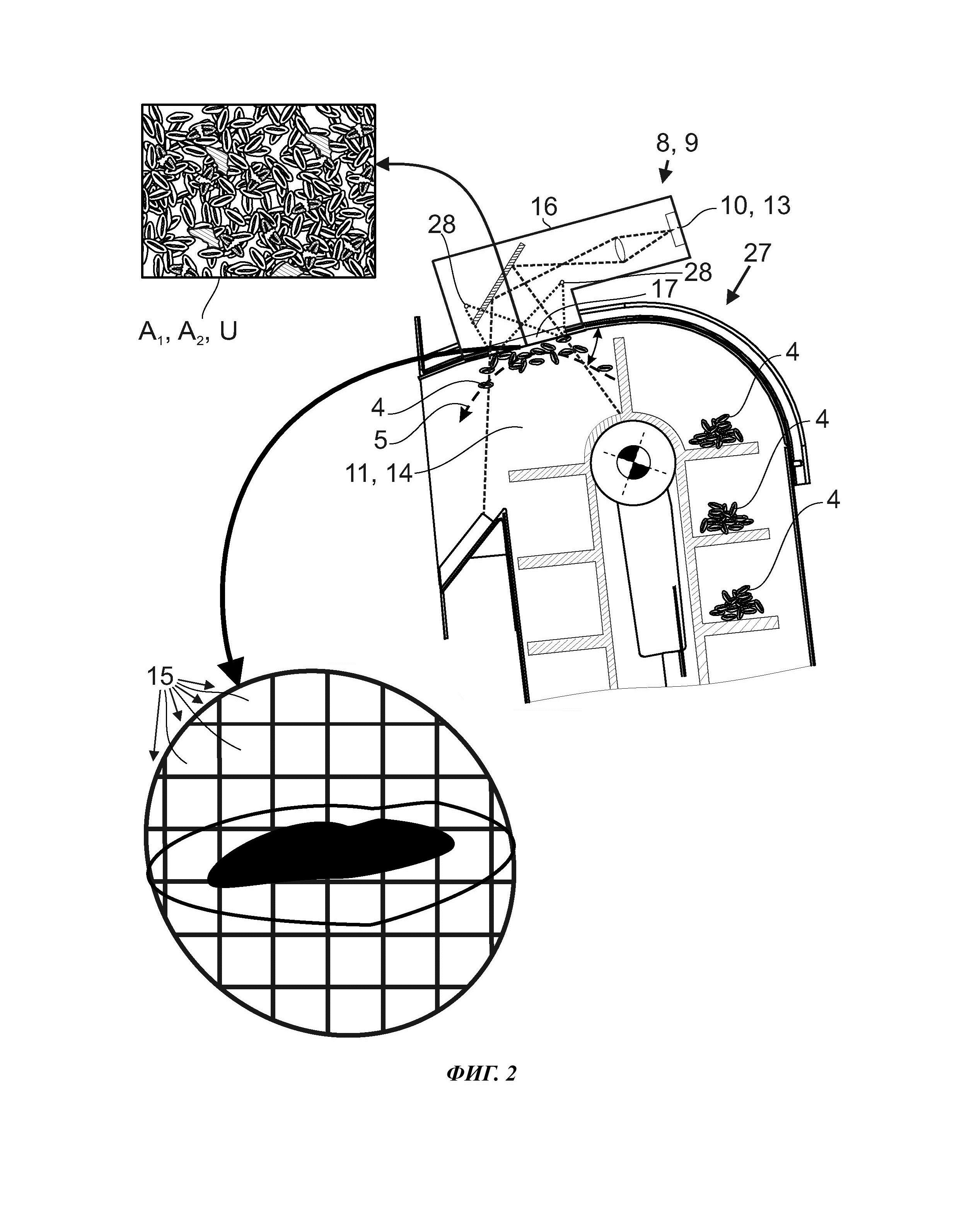
Фиг. 2 схематичный вид сбоку зерноподъемника зерноуборочного комбайна по фиг.1 с предлагаемой оптической измерительной системой и

[24]

Фиг. 3 два возможных расположения электромагнитных чувствительных элементов по отношению к полю обзора.

[25]

Осуществление изобретения

[26]

Показанная на фиг. 1 сельскохозяйственная уборочная машина, здесь преимущественно являющаяся зерноуборочным комбайном 1, имеет по меньшей мере один рабочий агрегат 2 для уборки урожая 3 и для обработки сельскохозяйственной культуры 4 урожая 3. Другой предпочтительной уборочной машиной является полевой измельчитель. При работе уборочной машины поток сельскохозяйственной культуры 4 транспортируют вдоль транспортировочного пути 5 сельскохозяйственной культуры через уборочную машину.

[27]

Во время транспортировки через уборочную машину сельскохозяйственная культура 4 образует поток сельскохозяйственной культуры. Здесь под термином "поток сельскохозяйственной культуры" понимают поток частей растений урожая 3, подлежащих обработке на транспортировочном пути 5 сельскохозяйственной культуры. Этот транспортировочный путь 5 сельскохозяйственной культуры начинается здесь и предпочтительно, особенно у зерноуборочного комбайна 1, на режущем аппарате 6 и в любом случае доходит до зернового бункера 7. Поток сельскохозяйственной культуры можно разделить на главный поток сельскохозяйственной культуры и мелкие частичные потоки сельскохозяйственной культуры. Термин "главный поток сельскохозяйственной культуры" означает тогда ту часть потока сельскохозяйственной культуры, которая содержит преобладающую часть сельскохозяйственной культуры 4, приведенную ко всему транспортировочному пути 5 сельскохозяйственной культуры. При этом не учитываются небольшие частичные потоки сельскохозяйственной культуры, отводимые для целей анализа.

[28]

Сельскохозяйственная уборочная машина имеет устройство 8 управления, содержащее измерительную систему 9, расположенную на транспортировочном пути сельскохозяйственной культуры и предназначенную для анализа сельскохозяйственной культуры 4. Анализ сельскохозяйственной культуры включает в себя анализ структуры (доля неповрежденного зерна, доля битого зерна, доля незерновой фракции и т.д.) сельскохозяйственной культуры в потоке сельскохозяйственной культуры и/или анализ составных частей (содержание влаги, белка, крахмала, сахара, жира и т.д.) определенных растительных компонентов в потоке сельскохозяйственной культуры, в частности зерна.

[29]

Измерительная система 9 имеет первый, пассивный оптический датчик 10 для регистрации света в некотором диапазоне длин волн в первом поле 11 обзора.

[30]

Под пассивными оптическими датчиками здесь понимают оптические датчики, принципиально только принимающие окружающий свет. При этом, конечно, не исключено, что измерительная система 9 активно излучает свет, как будет также еще объяснено со ссылкой на пример варианта осуществления изобретения. Однако важно при этом отметить, что само излучение не является частью измерения. Поэтому, например, системы лазерного сканирования, такие как LIDAR, у которых использование окружающего света несовместимо с датчиком, не считаются пассивными. Напротив, специфическая, в т.ч. последовательная подсветка измеряемой области, при которой измерительное устройство могло бы быть использовано также с фильтром, в данном случае может быть привязана к пассивным оптическим датчикам.

[31]

Все светочувствительные датчики, в частности датчики, основанные на фотоэффекте, считаются оптическими датчиками. При этом здесь действует широкое определение оптики и света, поэтому как инфракрасное излучение, так и ультрафиолетовое излучение также считаются светом и частью оптики.

[32]

Термин "поле обзора" относится к тому трехмерному пространству, из которого свет может попадать на оптический датчик через соответствующую оптику. Для термина "поле обзора" общеупотребительным английским аналогом считается "Field of View". Поле измерения аналогично тому трехмерному пространству, из которого могут быть получены измеренные значения.

[33]

В процессе измерения оптическая измерительная система 9 регистрирует получаемые от первого оптического датчика 10 в определенном диапазоне длин волн элементы изображения, отображающие сельскохозяйственную культуру 4 на первом массиве A1 потока сельскохозяйственной культуры. Термин "элементы изображения" следует при этом понимать широко, и он в целом относится к данным, получаемым от оптического датчика. Массив сельскохозяйственной культуры 4 - это часть сельскохозяйственной культуры 4, видимая оптическим датчиком в момент регистрации. Т.е. речь идет о нескрытой части сельскохозяйственной культуры 4, находящейся в поле 11 обзора.

[34]

Уборочная машина имеет далее анализатор 12 для определения параметра сельскохозяйственной культуры, в частности относящегося к структуре и/или к составным частям сельскохозяйственной культуры 4.

[35]

Существенно также, что измерительная система 9 имеет второй, непассивно-оптический, в частности неоптический, датчик 13 для регистрации данных, получаемых от этого датчика в поле 14 измерения. В процессе измерения измерительная система 9 регистрирует измеренные значения, получаемые от второго датчика 13 и отображающие сельскохозяйственную культуру 4 на втором массиве А2 потока сельскохозяйственной культуры.

[36]

Второй датчик 13 может быть основан на непассивном оптическом измерительном устройстве, использующем, в частности, лазерное сканирование, такое как LIDAR. Преимущественно, однако, второй датчик 13 базируется на неоптическом измерительном устройстве. Здесь принципиально важно, что могут быть использованы все измерительные устройства, которыми можно определить параметры сельскохозяйственной культуры или на базе измерений которых можно вывести параметры сельскохозяйственной культуры. В частности, можно рассматривать для этого механические измерительные устройства. Эти механические измерительные устройства преимущественно могут быть использованы для измерения температуры и/или веса. Также возможны акустические измерительные устройства, применяющие, в частности, ультразвук. Также предпочтительными представляются измерительные устройства, основанные на электромагнитных волнах вне оптического диапазона, в частности радарные или рентгеновские. Также возможны электрохимические измерительные устройства. Кроме того, можно рассматривать и другие измерительные устройства для измерения температуры или влажности.

[37]

Предпочтительными являются электрические измерительные устройства, в частности термоэлектрические, пьезоэлектрические, емкостные, индуктивные или резистивные измерительные устройства. Также предпочтительными являются магнитные измерительные устройства. К ним относятся, в частности, измерительные устройства для измерения магнитоупругих характеристик и измерительные устройства, основанные на магнитном резонансе.

[38]

Зависимость, связывающая соответствующие измеренные значения и подлежащий определению параметр сельскохозяйственной культуры, может быть определена экспериментально. Для всех названных измерительных устройств известны различные системы датчиков, которые по обстоятельствам с соответствующим, но приемлемым снижением точности могут быть использованы в сельскохозяйственных уборочных машинах.

[39]

Здесь и предпочтительно первый датчик 10 основан на фотоэлектрическом эффекте. Второй датчик 13 основан преимущественно на неоптическом измерительном устройстве, а не на фотоэлектрическом эффекте.

[40]

Второй массив А2 может быть двухмерным или трехмерным в зависимости от измерительного устройства. В большинстве случаев будет предпочтительным формировать второй массив А2 как относительно тонкий слой.

[41]

Первый и второй массивы А1, А2 по меньшей мере частично перекрывают друг друга на массиве U перекрытия. Анализатор 12 в процессе анализа соотносит друг с другом элементы изображения, получаемые от первого датчика 10 на массиве U перекрытия, и измеренные значения, получаемые от второго датчика 13 на том же массиве U перекрытия, и таким образом определяет параметр сельскохозяйственной культуры.

[42]

Термин "соотносит" здесь следует понимать широко. Принципиально чрезвычайно важно, что элементы изображения и измеренные значения, получаемые от первого датчика 10 и от второго датчика 13, здесь используют вместе для определения параметра сельскохозяйственной культуры и при этом их обрабатывают совместно для определения параметра сельскохозяйственной культуры. Для этого зависимости между этими данными могут быть определены, например, экспериментально.

[43]

Массив U перекрытия может быть сформирован при этом по времени и/или по пространству. Как еще будет объяснено со ссылкой на фиг. 3, разнесенное по времени измерение массива перекрытия может быть проведено, например, таким образом, что сельскохозяйственную культуру 4 транспортируют вдоль транспортировочного пути 5 сельскохозяйственной культуры и она сначала проходит мимо первого датчика 10 или второго датчика 13, а затем мимо соответствующего другого датчика 13, 10. Поскольку здесь и предпочтительно скорость потока сельскохозяйственной культуры известна анализатору 12, массив U перекрытия может быть рассчитан с помощью скорости потока сельскохозяйственной культуры в элементах изображения и в измеренных значениях. При пространственном формировании массива U перекрытия поле 11 обзора и поле 14 измерения перекрываются.

[44]

Само собой разумеется, что транспортировочный путь 5 сельскохозяйственной культуры проходит, по меньшей мере, частично через поле 11 обзора и поле 14 измерения. Здесь и предпочтительно массив U перекрытия относится к потоку сельскохозяйственной культуры и, в частности, к главному потоку сельскохозяйственной культуры. Однако статичное измерение представляется также полезным.

[45]

Примером предпочтительно определяемого параметра сельскохозяйственной культуры является доля незерновой фракции. После обмолота сельскохозяйственной культуры 4 как можно больше зерен должно быть отделено от их оболочки. Однако с помощью оптической измерительной системы очень трудно или даже невозможно определить, есть ли еще зерно в оболочке. Если в массиве U перекрытия обнаружена оболочка зерна, представляемая первым датчиком 10 только в двухмерном виде, то здесь и предпочтительно с помощью второго датчика 13 может быть получена трехмерная информация, относящаяся к содержимому этой оболочки. Так, абсолютная диэлектрическая проницаемость и абсолютная магнитная проницаемость у оболочки с зерном отличаются от таковых у оболочки без зерна. Например, относительная диэлектрическая проницаемость незерновых компонентов может быть около 1,5, а у зерен пшеницы - от 3 до 8. Здесь и предпочтительно эти области можно различить с помощью второго датчика.

[46]

Особенно интересно, когда элементы изображения и/или измеренные значения пространственно разрешены. Здесь и предпочтительно параметр сельскохозяйственной культуры может быть тогда определен на основе отдельных компонентов, в частности зерен и их оболочек, сельскохозяйственной культуры 4 с пространственным разрешением.

[47]

Соответственно, здесь и предпочтительно, первый датчик 10 установлен для регистрации света в поле 11 обзора с пространственным разрешением, при этом измерительная система 9 в процессе измерения регистрирует с пространственным разрешением получаемые от первого датчика 10 в определенном диапазоне длин волн элементы изображения, отображающие первый массив A1 сельскохозяйственной культуры 4. Дополнительно или альтернативно может быть предусмотрено, что второй датчик 13 установлен для регистрации с пространственным разрешением данных, получаемых от этого датчика в поле 14 измерения, при этом измерительная система 9 в процессе измерения регистрирует с пространственным разрешением измеренные значения, получаемые от второго датчика 13, отображающие второй массив А2 сельскохозяйственной культуры 4. Далее дополнительно или альтернативно анализатор 12 в процессе анализа определяет параметр сельскохозяйственной культуры с пространственным разрешением.

[48]

Термин " пространственное разрешение" означает в данном случае, что поле 11 обзора и/или поле 14 измерения соответствующего датчика 10, 13 подразделено на множество частичных полей обзора и/или частичных полей измерения, которые можно отличить друг от друга с использованием технологии измерения. Т.е. первый датчик 10 имеет по меньшей мере две точки изображения, которые, по меньшей мере, частично имеют разное частичное поле обзора. Точкой изображения является при этом двумерное отображение некоторого частичного поля обзора. Общеупотребительным английским аналогом для термина "точка изображения" считается "pixel" ("пиксель"). Аналогично второй датчик 13 имеет пространственно различимые точки измерения.

[49]

Здесь и предпочтительно второй датчик 13 имеет по меньшей мере один электромагнитный чувствительный элемент 15. Термин "электромагнитный" относится в данном случае к подлежащей измерению величине, являющейся электрической или магнитной величиной. В процессе измерения измерительная система 9 регистрирует преимущественно данные, получаемые от второго датчика 13 и отображающие по меньшей мере одно электрическое и/или магнитное свойство второго массива А2 сельскохозяйственной культуры 4. Эта регистрация происходит, соответственно, по меньшей мере через один из электромагнитных чувствительных элементов 15.

[50]

Таким электрическим свойством может быть импеданс и/или емкость, и/или индуктивность, и/или сопротивление, и/или некоторая характеристика электрического поля, в частности, диэлектрическая проницаемость или проводимость. Дополнительно или альтернативно таким магнитным свойством может быть некоторая характеристика магнитного поля, в частности, магнитная проницаемость. Соответствующее свойство необязательно должно при этом быть определено явно; достаточно, если оно только отображено результатами измерений, т.е. может быть рассчитано на их основе. По обстоятельствам может быть измерено также несколько свойств с помощью различных измерительных устройств.

[51]

По меньшей мере один электромагнитный чувствительный элемент 15 второго датчика 13 может быть емкостным электродом. Здесь и предпочтительно второй датчик 13 имеет множество емкостных электродов. Для этого может быть использована, в частности, техника сенсорных экранов. Соответственно, электромагнитные чувствительные элементы 15 второго датчика 13, в частности емкостные электроды, образуют здесь и предпочтительно некоторую решетку, выполняющую измерение, в частности значений емкости, с пространственным разрешением.

[52]

Измерительная система 9 может использовать второй датчик 13 в процессе измерения как бесконтактный датчик. В частности, у емкостных датчиков преимуществом является то, что для них не требуется прямой контакт с сельскохозяйственной культурой 4.

[53]

Может быть предусмотрено, что измерительная система 9 в процессе измерения с помощью второго датчика 13 измеряет электрическое свойство емкостным способом, в частности, проекционно-емкостным способом. При проекционно-емкостном измерении из двух проводящих пространственных структур, действующих, в частности, соответственно, как матрицы из конденсаторных электродов, формируют пространственную структуру, в частности, матрицу, из конденсаторов. Когда объект попадает в поле одного из конденсаторов, емкость и/или изменение емкости могут быть измерены с пространственным разрешением без прямого контакта объекта с этим конденсатором. Здесь и предпочтительно второй датчик 13 имеет по меньшей мере 10, далее предпочтительно по меньшей мере 100, еще более предпочтительно по меньшей мере 1000 электромагнитных чувствительных элементов 15.

[54]

На фиг.3 показаны две возможности формирования массива U перекрытия. На фиг. 3а) показано, что поле 11 обзора и поле 14 измерения в значительной степени пространственно перекрываются или являются даже идентичными. На фиг. 3b), напротив, поле 14 измерения расположено перед полем 11 обзора и за ним относительно направления транспортировки сельскохозяйственной культуры 4 вдоль транспортировочного пути 5 сельскохозяйственной культуры. Массив U перекрытия формируют затем смещением по времени моментов проведения измерения.

[55]

Первый датчик 10 может быть установлен для регистрации видимого и/или невидимого света из по меньшей мере одного видимого и/или невидимого диапазона длин волн в поле 11 обзора. Поскольку определения видимого диапазона длин волн иногда немного отличаются, следует уточнить, что в данном случае под видимым светом понимают диапазон длин волн от 380 нм до 780 нм.

[56]

Здесь и предпочтительно первый датчик 10 представляет собой камеру, в частности RGB-камеру. Альтернативно первый датчик 10 может быть мультиспектральной камерой или гиперспектральной камерой.

[57]

RGB-камера - это цветная камера, имеющая по меньшей мере один красный, по меньшей мере один зеленый и по меньшей мере один синий цветовой канал. Поэтому она может работать в трех различимых диапазонах длин волн. При этом обычно чувствительные элементы камеры разделены по диапазонам длин волн с помощью цветового фильтра, в частности по схеме Байера. Мультиспектральная камера обычно имеет по меньшей мере два различимых диапазона длин волн и обеспечивает пространственное разрешение. Гиперспектральная камера также обеспечивает пространственное разрешение и регистрирует спектр, содержащий не менее 50-ти различимых диапазонов длин волн на пиксель.

[58]

Здесь и предпочтительно измерительная система 9 имеет корпус 16. Здесь и предпочтительно первый датчик 10 и второй датчик 13 расположены в корпусе 16. Это относится здесь и предпочтительно ко всему датчику 10, 13. Альтернативно также только часть соответствующего датчика 10, 13 может быть расположена в корпусе 16, в частности все светопринимающие чувствительные элементы оптического датчика 10 и/или все электромагнитные чувствительные элементы 15 второго датчика 13 могут быть расположены в корпусе 16.

[59]

Измерительная система 9 может иметь прозрачное окно 17. Здесь и предпочтительно свет, исходящий от сельскохозяйственной культуры 4, т.е. из первого массива А1 сельскохозяйственной культуры 4, и принимаемый первым, оптическим датчиком 10, затем проходит через прозрачное окно 17 и преимущественно от прозрачного окна 17 к первому, оптическому датчику 10 полностью внутри корпуса 16. Это показано на фиг. 2. Соответственно, предпочтительно, что прозрачное окно 17 является частью корпуса 16. Прозрачное окно 17 может контактировать с сельскохозяйственной культурой 4.

[60]

Здесь и предпочтительно по меньшей мере один электромагнитный чувствительный элемент 15 второго датчика 13 расположен на прозрачном окне 17. По меньшей мере один электромагнитный чувствительный элемент 15 второго датчика 13, расположенный на прозрачном окне 17, может быть расположен внутри или снаружи поля 11 обзора. Дополнительно или альтернативно поле 11 обзора и поле 14 измерения могут, по меньшей мере, частично пространственно перекрывать друг друга.

[61]

Может быть предусмотрено, что прозрачное окно 17 расположено под транспортировочным путем 5 сельскохозяйственной культуры. В частности, если сельскохозяйственная культура 4, по крайней мере, временно, лежит на прозрачном окне 17 или при транспортировке контактирует с ним, то возможно особенно точное, в частности емкостное, измерение.

[62]

Возможность определения параметра сельскохозяйственной культуры дает то, что с помощью двух датчиков 10, 13 различные параметры сельскохозяйственной культуры и возмущающие факторы могут быть определены с разной точностью и с учетом их влияния друг на друга, что позволяет сформировать систему уравнений, в которой разные факторы, соответственно, вместе образуют результат измерения в соответствующем диапазоне длин волн. С достаточной уверенностью можно решить эту систему уравнений. Интересно также при этом отметить, что разные измерительные устройства могут иметь разную глубину проникновения в сельскохозяйственную культуру 4, благодаря чему соответственно могут быть измерены разные параметры сельскохозяйственной культуры и возмущающие факторы.

[63]

Здесь и предпочтительно, как показано с помощью приводимой в качестве примера RGB-камеры, первый оптический датчик 10 может быть расположен для регистрации видимого света из по меньшей мере двух, преимущественно по меньшей мере трех, различимых видимых диапазонов длин волн в первом поле 11 обзора с обеспечением пространственного разрешения. Первый оптический датчик 10 может быть дополнительно или альтернативно установлен для регистрации видимого света всего видимого диапазона длин волн в первом поле 11 обзора с обеспечением пространственного разрешения. Различимые диапазоны длин волн можно регистрировать одновременно или последовательно. Одновременная регистрация может происходить с помощью схемы Байера, преломления света, разделения луча и т.п. Последовательная регистрация может происходить пассивно путем смены фильтров, например, при повороте головки со светофильтрами, или активно путем последовательного освещения в различных диапазонах длин волн.

[64]

Первый оптический датчик 10 может быть выполнен как линейная камера или как зональная камера с чувствительными элементами. Чувствительные элементы регистрируют соответственнно пространственно разные, в частности отстоящие друг от друга, точки изображения первого поля 11 обзора. При этом предпочтительно, чтобы точки изображения не перекрывали друг друга. Первый оптический датчик 10 имеет предпочтительно не менее 1000, еще более предпочтительно не менее 10000 чувствительных элементов, воспринимающих, соответственно, один и тот же диапазон длин волн. Таким образом, первый оптический датчик 10 имеет, например, 1000000 чувствительных элементов, оснащенных зеленым фильтром. Дополнительно или альтернативно чувствительные элементы могут быть расположены на плоской поверхности, в частности на общем сенсорном чипе. Чувствительные элементы могут быть выполнены в соответствии с известными технологиями, например, как ПЗС-, КМОП- или InGaAs-элементы. В зависимости от того, как их считать, - по отдельности или, в частности, группами по четыре - они могут образовывать то, что обычно также обозначают английским термином "pixel" ("пиксель").

[65]

В целом, можно сказать, что первый оптический датчик 10 предусмотрен здесь и предпочтительно для пространственно разрешенной регистрации в нескольких спектральных диапазонах. Здесь и предпочтительно пространственное разрешение привязано в каждом случае к спектральному разрешению, так что из пространственного и спектрального разрешения получают матрицу. Это, как известно, имеет место у шаблона Байера.

[66]

Здесь и предпочтительно первый массив А1 перекрывает по меньшей мере 50%, далее предпочтительно по меньшей мере 90%, еще более предпочтительно по меньшей мере 95%, еще более предпочтительно по меньшей мере 99% и еще более предпочтительно 100% второго массива А2. Здесь под перекрытием подразумевают перекрытие по времени и/или в пространстве.

[67]

Альтернативно, применительно к перекрытию по времени, может быть предусмотрено, что первый массив A1 и второй массив А2 перекрывают друг от друга своими краями или что расстояние между ними составляет не более одного метра, предпочтительно не более полуметра, еще более предпочтительно не более десяти сантиметров.

[68]

В представленном здесь зерноуборочном комбайне 1 к рабочим агрегатам 2 относится помимо уже упомянутого режущего аппарата 6 соединенный с ним наклонный транспортер 18, с которого поток сельскохозяйственной культуры поступает на молотильные агрегаты 20, находящиеся в подбарабанье 19. Через отклоняющий барабан 21 поток сельскохозяйственной культуры поступает в разделяющее устройство 22, выполненное здесь как разделяющий ротор, отделяющий в своей нижней части свободно двигающиеся зерна потока сельскохозяйственной культуры. Отсюда поток сельскохозяйственной культуры проходит по обратной транспортной доске 23 к чистящему устройству 24, состоящему, как показано здесь, из нескольких сепараторов 25 и воздуходувки 26. Отсюда зерноподъемник 27 направляет поток сельскохозяйственной культуры наконец в зерновой бункер 7. Каждый из этих рабочих агрегатов 2 вносит свой вклад в обработку сельскохозяйственной культуры 4.

[69]

Измерительная система 9 расположена здесь и предпочтительно на зерноподъемнике 27. В общем случае, прозрачное окно 17 может примыкать к транспортировочному пути 5 сельскохозяйственной культуры и/или ограничивать его. Прозрачное окно 17 может пропускать свет во всех диапазонах длин волн, регистрируемых первым датчиком 10. Поле 11 обзора и поле 14 измерения могут быть полностью охвачены прозрачным окном 17.

[70]

Может быть предусмотрено, что оптическая измерительная система 9 имеет источник 28 света. Источник 28 света преимущественно устроен так, чтобы излучать одновременно свет некоторых или всех диапазонов длин волн, регистрируемых первым датчиком 10. Дополнительно или альтернативно источник 28 света может быть устроен так, что он имеет возможность последовательного излучения света некоторых или всех диапазонов длин волн, регистрируемых первым датчиком 10.

[71]

Здесь и предпочтительно источник 28 света облучает массив U перекрытия и/или первый массив A1. Преимущественно источник 28 света облучает массив А1 со стороны первого, оптического датчика 10. Поэтому предпочтительно, чтобы оптический датчик 10 регистрировал отраженный свет, а не проходящий. В частности, может быть также предусмотрено, что источник 28 света расположен вне поля 11 обзора.

[72]

Как уже упомянуто, сельскохозяйственная уборочная машина имеет зерноподъемник 27. Здесь и предпочтительно первый датчик 10 и/или второй датчик 13, и/или прозрачное окно 17, и/или источник 28 света, и/или корпус 16 расположены на зерноподъемнике 27, в частности, под ним или над ним. Альтернативно первый датчик 10 и/или второй датчик 13, и/или прозрачное окно 17, и/или источник 28 света, и/или корпус 16 могут быть расположены за зерноподъемником 27, в частности, в области заполнения зернового бункера. Также предпочтительными являются и другие возможные расположения, в частности, на полевом измельчителе в области выброса. Также возможно расположение перед зерноподъемником 27. В последнем случае соответствующий элемент или соответствующие элементы преимущественно расположены за последним молотильным или последним отделяющим рабочим агрегатом 2.

[73]

Соответственно, может быть предусмотрено, что массив U перекрытия является частью нижней или верхней стороны потока сельскохозяйственной культуры, в частности главного потока сельскохозяйственной культуры, вдоль транспортировочного пути 5 сельскохозяйственной культуры. Альтернативно сельскохозяйственная уборочная машина может иметь шлюзовую камеру, в которой перемещение сельскохозяйственной культуры 4 временно не происходит или происходит, по меньшей мере, медленнее. Тогда массив U перекрытия может быть частью стороны, в частности нижней стороны, сельскохозяйственной культуры 4, находящейся в шлюзовой камере.

[74]

Названная шлюзовая камера в принципе уже известна для измерений влажности. Особенно интересно, что некоторые из предложенных измерительных устройств являются сравнительно медленными и, соответственно, более предпочтительными для применения при стационарной сельскохозяйственной культуре 4. Шлюзовые камеры, уже имеющиеся на некоторых сельскохозяйственных уборочных машинах, могут быть оснащены предлагаемой измерительной системой 9 для определения различных параметров сельскохозяйственной культуры.

[75]

Параметр сельскохозяйственной культуры относится здесь и предпочтительно к доле зерна и/или к доле битого зерна, и/или к доле незерновой фракции, в частности, к доле верхушек колосьев, и/или к доле необмолоченных компонентов, и/или к доле соломы, и/или к доле кусочков стеблей, и/или к доле оболочки, и/или к влажности зерна, и/или к составной части сельскохозяйственной культуры 4, в частности, к содержанию белка и/или к содержанию крахмала.

[76]

В соответствии с дальнейшим техническим решением, имеющим самостоятельное значение, предложен способ эксплуатации рассматриваемой сельскохозяйственной уборочной машины, согласно которому с помощью этой сельскохозяйственной рабочей машины убирают урожай 3 и обрабатывают сельскохозяйственную культуру 4, причем посредством оптической измерительной системы 9 выполняют процесс измерения, и посредством анализатора 12 выполняют процесс анализа. Можно сослаться на все варианты осуществления изобретения, касающиеся предлагаемой сельскохозяйственной уборочной машины.

[77]

Предпочтительным в данном способе является то, что процесс измерения и процесс анализа выполняют несколько раз, в частности непрерывно. Преимущественно параметр сельскохозяйственной культуры определяют в реальном времени. Термин "реальное время" означает здесь, что между регистрацией соответствующих элементов изображения и определением параметра сельскохозяйственной культуры проходит лишь заранее заданный интервал времени, составляющий здесь и предпочтительно менее одной минуты, более предпочтительно менее 30 секунд, еще более предпочтительно менее пяти секунд. Параметр сельскохозяйственной культуры может быть выведен на индикацию для пользователя.

[78]

В частности, в рамках предлагаемого способа может быть предусмотрено, что устройство 8 управления циклически записывает серии изображений и серии измеренных значений. Преимущественно затем в течение заранее заданного времени обработки после регистрации серии изображений и серии измеренных значений определяют и отображают параметр сельскохозяйственной культуры, основанный на серии изображений и серии измеренных значений.

[79]

Список позиций

[80]

1 - Зерноуборочный комбайн

[81]

2 - Рабочий агрегат

[82]

3 - Урожай

[83]

4 - Сельскохозяйственная культура

[84]

5 - Транспортировочный путь сельскохозяйственной культуры

[85]

6 - Режущий аппарат

[86]

7 - Зерновой бункер

[87]

8 - Устройство управления

[88]

9 - Оптическая измерительная система

[89]

10 - Первый датчик

[90]

11 - Поле обзора

[91]

12 - Анализатор

[92]

13 - Второй датчик

[93]

14 - Поле измерения

[94]

15 - Электромагнитный чувствительный элемент

[95]

16 - Корпус

[96]

17 - Прозрачное окно

[97]

18 - Наклонный транспортер

[98]

19 - Подбарабанье

[99]

20 - Молотильные агрегаты

[100]

21 - Отклоняющий барабан

[101]

22 - Разделяющее устройство

[102]

23 - Обратная транспортная доска

[103]

24 - Чистящее устройство

[104]

25 - Сепараторы

[105]

26 - Воздуходувка

[106]

27 - Зерноподъемник

[107]

28 - Источник света

[108]

А1 - Первый массив

[109]

А2 - Второй массив

[110]

U - Массив перекрытия

Как компенсировать расходы
на инновационную разработку
Похожие патенты