Изобретение относится к сельскому хозяйству, а именно к силосам, предназначенным для длительного хранения зерна. Ставится задача по созданию надежной, прочной и простой конструкции силоса для хранения зерна. Силос для хранения зерна содержит каркас цилиндрической формы, образованный из гофрированных листов, усиленный расположенными по периметру вертикальными стойками, коническую кровлю со стропильной системой, опирающуюся на каркас. Каркас представляет собой многоярусную конструкцию, где каждый ярус образован горизонтальным рядом скрепленных в кольцо гофрированных листов, а первый ярус каркаса соответствует ряду, на который опирается стропильная система конической кровли силоса. Вертикальная стойка представляет собой ряд из базовых стрингеров 8, где на первый базовый стрингер 8 опирается стропильная система конической кровли силоса, а начиная со второго яруса толщина каркаса увеличивается при условии, что на пятом, девятом, тринадцатом, шестнадцатом ярусе толщина гофрированных листов выполнена увеличенной по сравнению с предыдущим ярусом, а остальные ярусы выполнены одинаковой толщины по сравнению с предыдущим ярусом, или при условии, что на пятом, девятом, тринадцатом, семнадцатом, двадцатом ярусе каркаса толщина гофрированных листов выполнена увеличенной по сравнению с предыдущим ярусом, а остальные ярусы выполнены одинаковой толщины по сравнению с предыдущим ярусом; толщина четвертого, шестого базового стрингера 8 выполнена увеличенной по сравнению с предыдущим базовым стрингером 8, а остальные базовые стрингеры 8 выполнены одинаковой толщины по сравнению с предыдущим базовым стрингером 8, на последних базовых стрингерах 8 вертикальная стойка содержит вложенный вкладной стрингер 10 или ряд из вкладных стрингеров, остальные базовые стрингеры 8 соединены друг с другом посредством соединительных элементов. Вертикальная стойка на последнем базовом стрингере 8 содержит опору 13, состоящую из вертикальной части и поперечной пластины. Базовый стрингер 8, вкладной стрингер 10, соединительный элемент и вертикальная часть опоры имеют одинаковый профиль. Технический результат направлен на оптимизацию металлоемкости силосного каркаса. 1 з.п. ф-лы, 8 ил.
1. Силос для хранения зерна, содержащий каркас цилиндрической формы, образованный из гофрированных листов, усиленный расположенными по периметру вертикальными стойками, коническую кровлю со стропильной системой, опирающуюся на каркас, отличающийся тем, что каркас представляет собой многоярусную конструкцию, где каждый ярус образован горизонтальным рядом скрепленных в кольцо гофрированных листов, а первый ярус каркаса соответствует ряду, на который опирается стропильная система конической кровли силоса, вертикальная стойка представляет собой ряд из базовых стрингеров, где на первый базовый стрингер опирается стропильная система конической кровли силоса, начиная со второго яруса толщина каркаса увеличивается при условии, что на пятом, девятом, тринадцатом, шестнадцатом ярусе толщина гофрированных листов выполнена увеличенной по сравнению с предыдущим ярусом, а остальные ярусы выполнены одинаковой толщины по сравнению с предыдущим ярусом, или при условии, что на пятом, девятом, тринадцатом, семнадцатом, двадцатом ярусе каркаса толщина гофрированных листов выполнена увеличенной по сравнению с предыдущим ярусом, а остальные ярусы выполнены одинаковой толщины по сравнению с предыдущим ярусом; толщина четвертого, шестого базового стрингера выполнена увеличенной по сравнению с предыдущим базовым стрингером, а остальные базовые стрингеры выполнены одинаковой толщины по сравнению с предыдущим базовым стрингером, на последних базовых стрингерах вертикальная стойка содержит вложенный вкладной стрингер или ряд из вкладных стрингеров, остальные базовые стрингеры соединены друг с другом посредством соединительных элементов, при этом вертикальная стойка на последнем базовом стрингере содержит опору, состоящую из вертикальной части и поперечной пластины, базовый стрингер, вкладной стрингер, соединительный элемент и вертикальная часть опоры имеют одинаковый профиль. 2. Силос по п. 1, отличающийся тем, что профиль базового стрингера, вкладного стрингера, соединительного элемента и вертикальной части опоры имеет вид равнобедренной трапеции, содержащей малое основание, боковые стенки, нижние стенки, которые отогнуты наружу в плоскости, соответствующей большому основанию трапеции, и имеют загнутую в сторону малого основания кромку.
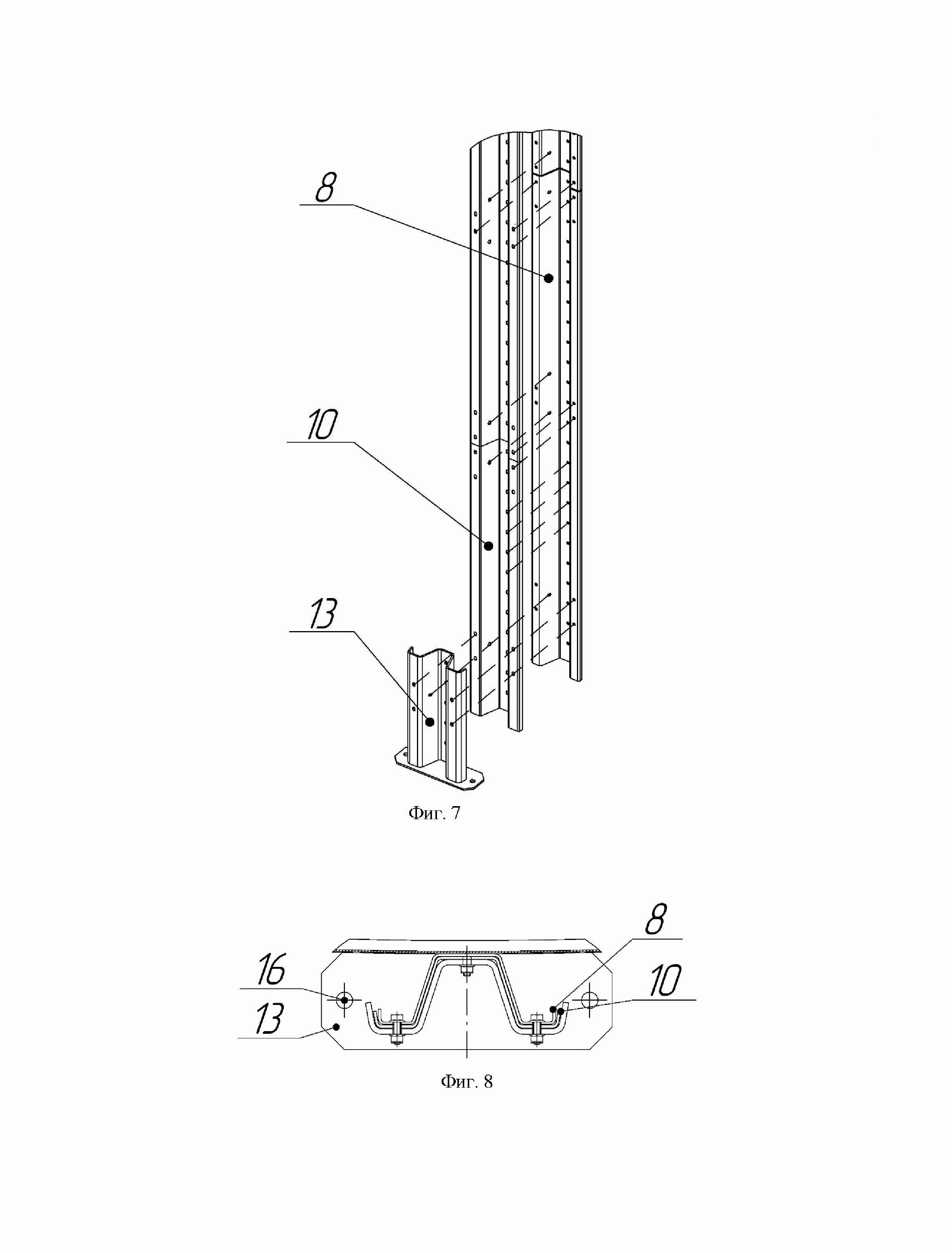
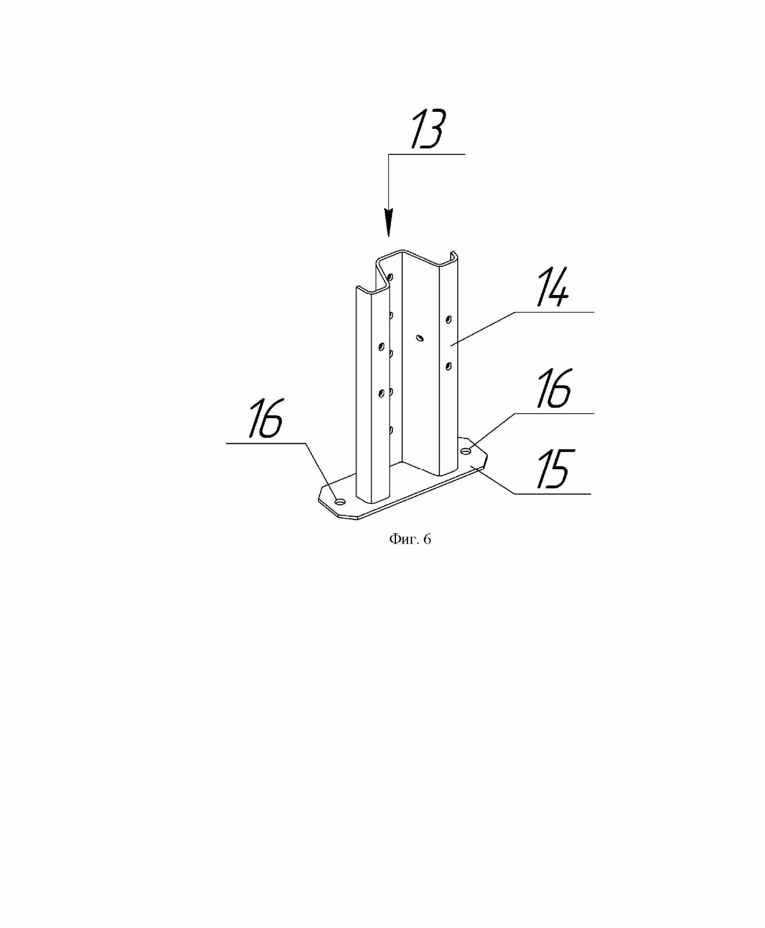
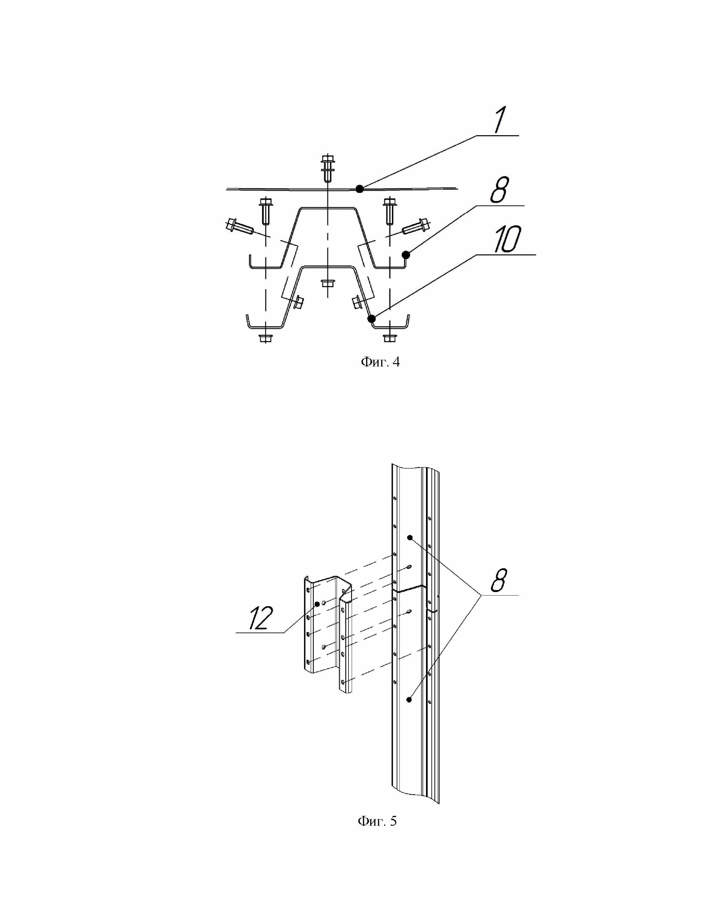
Изобретение относится к сельскому хозяйству, а именно к силосам, предназначенным для длительного хранения зерна. Из уровня техники известен силос для хранения зерна, описанный в патенте US 9714790 «Procedure and facility for grain moisture control», приор. 06.06.2013. Известный силос для хранения зерна содержит каркас цилиндрической формы, образованный из оцинкованных стальных листов, усиленный укрепляющими вертикальными стойками, расположенными снаружи по периметру цилиндра. Толщина стальных листов, образующих каркас (или стеновое ограждение), и укрепляющих стоек равномерна по всей высоте стенового ограждения. Сверху каркас герметично соединен с конической кровлей, в верхней части которой смонтирована загрузочная воронка, обеспечивающая загрузку зерна по всему объему силоса. Каркас силоса опирается на специальное металлическое или бетонное основание с отверстиями для выгрузки и кондиционирования зерна. Указанный силос для хранения зерна принимаем за ближайший аналог. Основными нагрузками на каркас силоса являются горизонтальные и вертикальные (за счет трения) от давления зерна и собственный вес конструкции. Нагрузка на каркас силоса неравномерна и увеличивается в зависимости от глубины от верха засыпки зерна внутри силоса и достигает максимума у основания силоса. Поскольку в ближайшем аналоге толщина стенового ограждения (листовых пластин, образующих каркас, и укрепляющих стоек) равномерна по всей высоте стенового ограждения, то для восприятия данной нагрузки при таком исполнении у ближайшего аналога должна быть либо избыточная толщина в верхней части стенового ограждения, либо недостаточная прочность стенового ограждения в основании. Ставится задача по созданию надежной, прочной и простой конструкции силоса для хранения зерна. Технический результат направлен на оптимизацию металлоемкости силосного каркаса. Технический результат достигается тем, что предложен силос для хранения зерна, содержащий каркас цилиндрической формы, образованный из гофрированных листов, усиленный расположенными по периметру вертикальными стойками, коническую кровлю со стропильной системой, опирающуюся на каркас, при этом - каркас представляет собой многоярусную конструкцию, где каждый ярус образован горизонтальным рядом скрепленных в кольцо гофрированных листов, а первый ярус каркаса соответствует ряду, на которую опирается стропильная система конической кровли силоса, - вертикальная стойка представляет собой многоярусную конструкцию, где каждый ярус соответствует базовому стрингеру, а первый ярус вертикальной стойки соответствует базовому стрингеру, на которую опирается стропильная система конической кровли силоса, - начиная со второго яруса каркаса, толщина гофрированных листов следующего яруса равна или превышает толщину гофрированных листов предыдущего яруса, - начиная с первого яруса вертикальной стойки толщина базового стрингера следующего яруса равна или превышает толщину базового стрингера предыдущего яруса, - на последних ярусах вертикальная стойка укреплена вложенным вкладным стрингером или рядом из вкладных стрингеров, на остальных ярусах вертикальной стойки соседние базовые стрингера соединены друг с другом посредством соединительных элементов, при этом последний ярус вертикальной стойки дополнительно укреплен опорой, состоящей из вертикальной части и поперечной пластины, - базовый стрингер, вкладной стрингер, соединительный элемент и вертикальная часть опоры имеют одинаковый профиль. Преимущественно профиль базового стрингера, вкладного стрингера, соединительного элемента и вертикальной части опоры имеет вид равнобедренной трапеции, содержащей малое основание, боковые стенки, нижние стенки, которые отогнуты наружу в плоскости, соответствующей большому основанию трапеции, и имеют загнутую в сторону малого основания кромку. Заявляемое техническое решение поясняется следующим графическим материалом. Фиг. 1 - силос для хранения зерна (общий вид). Фиг. 2 - схема распределения листов корпуса (пример 1). Фиг. 3 - схема распределения листов корпуса (пример 2). Фиг. 4 - соединение первой и второй части в сечении со стенкой силоса. Фиг. 5 - соединение соединительных элементов в местах стыкования вкладных стрингеров. Фиг. 6 - вид опоры. Фиг. 7 - установка стрингеров вкладных и опоры. Фиг. 8 - соединение опоры с элементами вертикальной стойки со стенкой силоса. На Фиг. 1 изображен силос для хранения зерна, содержащий каркас 1 цилиндрической формы, стены которого образованы из гофрированных листов. По внешнему периметру стены каркаса 1 усилены вертикальными стойками 2. Сверху каркас герметично соединен с конической кровлей 3, в верхней части которой смонтирована загрузочная воронка 4, обеспечивающая загрузку зерна по всему объему силоса. В нижней части каркас силоса опирается на специальное металлическое или бетонное основание 5 с отверстиями для выгрузки и кондиционирования зерна. Каркас 1 представляет собой многоярусную конструкцию, где каждый ярус представляет горизонтальный ряд из гофрированных металлических листов одной толщины, которые соединены внахлест болтовым соединением. Ярусы номеруются сверху вниз, таким образом, первый ярус 6 каркаса соответствует ряду, на которую опирается стропильная система конической кровли 3 силоса. Вертикальные стыки листов каждого яруса располагаются в шахматном порядке относительно стыков предыдущего ряда. Каркас 1 имеет по высоте увеличивающуюся толщину листов в зависимости от нагрузок. Начиная со второго яруса каркаса, толщина гофрированных листов следующего яруса равна или превышает толщину гофрированных листов предыдущего яруса. Первый ярус 7 по сравнению со вторым имеет увеличенную толщину листов, поскольку на него опирается стропильная система и нагрузка от конической кровли 3 передается через листы этого яруса. Преимущественно для каркаса используют стальные гофрированные листы толщиной 0,8-3,0 мм. На Фиг. 2 изображен пример схемы распределения листов силоса высотой 20,1 м и диаметром 16,33 м. На Фиг. 3 изображен пример схемы распределения листов силоса высотой 22,4 м и диаметром 16,33 м. В зависимости от высоты и диаметра каркаса схема распределения листов силоса может отличаться, расчет индивидуален для каждого варианта силоса. Каждая вертикальная стойка 2 тоже представляет собой многоярусную конструкцию, где каждый ярус соответствует базовому стрингеру 8. Ярусы номеруются сверху вниз, таким образом первый ярус 9 вертикальной стойки соответствует базовому стрингеру, на которую опирается стропильная система конической кровли 3 силоса. Начиная с первого яруса 9 толщина базового стрингера следующего яруса равна или превышает толщину базового стрингера предыдущего яруса. В качестве базовых стрингеров используют длинномерные стальные профили с отверстиями для болтового соединения с другими элементами вертикальной стойки и отверстиями для болтового соединения с гофрированными листами каркаса. Преимущественно толщина базовых стрингеров составляет 1,5-3,0 мм. На последних ярусах каждая вертикальная стойка 2 укреплена вложенным вкладным стрингером 10 (как показано на Фиг. 2) или рядом из вкладных стрингеров 11 (как показано на Фиг. 3). Вариант использования одного вкладного стрингера или ряда вкладных стрингеров зависит от исполнения конкретного силоса, а именно от высоты и диаметра его каркаса. В качестве вкладных стрингеров используют длинномерные стальные профили с отверстиями для болтового соединения с другими элементами вертикальной стойки и отверстиями для болтового соединения с гофрированными листами каркаса. Вкладные и базовые стрингеры имеют одинаковый профиль. Преимущественно толщина используемых вкладных стрингеров составляет 2,0-3,0 мм. Стыки вкладных стрингеров располагаются со смещением относительно стыков базовых стрингеров. Соединение вкладных и базовых стрингеров обеспечивается посредством болтового соединения как показано на Фиг. 4. Преимущественно в ряде вкладных стрингеров каждый последующий вкладной стрингер имеет толщину равную и больше, чем толщина предыдущего вкладного стрингера. В ряде вкладных стрингеров первый вкладной стрингер соответствует самому верхнему, а последний вкладной стрингер - самому нижнему. Соединения соседних базовых стрингеров, которые не перекрыты вкладными стрингерами, обеспечиваются посредством соединительных элементов 12. В качестве соединительных элементов 12 используют короткие стальные профили с отверстиями для болтового соединения с другими элементами вертикальной стойки и отверстиями для болтового соединения с гофрированными листами каркаса. Преимущественно для соединительных элементов используют стальные профили толщиной 2,0-3,0 мм. При сборке вертикальной стойки 2 соединительный элемент 12 вкладывают в область стыкования двух соседних базовых стрингеров (Фиг. 5) и закрепляют болтами. Последний ярус вертикальной стойки 2 вложен в опору 13, состоящую из вертикальной части 14 и поперечного основания 15 (показано на Фиг. 6). Вертикальная часть 14 выполнена в виде короткого стального профиля с отверстиями для болтового соединения с другими элементами вертикальной стойки 2 и отверстиями для болтового соединения с гофрированными листами каркаса 1. Поперечное основание 15 содержит отверстия 16 под анкерные шпильки. При сборке силоса часть 14 опоры 13 вкладывают во вкладной стрингер и закрепляют болтами (как показано на Фиг. 7), а поперечное основание 14 закрепляют на фундаменте. Элементы вертикальной стойки 2, такие как базовый стрингер 8, вкладной стрингер 10, соединительный элемент 12 и вертикальная часть 14 опоры имеют одинаковый профиль. Указанный профиль имеет форму равнобедренной трапеции, содержащей малое основание, боковые стенки, нижние стенки, которые отогнуты наружу в плоскости, соответствующей большому основанию трапеции, и имеют загнутую в сторону малого основания кромку (как показано на Фиг. 4, 5, 6, 7, 8). Предложенное изобретение обеспечивает надежность, прочность и простоту конструкции силоса для хранения зерна. Металлоемкость силосного каркаса и вертикальных стоек изменяется по высоте и позволяет учитывать нагрузки, оказываемые на каркас и вертикальные стойки силоса.