Изобретение относится к измерительной технике, в частности к преобразователям давления, и может быть использовано в различных областях науки и техники, связанных с измерением дифференциального и избыточного давлений. Устройство содержит корпус, в котором выполнены камеры: приемная, защитная, компенсационная и измерительная. Данные камеры соединены между собой проточными каналами, гидравлическими дросселями и заполненны малосжимаемой электроизоляционной жидкостью. Приемные камеры загерметизированы воспринимающими давление разделительными мембранами, расположенными с зазором относительно профилированных оснований. На выходе каждой приемной камеры установлен гидравлический дроссель, уменьшающий скорость роста давления в защитной камере. В защитной камере установлен гидравлический дроссель, передающий давление в компенсационную камеру и выполненный в виде двух дросселирующих отверстий (центрального и кольцевого), в которых направление движение жидкости меняется на 180°. В компенсационной камере расположена мембрана, ограничивающая скорость нарастания давления в измерительной камере, в которой находятся тензопреобразователи дифференциального и избыточного давлений. Технический результат заключается в защите чувствительных элементов (тензопреобразователей) при воздействии перегрузочных давлений, как статических, так и резких скачков давления. 2 ил. 
Датчик дифференциального и избыточного давлений, содержащий корпус, в котором выполнены две полости, заполненные малосжимаемой электроизоляционной жидкостью, при этом каждая полость загерметизирована воспринимающей давление профилированной разделительной мембраной, расположенной с зазором относительно профилированных оснований, причем давление, создаваемое мембранами на электроизоляционную жидкость, передается с помощью гидравлических дросселей, представляющих собой проточные каналы, к измерительному узлу, состоящему из защитной мембраны и полупроводниковых тензочувствительных элементов на основе структуры «кремний на кремнии», отличающийся тем, что гидравлические дроссели представляют собой цилиндрические стержни со сквозным отверстием по оси стержня и кольцевым зазором по его диаметру, а давление от гидравлических дросселей поступает на компенсационную мембрану и через дополнительные дроссели к измерительному узлу, состоящему из двух тензопреобразователей, один из которых обеспечивает измерение разности давлений, а другой – избыточное давление.
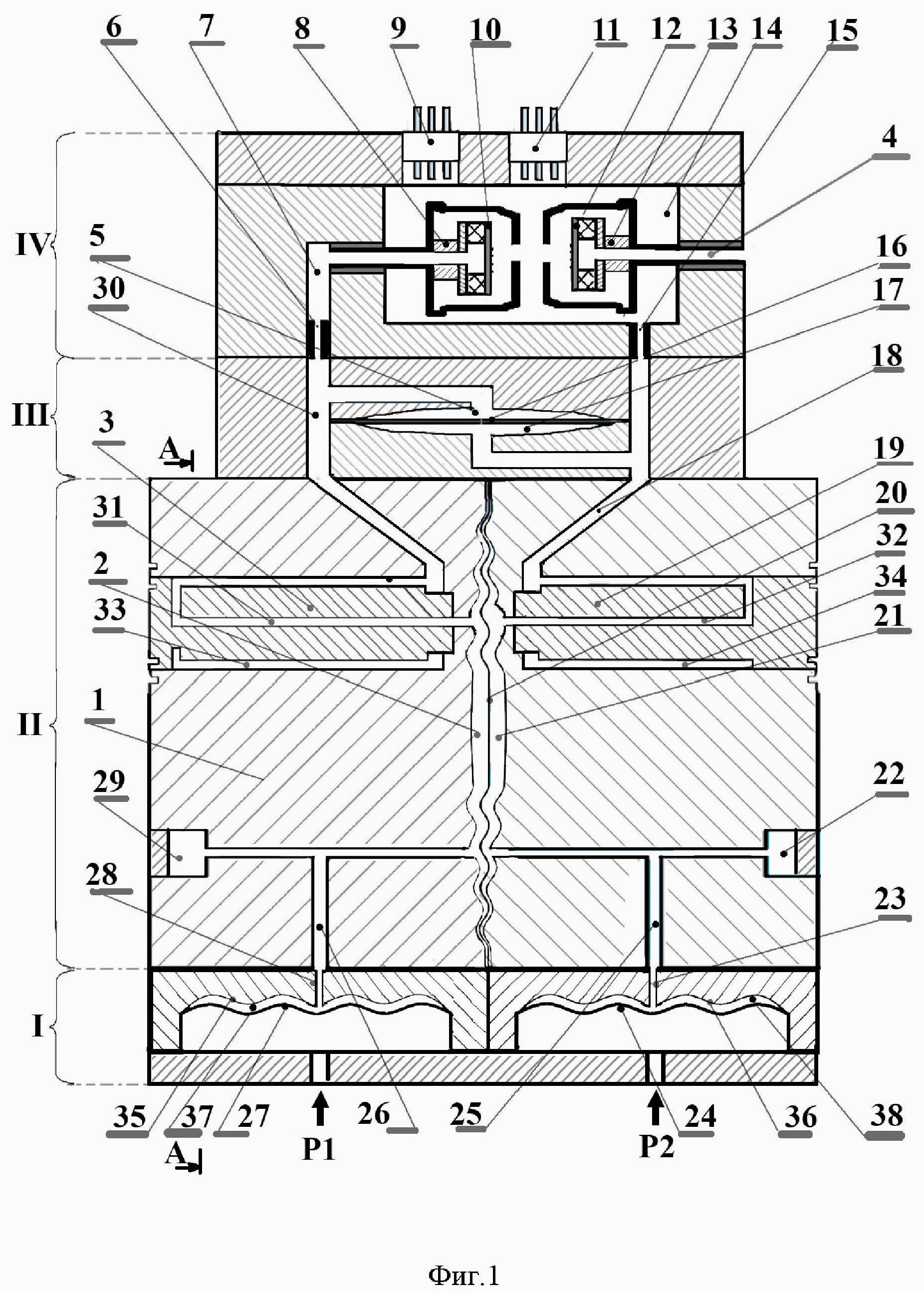
Область техники, к которой относится изобретение Изобретение относится к измерительной технике, а именно к тензорезистивным датчикам давления, и может быть использовано для измерения избыточного давления и разности давлений (дифференциального давления) жидкости и газов. Уровень техники В процессе эксплуатации датчики измеряют разность давлений между двумя давлениями, каждое из которых значительно превышает измеряемую разность давлений, поэтому при аварийных режимах резких скачках давления или пропадания давления в одном из каналов на чувствительные элементы датчиков, измеряющих разность давлений, могут воздействовать давления, значения которых на порядок превышают допускаемое, что приводит к выходу датчиков из строя. Изобретение позволяет защитить чувствительный элемент - тензопреобразователь от разрушения при случайной подаче перегрузочного давления, вызванного засорением каналов подвода давления или резкой подачей давления. Известен датчик разности давлений, содержащий корпус, в котором выполнены две полости, заполненные малосжимаемой электроизоляционной жидкостью, при этом каждая полость загерметизирована воспринимающей давление мембраной, расположенной с зазором относительно корпуса, а между полостями в корпусе герметично установлен чувствительный элемент. Причем каждая полость соединяется с чувствительным элементом с помощью гидравлического дросселя, представляющего собой капиллярную трубку. Использование дросселей позволяет демпфировать воздействия скачков давления (или воздействие резкой подачи в датчик давлений) и, тем самым, предотвращать выход чувствительного элемента датчика из строя. Патент США № US 8132464, МПК G01L 13/02, 13.03.2012. Недостатком приведенного устройства является отсутствие защиты от статического перегрузочного давления и невозможность одновременного измерения и разности давлений, и статического давления. Наиболее близким известным техническим решением является датчик дифференциального давления, в котором частично устранены приведенные выше недостатки. Датчик содержит корпус, в котором жестко закреплены две разделительные мембраны, передающие давление посредством малосжимаемой электроизоляционной жидкости к измерительному узлу, состоящему из тензочувствительного элемента и защитной мембраны, защищающей чувствительный элемент от чрезмерного давления. Для исключения выхода из строя чувствительного элемента под действием резко (скачком) меняющегося давления в датчике установлены гидравлические дроссели, выполненные в виде коаксиальных зазоров, для чего в вертикальные отверстия в корпусе датчика установлены цилиндрические стержни (название по патенту - пламегасители). Патент РФ №2143673, МПК G01L 9/06, G01L 13/02, 18.08.1995. Данное техническое решение принято в качестве прототипа. Недостатком приведенного устройства является невозможность одновременного измерения и разности давлений и статического давления, а также то, что предложенная конструкция датчика при скачках давления не предотвращает критический рост давления, воздействующего на чувствительный элемент (тензопреобразователь), так как не демпфирует в достаточной степени скачки давления, что может приводить к выходу из строя тензопреобразователя. Раскрытие сущности изобретения Изобретение направлено на устранение указанного недостатка. Техническим результатом изобретения является защита чувствительных элементов (тензопреобразователей) при воздействии перегрузочных давлений, как статических, так и резких скачков давления, и одновременное измерение разности давлений и избыточного давления. Технический результат достигается тем, что в конструкцию датчика введена система гидравлических дросселей и мембран: разделительной, защитной и компенсационной, которые обеспечивают защиту тензопреобразователей от разрушения как при подаче разности давлений, превышающей допустимую, так и при резкой подаче перегрузочного давления. Для одновременного измерения разности давлений и избыточного давления в конструкции предусмотрена измерительная камера, где размещены два тензопреобразователя: один - измеряющий разность давлений, а второй - избыточное давление. Краткое описание чертежей Изобретение поясняется чертежами, где: I - узел приема давлений; II - защитный узел; III - компенсационный узел; IV - измерительный узел; 1 - корпус защитного узла; 2, 21 - камеры приема давлений в защитном узле; 3, 19 - гидравлические дроссели защитного узла; 4 - канал, соединяющий тензопреобразователь избыточного давления с атмосферным воздухом; 5, 17 - компенсационные камеры; 6, 15 - гидравлические дроссели измерительного узла; 7, 18, 25, 26, 30 - проточные каналы; 8, 13 - основание тензомодулей; 9, 11 - гермовыводы; 10 - тензопреобразователь разности давлений; 12 - тензопреобразователь избыточного давления; 14 - измерительная камера; 16 - компенсационная мембрана; 20 - защитная мембрана; 23, 28 - гидравлические дроссели узла приема давлений; 24 - разделительная мембрана статического канала; 27 - разделительная мембрана динамического канала; 31, 32 - центральные каналы гидравлических дросселей; 33, 34 - кольцевые каналы гидравлических дросселей; 35, 36 - профилированные основания; 37, 38 - приемные камеры; Р1 - динамическое давление; Р2 - статическое давление. На фиг. 1 представлена конструкция датчика дифференциального и избыточного давлений с защитой от скачков давления и перегрузки. На фиг. 2 представлен гидравлический дроссель защитного узла (разрез А-А). Осуществление изобретения Датчик дифференциального и избыточного давлений (фиг. 1) содержит узел приема давлений (I), защитный узел (II), компенсационный узел (III) и измерительный узел (IV). Все узлы соединены между собой проточными каналами 25, 26, 18, 30, 7 и гидравлическими дросселями 23, 28, 19, 3, 15, 6 и заполнены малосжимаемой электроизоляционной жидкостью (ПМС). В узле приема давлений (I) расположены две разделительные мембраны 24, 27, которые располагаются с зазором относительно профилированных оснований 35, 36 и образуют приемные камеры 37, 38. На выходе приемных камер установлены гидравлические дроссели 23, 28. Защитный узел (II) включает в себя защитную мембрану 20, гидравлические дроссели 3, 19 и проточные каналы 26, 25, 18. Для заполнения внутренних объемов датчика кремнийорганической жидкостью используются заливочные отверстия 22, 29. Компенсационный узел III состоит из двух камер 5, 17 и компенсационной мембраны 16. В измерительном узле IV установлены гидравлические дроссели 6, 15 и тензопреобразователи 10 и 12, состоящие из кремниевых мембран, на которых сформированы диффузионные тензорезисторы и гермовыводы 9, 11. Датчик работает следующим образом. При подаче, например, динамического давления Р1 на разделительную мембрану 27 она прогибается, зазор под ней уменьшается, и жидкость через гидравлический дроссель 28 поступает в защитную камеру 2. Повышение давления в защитной камере воздействует на защитную мембрану 20, вызывая ее деформацию. Одновременно давление жидкости через гидравлический дроссель 3 (дросселирующие отверстия в нем 31 и 33) и проточный канал 30 передается в компенсационную камеру 5, деформируя при этом компенсационную мембрану 16. Также давление через дроссель 6 поступает на тензопреобразователь разности давлений 10. Аналогичным образом статическое давление (Р2) воздействует на разделительную мембрану 24 и через гидравлические дроссели 23, 19 и 15 передается в измерительную камеру 14, воздействуя на тензопреобразователь избыточного давления 12 и на тензопреобразователь разности давлений 10. Таким образом, тензопреобразователь разности давлений 10 измеряет разность давлений (ΔP = Р1 - Р2), так как на одну сторону измерительной мембраны тензопреобразователя 10 подается динамическое давление Р1, а на другую сторону - статическое давление Р2. Тензопреобразователь избыточного давления 12 измеряет избыточное давление, так как на измерительную мембрану тензопреобразователя избыточного давления 12 действует с одной стороны статическое давление Р2, а с другой стороны, через канал 4, атмосферное давление. Электрический сигнал от тензопреобразователей через гермовыводы 9, 11 выводится на вторичный преобразователь (на чертеже не показан). Гидравлические дроссели 23, 28, 3, 19, 6, 15 обеспечивают защиту тензопреобразователей разности давлений 10 и избыточного давлений 12 от выхода из строя при подаче давления с резким фронтом. Так, рост давления в защитных камерах 2, 21 ограничивают дроссели 28 и 23, рост давления в измерительной камере 14 ограничивают дроссели 6 и 15. Дроссели 3 и 19 ограничивают скорость нарастания давления в компенсационных камерах 5, 17 относительно камер приема давлений 2, 21 в защитном узле. Дроссели 3, 19 представляет собой металлические стержни со сквозными отверстиями 31, 32, выполненными по оси стержня (см. фиг. 2). Стержень устанавливается в отверстие, диаметр которого несколько больше диаметра стержня, в результате чего формируется кольцевой зазор 33, 34. Такое выполнение дросселя позволяет обеспечить увеличение гидравлического сопротивление дросселя за счет увеличения пути, который должна пройти жидкость при прохождении в измерительный узел из компенсационного узла. Сначала жидкость проходит через центральное отверстие 31 (32) в стержне, потом направление движения жидкости меняется на 180°, и она через кольцевой зазор попадает в измерительную камеру. Также такая смена направления движения жидкости приводит к тому, что ламинарное течение жидкости в дросселе при смене направления движения меняется на турбулентное, что также приводит к увеличению гидравлического сопротивления и, следовательно, ограничению скорости нарастания давления в измерительной камере при воздействии скачков давления. Кроме того, при резком возрастании измеряемого давления мембрана 16 компенсационной камеры прогибается, забирая часть жидкости из канала, подвергшегося перегрузке, что также ограничивает скорость нарастания давления в измерительной камере. Таким образом, при воздействии давлений, между которыми измеряется разность, мембраны тензопреобразователей 10, 12 деформируются и тензорезисторы преобразуют напряжение мембран в электрический сигнал, пропорциональный разности давлений ΔР для тензопреобразователя разности давлений 10 и пропорциональный избыточному давлению Р2 для тензопреобразователя избыточного давления 12. Далее выходные сигналы тензопреобразователей через монтажные проводники и гермовыводы 9, 11 выводятся на вторичный преобразователь (на чертеже не показан). В зависимости от величины и скорости изменения подаваемых в него давлений датчик работает следующим образом. Вариант 1. Подача в датчик медленно меняющихся давлений Р1 и Р2, разность между которыми не превышает допустимую (см. фиг. 1, 2). В этом случае воздействие давления Р1 на мембрану 27 и давления Р2 на мембрану 24 вызывает давление жидкости в приемных камерах 37 и 38, которые через дросселирующие отверстия 28, 23, проточные каналы 26 и 25, гидравлические дроссели 3, 19, дросселирующие отверстия 6, 15 передаются на разные стороны мембраны тензопребразователя 10 и на мембрану тензопреобразователя 12, которые в свою очередь преобразуют напряжение мембран в электрический сигнал. При этом для обеспечения работоспособности датчика жесткость защитной мембраны 20 выбрана таким образом, что ее деформация суммарно с деформацией компенсационной мембраны 16 при воздействии рабочей разности давлений, не превышающей допустимые значения, не приводит к тому, что разделительные мембраны 27 или 24 «садятся» на профилированные основания 35, 36. Вариант 2. Подача давлений, при которых разность давлений превышает допустимую, например, со стороны Р1. В этом случае защитная мембрана 20 начинает прогибаться, забирая часть жидкости из зазора 37, при этом разделительная мембрана 27 «садится» на профилированное основание корпуса 35 и дальнейшее увеличение давления в полости 2 прекращается, что предохраняет тензопреобразователь 10 от разрушения. Аналогично защитная система работает при воздействии перегрузочного давления со стороны Р2. Вариант 3. Подача давления с резким фронтом, например, со стороны Р1. В этом случае давление, оказываемое мембраной 27 на электроизоляционную жидкость, передается через проточный канал 26 в защитную камеру 2, и через гидравлический дроссель 3 - в компенсационную камеру 5. Дроссель 3 ограничивает скорость нарастания давления в компенсационной камере 5, таким образом, давление между камерами 2 и 5 не может моментально выровняться, и скорость нарастания давления в компенсационной камере отстает по скорости нарастания от давления в защитной камере. При этом скорость нарастания давления в защитной камере ограничивается дросселем 28, а дроссель 6 ограничивает скорость нарастания давления в измерительной камере относительно компенсационной камеры. Поэтому при резкой подаче давления сначала прогибаются защитная и компенсационная мембраны, и только потом давление воздействует на тензопреобразователь, пройдя через систему гидравлических дросселей, что позволяет «сгладить» фронт импульса давления и приводит к тому, что рост давления в измерительной камере при резкой подаче давления отстает от роста давления в защитной камере. Кроме того, компенсационная мембрана при резком возрастании измеряемого давления прогибается, забирая часть жидкости из канала, подвергшегося перегрузке, что также ограничивает скорость нарастания давления в измерительной камере и обеспечивает дополнительную защиту тензопреобразователей от резких скачков давления. Аналогичный процесс ограничения роста давления в измерительной камере происходит и при подаче давления с резким фронтом со стороны Р2. Таким образом, предложенная конструкция датчика дифференциального и избыточного давлений обеспечивает защиту чувствительных элементов (тензопреобразователей) от воздействия как перегрузочных давлений, так и резких скачков давления.