Изобретение относится к области противопожарной техники, а именно к устройству электростатического пожаротушения, которое содержит связанные друг с другом: блок пускорегулирующей и защитной аппаратуры, понижающий трансформатор, двухполупериодный выпрямитель, сглаживающий фильтр, генератор синусоидального напряжения с регулируемой амплитудой выходного сигнала; высоковольтный трансформатор, резервный автономный источник электрической энергии в виде аккумуляторной батареи, электродную систему, блок автоматического управления силовой системой устройства, прибор приемно-контрольный пожарный, комплекс средств регистрации возгорания, блок автоматического ввода резервного автономного источника электрической энергии, выполненный с возможностью автоматического включения резервного автономного источника электрической энергии; при этом электродная система выполнена с возможностью воздействия на первичную реакционную зону факела пламени неоднородным статическим электрическим полем; источником напряжения, приложенного к электродной системе, является соединенный с высоковольтным трансформатором двухполупериодный умножитель напряжения, выходные контакты которого электрически соединены высоковольтной кабельной линией с электродной системой. Изобретение обеспечивает повышение энергоэффективности и безопасности процесса бесконтактного тушения возгораний и/или предотвращения распространения очага пожара внутри или снаружи таких объектов, как помещения в зданиях, методом воздействия пламени неоднородного статического электрического поля на первичную реакционную зону факела. 4 з.п. ф-лы, 4 ил.
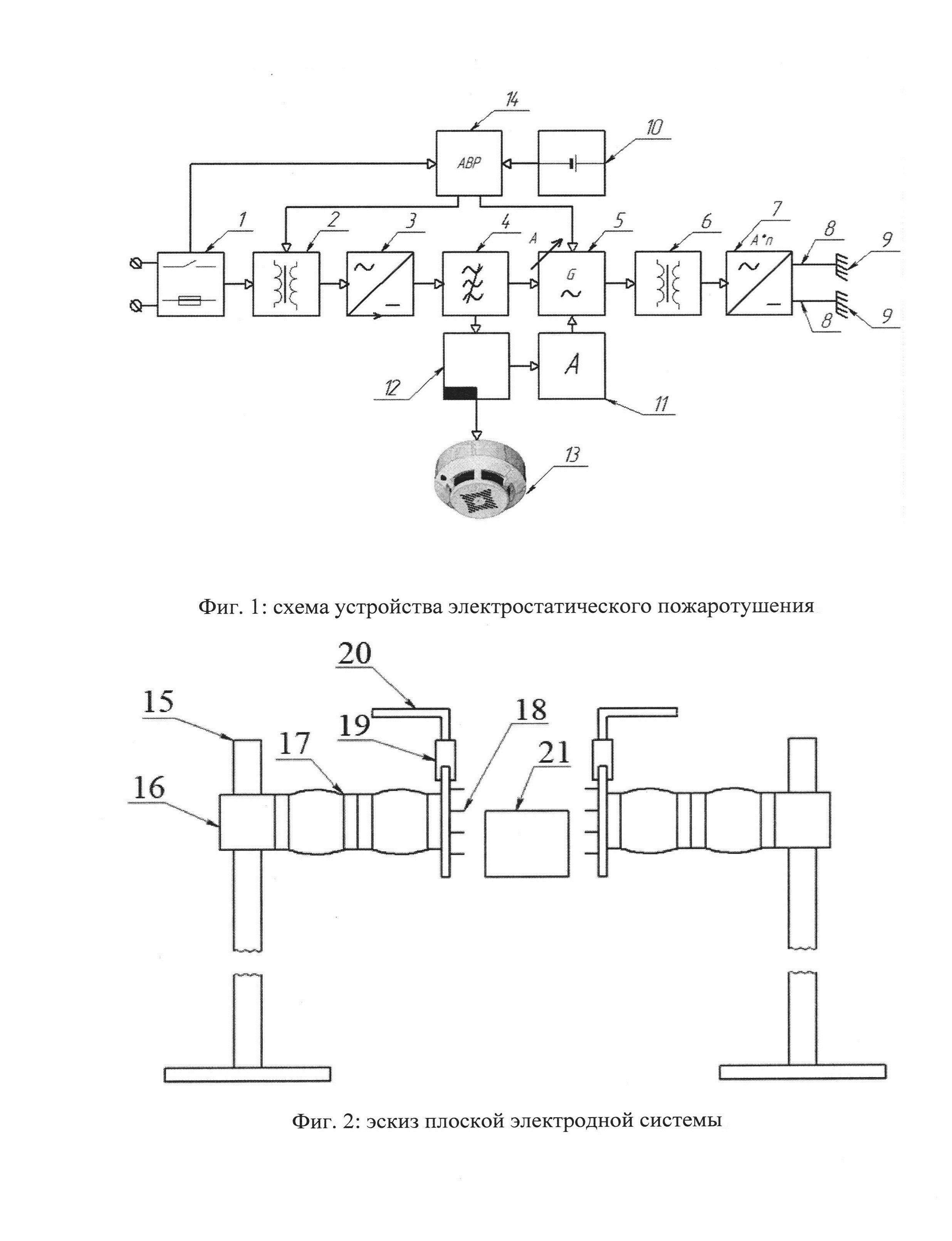
1. Устройство злектростатического пожаротушения, характеризующееся тем, что содержит связанные друг с другом: блок пускорегулирующей и защитной аппаратуры (1), понижающий трансформатор (2), двухполупериодный выпрямитель (3), сглаживающий фильтр (4), генератор синусоидального напряжения с регулируемой амплитудой выходного сигнала (5); высоковольтный трансформатор (6), резервный автономный источник электрической энергии (10) в виде аккумуляторной батареи, электродную систему (9), блок автоматического управления силовой системой устройства (11), прибор приемно-контрольный пожарный (12), комплекс средств регистрации возгорания (13), блок автоматического ввода резервного автономного источника электрической энергии (14), выполненный с возможностью автоматического включения резервного автономного источника электрической энергии (10); при этом электродная система (9) выполнена с возможностью воздействия на первичную реакционную зону факела пламени неоднородным статическим электрическим полем; источником напряжения, приложенного к электродной системе (9), является соединенный с высоковольтным трансформатором (6) двухполупериодный умножитель напряжения (7), выходные контакты которого электрически соединены высоковольтной кабельной линией (8) с электродной системой (9). 2. Устройство электростатического пожаротушения по п. 1, отличающееся тем, что электродная система выполнена в виде плоской электродной системы, выполненной с возможностью тушения возгораний твердых горючих веществ, проливов легковоспламеняющихся и горючих жидкостей. 3. Устройство электростатического пожаротушения по п. 1, отличающееся тем, что электродная система выполнена в виде цилиндрической электродной системы, выполненной с возможностью тушения нефтяных и газовых фонтанов. 4. Устройство электростатического пожаротушения по п. 1, отличающееся тем, что электродная система выполнена в виде модульной электродной системы, включающей плоский электрод и группу концентрических электродов, имеющих в разрезе игольчатую форму, выполненной с возможностью защиты помещений в зданиях и сооружениях от свободно развивающегося пожара. 5. Устройство электростатического пожаротушения по п. 1, отличающееся тем, что содержит блок автоматического ввода резервного автономного источника электрической энергии для обеспечения автономной работы устройства и тушения очага возгорания в условиях отсутствия напряжения в электрической сети объекта защиты от пожарной опасности.
Предлагаемое устройство электростатического пожаротушения относится к области противопожарной техники. Известна мобильная пожарная установка содержащая средство передвижения с расположенными на нем и соединенными между собой регулируемыми по длине эластичным проводником: источником электроэнергии, преобразователем постоянного напряжения и устройством генерации электрических разрядов в виде подключенного к высоковольтному конденсатору положительного электрода в форме «граблей» с иглами; а также выдвижное устройство, обеспечивающее доставку этого электрода в зону электронного облака (плазмы) пламени с отрицательно заряженными электронами [1]. Основным недостатком такой установки является то, что при тушении возгорания оператор вынужден находиться в зоне предельной близости к очагу возгорания, а принцип использования вместо отрицательного высоковольтного электрода плазмы пламени в этом аналоге не только ухудшает эффективность генерации требуемой напряженности электрического поля, необходимого для подавления реакции горения, снижая эффективность пожаротушения в целом, но и не позволяет использовать такую установку для превентивной защиты помещений и т.п.объектов от пожарной опасности. Известна автоматическая стационарная система, являющаяся технически наиболее близкой к заявленному изобретению, обеспечивающая помимо тушения возгорания еще и возможность защиты от пожарной опасности таких объектов как помещения в зданиях и сооружениях различного назначения, которая содержит управляющий блок и связанные с ним устройство отслеживания пожарной опасности в виде комплекта средств регистрации возгорания, например функциональных датчиков пожарной сигнализации и, по меньшей мере один, узел генерации рабочего электрического поля, состоящий из высоковольтного преобразователя напряжения, получаемого от используемого источника электропитания, и подключенных к нему двух разноименных высоковольтных электродов, установленных с воздушным зазором друг относительно друга, причем в качестве отрицательно заряженного электрода в ней служит заземленная плита пола помещения [2]. Недостатком этой системы является сниженная эффективность устройства, обусловленная односторонним по отношению к факелу пламени размещением разноименных электродов, с помощью которых генерируют рабочее электрическое поле, поскольку в результате такого размещения воздействие электрическим полем осуществляется на все зоны факела пламени. Задачей предлагаемого изобретения является повышение энергоэффективности и безопасности процесса бесконтактного тушения возгораний и/или предотвращения распространения очага пожара внутри или снаружи таких объектов как помещения в зданиях и сооружениях различного назначения, методом воздействия на первичную реакционную зону факела пламени неоднородного статического электрического поля. На фиг. 1 изображена схема устройства электростатического пожаротушения. Устройство включает: 1 - блок пускорегулирующей и защитной аппаратуры; 2 - понижающий трансформатор; 3 - двухполупериодный выпрямитель; 4 -сглаживающий фильтр; 5 - генератор синусоидального напряжения с регулируемой амплитудой выходного сигнала; 6 - высоковольтный трансформатор; 7 - двухполупериодный умножитель напряжения; 8 -высоковольтную кабельную линию; 9 - электродную систему; 10 - резервный автономный источник электрической энергии (аккумуляторную батарею); 11 - блок автоматического управления силовой системой устройства; 12 - прибор приемно-контрольный пожарный; 13 - комплекс средств регистрации возгорания (извещателей пожарных); 14 - блок автоматического ввода резервного автономного источника электрической энергии. Работа устройства осуществляется следующим образом: на входные контакты блока пускорегулирующей и защитной аппаратуры (1) поступает напряжение однофазной электрической сети (~220 В) промышленной частоты (50 Гц), выключателем осуществляется включение устройства, после чего понижающим трансформатором (2) напряжение сети понижается до безопасного значения (~24 В), двухполупериодный выпрямитель (3) преобразует переменное напряжение в постоянное, а сглаживающий фильтр (4) сглаживает пульсации выпрямленного напряжения. Далее напряжение поступает на входные контакты генератор синусоидального напряжения (5). Для регулирования напряжения, приложенного к электродным системам, и напряженности электрического поля, генератор синусоидального напряжения выполнен с возможностью регулирования его выходной амплитуды, что позволяет избежать применения дополнительных комплектующих изделий, значительно удорожающих стоимость устройства. Таким образом, генератор синусоидального напряжения (5) формирует сигнал с регулируемой амплитудой и номинальной частотой 35 кГц, который поступает затем на контакты первичной обмотки высоковольтного трансформатора (6). С контактов вторичной обмотки высоковольтного трансформатора высокое напряжение поступает на входные контакты двухполупериодного умножителя напряжения (7). Двухполупериодный умножитель напряжения служит для преобразования переменного напряжения высоковольтного трансформатора в постоянное напряжение, увеличения амплитуды постоянного напряжения, и является источником напряжения, приложенного к электродной системе (9). При этом выходные контакты двухполупериодного умножителя напряжения электрически соединены с электродной системой эластичным проводником (8). В качестве эластичного проводника использован высоковольтный кабель, покрытый термостойкой изоляцией. С целью обеспечения автономной работы устройства и тушения очага возгорания в условиях отсутствия напряжения в электрической сети объекта защиты от пожарной опасности, предусмотрен блок автоматического ввода резервного автономного источника электрической энергии (14), осуществляющий автоматическое включение резервного автономного источника электрической энергии (10). В качестве данного источника применена аккумуляторная батарея. Работа предлагаемого устройства электростатического пожаротушения осуществляется и в автоматическом режиме. Для этого предусмотрен блок автоматического управления силовой системой устройства (11), осуществляющий автоматическое включение устройства при поступлении на управляющие контакты данного блока сигнала о регистрации возгорания с прибора приемно-контрольного пожарного (12). Для обнаружения возгорания на объекте защиты, применен комплекс средств регистрации возгорания (13). В качестве извещателей в комплексе средств регистрации возгорания могут быть применены дымовые, тепловые извещатели, а также извещатели пламени. Физическая сущность процесса тушения возгораний в предлагаемом устройстве состоит в следующем: при внесении источника неоднородного статического электрического поля в область факела пламени, наблюдается эффект движения отрицательно и положительно заряженных частиц (носителей зарядов) к источникам поля, т.е. разноименно заряженным электродам, тем самым, разрывается течение цепных химических реакций, в результате чего пламя гаснет. Количественным показателем эффективности тушения очага возгорания является величина времени тушения - τт. Технический результат достигается в предлагаемом изобретении тем, что тушение очага пожара осуществляется неоднородным статическим электрическим полем, формируемым плоской и цилиндрической электродными системами, расположенными таким образом, что воздействие неоднородным статическим электрическим полем осуществляется на первичную реакционную зону факела пламени. Связанно это с тем, что первичная реакционная зона факела пламени имеет наименьшую протяженность (в сравнении с высотой всего факела пламени), кроме того, носители электрических зарядов, сконцентрированные в первичной реакционной зоне факела пламени обладают наименьшей энергией, что позволяет значительно уменьшить габаритные размеры электродных систем и снизить величину напряжения, приложенного к электродным системам. Сущность применяемых электродных систем поясняется на чертежах фиг. 2-4, где: - на фиг. 2 изображен эскиз плоской электродной системы; - на фиг. 3 изображен эскиз цилиндрической электродной системы; - на фиг. 4 изображен эскиз модульной электродной системы. Плоская электродная система применяется для тушения возгораний твердых горючих веществ, проливов легковоспламеняющихся и горючих жидкостей. Технический результат при применении плоской электродной системы (см. фиг. 2), содержащей опору (15); стойку регулируемую (16); изолятор опорный (17); электроды плоские с дополнительно укрепленными концентрическими электродами, имеющими в разрезе конусную форму (18); зажим кабельный (19); кабель высоковольтный (20); очаг возгорания (21) достигается тем, что данная электродная система формирует резкое неоднородное статическое электрическое поле, воздействующее на первичную реакционную зону факела пламени, что значительно увеличивает скорость движения положительно и отрицательно заряженных частиц (носителей зарядов) по направлению к электродам (18), тем самым достигается высокая эффективность процесса тушения возгорания за счет уменьшения величины времени тушения. Цилиндрическая электродная система применяется для тушения нефтяных и газовых фонтанов. Технический результат при применении цилиндрической электродной системы (см. фиг. 3), содержащей опору (22); стойка регулируемую (23); изолятор опорный (24); электроды цилиндрические (25); зажим кабельный (26); кабель высоковольтный (27); узел крепления электрода (28); очаг возгорания (29), достигается тем, что данная электродная система формирует средне неоднородное статическое электрическое поле, воздействующее на первичную реакционную зону факела пламени, увеличивая скорость истекания горючей смеси, и по достижении ее критического значения, происходит срыв пламени с поверхности скважины, тем самым достигается высокая эффективность процесса тушения возгорания за счет уменьшения величины времени тушения. Модульная электродная система применяется для защиты помещений, в зданиях и сооружениях различного назначения от свободно развивающегося пожара. Технический результат при применении модульной электродной системы (см. фиг. 4), содержащей защитный корпус (30), основание монтажное (31), ввод высоковольтного кабеля (32), группу заземляющих контактов корпуса (33), плоский электрод (34), группу дополнительных концентрических электродов, имеющих в разрезе игольчатую форму (35) достигается тем, что данная электродная система формирует однополярное резкое неоднородное статическое электрическое поле, воздействующее как на горящие вещества и материалы, так и на вещества и материалы, еще не вовлеченные в процесс горения, тем самым ограничивается площадь (объем) горения и достигается локализация пожара. Таким образом, сущность предлагаемого изобретения состоит в том, что предлагается бесконтактного тушения возгораний и защита помещений, в зданиях и сооружениях различного назначения от свободно развивающегося пожара, методом воздействия неоднородного статического электрического поля. Отличительными признаками от прототипа является реализация бесконтактного тушения возгораний и защита помещений, в зданиях и сооружениях различного назначения от свободно развивающегося пожара, методом воздействия неоднородного статического электрического поля на первичную реакционную зону факела пламени, с применением плоской, цилиндрической и модульной электродной систем в автоматическом режиме, причем источником напряжения, приложенного к электродным системам, является двухполупериодный умножитель напряжения. Электропитание устройства электростатического пожаротушения осуществляется как от однофазной сети переменного тока (~220 В), так и от резервного автономного источника электрической энергии, выполненного в виде аккумуляторной батареи. Список использованной литературы 1. Патент РФ на изобретение №69754 U1 от 28.09.2007. 2. Патент РФ на изобретение №2484862 С1 от 11.03.2011.