патент
№ RU 2832163
МПК G07C1/00

УСТРОЙСТВО ХРАНЕНИЯ, ЗАРЯДА И ВЫДАЧИ МЕТКИ РАДИОПОЗИЦИОНИРОВАНИЯ, МОДУЛЬ И ЯЧЕЙКА ДЛЯ ТАКОГО УСТРОЙСТВА

Авторы:
Кислухин Алексей Владимирович Макеев Артем Айдарович Мухаметзянов Фаиль Фанилевич
Все (4)
Номер заявки
2023135937
Дата подачи заявки
28.12.2023
Опубликовано
20.12.2024
Страна
RU
Как управлять
интеллектуальной собственностью
Чертежи 
5
Реферат

[129]

Изобретение относится к области систем радиопозиционирования и определения местоположения объектов, в частности к предназначенным для использования в таких системах устройству хранения, заряда и выдачи метки радиопозиционирования, модулю и ячейке для такого устройства. Предложено устройство хранения, заряда и выдачи метки радиопозиционирования, содержащее консоль, содержащую блок управления, и по меньшей мере одну модульную секцию, присоединяемую к консоли и содержащую множество модулей для хранения, заряда и выдачи метки радиопозиционирования, причем каждый модуль выполнен с возможностью связи с блоком управления и содержит: множество блоков определения наличия метки радиопозиционирования; множество блоков радиочастотной идентификации; множество блоков беспроводной зарядки; множество микроконтроллеров, выполненных с возможностью управления работой соответствующих указанных блоков; а также модуль и ячейку для такого устройства. Технический результат, достигаемый решением, заключается в повышении надежности хранения, заряда и выдачи метки радиопозиционирования и эффективности использования такой метки. 3 н. и 9 з.п. ф-лы, 9 ил.

Формула изобретения

1. Устройство хранения, заряда и выдачи метки радиопозиционирования, содержащее консоль, содержащую блок управления, и по меньше мере одну модульную секцию, присоединяемую к консоли и содержащую множество модулей для хранения, заряда и выдачи метки радиопозиционирования, причем каждый модуль выполнен с возможностью связи с блоком управления и содержит основание, на котором закреплено множество управляющих плат, на каждой из которых расположены:

блок определения наличия метки радиопозиционирования;

блок радиочастотной идентификации;

блок беспроводной зарядки;

микроконтроллер, выполненный с возможностью управления работой указанных блоков.

2. Устройство по п. 1, в котором консоль содержит устройство ввода-вывода, выполненное с возможностью связи с блоком управления.

3. Устройство по п. 1, в котором консоль содержит устройство идентификации сотрудника, выполненное с возможностью связи с блоком управления.

4. Устройство по п. 1, выполненное с возможностью доступа во внешнюю сеть посредством сетевого концентратора.

5. Устройство по п. 1, выполненное с возможностью приема сигналов системы радиопозиционирования посредством установленного приемопередатчика, выполненного с возможностью связи с блоком управления.

6. Устройство по п. 1, в котором на свободных боковых сторонах консоли и/или по меньшей мере одной модульной секции установлены защитные боковые панели.

7. Устройство по п. 1, в котором предусмотрена защитная верхняя панель, закрепляемая на консоли и по меньшей мере одной модульной секции.

8. Устройство по п. 1, в котором предусмотрены направляющие в по меньшей мере одной модульной секции для установки множества модулей для хранения, заряда и выдачи метки радиопозиционирования.

9. Модуль для устройства хранения, заряда и выдачи метки радиопозиционирования по п. 1, содержащий основание, на котором закреплено множество управляющих плат, на каждой из которых установлены:

блок определения наличия метки радиопозиционирования;

блок радиочастотной идентификации;

блок беспроводной зарядки;

микроконтроллер, выполненный с возможностью управления работой указанных блоков,

причем на основании предусмотрены крепления для установки в модульной секции.

10. Модуль по п. 9, в котором крепления для установки в модульной секции выполнены с возможностью присоединения к направляющим, предусмотренным в устройстве по п. 1.

11. Ячейка для устройства хранения, заряда и выдачи метки радиопозиционирования по п. 1, содержащая управляющую плату, на которой расположены:

блок определения наличия метки радиопозиционирования;

блок радиочастотной идентификации;

блок беспроводной зарядки;

микроконтроллер, выполненный с возможностью управления работой указанных блоков, причем управляющая плата выполнена с возможностью закрепления на основании с образованием модуля по п. 9 при совместном размещении множества управляющих плат.

12. Ячейка по п. 11, содержащая крышку, выполненную с возможностью закрепления на основании модуля по п. 9 и защиты от внешнего воздействия управляющей платы с установленными на ней по меньшей мере блоками определения наличия метки радиопозиционирования, радиочастотной идентификации, беспроводной зарядки и микроконтроллером.

Описание

[1]

Область техники, к которой относится изобретение

[2]

Изобретение относится к области систем радиопозиционирования и определения местоположения объектов, в частности к предназначенным для использования в таких системах устройству хранения, заряда и выдачи метки радиопозиционирования, модулю и ячейке для такого устройства.

[3]

Уровень техники

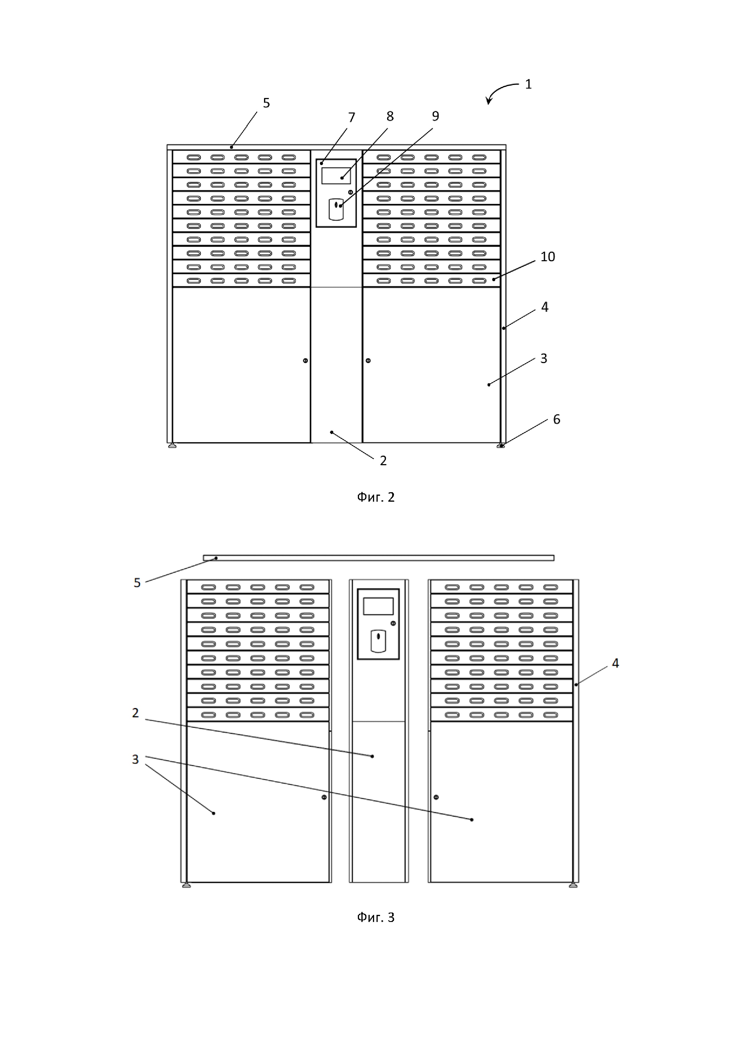
[4]

В уровне техники известна система учета и выдачи брелока ключа от транспортного средства, описанная в патенте на изобретение РФ № 2783627 (опубл. 15.11.2022, МПК G06F 21/86, G06F 21/31, G07F 17/12). Известная система обеспечивает возможности учета и выдачи брелока ключа от транспортного средства с одновременной возможностью идентификации пользователя посредством верификации его биометрических данных и/или магнитной карты пользователя для последующей выдачи брелока ключа. Известная система содержит электромеханический ящик с выдвижной панелью хранения, в которой содержится, по меньшей мере, одна ячейка для размещения в ней брелока ключа, выполненной с возможностью фиксации факта наличия или отсутствия в ней брелока ключа; контроллер управления электромеханическим ящиком; вычислительное устройство управления контроллером управления, выполненное с возможностью формирования команд управления в ответ на принятые от устройства идентификации пользователя идентификационные данные пользователя; по меньшей мере, одно устройство идентификации пользователя; по меньшей мере, один удаленный сервер для приема от вычислительного устройства данных учета изменений в состоянии брелока ключа с их последующим сохранением в базу данных упомянутого сервера.

[5]

Недостатком известного устройства является использование выдвижной панели хранения, в которой размещается сразу множество брелоков ключей. В случае неисправности такой панели и/или механизма ее выдвижения сразу множество брелоков ключей блокируется и теряет возможность быть выданными пользователю по запросу. Более того, кроме невысокой надежности использования известное устройство характеризуется пониженной безопасностью, т.к. пользователю предоставляется доступ не только к запрошенному им брелоку ключей, но и к другим брелокам, размещенных на той же панели хранения. Система учитывает только одно из следующих состояний: брелок ключа находится в ячейке панели электромеханического ящика, брелок ключа был возвращен в ячейку панели электромеханического ящика, брелок ключа изъят из ячейки панели электромеханического ящика. При этом система не содержит средств или механизмов предотвращения или по меньшей мере ограничения несанкционированного изъятия брелока ключей.

[6]

Также в уровне техники известны система управления процессом управления ключами и процесс управления ключами, описанные в международной публикации № 2023139311 (опубл. 27.07.2023, МПК G06Q10/02; G06Q30/0645; G06Q50/16). Известная система включает в себя процессор, базу данных и часть программного обеспечения, а также автоматизированные системы хранения и/или устройства распределения в желаемых местах извлечения и возврата ключей. Такие устройства для извлечения ключей включают считыватель PIN-кода, пользовательский интерфейс и, возможно, экран. Устройства для извлечения ключей также содержат по меньшей мере одну камеру и/или средство обнаружения RFID для считывания программируемых ключей после возвращения. Система обработки ключей обеспечивает обмен различными сообщениями между системой и клиентом, предоставляет вспомогательную информацию и позволяет клиенту выбирать из интерфейса веб-страницы либо из карты, либо из списка адресов, где получить или вернуть соответствующий ключ (ключи).

[7]

Известная система также характеризуется некоторыми недостатками. В частности, не раскрываются конструктивные и/или функциональные особенности известной системы, обеспечивающие возможность безопасного и надежного получения индивидуального ключа с ограничением доступа к остальным ключам.

[8]

Более того, эта и предыдущая системы не могут быть использованы для хранения активных портативных устройств, например, таких как метки радиопозиционирования, которые требуют подзарядки после периода активного использования.

[9]

Кроме того, в уровне техники известно устройство для хранения даташтампов, описанное в патенте на полезную модель РФ № 98 616 (опубл. 20.10.2010, МПК G07C 1/32). Известное устройство относится к аппаратным средствам контроля доступа и может быть использовано для организованного хранения мелких предметов в условиях проходных на объектах, имеющих ограничения на внос определенных предметов; а также для санкционированного хранения и учета предметов служебного пользования, например, даташтампов. Устройство для хранения даташтампов состоит из блока управления и присоединяемых к нему блоков хранения, содержащих модули, состоящие из ячеек для хранения даташтампов с запираемыми с помощью замков прозрачными дверцами, отличающееся тем, что блок хранения и блок управления имеют аналогичный друг другу форм-фактор, блок управления содержит блок питания с аккумулятором резервного питания, контроллер, интерфейсы RS485 и Ethernet, устройство ввода-вывода, состоящее из клавиатуры, дисплея и громкоговорителя, используемого для воспроизведения голосовых сообщений, и идентификатор пользователя в виде считывателя отпечатка пальца, а каждая ячейка имеет датчик несанкционированного вскрытия, встроенный сенсор и индивидуальный световой индикатор, управляемые посредством контроллера блока управления.

[10]

Известное устройство решает некоторые из проблем уровня техники, в частности, обеспечивается возможность безопасного получения индивидуального даташтампа, предусмотрена защита от несанкционированного вскрытия ячейки.

[11]

Однако по-прежнему известное устройство не может быть использовано для хранения и выдачи активных портативных устройств, например, таких как метки радиопозиционирования, которые требуют подзарядки после периода активного использования. Более того, наличие запираемых с помощью замков дверец в каждой ячейке снижает удобство использования устройства и скорость доступа к ячейке для размещения или извлечения даташтампа. Это может иметь негативные последствия для общей эффективности производства или организации труда на предприятии, где сразу множество сотрудников в короткий интервал времени должны получить или вернуть портативное устройство, например, такое как метка радиопозиционирования.

[12]

Раскрытие изобретения

[13]

Настоящее изобретение направлено на решение по меньшей мере некоторых из приведенных выше проблем.

[14]

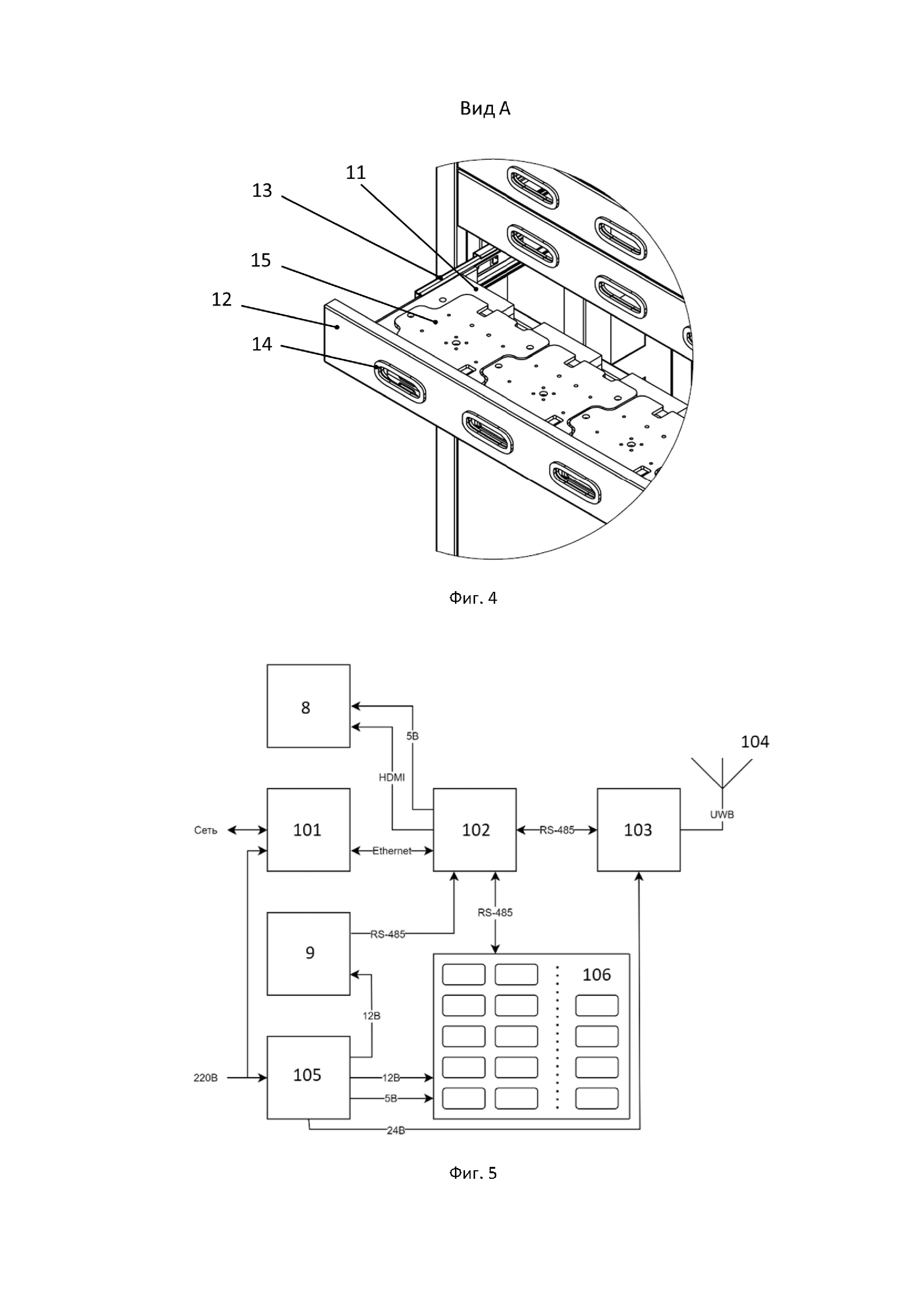
В настоящем изобретении предложено устройство хранения, заряда и выдачи метки радиопозиционирования, содержащее консоль, содержащую блок управления, и по меньше мере одну модульную секцию, присоединяемую к консоли и содержащую множество модулей для хранения, заряда и выдачи метки радиопозиционирования, причем каждый модуль выполнен с возможностью связи с блоком управления и содержит:

[15]

множество блоков определения наличия метки радиопозиционирования;

[16]

множество блоков радиочастотной идентификации;

[17]

множество блоков беспроводной зарядки;

[18]

множество микроконтроллеров, выполненных с возможностью управления работой соответствующих указанных блоков.

[19]

В одном из вариантов предложено устройство, в котором консоль содержит устройство ввода-вывода, выполненное с возможностью связи с блоком управления.

[20]

В одном из вариантов предложено устройство, в котором консоль содержит устройство идентификации сотрудника, выполненное с возможностью связи с блоком управления.

[21]

В одном из вариантов предложено устройство, выполненное с возможностью доступа во внешнюю сеть посредством сетевого концентратора.

[22]

В одном из вариантов предложено устройство, выполненное с возможностью приема сигналов системы радиопозиционирования посредством установленного приемопередатчика, выполненного с возможностью связи с блоком управления.

[23]

В одном из вариантов предложено устройство, в котором на свободных боковых сторонах консоли и/или по меньшей мере одной модульной секции установлены защитные боковые панели.

[24]

В одном из вариантов предложено устройство, в котором предусмотрена защитная верхняя панель, закрепляемая на консоли и по меньшей мере одной модульной секции.

[25]

В одном из вариантов предложено устройство, в котором предусмотрены направляющие в по меньшей мере одной модульной секции для установки множества модулей для хранения, заряда и выдачи метки радиопозиционирования.

[26]

В одном из дополнительных аспектов предложен модуль для устройства хранения, заряда и выдачи метки радиопозиционирования, содержащий основание, на котором закреплено множество блоков определения наличия метки радиопозиционирования; множество блоков радиочастотной идентификации; множество блоков беспроводной зарядки; и множество микроконтроллеров, выполненных с возможностью управления работой соответствующих указанных блоков, причем на основании предусмотрены крепления для установки в модульной секции.

[27]

В одном из вариантов предложен модуль, в котором крепления для установки в модульной секции выполнены с возможностью присоединения к направляющим, предусмотренным в устройстве по первому аспекту изобретения.

[28]

В одном из дополнительных аспектов предложена ячейка для устройства хранения, заряда и выдачи метки радиопозиционирования, содержащая управляющую плату, на которой расположены:

[29]

блок определения наличия метки радиопозиционирования;

[30]

блок радиочастотной идентификации;

[31]

блок беспроводной зарядки;

[32]

микроконтроллер, выполненный с возможностью управления работой указанных блоков, причем

[33]

управляющая плата выполнена с возможностью закрепления на основании с образованием модуля по предыдущему аспекту изобретения при совместном размещении множества управляющих плат.

[34]

В одном из вариантов предложена ячейка, содержащая крышку, выполненную с возможностью закрепления на основании модуля и защиты от внешнего воздействия управляющей платы с установленными на ней по меньшей мере блоками определения наличия метки радиопозиционирования, радиочастотной идентификации, беспроводной зарядки и микроконтроллером.

[35]

Задачей, решаемой заявленным изобретением, является создание устройства хранения, заряда и выдачи метки радиопозиционирования, которое может эффективно использоваться в системе радиопозиционирования для хранения, заряда и выдачи меток радиопозиционирования.

[36]

Технический результат, достигаемый решением, заключается в повышении надежности хранения, заряда и выдачи метки радиопозиционирования и эффективности использования такой метки благодаря тому, что предложенное устройство содержит модульную секцию, присоединяемую к консоли и содержащую множество модулей для хранения, заряда и выдачи метки радиопозиционирования, причем каждый модуль выполнен с возможностью связи с блоком управления и содержит:

[37]

множество блоков определения наличия метки радиопозиционирования;

[38]

множество блоков радиочастотной идентификации;

[39]

множество блоков беспроводной зарядки;

[40]

множество микроконтроллеров, выполненных с возможностью управления работой соответствующих указанных блоков.

[41]

Таким образом, предложенное изобретение позволяет раздельно хранить множество индивидуальных меток радиопозиционирования, обеспечить их быструю выдачу большому количеству пользователей, а также быстрое размещение большим количеством пользователей, осуществлять индивидуальную зарядку каждой метки радиопозиционирования в период ее неиспользования.

[42]

Эти и другие преимущества изобретения будут более подробно изложены в последующем описании.

[43]

Краткое описание чертежей

[44]

На фиг. 1 показано устройство хранения, заряда и выдачи метки радиопозиционирования в общем виде;

[45]

На фиг. 2 показано устройство хранения, заряда и выдачи метки радиопозиционирования на виде спереди;

[46]

На фиг. 3 показано устройство хранения, заряда и выдачи метки радиопозиционирования на виде спереди в частичном разборе;

[47]

На фиг. 4 показан вид А по фиг. 1, более подробно иллюстрирующий модуль для устройства хранения, заряда и выдачи метки радиопозиционирования;

[48]

На фиг. 5 показана функциональная схема устройства хранения, заряда и выдачи метки радиопозиционирования;

[49]

На фиг. 6 показан модуль для устройства хранения, заряда и выдачи метки радиопозиционирования на виде сверху;

[50]

На фиг. 7 показан модуль для устройства хранения, заряда и выдачи метки радиопозиционирования на виде снизу;

[51]

На фиг. 8 показан вид Б по фиг. 6 в частичном разрезе, более подробно иллюстрирующий ячейку для устройства хранения, заряда и выдачи метки радиопозиционирования;

[52]

На фиг. 9 показана функциональная схема ячейки для устройства хранения, заряда и выдачи метки радиопозиционирования в общем виде.

[53]

Осуществление изобретения

[54]

Изобретение относится к области систем радиопозиционирования и определения местоположения объектов, в частности, к предназначенным для использования в таких системах устройству хранения, заряда и выдачи метки радиопозиционирования, модулю и ячейке для такого устройства.

[55]

На фиг. 1 показано предложенное устройство 1 хранения, заряда и выдачи метки радиопозиционирования (ХЗВМ - хранения, заряда и выдачи метки) в общем виде, где один из множества модулей показан выдвинутым из модульной секции. В проиллюстрированном в качестве примера варианте осуществления устройство содержит две модульных секции, в каждой из которых расположено десять модулей, причем каждый модуль содержит пять ячеек для хранения, заряда и выдачи метки радиопозиционирования.

[56]

На фиг. 2 показано устройство 1 ХЗВМ на виде спереди. На фиг. 3 показано устройство 1 ХЗВМ на виде спереди в частичном разборе.

[57]

В настоящем изобретении предложено устройство 1 ХЗВМ, содержащее консоль 2, содержащую блок управления, и по меньше мере одну модульную секцию 3, присоединяемую к консоли 2 и содержащую множество модулей 10 для хранения, заряда и выдачи метки радиопозиционирования, причем каждый модуль выполнен с возможностью связи с блоком управления и содержит:

[58]

множество блоков определения наличия метки радиопозиционирования;

[59]

множество блоков радиочастотной идентификации;

[60]

множество блоков беспроводной зарядки;

[61]

множество микроконтроллеров, выполненных с возможностью управления работой соответствующих указанных блоков.

[62]

В проиллюстрированном на фиг. 1-3 в качестве примера варианте осуществления устройство 1 ХЗВМ содержит одну консоль 2 и две модульных секции 3, присоединенных с двух сторон к консоли 2.

[63]

Консоль 2 представляет собой каркасный элемент, выполненный с возможностью закрепления боковых панелей. Каркас обеспечивает жесткость всей консоли. Внутри консоли 2 расположены необходимые электронные компоненты.

[64]

Модульная секция 3 представляет собой каркасный элемент, выполненный с возможностью закрепления боковых панелей. Каркас обеспечивает жесткость всей модульной секции. Консоль 2 и модульная секция 3 могут быть соединены стандартными сборочными операциями, например, с использованием болтов и гаек или других крепежных средств.

[65]

Модульная секция 3 содержит множество модулей 10 ХЗВМ, преимущественно расположенных в верхней части модульной секции 3, а в нижней части модульной секции 3 предусмотрен отсек ЗИП, например, для хранения набора запасных частей, инструментов, принадлежностей (ЗИП) и расходных материалов, необходимых для обеспечения функционирования, технического обслуживания и ремонта устройства-ключницы. Для доступа к отсеку ЗИП предусмотрена дверца, показанная, но не обозначенная позицией на фигурах.

[66]

В другом варианте осуществления изобретения модульная секция может не содержать отсека ЗИП и быть полностью укомплектованной множеством модулей 10 ХЗВМ. В этом случае высота модульной секции, расположение модульной секции в устройстве-1 ХЗВМ и размещение самого устройства 1 ХЗВМ должны выбираться и учитываться для удобства пользователей.

[67]

В проиллюстрированном на фиг. 1-3 варианте осуществления изобретения устройство 1 ХЗВМ содержит по существу две одинаковых модульных секции 3, в верхней части которых расположено множество модулей 10 ХЗВМ, а в нижней - отсек ЗИП, причем обе модульные секции расположены по бокам от консоли 2. В других вариантах, по меньшей мере одна из модульных секций может быть полностью укомплектована модулями 10 ХЗВМ, а сами модульные секции могут быть соединены друг с другом и располагаться с одной стороны консоли 2. В других вариантах осуществления может быть предусмотрено несколько консолей, функционально связанных между собой для обеспечения необходимого взаимодействия между блоками управления и надежного функционирования устройства 1 ХЗВМ.

[68]

В одном из вариантов предложено устройство 1 ХЗВМ, в котором на свободных боковых сторонах консоли и/или по меньшей мере одной модульной секции установлены защитные боковые панели 4. В еще одном из вариантов предложено устройство 1 ХЗВМ, в котором предусмотрена защитная верхняя панель 5, закрепляемая на консоли и по меньшей мере одной модульной секции. В качестве неограничивающего примера, защитные боковые панели и защитная верхняя панель могут быть изготовлены из листовой стали методом гибки с последующим нанесением полимерного покрытия. В качестве еще одного неограничивающего примера для панелей может быть использована листовая оцинкованная сталь 08ПС толщиной h=1,2мм.

[69]

Защитные боковые панели и защитная верхняя панель обеспечивают дополнительную жесткость консоли и по меньшей мере одной модульной секции, и соответственно, всей конструкции устройства 1 ХЗВМ. Дополнительно, защитные панели предотвращают попадание посторонних предметов внутрь консоли и по меньшей мере одной модульной секции, обеспечивая тем самым надежное хранение, зарядку и выдачу меток радиопозиционирования. Кроме того, защитная верхняя панель 5 позволяет выровнять между собой консоль 2 и по меньшей мере одну модульную секцию 3 для придания большей устойчивости и надежности всего устройства 1 ХЗВМ.

[70]

В проиллюстрированном на фиг. 1-3 варианте осуществления изобретения устройство 1 ХЗВМ содержит напольные консоль 2 и две модульных секции 3. В этом варианте консоль и модульные секций выполнены, например, высотой от 1,5 до 2,0 м, для более удобного использования и обеспечения возможности быстрого размещения и получения меток радиопозиционирования. Для выравнивания положения устройства 1 ХЗВМ предусмотрены ножки 6, располагаемые по углам каждой из секции и по меньшей мере одной консоли или по углам собранного устройства 1 ХЗВМ.

[71]

В других вариантах осуществления изобретения консоль 2 и модульные секции 3 могут иметь меньшую высоту, например от 50 до 150 см, и закрепляться на стене посредством предусмотренных на каркасах соответствующих элементов крепежных средств или располагаться на тумбе или ином предмете для обеспечения удобного использования и возможности быстрого размещения и получения меток радиопозиционирования.

[72]

В одном из вариантов предложено устройство, в консоли 2 которого предусмотрен люк 7. Люк 7 может быть изготовлен из листовой оцинкованной стали с последующим нанесением полимерного покрытия. Например, может использоваться листовая оцинкованная сталь 08ПС толщиной h=1,2 мм. Посредством люка 7 обслуживающий персонал получает доступ к электронным компонентам, находящимся внутри консоли 2.

[73]

В одном из вариантов предложено устройство, в котором консоль содержит устройство 8 ввода-вывода, выполненное с возможностью связи с блоком управления. В качестве неограничивающего примера устройство ввода-вывода может представлять собой сенсорный дисплей, устройство из дисплея и кнопочного терминала, или другие средства, обеспечивающие возможность отображения информации о функционировании устройства 1 ХЗВМ, отдельных модулей 10 ХЗВМ или ячеек в их составе, другую пользовательскую информацию, а также обеспечивающие возможность ввода управляющих команд, кодов подтверждения и другой пользовательской информации.

[74]

В других вариантах устройство ввода-вывода может содержать клавиатуру, дисплей и громкоговоритель, используемый для воспроизведения голосовых сообщений. Блок управления, предусмотренный в каждой консоли, функционально связан с другими элементами устройства, может содержать программируемую память для хранения программного кода и микроконтроллер для исполнения программного кода, чтобы управлять работой устройства, обеспечивать передачу данных между функциональными блоками устройства, отправлять и принимать исполняемые команды.

[75]

В одном из вариантов предложено устройство, в котором консоль содержит устройство 9 идентификации сотрудника, выполненное с возможностью связи с блоком управления. В качестве неограничивающего примера устройство идентификации сотрудника может представлять собой RFID-считыватель, выполненный с возможностью считывания информации о сотруднике, например, с его пропуска, содержащего соответствующую RFID-метку, и последующей передачи считанной информации в блок управления консоли 2. В зависимости от содержимого считанной информации блок управления может сформировать и/или передать команду в требуемую ячейку требуемого модуля 10 ХЗВМ для активирования и/или выдачи соответствующей метки радиопозиционирования.

[76]

В одном из вариантов предложено устройство, в котором предусмотрены направляющие 13 в по меньшей мере одной модульной секции 3 для установки множества модулей 10 ХЗВМ. Наилучшим образом направляющие видны на фиг. 4, где показан вид А по фиг. 1, более подробно иллюстрирующий модуль 10 для устройства 1 хранения, заряда и выдачи метки радиопозиционирования. Направляющие 13 могут быть выполнены телескопическими или другой подходящей конструкции, которая позволяет выдвинуть модуль 10 ХЗВМ из модульной секции, обеспечив тем самым возможность для обслуживания и ремонта.

[77]

В одном из вариантов предложено устройство, выполненное с возможностью доступа во внешнюю сеть посредством сетевого концентратора, например, для подключения к внешнему серверу, который хранит и обрабатывает информацию, передаваемую от устройства 1 ХЗВМ. В еще одном из вариантов предложено устройство, выполненное с возможностью приема сигналов системы радиопозиционирования посредством установленного приемопередатчика, выполненного с возможностью связи с блоком управления.

[78]

Далее, со ссылкой на фиг. 5 описана более подробно работа предложенного устройства 1 ХЗВМ. На фиг. 5 показана функциональная схема устройства хранения, заряда и выдачи метки радиопозиционирования.

[79]

Устройство 1 ХЗВМ содержит блок 102 управления, который может быть реализован на базе одноплатного компьютера. Также предусмотрено устройство 8 ввода-вывода, например, экран визуализации, который подключен к блоку 102 управления через интерфейс HDMI, а питание электричеством осуществляется непосредственно от блока 102 управления. Связь блока 102 управления с внешним сервером осуществляется через сетевой концентратор 101 посредством интерфейса связи Ethernet.

[80]

Идентификация сотрудников для доступа в систему осуществляется через предусмотренное устройство 9 идентификации сотрудников, например, такое как считыватель пропусков. Связь устройства 9 идентификации сотрудников с блоком 102 управления реализована через интерфейс RS-485. Количество индивидуальных ячеек в группе 106 ячеек может варьироваться от конкретного исполнения, и зависит от количества модулей 10 ХЗВМ и ячеек в каждом модуле 10 ХЗВМ. Связь группы 106 ячеек, т.е. множества индивидуальных ячеек в модуле 10 ХЗВМ, с блоком 102 управления реализована через интерфейс RS-485.

[81]

Для обеспечения необходимых напряжений каждого функционального узла устройства 1 ХЗВМ предусмотрено несколько гальванически развязанных импульсных блоков 105 питания, которые подключены к общей электрической сети. Прослушивание UWB радиоканала системы позиционирования возможно благодаря встроенному приемопередатчику 103, соединенному c антенной 104 и связанному с блоком 102 управления через интерфейс RS-485.

[82]

Благодаря созданию предложенного устройства 1 ХЗВМ обеспечивается технический результат, состоящий в повышении надежности хранения, заряда и выдачи метки радиопозиционирования и эффективности использования такой метки благодаря тому, что предложенное устройство содержит модульную секцию, присоединяемую к консоли и содержащую множество модулей для хранения, заряда и выдачи метки радиопозиционирования, причем каждый модуль выполнен с возможностью связи с блоком управления и содержит:

[83]

множество блоков определения наличия метки радиопозиционирования;

[84]

множество блоков радиочастотной идентификации;

[85]

множество блоков беспроводной зарядки;

[86]

множество микроконтроллеров, выполненных с возможностью управления работой соответствующих указанных блоков.

[87]

Таким образом, решается задача создания устройства хранения, заряда и выдачи метки радиопозиционирования, которое в сравнении с решениями уровня техники может эффективно использоваться в системе радиопозиционирования для хранения, заряда и выдачи меток радиопозиционирования. Более того, предложенное изобретение позволяет раздельно хранить множество индивидуальных меток радиопозиционирования, обеспечить их быструю выдачу большому количеству пользователей, а также быстрое размещение большим количеством пользователей, осуществлять индивидуальную зарядку каждой метки радиопозиционирования в период ее неиспользования.

[88]

Например, в начале рабочего дня множество сотрудников может последовательно пройти идентификацию посредством устройства 9 идентификации сотрудника, и получить метки радиопозиционирования без дополнительных задержек, связанных с выдвижением и последующим задвижением большого модуля ХЗВМ, предназначенного для хранения множества меток радиопозиционирования, и/или связанных с необходимостью открывания и последующего закрывания дверец индивидуальных ячеек.

[89]

Аналогично, в конце рабочего дня сотрудникам не требуется дополнительная идентификация посредством устройства 9 идентификации сотрудника для сдачи метки радиопозиционирования, не требуется время на открывание дверцы соответствующей индивидуальной ячейки, сокращается время на поиск свободной ячейки. Сотруднику достаточно разместить метку радиопозиционирования в свободной ячейке. Данные, связанные с меткой, в том числе информация о сотруднике, который ей пользовался в течение дня, будут считаны и переданы на внешний сервер, связанный с функционированием системы радиопозиционирования.

[90]

Сама метка после размещения в свободной ячейке в зависимости от состояния аккумулятора может перейти в режим заряда посредством предусмотренного для этих целей блока беспроводной зарядки, как будет более подробно описано ниже.

[91]

Далее, со ссылкой на фиг. 6-7 будет описан модуль для устройства хранения, заряда и выдачи метки радиопозиционирования, который показан на виде сверху и на виде снизу, соответственно. В одном из дополнительных аспектов предложен модуль 10 для устройства 1 ХЗВМ, содержащий основание 11, на котором закреплено множество блоков 18 определения наличия метки радиопозиционирования; множество блоков радиочастотной идентификации; множество блоков беспроводной зарядки; и множество микроконтроллеров, выполненных с возможностью управления работой соответствующих указанных блоков, причем на основании 11 предусмотрены крепления для установки в модульной секции.

[92]

В одном из вариантов предложен модуль, в котором крепления для установки в модульной секции выполнены с возможностью присоединения к направляющим 13, предусмотренным в устройстве 1 ХЗВМ. Это могут разборные крепления, соединения типа болт-гайка, защелки, клипсы и т.д.

[93]

В одном из других вариантов осуществления модуль 10 для устройства 1 ХЗВМ содержит основание 11, на котором закреплено множество управляющих плат 16, причем каждая из управляющих плат 16 содержит блок 18 определения наличия метки радиопозиционирования; блок радиочастотной идентификации; блок беспроводной зарядки; микроконтроллер, выполненный с возможностью управления работой указанных блоков. В одном из вариантов осуществления управляющая плата 16 может дополнительно содержать по меньшей мере одно или несколько из блока световой индикации, механизма выдачи метки радиопозиционирования, конвертора последовательного интерфейса связи, выполненного с возможностью трансформирования сигналов интерфейса UART в сигналы интерфейса RS-485, линейного регулятора напряжений.

[94]

В одном из вариантов осуществления модуль 10 ХЗВМ содержит лицевую панель 12 с выполненными в ней отверстиями, количество которых совпадает с количеством управляющих плат 16, закрепленных на основании 11. В дополнительном варианте осуществления, в отверстиях на лицевой панели расположено множество накладок 14, выполненных с возможностью обеспечения введения метки радиопозиционирования в требуемом положении.

[95]

В предпочтительном варианте основание 11 модуля 10 ХЗВМ изготовлено из листов винипласта методом фрезерования. Лицевая панель 12 модуля 10 ХЗВМ может быть изготовлена из листовой оцинкованной стали методом гибки с последующим нанесением полимерного покрытия. В качестве неограничивающего примера для изготовления может использоваться листовая оцинкованная сталь 08ПС толщиной h=1,2мм. На поверхности расположены фигурные отверстия для извлечения метки.

[96]

В одном из вариантов осуществления накладки 14 могут быть выполнены из светорассеивающего материала. Например, пластиковая накладка 14 может быть выполнена из полиамида или светорассеивающего акрила. Таким образом, при наличии блока световой индикации на управляющей плате 16 модуля 10 ХЗВМ накладка будет рассеивать свет от блока световой индикации. Цвет и/или яркость может сигнализировать о состоянии заряда метки радиопозиционирования, готовности метки к дальнейшему использованию сотрудником, прошедшим идентификацию, указывать на свободную ячейку для размещения метки радиопозиционирования после использования и на другие состояния устройства в целом и его отдельных модулей и ячеек.

[97]

Форма накладки 14 по существу повторяет форму фигурного отверстия в лицевой панели 12, что способствует расположению метки радиопозиционирования в требуемом положении, в котором может быть считана информация с метки посредством предусмотренного блока радиочастотной идентификации; а также осуществлена зарядка метки посредством предусмотренного блока беспроводной зарядки.

[98]

В одном из вариантов осуществления предусмотрено множество крышек 15, каждая из которых выполнена с возможностью закрепления на основании 11 и защиты от внешнего воздействия управляющей платы 16 с установленными на ней по меньшей мере блоками определения наличия метки радиопозиционирования, радиочастотной идентификации, беспроводной зарядки и микроконтроллером.

[99]

Благодаря созданию предложенного модуля 10 ХЗВМ в этом аспекте изобретения также обеспечивается технический результат, состоящий в повышении надежности хранения, заряда и выдачи метки радиопозиционирования и эффективности использования такой метки благодаря тому, что в предложенном модуле содержится основание, на котором закреплено множество блоков определения наличия метки радиопозиционирования; множество блоков радиочастотной идентификации; множество блоков беспроводной зарядки; и множество микроконтроллеров, выполненных с возможностью управления работой соответствующих указанных блоков, причем на основании предусмотрены крепления для установки в модульной секции.

[100]

Более того, предложенный модуль 10 ХЗВМ, предназначенный для устройства 1 ХЗВМ позволяет раздельно хранить множество индивидуальных меток радиопозиционирования, обеспечить их быструю выдачу большому количеству пользователей, а также быстрое размещение большим количеством пользователей, осуществлять индивидуальную зарядку каждой метки радиопозиционирования в период ее неиспользования.

[101]

Далее, со ссылкой на фиг. 8-9 описывается сама ячейка, ее конструкция и функционирование, где на фиг. 8 показан вид Б по фиг. 6 в частичном разрезе, более подробно иллюстрирующий ячейку для устройства хранения, заряда и выдачи метки радиопозиционирования, а на фиг. 9 показана функциональная схема ячейки для устройства хранения, заряда и выдачи метки радиопозиционирования в общем виде.

[102]

В одном из дополнительных аспектов предложена ячейка для устройства хранения, заряда и выдачи метки радиопозиционирования, содержащая управляющую плату 16, на которой расположены:

[103]

блок 18 определения наличия метки радиопозиционирования;

[104]

блок 205 радиочастотной идентификации;

[105]

блок 201 беспроводной зарядки;

[106]

микроконтроллер 204, выполненный с возможностью управления работой указанных блоков, причем

[107]

управляющая плата 16 выполнена с возможностью закрепления на основании 11 с образованием модуля 10 ХЗВМ при совместном размещении множества управляющих плат 16.

[108]

В одном из вариантов осуществления предложена ячейка, в которой блок 18 определения наличия метки радиопозиционирования содержит два датчика 181, 182 положения. Предпочтительно, по меньшей мере один из датчиков 181, 182 положения представляет собой инфракрасный датчик положения.

[109]

В одном из вариантов осуществления предложена ячейка, которая может содержать блок 202 световой индикации и/или механизм 17 выдачи метки радиопозиционирования.

[110]

В одном из вариантов осуществления предложена ячейка, в которой механизм 17 выдачи метки радиопозиционирования содержит электромагнитный переключатель, систему рычагов и фиксатор.

[111]

В одном из вариантов осуществления предложена ячейка, содержащая конвертор 203 последовательного интерфейса связи, выполненный с возможностью трансформирования сигналов интерфейса UART в сигналы интерфейса RS-485.

[112]

В одном из вариантов осуществления предложена ячейка, в которой блок 205 радиочастотной идентификации реализован на частоте 125кГц.

[113]

В одном из вариантов осуществления предложена ячейка, содержащая линейный регулятор 206 напряжений.

[114]

В одном из вариантов осуществления предложена ячейка, содержащая крышку 15, выполненную с возможностью закрепления на основании 11 и защиты от внешнего воздействия управляющей платы 16 с установленными на ней по меньшей мере блоком 18 определения наличия метки радиопозиционирования, блоком 205 радиочастотной идентификации, блоком 201 беспроводной зарядки и микроконтроллером 204. Такая крышка может быть изготовлена из листового винипласта методом фрезерования. Крышка 15 также может предотвращать попадание посторонних предметов на элементы ячейки и во внутреннюю часть модуля 10 ХЗВМ. В предпочтительном варианте основание 11 изготовлено из листов винипласта методом фрезерования.

[115]

Микроконтроллер 204 может быть реализован на основе 32х разрядного микроконтроллера с тактовой частотой до 72Мгц. Блок 201 беспроводной зарядки может представлять собой однокристальное устройство - передатчик с одной катушкой, работающий от 5В напряжения и поддерживающий протокол WPC 1.2 Qi. Для определения идентификационного номера размещаемой в ячейке метки 19 радиопозиционирования предусмотрен блок 205 радиочастотной идентификации на частоте 125кГц.

[116]

Для определения наличия и требуемого положения метки 19 радиопозиционирования предусмотрен блок 18 определения наличия метки, который может состоять из функционально связанных инфракрасных датчиков положения, например, из заднего датчика 181 и фронтального датчика 182. Принцип работы датчиков 181 и 182 состоит в измерении напряжения, пропорционального интенсивности отражения ИК лучей от поверхности вставленной в ячейку метки 19 радиопозиционирования, которая имеет зависимость от расстояния между блоком 18 определения наличия метки и облучаемым предметом.

[117]

В общем случае метка 19 радиопозиционирования представляет собой приемопередатчик с таймером, засекающим время прихода и отправления сообщений, местоположение которого необходимо определить. Метка выполнена в корпусе, изготовленным из АБС методом литья под давлением. В состав метки кроме приемопередатчика входит микроконтроллер, аккумулятор, блок инерциальных и магнитных измерений, микросхема беспроводного заряда, катушка заряда, преобразователи питания, кнопка включения/выключения, светодиод, RFID метка, барометрический датчик, пьезодинамики, интерфейс связи и устройство ввода-вывода информации. Некоторые из вышеперечисленных компонентов метки могут быть опциональными, что зависит от особенностей условий эксплуатации и решаемых задач системы радиопозиционирования.

[118]

Выдача метки 19 из ячейки осуществляется блоком 17 выдачи, в составе которого основным элементом является соленоид. При подаче соответствующего напряжения на соленоид он обеспечивает перемещение системы рычагов, показанных и необозначенных позицией на фиг.8. Система рычагов приводит фиксатор (показан и не обозначен позицией на фиг.8) во взаимодействие с меткой 19 для ее удержания, если выдача метки не предусмотрена, и выводит фиксатор из взаимодействия с меткой 19 для ее высвобождения, если блок управления передает микроконтроллеру 204 команду на выдачу метки. В некоторых вариантах осуществления при выведении фиксатора из взаимодействия с меткой 19 он перемещает ее наружу, чтобы она была более легко доступной, например, выступала за пределы лицевой панели 12 модуля 10 ХЗВМ, для сотрудника, который прошел идентификацию и которому была назначена для использования соответствующая метка 19.

[119]

Для светового выделения конкретной ячейки предусмотрен блок 202 световой индикации. Благодаря световой индикации посредством блока 202 световой индикации и рассеивания излучаемого света посредством накладки 14, как было описано выше, обеспечивается ряд преимуществ. Например, такая индикация может привлечь внимание сотрудника, и как следствие, обеспечивается сокращение времени для получения метки 19 сотрудником. Такая индикация может указывать на наличие свободной ячейки для размещения метки 19 сотрудником, как следствие, обеспечивается сокращение времени для сдачи/размещения метки 19 после ее использования. Такая индикация может указывать на состояние заряда метки 19 в ячейке, тем самым увеличивая срок использования метки 19 и повышая в целом надежность предложенного изобретения.

[120]

Для обеспечения связи с блоком управления устройства 1 ХЗВМ предусмотрен конвертор 203 последовательного интерфейса связи, выполненный с возможностью трансформирования сигналов интерфейса UART в сигналы интерфейса RS-485. Функцию стабилизации и регулирования напряжений питания вычислительных узлов выполняет линейный регулятор 206 напряжений.

[121]

Благодаря созданию предложенной ячейки, предназначенной для устройства 1 ХЗВМ в этом аспекте изобретения также обеспечивается технический результат, состоящий в повышении надежности хранения, заряда и выдачи метки радиопозиционирования и эффективности использования такой метки благодаря тому, что в предложенной ячейке содержится управляющая плата, на которой расположены блок определения наличия метки радиопозиционирования; блок радиочастотной идентификации; блок беспроводной зарядки; микроконтроллер, выполненный с возможностью управления работой указанных блоков, причем управляющая плата выполнена с возможностью закрепления на основании с образованием модуля для хранения, заряда и выдачи метки радиопозиционирования при совместном размещении множества управляющих плат.

[122]

Предложенная ячейка позволяет раздельно хранить каждую метку радиопозиционирования, обеспечить простую и быструю выдачу метки, а также простое и быстрое размещение метки пользователем после использования, осуществлять индивидуальную зарядку каждой метки радиопозиционирования в период ее неиспользования и хранения в ячейке для хранения, заряда и выдачи.

[123]

Варианты осуществления не ограничиваются описанными здесь вариантами осуществления, специалисту в области техники на основе информации, изложенной в описании, и знаний уровня техники станут очевидны и другие варианты осуществления изобретения, не выходящие за пределы сущности и объема данного изобретения.

[124]

Элементы, указанные в единственном числе, не исключают множественности элементов, если отдельно не указано иное.

[125]

Под функциональной связью элементов следует понимать связь, обеспечивающую корректное взаимодействие этих элементов друг с другом и реализацию той или иной функциональности элементов. Частными примерами функциональной связи может быть связь с возможностью обмена информацией, связь с возможностью передачи электрического тока, связь с возможностью передачи механического движения, связь с возможностью передачи света, звука, электромагнитных или механических колебаний и т.д. Конкретный вид функциональной связи определяется характером взаимодействия указанных элементов, и, если не указано иное, обеспечивается широко известными средствами, используя широко известные в технике принципы.

[126]

В заявке не указано конкретное программное и аппаратное обеспечение для реализации блоков на чертежах, упомянуты лишь некоторые примерные варианты осуществления, специалисту в области техники должно быть понятно, что сущность изобретения не ограничена конкретной программной или аппаратной реализацией, и поэтому для осуществления изобретения могут быть использованы любые программные и аппаратные средства известные в уровне техники. Так аппаратные средства могут быть реализованы в одной или нескольких специализированных интегральных схемах, цифровых сигнальных процессорах, устройствах цифровой обработки сигналов, программируемых логических устройствах, программируемых пользователем вентильных матрицах, процессорах, контроллерах, микроконтроллерах, микропроцессорах, электронных устройствах, других электронных модулях, выполненных с возможностью осуществлять описанные в данном документе функции, компьютер либо комбинации вышеозначенного.

[127]

Несмотря на то, что примерные варианты осуществления были подробно описаны и показаны на сопроводительных чертежах, следует понимать, что такие варианты осуществления являются лишь иллюстративными и не предназначены ограничивать более широкое изобретение, и что данное изобретение не должно ограничиваться конкретными показанными и описанными компоновками и конструкциями, поскольку различные другие модификации могут быть очевидны специалистам в соответствующей области.

[128]

Признаки, указанные в различных зависимых пунктах формулы, а также реализации, раскрытые в различных частях описания могут быть скомбинированы с достижением полезных эффектов, даже если возможность такого комбинирования не раскрыта явно.

Как компенсировать расходы
на инновационную разработку
Похожие патенты