патент
№ RU 2829667
МПК E02D5/04

Шпунтовая U-образная холодногнутая свая

Авторы:
Чекмарев Иван Васильевич
Номер заявки
2024110381
Дата подачи заявки
16.04.2024
Опубликовано
05.11.2024
Страна
RU
Как управлять
интеллектуальной собственностью
Чертежи 
5
Реферат

[71]

Изобретение относится к гидротехническому и общегражданскому строительству и может быть использовано в морском и речном строительстве портовых сооружений, строительстве набережных и причалов, подпорных стенок при берегоукрепительных работах, а также при дорожном строительстве, сооружении тоннелей и фундаментов в стесненных условиях. Шпунтовая U-образная холодногнутая свая из металлической полосы включает симметричное корытообразное тело, состоящее из днища с двумя боковыми наклонными стенками с отгибами на концевых частях, с которыми соединены крючкообразные замковые элементы, совместно образующие основание сваи. Боковые стенки тела сваи расположены под углами β по отношению к днищу и основанию, соответствующим условию: arccos (S/0,3*H) > β > arccos (S/h), при этом высота тела сваи Н составляет 23-33 толщины сваи, высота замкового элемента сваи h составляет 3,6-5,0 толщины сваи, ширина тела сваи Вт составляет 45-65 толщины сваи, а полная ширина Вс сваи составляет 60-80 толщины сваи, где: S - толщина тела сваи, мм; Н - высота тела сваи, мм; h - высота замкового элемента, мм; Вт - ширина тела сваи, а Вс - полная ширина сваи с замковыми элементами, мм. Технический результат состоит в повышении нагрузочной способности сваи и шпунтовой стенки в целом при низкой металлоемкости, снижении затрат на монтаж за счет уменьшения количества погружений при сооружении стенки, а также повышении устойчивости сваи при погружении и эксплуатации. 2 з.п. ф-лы, 5 ил., 1 табл.

Формула изобретения

1. Шпунтовая U-образная холодногнутая свая из металлической полосы, включающая симметричное корытообразное тело, состоящее из днища с двумя боковыми наклонными стенками с отгибами на концевых частях, с которыми соединены крючкообразные замковые элементы, совместно образующие основание сваи, отличающаяся тем, что боковые стенки тела сваи расположены под углами β по отношению к днищу и основанию, соответствующим условию:

arccos (S/0,3*H) > β > arccos (S/h),

при этом высота тела сваи Н составляет 23-33 толщины сваи, высота замкового элемента сваи h составляет 3,6-5,0 толщины сваи, ширина тела сваи Вт составляет 45-65 толщины сваи, а полная ширина Вс сваи составляет 60-80 толщины сваи, где:

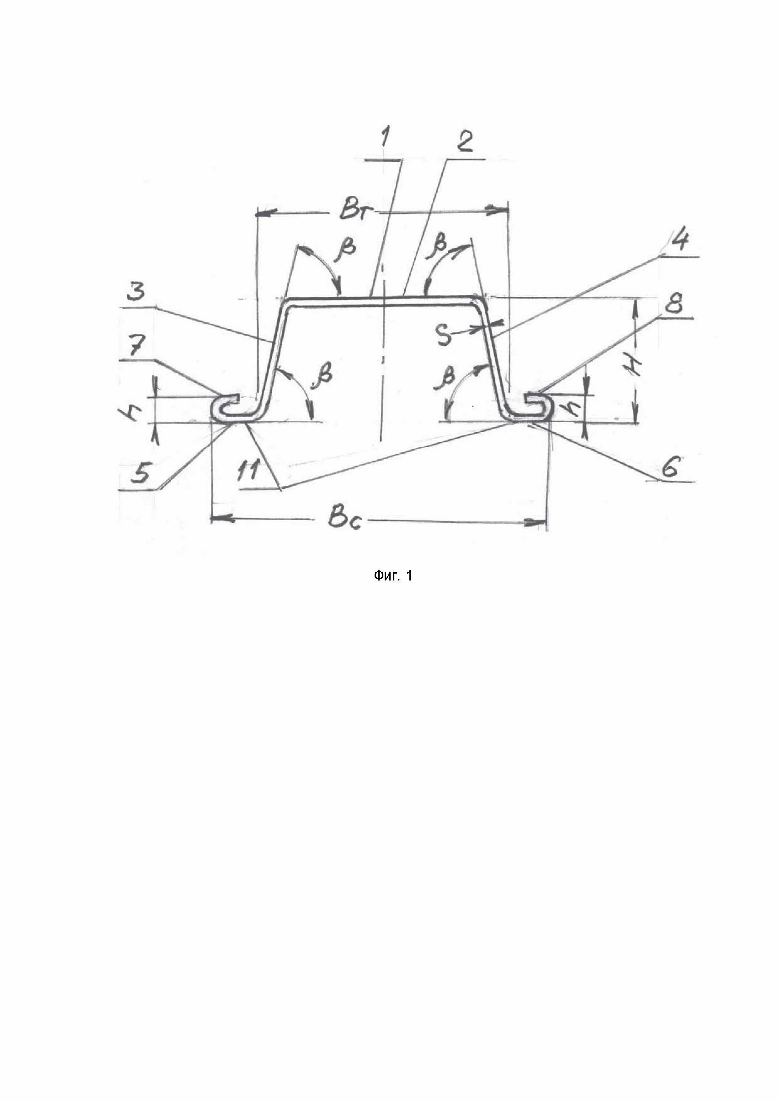
S - толщина тела сваи, мм; Н - высота тела сваи, мм; h - высота замкового элемента, мм; Вт - ширина тела сваи, а Вс - полная ширина сваи с замковыми элементами, мм.

2. Свая по п. 1, отличающаяся тем, что на нижних частях боковых стенок сваи выполнены ступени величиной 0,8-1,2 высоты (h) замковых элементов с углом α к основанию сваи, равным 88,0-90,0°.

3. Свая по любому из пп. 1, 2, отличающаяся тем, что внутри тела сваи, между ее боковыми стенками, приварены по крайней мере две стяжки из листа толщиной t на расстоянии С от основания сваи, равном 0,5-0,6 высоты сваи Н, и расстоянии M от обеих торцов сваи, равном 0-30 толщины t стяжки.

Описание

[1]

Изобретение относится к гидротехническому и общегражданскому строительству и может быть использовано в морском и речном строительстве портовых сооружений, строительстве набережных и причалов, подпорных стенок при берегоукрепительных работах, а также при дорожном строительстве, сооружении тоннелей и фундаментов в стесненных условиях.

[2]

Известна шпунтовая свая типа Ларсен (патент RU 2740561, МПК E05D5/04, опубл. 2021.01.15). Изобретение относится к строительным материалам, в частности, к шпунтовым профилям корытной формы типа Ларсена, производимым горячекатаным способом.

[3]

Данная свая имеет высокую трудоемкость при изготовлении и монтаже, а также низкую возможность повторного использования сваи после ее извлечения из грунта.

[4]

Известна U-образная стальная шпунтовая свая (ArcelorMittal. Стальные шпунтовые сваи. Общий каталог 2018. Свая типа GU13N - GU33N. Стр.24-25. https://spundwand.arcelormittal.com/uploads/files/AMCRPS_Gen_Cat_RU_2018_web.PDF).

[5]

Свая производится горячекатаным способом. Свая содержит днище, наклонные боковые стенки и основание с замковыми элементами. Свая имеет разную толщину днища и боковых стенок. Угол наклона боковых стенок к днищу составляет 54,3° - 68,1°. Сваи при складировании и транспортировке вкладываются друг в друга с опорой на замковые элементы и зазором между боковыми стенками.

[6]

Свая, как и в предыдущем техническом решении, имеет высокую трудоемкость при изготовлении и монтаже, а также низкую возможность повторного использования после ее извлечения из грунта.

[7]

Известна шпунтовая стенка (патент RU 2701265, E02D5/08, опубл. 25.09.2019) с использованием холоднокатаных U или Ω или Z-образные свай с крючкообразными замковыми элементами, расположенными с противоположных краев каждой из свай и соединяющими их в шпунтовую стенку. Изобретение направлено на конструкцию свай с использованием замковых элементов с высокой гидроплотностью. Угол наклона боковых стенок к днищу и основанию не оговаривается.

[8]

Указанные сваи имеют низкую нагрузочную способность.

[9]

Известна, наиболее близкая к заявляемому техническому решению, U-образная холодногнутая шпунтовая свая (Oriental sheet piling. ArcelorMittal. Cold formed sheet/ piles, pg 02. https://orientalsheetpiling.com/wp-content/uploads/2018/11/cfsp_catalgue.pdf).

[10]

Шпунтовая U-образная холодногнутая свая из металлической полосы, включает симметричное корытообразное тело, состоящее из днища с двумя боковыми наклонными стенками с отгибами на концевых частях, с которыми соединены С-образные замковые элементы, совместно образующие основание сваи. Конструкция свай предусматривает их складирование вкладыванием друг в друга, при этом замковые элементы одной сваи опираются на замковые элементы другой сваи с образованием зазоров между боковыми стенками свай. Этим обеспечивается отсутствие деформации свай при складировании и транспортировке.

[11]

Шпунтовая стенка, составленная из известных свай, имеет низкий коэффициент использования металла: K = Wxx/M, где Wxx - упругий момент сопротивления изгиба погонного метра стенки, М - масса квадратного метра стенки.

[12]

Задачей настоящего изобретения является повышение нагрузочной способности сваи и шпунтовой стенки в целом при низкой металлоемкости, снижение затрат на монтаж за счет уменьшения количества погружений при сооружении стенки, а, также, повышение устойчивости сваи при погружении и эксплуатации.

[13]

Выполнение поставленной задачи достигается тем, что шпунтовая U-образная холодногнутая свая из металлической полосы, включающая симметричное корытообразное тело, состоящее из днища с двумя боковыми наклонными стенками с отгибами на концевых частях, с которыми соединены крючкообразные замковые элементы, совместно образующие основание сваи, характеризуется тем, что боковые стенки тела сваи расположены под углами β по отношению к днищу и основанию, соответствующим условию:

[14]

arccos (S/0,3*H) > β > arccos (S/h),

[15]

при этом высота тела сваи Н составляет 23-33 толщины сваи, высота замкового элемента сваи h составляет 3,6-5,0 толщины сваи, ширина тела сваи Вт составляет 45-65 толщины сваи, а полная ширина Вс сваи составляет 60-80 толщины сваи, где:

[16]

S - толщина тела сваи, мм; Н - высота тела сваи, мм; h - высота замкового элемента, мм; Вт - ширина тела сваи, а Вс - полная ширина сваи с замковыми элементами, мм.

[17]

На нижних частях боковых стенок сваи выполнены ступени величиной 0,8-1,2 высоты h замковых элементов с углом α к основанию сваи, равным 88,0-90,0°.

[18]

Внутри тела сваи, между ее боковыми стенками, приварены, по крайней мере, две стяжки из листа толщиной t на расстоянии С от основания сваи, равном 0,5 - 0,6 высоты сваи Н и расстоянии M от обеих торцов сваи, равном 0 - 30 толщины t стяжки.

[19]

Изобретение поясняется чертежами, на которых изображено:

[20]

Фиг. 1 - профиль сваи (тип 1, без стяжки);

[21]

Фиг. 2 - профиль сваи со ступенями на нижних частях боковых стенок (тип 2, без стяжки);

[22]

Фиг. 3 - профиль сваи (со стяжкой);

[23]

Фиг. 4 - вид А;

[24]

Фиг. 5 - фрагмент шпунтовой стенки.

[25]

Где:

[26]

1 - корытообразное тело сваи;

[27]

2 - днище сваи;

[28]

3, 4 - боковая стенка тела сваи;

[29]

5, 6 - отгиб боковой стенки;

[30]

7, 8 - крючкообразный замковый элемент;

[31]

9, 10 - ступень

[32]

11 - основание сваи;

[33]

12, 13- стяжка;

[34]

14, 15 - торец сваи;

[35]

16 - U-образная свая;

[36]

β - угол наклона боковой стенки к днищу и основанию;

[37]

α - угол наклона ступени к основанию

[38]

S - толщина тела сваи, мм;

[39]

t - толщина стяжки, мм;

[40]

Н - высота тела сваи, мм;

[41]

h - высота замкового элемента сваи, мм;

[42]

Вт - ширина тела сваи, мм;

[43]

Вс - полная ширина сваи, мм;

[44]

Е - длина стяжки, мм;

[45]

С - расстояние стяжки от основания сваи, мм;

[46]

Т - шаг свай в шпунтовой стенке;

[47]

Нст - высота шпунтовой стенки;

[48]

L - длина сваи, мм;

[49]

М - расстояние стяжки от торца сваи, мм.

[50]

Шпунтовая U-образная холодногнутая свая из металлической полосы (Фиг. 1-4), включает симметричное корытообразное тело 1, состоящее из днища 2 с двумя боковыми наклонными стенками 3, 4 с отгибами 5, 6 на концевых частях, с которыми соединены крючкообразные замковые элементы 7, 8 , совместно образующими основание сваи 11. При этом боковые стенки 3, 4 тела 1 сваи расположены под углами β по отношению к днищу 2 и основанию 11, соответствующим формуле: arccos (S/0,3*H) > β > arccos (S/h), при этом Н = (23-33)*S, h = (3,6 - 5,0 )*S, Вт = (45-65)*S и Вс = (60-80)*S, где S - толщина тела 1 сваи (мм), Н - высота тела 1 сваи (мм), h - высота замкового элемента 7, 8 (мм), Вт - ширина тела 1 сваи (мм), а Вс - полная ширина сваи с замковыми элементами 7, 8 (мм). На нижних частях боковых стенок 3, 4 сваи могут быть выполнены ступени 9, 10 величиной hc, равной 0,8-1,2 высоты h замковых элементов 7, 8, с углом α к основанию 11 сваи, равным 88,0° - 90,0°. Внутри тела 1 сваи между боковыми стенками 3, 4 сваи приварены, по крайней мере, две стяжки 12, 13 длиной Е из листа толщиной t на расстоянии С от основания сваи, равном 0,5 - 0,6 высоты сваи Н и расстоянии М от обеих торцов сваи 14, 15, равном 0 - 30 толщины t стяжки.

[51]

На фиг. 5 показана шпунтовая стенка высотой Нст, составленная из свай 16, расположенных с шагом Т между собой. При этом сваи 16 расположены в шахматном порядке.

[52]

Примеры реализации изобретения.

[53]

Разработана и рассчитана конструкция шпунтовых U-образных холодногнутых свай 600х500х10 (мм), 600х450х10 (мм) и 750х600х12 (мм), где 600, 750 - шаг свай в шпунтовой стенке; 500, 600 - высота шпунтовой стенки; 10, 12 - толщина тела сваи с разными углами β наклона боковых стенок к днищу и основанию сваи, равными 82,0°; 74,0°; 66,0°, причем полные габариты свай с замковыми элементами соответственно составляют: 655х277,5х10 (мм) и 816х333х12 (мм). При этом заявленный диапазон угла β наклона боковых стенок составляет 83,1° - 73,9°. Результаты расчета сведены в таблицу 1.

[54]

Таблица 1

[55]

№ п/пШпунт,
T x Hст x S
Fш, см2Jx,
см4
Wx, см3Fст, см2М,
Кг/м2
Jxx, см4Wxx, см3К, см32
1750x600x12,
Β=82,0°
180,4282101382,8240,5188,81030993436,618,20
2750x600x12,
Β=74,0°
177,6276021400,0236,8185,91007143357,118,06
3750x600x12,
Β=66,0°
166,0261841384,3221,3173,7888792962,617,06
4600х500х10,
β=82,0°
119,6313422803,1199,4156,5612502450,015,65
5600х500х10,
Β=74,0°
114,6312701790,6191,1150,0550442201,814,68
6600х500х10,
Β=66,0°
110,8211985779,7184,7145,0493461975,813,63
7600x450x10,
Β=82,0°
115,2710531693,8192,1150,8472252098,913,92
8600x450x10,
Β=74,0°
110,6910248700,2184,5144,8430541913,513,21
9600x450x10,
Β=66,0°
107,389744,6693,5179,0140,5377941679,711,96

[56]

Обозначения в таблице 1.

[57]

Fш - площадь сечения сваи, см2;

[58]

Jx - момент инерции сваи, см4;

[59]

T - шаг свай в шпунтовой стенке, мм;

[60]

Hст - высота шпунтовой стенки, мм;

[61]

S - толщина тела сваи, мм;

[62]

Fст - площадь сечения погонного метра шпунтовой стенки, см2;

[63]

Jxx - момент инерции погонного метра шпунтовой стенки, см4;

[64]

Wxx - упругий момент погонного метра шпунтовой стенки, см3;

[65]

К - коэффициент использования металла свай в шпунтовой стенке;

[66]

K = Wxx / M, см3/кг.

[67]

Анализ проведенных расчетов показывает, что шпунтовые профили №№ 1, 2, 4, 5, 7, 8 находятся в заявленном диапазоне по углу β наклона боковых стенок по отношению к днищу и основанию сваи и имеют и имеют лучшие характеристики по несущей способности шпунтовой стенки (см. Wxx), металлоемкости (см. К), устойчивости профиля при погружении в грунт по сравнению с профилями №№ 3, 6, 9 при сравнимых характеристиках по массе квадратного метра шпунтовой стенки (см. М). Выполнение на нижних частях боковых стенок свай ступеней позволяет увеличить ширину днища сваи и, соответственно, несколько увеличить момент инерции и упругий момент сваи и шпунтовой стенки, а, также, обеспечить зазоры между боковыми стенками свай при пакетировании свай друг в друга. Следует дополнительно отметить, что применение широких холодногнутых свай 750х600х12 и 600х500х10 с шагами расположения в стенке 750 и 600 мм вместо широко используемых в России горячекатаных профилей Л5-УМ и Л4 с шагами расположения в стенке 500 и 400 мм при аналогичных показателях по несущей способности позволяет значительно снизить затраты на монтаж за счет уменьшения в 1,5 раза количества погружения свай.

[68]

Проведены исследования с погружением в грунт опытных свай 600х500х10 с углом β, равным 81,5° с помощью копра и вибрационного погружения. При вибрационном способе погружения сваи сохраняли хорошую устойчивость без деформаций элементов сваи. Установлено, что при ударном способе (копер) погружения свай в тяжелый грунт возможна потеря местной устойчивости боковых стенок. Применение приваренных стяжек между боковыми стенками свай на расстоянии С от основания сваи, равном 0,5 - 0,6 высоты сваи Н, позволило полностью компенсировать местную деформацию боковых стенок при ударном способе погружения.

[69]

Проведенные расчеты показывают возможность полной загрузки при сохранении габаритов железнодорожного и автомобильного транспорта при пакетировании свай с опорой между собой на приваренные внутри свай стяжки.

[70]

Изобретение может быть использовано в морском и речном строительстве портовых сооружений, строительстве набережных и причалов, подпорных стенок при берегоукрепительных работах, а также при дорожном строительстве, сооружении тоннелей и фундаментов в стесненных условиях. Применение свай по изобретению в строительстве позволяет снизить затраты за счет снижения металлоемкости и уменьшения количества погружений свай в грунт при монтаже шпунтовых стенок.

Как компенсировать расходы
на инновационную разработку
Похожие патенты