патент
№ RU 2828919
МПК F16D27/01

Магнитная муфта с магнитной системой и способ её сборки

Авторы:
Жубанов Дмитрий Александрович
Номер заявки
2024104360
Дата подачи заявки
21.02.2024
Опубликовано
21.10.2024
Страна
RU
Как управлять
интеллектуальной собственностью
Чертежи 
1
Реферат

[32]

Группа изобретений относится к области транспортного машиностроения. Магнитная муфта, состоящая из ведомой и ведущей магнитной полумуфт, с установленным в зазоре между ведущей и ведомой магнитными полумуфтами герметизирующим экраном. Магниты в магнитной системе закреплены на обечайке. Обечайка при сборке имеет продольные пазы. В пазах магнитной системы рядами установлены постоянные магниты с чередующимися направлениями магнитного поля. Магнитная система установлена в корпусе ведущей магнитной полумуфты и фиксирована от проворота установкой винтов. Внутренний объем рабочего механизма герметизирован посредством установки герметизирующего экрана с установленными прокладками. Способ сборки магнитной муфты, согласно которому выполняют подбор размеров магнитов. Выполняют окончательную сборку магнитной системы. Магнитную систему устанавливают в корпус ведущей полумуфты и фиксируют винтами. После сборки выполняют установку крышки. Достигается повышение технологичности изготовления магнитной муфты. 2 н.п. ф-лы, 1 ил.

Формула изобретения

1. Магнитная муфта, состоящая из ведомой и ведущей магнитной полумуфт, с установленным в зазоре между ведущей и ведомой магнитными полумуфтами герметизирующим экраном, изготовленным из немагнитного материала, отличающаяся тем, что магниты в магнитной системе закреплены на обечайке, служащей одновременно для защиты постоянных магнитов от повреждений и одновременной фиксации магнитов, обечайка для точной фиксации магнитов при сборке имеет продольные пазы, в пазах 4 магнитной системы рядами установлены постоянные магниты с чередующимися направлениями магнитного поля, при этом магнитная система установлена в корпусе ведущей магнитной полумуфты и фиксирована от проворота установкой винтов, внутренний объем рабочего механизма с расположенной в нем ведомой магнитной муфты на приводном валу герметизирован посредством установки герметизирующего экрана с установленными прокладками, причём форма, типоразмер и материал прокладок выбраны исходя из температуры и среды, с которой работает магнитная муфта.

2. Способ сборки магнитной муфты по п. 1, характеризующийся тем, что выполняют подбор размеров магнитов, а именно их длину, толщину и высоту, после установки магнитных полюсов в обечайку ведущей и корпус ведомой полумуфт выполняют окончательную сборку магнитной системы в магнитопровод и заполнение межмагнитных зазоров клеем, собирают в единую магнитную систему магнитной муфты, далее собранную магнитную систему устанавливают в корпус ведущей полумуфты и фиксируют винтами, расположенными равномерно по окружности в месте стыка магнитной системы и корпуса ведущей полумуфты, далее после сборки выполняют установку крышки, закрывающей 6 магнитную систему.

Описание

[1]

Заявленное техническое решение относится к группе изобретений, а именно к магнитной муфте и способу её сборки, предназначена для бесконтактной передачи крутящего момента от электродвигателя к валу герметичного оборудования через герметизирующий экран из немагнитного материала, изготовленного в виде колпака, муфта названа заявителем под условным названием Villina-ММ. Передача крутящего момента происходит во взрывоопасных, легко воспламеняющихся и химически агрессивных средах. Содержание примесей (не абразивного характера) в жидкостях не более 0,2%, размером не более 0,2 мм. Область применения – химическое, нефтехимическое машиностроение, особенность способа сводится к организации создаваемых полей на полумуфтах за счёт особенностей конструкции муфты, которая обеспечивает эффективное взаимодействие магнитных полей полумуфт, в следствие чего муфта работает более эффективно и надёжно, при отсутствии усложнения способа сборки муфты (см. Фиг. 2 где показано направление распространения силовых полей магнитов полумуфт).

[2]

Температура продукта, соприкасающегося с муфтой, может составлять от -50…+400°С., при этом, в зависимости от требований заказчика муфта может быть изготовлена по заявленному способу сборки из материалов, работающих в указанных диапазонах температур в соответствии с требованиями технического задания заказчика, при этом конструкция может быть масштабирована в широких пределах типоразмеров по заданию Заказчика.

[3]

Из исследованного уровня техники заявителем выявлено изобретение по патенту РФ№2270941, сущностью является магнитная муфта, содержащая ведущую и ведомую полумуфты, установленные концентрично одна другой и разделенные неметаллическим двухслойным экраном в форме купола с фланцем, герметично закрепленным на корпусе, отличающаяся тем, что наружный слой разделительного экрана состоит из цилиндрической и донной части, причем цилиндрическая часть образована закрепленной на концевых элементах неметаллической тканью, поверх которой формируется неметаллическое нитяное покрытие с последующей пропиткой компаундом, а концевые элементы с одной стороны закреплены неподвижно на фланце первого слоя разделительного экрана, а с другой - с донной частью. При этом донная часть изготовлена из металла, концевые элементы изготовлены в виде металлических колец, концевой элемент, установленный на донной части, меньше диаметром, чем концевой элемент, закрепленный на фланце внутреннего покрытия.

[4]

Недостатком в отношении конструкции является то, что данная конструкция имеет высокую трудоемкость изготовления двухслойного разделительного экрана и требует специального дорогостоящего оборудования.

[5]

Таким образом, конструкция требует достаточно сложной технологии изготовления, что создаёт трудности при её использовании по назначению как при эксплуатации, так и при ремонте муфт, т.к. ремонт требует применения специального оборудования и квалифицированных специалистов.

[6]

Из исследованного уровня техники заявителем выявлено изобретение Герметизированная магнитная муфта по патенту РФ на полезную модель №36923, сущностью является Герметизированная магнитная муфта, содержащая ведущую полумуфту, ведомую полумуфту и разделяющий их герметичный неподвижный экран, включающий неэлектропроводный тонкостенный цилиндр с утолщенными краевыми участками, на которых установлены с клеем металлические днище и фланец, отличающаяся тем, что днище и фланец посажены до упора в указанные утолщенные участки цилиндра и соединены с цилиндром посредством сварки с размещенными на его торцах металлическими кольцами.

[7]

Недостатком является высокая трудоёмкость изготовления за счёт применения сварки, а именно, в следствие того, что фланцы муфты посажены до упора в указанные утолщенные участки цилиндра и соединены с цилиндром посредством сварки с размещенными на его торцах металлическими кольцами.

[8]

Из исследованного уровня техники заявителем выявлено изобретение муфта магнитная герметичная с дополнительным торцевым уплотнением – по патенту РФ №157663, Устройство относится к магнитным муфтам для передачи крутящего момента от электродвигателя (мотор-редуктора) в приводе перемешивающего устройства для перемешивания пожароопасных, взрывоопасных сред в широком диапазоне температур и может применяться в химическом и нефтехимическом машиностроении. Устройство - муфта магнитная (ММГТУ) в сборе с мотор-редуктором является приводом с ММГТУ; состоит из мотор-редуктора с фланцевым креплением, стойки со строповыми устройствами, ведущей и ведомой магнитными полумуфтами, экрана, корпуса с рубашкой охлаждения, вала, установленного на подшипниках и мешалки, установленной на конце вала, находящегося в полости аппарата при его эксплуатации. Для предотвращения вероятности протечки смазки нижнего подшипника во внутреннюю полость аппарата на вал установлено торцевое уплотнение. В полость корпуса подается инертный газ -сжатый азот. Технический результат применения привода с ММГТУ состоит в исключении воздействия агрессивной среды, создаваемой в аппарате, на подшипники, увеличении их срока службы и в предотвращении протечки смазки нижнего подшипника во внутреннюю полость аппарата.

[9]

Недостатком является сложность конструктивного исполнения и низкая технологичность сборки в следствие сложности конструктивного исполнения.

[10]

Из исследованного уровня техники заявителем выявлено изобретение Магнитная муфта по а.с. СССР SU201508A1, сущностью является магнитная муфта для синхронизации вращения от ведущего вала к ведомому когда валы механически не связаны друг с другом состоящая из многополюсного магнита вмонтированного в корпус многополюсного ротора выполненного из материала имеющего потери в гистерезисе, отличающаяся тем что с целью увеличения полезной мощности передаваемой муфтой уменьшения габаритных размеров а также упрощения технологии изготовления многополюсный магнит выполнен в виде полос с продольной шихтовкой гистерезисных слоёв вдоль проката листового материала согнутых по окружности и впрессованных в корпус.

[11]

Недостатком является сложность конструкции и низкая эффективность при использовании по назначению в силу использования листового проката и его запрессовывания в корпус, что требует специального оборудования и подготовленный персонал для сборки муфты.

[12]

Из исследованного уровня техники заявителем выявлен ближайший аналог - изобретение, принятое за прототип, которая совпадает с заявленным техническим решением совокупностью признаков и по назначению, а именно изобретение высокотемпературная муфта, входящая в состав центробежного насоса по патенту РФ №2781479, сущностью является Высокотемпературная муфта, состоящая из ведущей магнитной полумуфты, установленной на валу привода, и ведомой магнитной полумуфты, установленной на валу герметичного оборудования и герметизирующего экрана, разделяющего ведущую и ведомую полумуфты от внешней среды соответственно, отличающаяся тем, что в ведущей магнитной полумуфте по диаметру внутренней поверхности магнитов размещена защитная оболочка для предотвращения повреждения магнитов, при этом толщина защитной оболочки составляет от 0,5 до 1 мм, внутреннее пространство между магнитами и защитной оболочкой заполнено клеем, герметизирующий экран изготовлен из немагнитного материала, ведомая полумуфта состоит из корпуса, изготавливаемого из нержавеющего металла, магнитопровода, выполненного в виде полой цилиндрической конструкции, на внешней поверхности которого размещены постоянные магнитные ряды с установленными между магнитными рядами межмагнитными вставками из немагнитного материала, выдерживающего высокие температуры, причем магнитопровод в виде полой цилиндрической конструкции изготавливается из магнитного материала толщиной h1 = от 12 до 17 мм, магниты в ведущей магнитной полумуфте и магниты в ведомой магнитной полумуфте расположены по 12 рядов, причем по окружности в полумуфтах установлено по 72 магнита соответственно, размещены равноудаленно по сопрягаемым диаметрам магнитных полумуфт, каждый ряд из расположеных 12 рядов магнитов набирается из нескольких магнитов в виде дугообразных брусков, при этом длина одного из магнитов составляет от 10 до 30 мм, толщина магнитов одинаковая, а ширина магнитов на ведомой муфте отличается от ширины магнитов на ведущей муфте в 1,5 раза, а в поперечном сечении магнитной муфты толщина постоянных магнитов полумуфты, установленной на приводном валу, составляет от 0,9 до 1,1 от толщины постоянных магнитов полумуфты, установленных на рабочем валу, оптимальное значение зависимости длины ряда L от среднего диаметра муфты d L/d находятся в соотношении от 0,7 до 1,5, зазор z между ведомой магнитной полумуфтой 2 и герметизирующем экраном 3 находится в диапазоне от 1,5 до 2,5 мм, средний диаметр муфты находится по формуле d=(D1+D2)/2, где D1 - внешний диаметр ведомой полумуфты, а D2 - внутренний диаметр ведущей полумуфты.

[13]

Недостатком данной конструкций является сложность и трудоемкость изготовления корпусов ведущей полумуфты, а также необходимость применение узкоспециализированного технологического оборудования.

[14]

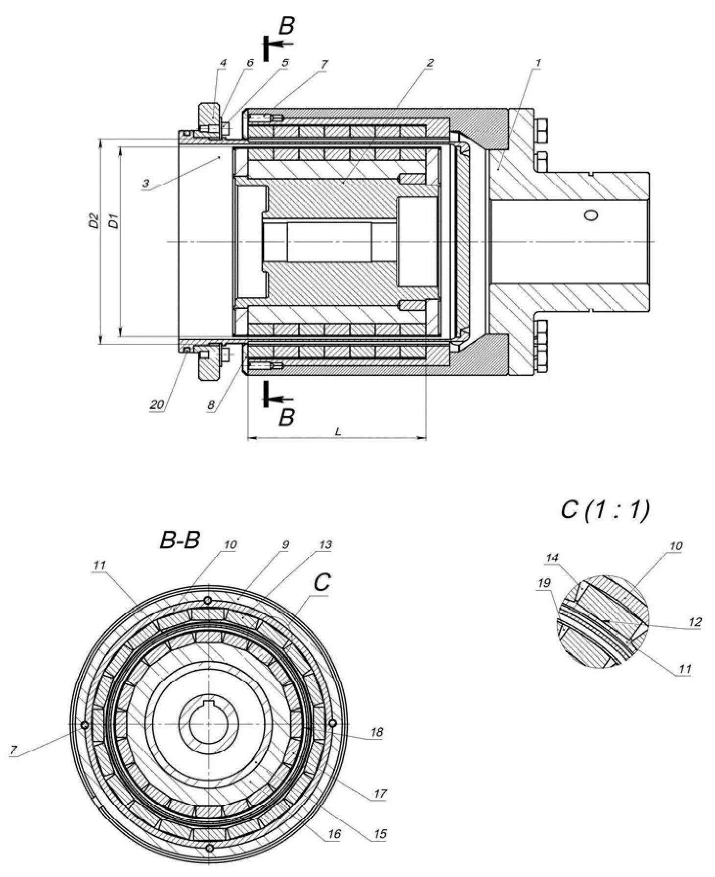
Заявленное техническое решение иллюстрируется Фиг, на которой сверху представлено сечение муфты, а снизу элементы конструкции в виде увеличенных и более подробно начерченных элементов заявленного технического решения (конструкции).

[15]

Задачей заявленного технического решения является повышение технологичности изготовления, и как следствие, снижение трудоемкости изготовления магнитной полумуфты.

[16]

Это достигается за счет того, что магнитная муфта, состоящая из ведомой и ведущей магнитной полумуфт, с установленными в зазоре между ведущей и ведомой магнитных полумуфт герметизирующим экраном, изготовленным из немагнитного материала, отличающаяся тем, что магниты в магнитной системе закреплены на обечайке, служащей одновременно для защиты постоянных магнитов от повреждений и одновременной фиксации магнитов, обечайка для точной фиксации магнитов при сборке имеет продольные пазы, в пазах 4 магнитной системы рядами установлены постоянные магниты с чередующимися направлениями магнитного поля, при этом, магнитная система установлена в корпусе ведущей магнитной полумуфты и фиксирована от проворота установкой винтов, внутренний объем рабочего механизма с расположенной в нем ведомой магнитной муфты на приводном валу герметизирован посредством установки герметизирующего экрана с установленными прокладками, причём форма, типоразмер и материал прокладок выбран исходя из температуры и среды, с которой работает магнитная муфта. Способ сборки магнитной муфты, характеризующийся тем, что выполняют подбор размеров магнитов, а именно их длину, толщину и высоту, после установки магнитных полюсов в обечайку ведущей и корпус ведомой полумуфт выполняют окончательную сборку магнитной системы в магнитопровод и заполнения межмагнитных зазоров клеем, собирают в единую магнитную систему магнитной муфты, далее собранную магнитную систему, устанавливают в корпус ведущей полумуфты и фиксируют винтами, расположенными равномерно по окружности в месте стыка магнитной системы и корпуса ведущей полумуфты, далее, после сборки выполняют установку крышки, закрывающей 6 магнитную систему.

[17]

Далее заявителем приведена конструкция магнитной муфты и принцип её работы.

[18]

Магнитная муфта Villina-ММ состоит из следующих элементов:

[19]

- ведущей полумуфты 1, устанавливаемой на валу привода;

[20]

- ведомой полумуфты 2 установленной на валу (вал на чертеже не указан) уплотняемого узла (насос, мешалка и др);

[21]

- герметизирующего экрана 3 разделяющего полумуфты 1 и 2.

[22]

Ведущая магнитная полумуфта (1) состоит из

[23]

- корпуса 9, с установленной соосно с корпусом 9 магнитной системы, состоящей из обечайки 11, выполненной из коррозионностойкого немагнитного материала, служащей одновременно для защиты постоянных магнитов 13 от повреждений и одновременной фиксации магнитов 13, при этом, магниты установлены в продольные пазы 12 обечайки 11, в которых установлены постоянные магниты 13 таким образом, что один ряд магнитов представляет собой один магнитный полюс, а магнитные полюса по окружности магнитной системы чередуют направление магнитного поля полюсами север (+) юг (-), соответственно, и корпуса магнитной системы 11, служащего магнитопроводом, локализующим магнитные поля постоянных магнитов 13 в зоне зазора между ведущей и ведомой полумуфт, и замыкающим магнитные поля в объеме магнитной системы. При этом магниты 13 не требуют дополнительной механической обработки, которая непредсказуемо снижает их магнитные свойства.

[24]

Межмагнитное пространство 14 в магнитной системе, находящееся между корпусом 10 магнитной системы, магнитами 13 и обечайкой 11, заполняется клеем (на Фиг. не показано) для обеспечения жесткости системы. При этом фиксация магнитной системы 11 от проворота в корпусе осуществляется установкой винтов 7. Ведущая магнитная муфта герметизируется установкой крышки 8.

[25]

Герметизирующий экран 3 служит для обеспечения герметичности оборудования и состоит непосредственно из герметизирующего экрана 3, прижимного фланца 4 с отжимными винтами 5 с шайбами 6, служащими для упрощения демонтажа герметизирующего экрана 3 при разборке узла оборудования для ремонта или профилактики, в котором установлена магнитная муфта. Обеспечение герметичности узла, в котором устанавливается магнитная муфта, осуществляется путем установки уплотнительной прокладки 20, форма, типоразмер и материал которой выбирается исходя из температуры и среды, с которой работает оборудование с установленной магнитной муфтой. Подбор материала уплотнительной прокладки 20 осуществляется по требованиям технического заказчика к обеспечению работоспособности узла магнитной муфты в определенной среде с определенными температурами, вязкостью, плотностью.

[26]

Герметизирующий экран 3 изготавливается из немагнитного материала чтобы уменьшить или исключить потери энергии, возникающие из-за токов Фуко. Толщина и материал герметизирующего экрана 3 зависит от внутреннего давления в герметичном оборудовании, Подбор материала герметизирующего экрана осуществляется по требованиям технического заказчика к обеспечению работоспособности узла магнитной муфты в заданной заказчиком среде с заданными заказчиком температурами, вязкостью, плотностью.

[27]

Ведомая полумуфта 2 состоит из корпуса 15, изготовленного из нержавеющего металла, магнитопровода 10, с установленными на нем постоянными магнитами 17 и защитной оболочке 18.

[28]

Защитная оболочка 18 на ведомой полумуфте 2 предназначена, для герметизации полости магнитной муфты 19 (меж магнитное пространство) и предотвращения повреждения магнитов 17 содержащими примесями в перекачиваемой среде либо перемешивающейся жидкости, омывающей полумуфту.

[29]

Крутящий момент передается от ведущей полумуфты 1 ведомой полумуфте 2 с помощью магнитных сил, возникающих между постоянными магнитами 13 ведущей полумуфты 1 и магнитами 17 ведомой полумуфты 2. Величина крутящего момента зависит от свойств магнитов, их количества в полумуфтах а так же от ширины магнитов 13 ведущей полумуфты и 17 ведомой полумуфты 2, при этом ширина магнитов 13 ведущей полумуфты 1 больше или равна ширине магнитов 17 ведущей полумуфты 2.

[30]

Магниты 13, 17 в ведомой 2 и ведущей 1 полумуфтах расположены рядами, и размещены плотно, противоположными полюсами (+) и (-) друг к другу соответственно, по диаметру полумуфт 1, 2 соответственно. Каждый ряд магнитов 13, 17, образующий полюс магнитных полумуфт, может быть набран из нескольких магнитов 13, 17 выполненных в виде брусков, длина одного магнита 13, 17 составляет от 10 до 30 мм. В зависимости от требований заказчика к обеспечению работоспособности узла магнитной муфты в конкретной рабочей среде с определенными параметрами температуры, вязкости, плотности подбираются магниты с различными показателями остаточной магнитной индукции, позволяющими муфту с одинаковыми габаритно-присоединительными размерами, с одинаковыми количеством магнитных полюсов с одинаковой длиной использовать при разных температурах рабочей среды с большим или меньшим крутящим моментом и передаваемой мощностью. Оптимальное значение зависимости длины полюса L магнита, в зависимости от среднего диаметра муфты D составляет L/D = от 0,7 до 1,5 соответственно. Зазор между ведомой полумуфтой 2 и герметизирующем экраном 3 z выбирается из соотношения L/D = от 0,7 до 1,5 от 1,5 до 2,5 мм. соответственно. Средний диаметр муфты магнитной в сборе находится по формуле d=(D1+D2)/2.

[31]

Ряд магнитов 13 с южным полюсом (+) на ведущей полумуфте 1 должен располагаться напротив ряда 17 с северным полюсом (-) соответственно на ведомой полумуфте 2, при этом длина полюса магнитов 13 L на ведущей полумуфте 1 должна быть равна длине полюса магнитов 17 L на ведомой полумуфте 2. При сборке магнитной муфты происходит самоцентрирование магнитных полюсов ведущей 1 и ведомой полумуфты 2, однако выравнивание расположения магнитных полюсов по оси вращения магнитной муфты (по длине L, L ведущей полумуфты должны располагаться точно напротив длины L ведомой полумуфты 2) должно быть обеспечено последовательными действиями - технологией сборки конструктивных элементов магнитной муфты (рабочего агрегата). Данное требование является важным, так как от точности выравнивания магнитных полюсов ведущей 1 и ведомой 2 полумуфт, зависит крутящий момент магнитной муфты и, как следствие, передаваемая мощность.

Как компенсировать расходы
на инновационную разработку
Похожие патенты