патент
№ RU 2828848
МПК A01C23/00

Рабочий орган для внутрипочвенного внесения жидких удобрений

Авторы:
Замятин Дмитрий Владимирович
Номер заявки
2024118948
Дата подачи заявки
08.07.2024
Опубликовано
21.10.2024
Страна
RU
Как управлять
интеллектуальной собственностью
Чертежи 
3
Реферат

[57]

Изобретение относится к сельскохозяйственной технике, в частности к устройствам для внутрипочвенного внесения жидких удобрений. В рабочем органе для внутрипочвенного внесения жидких удобрений, содержащем средство внесения жидких удобрений, выполненное с возможностью подключения к гидросистеме для доставки жидких удобрений, и средство рыхления почвы, согласно изобретению, внутри каркасной конструкции средства рыхления почвы, состоящей из вертикальных ножей, соединенных горизонтальными соединительными элементами, расположено жестко прикрепленное к ней средство внесения жидких удобрений, выполненное в виде пустотелого цилиндра, содержащего множество сквозных отверстий, распределенных по его боковым стенкам. Изобретение повышает возможность распределения жидкого удобрения по всему объему пахотного слоя. 3 ил.

Формула изобретения

1. Рабочий орган для внутрипочвенного внесения жидких удобрений, содержащий средство внесения жидких удобрений, выполненное с возможностью подключения к гидросистеме для доставки жидких удобрений, и средство рыхления почвы, отличающийся тем, что внутри каркасной конструкции средства рыхления почвы, состоящей из вертикальных ножей, соединенных горизонтальными соединительными элементами, расположено жестко прикрепленное к ней средство внесения жидких удобрений, выполненное в виде пустотелого цилиндра, содержащего множество сквозных отверстий, распределенных по его боковым стенкам.

2. Рабочий орган для внутрипочвенного внесения жидких удобрений по п. 1, отличающийся тем, что нижний соединительный элемент каркасной конструкции средства рыхления почвы выполнен в виде горизонтальной фрезы.

3. Рабочий орган для внутрипочвенного внесения жидких удобрений по п. 1, отличающийся тем, что к нижнему соединительному элементу каркасной конструкции средства рыхления почвы присоединена горизонтальная фреза.

4. Рабочий орган для внутрипочвенного внесения жидких удобрений по п. 1, отличающийся тем, что перед каждым отверстием пустотелого цилиндра выполнен отбойник, предохраняющий данные отверстия от засорения частицами почвы.

5. Рабочий орган для внутрипочвенного внесения жидких удобрений по п. 1, отличающийся тем, что средство внесения жидких удобрений установлено вдоль центральной вертикальной оси каркасной конструкции средства рыхления почвы.

6. Рабочий орган для внутрипочвенного внесения жидких удобрений по п. 1, отличающийся тем, что внутри пустотелого цилиндра выполнены присоединенные к его стенкам или к его верхней и нижней крышкам вертикальные или диагональные лопасти.

Описание

[1]

Изобретение относится к сельскохозяйственной технике, в частности к устройствам для внутрипочвенного внесения жидких удобрений.

[2]

По патенту RU 2552900 известно комбинированное орудие для возделывания картофеля, включающее закрепленные на раме плужный корпус с укороченным отвалом и расположенный позади него приводной вертикальный ротор с втулкой, в нижней части которой размещены по многозаходной винтовой линии рабочие органы первого яруса - подъемные лопатки; в средней части закреплены рабочие органы второго яруса - измельчающие элементы, выполненные в виде рыхлительных пальцев, в верхней части втулки установлены рабочие органы третьего яруса в виде пластин, отличающееся тем, что к верхней части втулки жестко прикреплен опорный диск, второй ярус состоит из рыхлительных пальцев, включающих жестко закрепленные к нижней поверхности опорного диска несущие стержни с закрепленными на них съемными рабочими органами, причем закрепленная к диску часть стержня составляет не менее 1/4 части его длины, третий ярус расположен над втулкой и опорным диском, состоит из наклонных бильных планок, жестко закрепленных под углом к вертикальной оси ротора, причем их нижние концы закреплены к нижней части втулки, средняя часть - к несущим стержням, а верхние концы соединены между собой кольцом. Рабочие органы на несущих стержнях выполнены в виде клиновидных призм или режущих ножей.

[3]

Недостатком известного рабочего органа является отсутствие возможности внесения жидких удобрений в почву при его использовании.

[4]

По патенту RU 208522 известен рабочий орган для внутрипочвенного внесения жидких органических удобрений, содержащий стойку с внутренним каналом для подвода удобрений и расширитель почвы, отличающийся тем, что расширитель почвы выполнен в форме дренера, жестко прикрепленного к нижней части стойки, имеет полость в форме части вертикального полукольца с противоположной направлению движения стороны, соединенную с каналом для подвода удобрений, а позади дренера имеется лопастной рыхляще-перемешивающий ротор, состоящий из горизонтальной оси, барабана и сегментных лопастей, загнутых в направлении вращения, ось ротора крепится во втулках плоских тяг, приваренных к боковинам дренера на такой высоте, что нижние точки траекторий движения лопастей находятся ниже нижней точки тела дренера.

[5]

Недостатком известного рабочего органа является сложность конструкции.

[6]

Наиболее близким к заявленному техническому решению является известный по патенту RU 178506 рабочий орган культиватора-инжектора ротационного, включающий ротор с ножами, приводным валом с узлом входа рабочей жидкости, при этом рабочая жидкость под давлением через штуцер и полый вал подается в плоскость вращения ножей, при этом, ножи выполняют роль лапы культиватора с подкормочной трубкой.

[7]

Недостатком известного рабочего органа является отсутствие возможности распределения жидкого удобрения по всему объему пахотного слоя, при помощи известного рабочего органа внесение удобрений происходит только ленточным способом с распределением в одной нижней горизонтальной плоскости пахотного слоя, поскольку каналы для выхода жидкого удобрения располагаются внутри ножей культиватора, а отверстия для выхода жидкого удобрения находятся на их концах.

[8]

Техническим результатом заявленного изобретения является возможность распределения жидкого удобрения по всему объему пахотного слоя.

[9]

Технический результат достигается тем, что в рабочем органе для внутрипочвенного внесения жидких удобрений, содержащем средство внесения жидких удобрений, выполненное с возможностью подключения к гидросистеме для доставки жидких удобрений, и средство рыхления почвы, согласно изобретению, внутри каркасной конструкции средства рыхления почвы, состоящей из вертикальных ножей, соединенных горизонтальными соединительными элементами, расположено жестко прикрепленное к ней средство внесения жидких удобрений, выполненное в виде пустотелого цилиндра, содержащего множество сквозных отверстий, распределенных по его боковым стенкам.

[10]

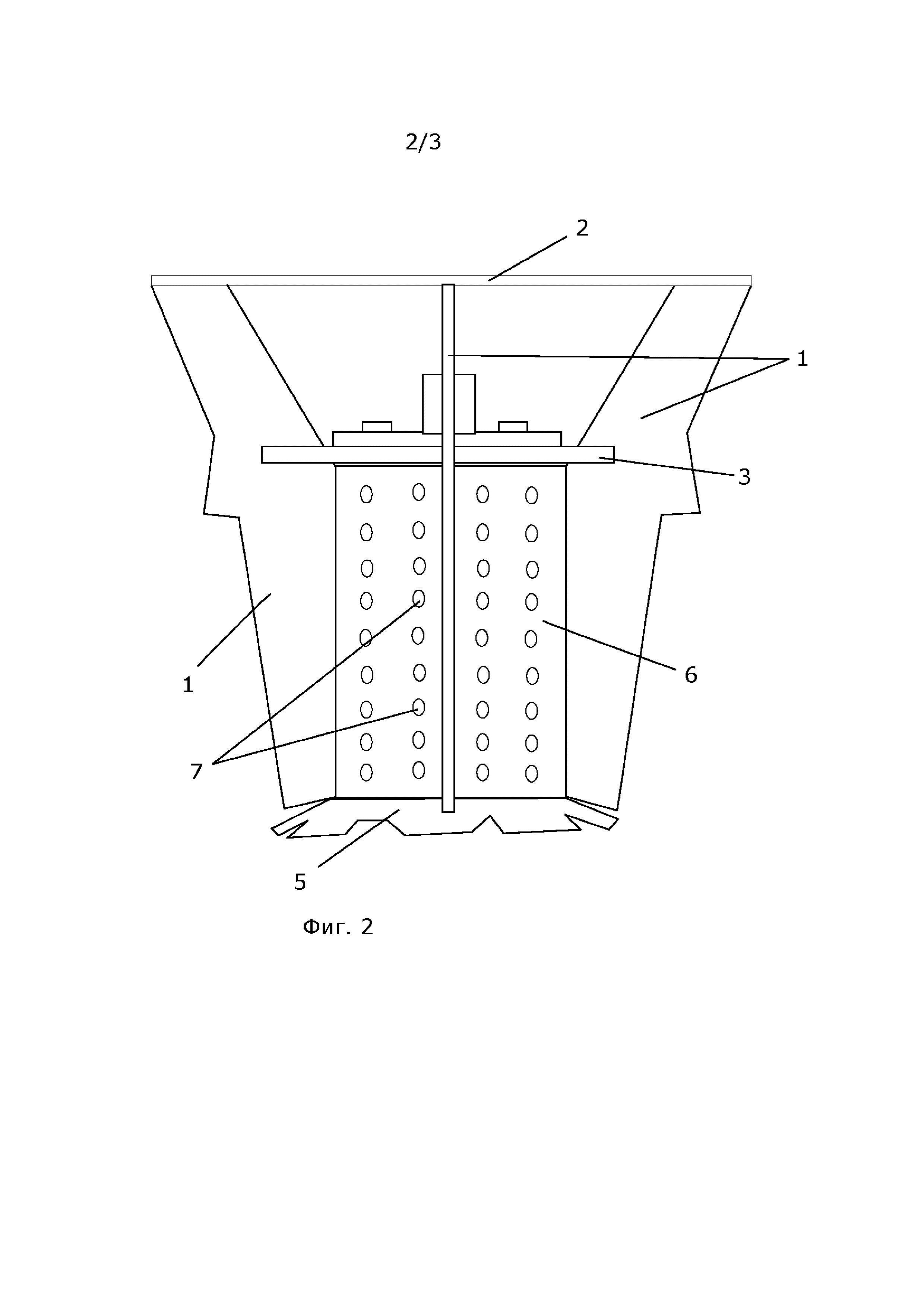
Нижний соединительный элемент каркасной конструкции средства рыхления почвы выполнен в виде горизонтальной фрезы или к нижнему соединительному элементу каркасной конструкции средства рыхления почвы присоединена горизонтальная фреза.

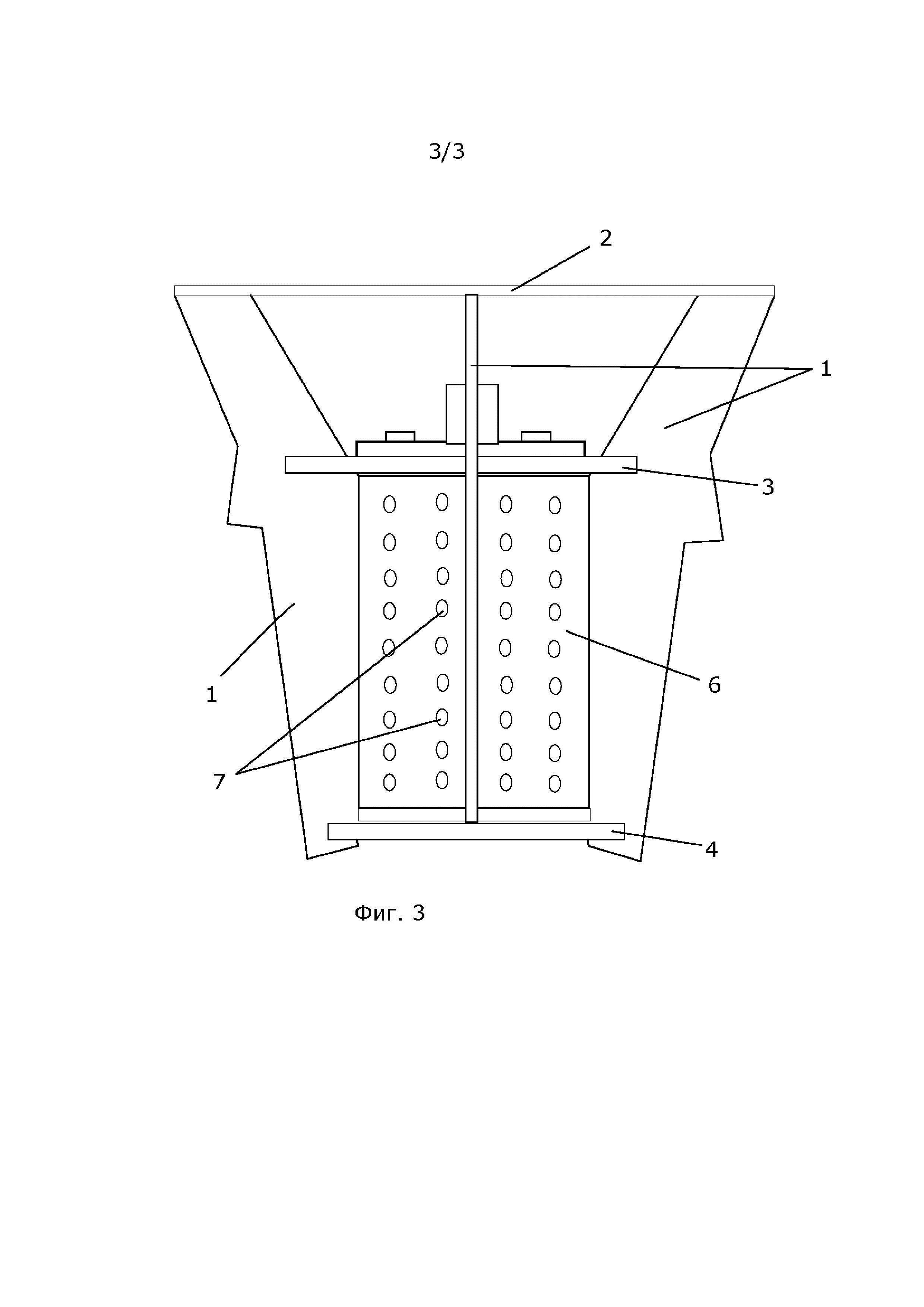
[11]

Перед каждым отверстием пустотелого цилиндра выполнен отбойник, предохраняющий данные отверстия от засорения частицами почвы.

[12]

Средство внесения жидких удобрений установлено вдоль центральной вертикальной оси каркасной конструкции средства рыхления почвы.

[13]

Внутри пустотелого цилиндра выполнены присоединенные к его стенкам или к его верхней и нижней крышкам вертикальные или диагональные лопасти.

[14]

Выполнение средства внесения жидких удобрений в виде пустотелого цилиндра, содержащего множество сквозных отверстий, распределенных по его боковым стенкам позволяет распределять удобрение по всему объему пахотного слоя, на всю глубину вспашки и заглубления рабочего органа в почву. Жидкое удобрение разбрызгивается из цилиндра через отверстия за счет действия центробежных сил, возникающих при вращении рабочего органа, а наличие вертикальных ножей позволяет разрыхлить почву по всему объему вокруг средства внесения жидких удобрений, при этом степень разрыхления почвы является достаточной для внесения жидкости в нее по всему объему, как внутри каркаса, так и в радиусе действия вертикальных ножей за счет центробежных сил, возникающих внутри пустотелого цилиндра, при этом нет необходимости в использовании насоса.

[15]

Наличие вертикальных или диагональных лопастей внутри средства внесения жидких позволяет придать жидкости, поступившей внутрь данного средства, дополнительный импульс вращения, что позволяет равномерно распределить жидкость внутри пустотелого цилиндра и увеличить давление жидкости в зоне отверстий. При этом скорость вращения рабочего органа позволяет выполнять функцию внесения жидких удобрений и без данных лопастей.

[16]

Наличие отбойников перед каждым отверстием пустотелого цилиндра предохраняет отверстия от засорения, меняя направление встречающихся с ними частиц почвы и отводя их от отверстий цилиндра, при этом отбойники могут выполняться в виде выступов любой формы и, например, выполненных с постепенным увеличением расстояния от центра вращения против его направления.

[17]

Выполнение нижнего элемента каркасной конструкции средства рыхления почвы в виде горизонтальной фрезы или установка горизонтальной фрезы на нижнее кольцо каркасной конструкции позволяет увеличить скорость заглубления устройства в почву, избежать его повреждений при заглублении.

[18]

При этом устройство остается работоспособным и способным выполнять свои функции и без дополнений, указанных в зависимых пунктах формулы.

[19]

Заявителем проведены испытания опытного образца заявленного изобретения:

[20]

Для испытаний использовали часть заводского экспериментального участка поля, где в прошлом году высаживался картофель.

[21]

В качестве тягача использовался трактор «Уралец 250». В качестве рабочего органа использовано заявляемое устройство.

[22]

Размеры участка 100х20 м.

[23]

Агрохимический анализ содержания подвижных форм азота, фосфора и калия перед испытаниями (слой 250 мм.) показал:

[24]

NO3: 16 мг/кг.

[25]

P2O5: 129 мг/кг.

[26]

K2O: 134 мг/кг.

[27]

Для посадки картофеля оптимальное количество данных элементов в почве должно составлять:

[28]

NO3: 60 мг/кг.

[29]

P2O5: 150 мг/кг.

[30]

K2O: 200 мг/кг.

[31]

Для восполнения данных элементов в почве в качестве удобрений было взято: мочевина, хлористый калий и амофоска. Все эти удобрения хорошо растворяются в воде.

[32]

Расчет количества удобрений показал, что нам на 20 соток необходимо:

[33]

28,8 кг.Амофоски

[34]

62,6 кг.Мочевины

[35]

93,1 кг.Хлористого калия

[36]

Растворяли при температуре 26 градусов каждый в отдельной емкости, затем сливали в единую емкость. Загружали раствор удобрений в систему для внесения в почву в смешанном виде.

[37]

Емкость в системе для подачи жидкости 200 л. на 20 соток заливали приготовленным раствором полностью 3 раза, так как содержание подвижного азота в почве было очень низким, а также для оптимального количества калия для посадки картофеля в почве нужно было внести в почву значительное количество хлорида калия.

[38]

Результат испытаний:

[39]

Замеры производились через двое суток после вспашки с внутрипочвенным внесением удобрений. В течение вышеуказанного промежутка времени стояла солнечная погода, прошел небольшой дождь, средняя ночная температура - 10-12 градусов, днем температура поднималась до 25-27 градусов.

[40]

После вспашки экспериментального участка с внутрипочвенным внесением жидкого удобрения агрохимический анализ показал следующий результат (в среднем по участку):

[41]

NO3: 57 мг/кг.

[42]

P2O5: 147 мг/кг.

[43]

K2O: 194 мг/кг.

[44]

Неравномерность насыщенностью элементами по всей площади экспериментального участка после эксперимента составила 3-5%, что соответствует неравномерности распределения данных элементов в почве до эксперимента.

[45]

Немного заниженные от ожидаемых оптимальных результатов показатели количества данных элементов, возможно, связано с неполным растворением удобрений, погрешностью расчетов, измерений количества удобрений, количества воды для полного растворения данных удобрений.

[46]

Сущность заявленного изобретения поясняется чертежами.

[47]

На фиг. 1 схематично показан общий вид рабочего органа для внутрипочвенного внесения жидких удобрении с фрезой, установленной на нижнем кольце.

[48]

На фиг. 2 схематично показан общий вид рабочего органа для внутрипочвенного внесения жидких удобрении с фрезой, являющейся нижним элементом каркаса с ножами, прикрепленными непосредственно к ней.

[49]

На фиг. 3 схематично показан общий вид рабочего органа для внутрипочвенного внесения жидких удобрении с нижним элементом каркаса в виде кольца.

[50]

Для удобства на чертеже общего вида однотипные элементы обозначены одинаковыми позициями. Способ подключения к гидросистеме может быть любым и на чертеже не показан.

[51]

Рабочий орган для внутрипочвенного внесения жидких удобрений содержит каркас, состоящий из вертикальных ножей 1, присоединенных в верхней части посредством сварки к большому соединительному элементу 2, в средней и нижней части посредством сварки к соединительным элементам меньшего диаметра 3, 4 или к горизонтальной фрезе 5, внутри каркаса вдоль его центральной оси закреплен пустотелый цилиндр 6 с отверстиями 7 и лопастями (на чертеже не показаны) внутри цилиндра 6.

[52]

При этом пустотелый цилиндр прикреплен к соединительным элементам 3, 4, или к горизонтальной фрезе 5, или к нижнему малому кольцу 4 с горизонтальной фрезой 5 преимущественно посредством болтов, или приварен к ним, или присоединен любым другим пригодным для этого способом. Отверстия 7 на пустотелом цилиндре 6, могут быть размещены вертикальными или диагональными рядами или в шахматном порядке. Все элементы конструкции рабочего органа жестко связаны между собой.

[53]

Все элементы конструкции рабочего органа жестко связаны между собой. Рабочий орган для внутрипочвенного внесения жидких удобрении устанавливают на вал, кинематически связанный с валом отбора мощности трактора. При этом жидкое удобрение из емкости, установленной на раме, через штуцер, систему фильтрации и рукава подается в узел входа рабочей жидкости, установленный на валу и оборудованный уплотняющими элементами, далее через отверстия жидкость поступает в центральную полость вала и стекает в пустотелый цилиндр, откуда под действием центробежных сил, которые возникают из-за вращающихся вместе с цилиндром и установленных внутри его лопастей, через отверстия разбрызгивается при вспашке. Пустотелый цилиндр выполняется закрытым сверху и снизу.

[54]

В зависимости от состояния почвы необходимая частота вращения рабочего органа от 300 до 400 об/мин.

[55]

Лезвия ножей и фрезы изготавливаются из высокомарганцовистой износоустойчивой стали в условиях абразивного трения. Минимальное количество вертикальных ножей - три, преимущественно - четыре, но для сложных почв их количество может быть увеличено.

[56]

Средство внесения жидких удобрений должно иметь хорошую герметизацию, не допускающую подсоса воздуха, для того, чтобы жидкость поступала в рабочий орган не только самотеком благодаря разным уровням относительно земли рабочего органа и резервуара, но и за счет разрежения в самом рабочем органе (при расходе жидкости под действием центробежных сил), при этом создается дополнительный подсос жидкости из резервуара, и нет необходимости в использовании насоса. Хорошая герметизация необходима для полного наполнения цилиндра рабочего органа жидким удобрением в условиях необходимости регулирования его количества посредством частичного перекрытия и уменьшения потока жидкости в рабочий орган при работе его на постоянных оборотах и равномерному распределению удобрения по всему пахотному слою.

Как компенсировать расходы
на инновационную разработку
Похожие патенты