Изобретение относится к средствам генерирования плазмы СВЧ-разряда. Ввод СВЧ-энергии осуществляется в металлическую разрядную камеру через продольную вдоль оси камеры щель из присоединяемой к этой щели металлической трубы-волновода, располагаемой вдоль оси разрядной камеры. Через эту же щель вводится вращающийся вокруг оси разрядной камеры поток газа, закрученный внутри трубы-волновода. Для предотвращения образования зоны рециркуляции газа в осевой зоне внутри трубы-волновода располагают дополнительную металлическую трубу меньшего диаметра. Между трубой меньшего диаметра и внешней трубой-волноводом вводится вращающийся поток газа, далее по образованному таким образом коаксиальному волноводу вводится СВЧ-энергия на электромагнитной волне типа H11, которая возбуждается в коаксиальном волноводе, через окно во внешней трубе коаксиального волновода в зоне, удаленной от щели ввода, в разрядную камеру. Причем обеспечивается удаление герметизирующего диэлектрического окна ввода СВЧ-энергии в зону, недостижимую для продуктов реакции, из активной зоны СВЧ-разряда и теплового воздействия плазмы на окно, а также совмещение щели ввода СВЧ-энергии в разрядную камеру с вводом плазмообразующего или исходного рабочего газа. Техническим результатом является повышение надежности и долговечности устройства с возможностью проведения плазмохимических и тепловых (сфероидизация) процессов большой производительности при вводимой в СВЧ-разряд СВЧ-мощности 30 кВт и более при атмосферном давлении плазмообразующего газа. 2 н.п. ф-лы, 1 ил.
1. СВЧ-плазмотрон, содержащий металлическую цилиндрическую водоохлаждаемую разрядную камеру, устройство ввода СВЧ-энергии в разрядную камеру, устройство ввода в разрядную камеру вихревого (вращающегося вокруг оси камеры) защитного потока газа, выходное сопло в одном из торцов камеры, запредельное для электромагнитной волны, возбуждаемой внутри разрядной камеры, СВЧ-узел, соединяющий плазмотрон с источником СВЧ-энергии, состоящий из волноводного делителя или волноводного моста, прямоугольных волноводов, соединяющих выходные плечи делителя или моста с плазмотроном, отличающийся тем, что прямоугольные волноводы подсоединяются к двум коаксиальным волноводным трубами, подсоединяемыми к разрядной камере вдоль ее оси через продольные щели со сдвигом по азимуту разрядной камеры на 90°, при этом длины прямоугольных волноводов отличаются друг от друга на величину, обеспечивающую сдвиг по фазе между электромагнитными волнами типа H11, возбуждаемыми через щели соединения разрядной камеры с коаксиальными трубами-волноводами, смещенными относительно друг друга на 90°, подсоединение прямоугольных волноводов к трубам-волноводам выполнено в зоне, удаленной от щели соединения трубы-волновода с разрядной камерой на расстояние не менее двух диаметров трубы-волновода, здесь же расположено герметизирующее окно, а устройства, формирующие вращающийся поток плазмообразующего газа, размещаются в разрядной камере, в трубах-волноводах размещены коаксиальные короткозамыкающие поршни, герметизирующие диэлектрические окна устанавливаются внутри торца прямоугольных волноводов и внутри коаксиальных труб, при этом внутри разрядной камеры дополнительно расположен электродуговой плазмотрон. 2. Способ генерации плазмы, отличающийся тем, что ввод СВЧ-энергии в металлическую водоохлаждаемую разрядную камеру осуществляется через продольные вдоль оси камеры две щели из присоединяемых к этим щелям металлических труб-волноводов, смещенных относительно друг друга на 90°, располагаемых вдоль оси разрядной камеры, а плазмообразующий газ вводится через устройства, формирующие вращающийся поток плазмы, размещаемые в разрядной камере, далее поджиг разряда производится путем кратковременного введения в центр разрядной камеры металлического штыря.
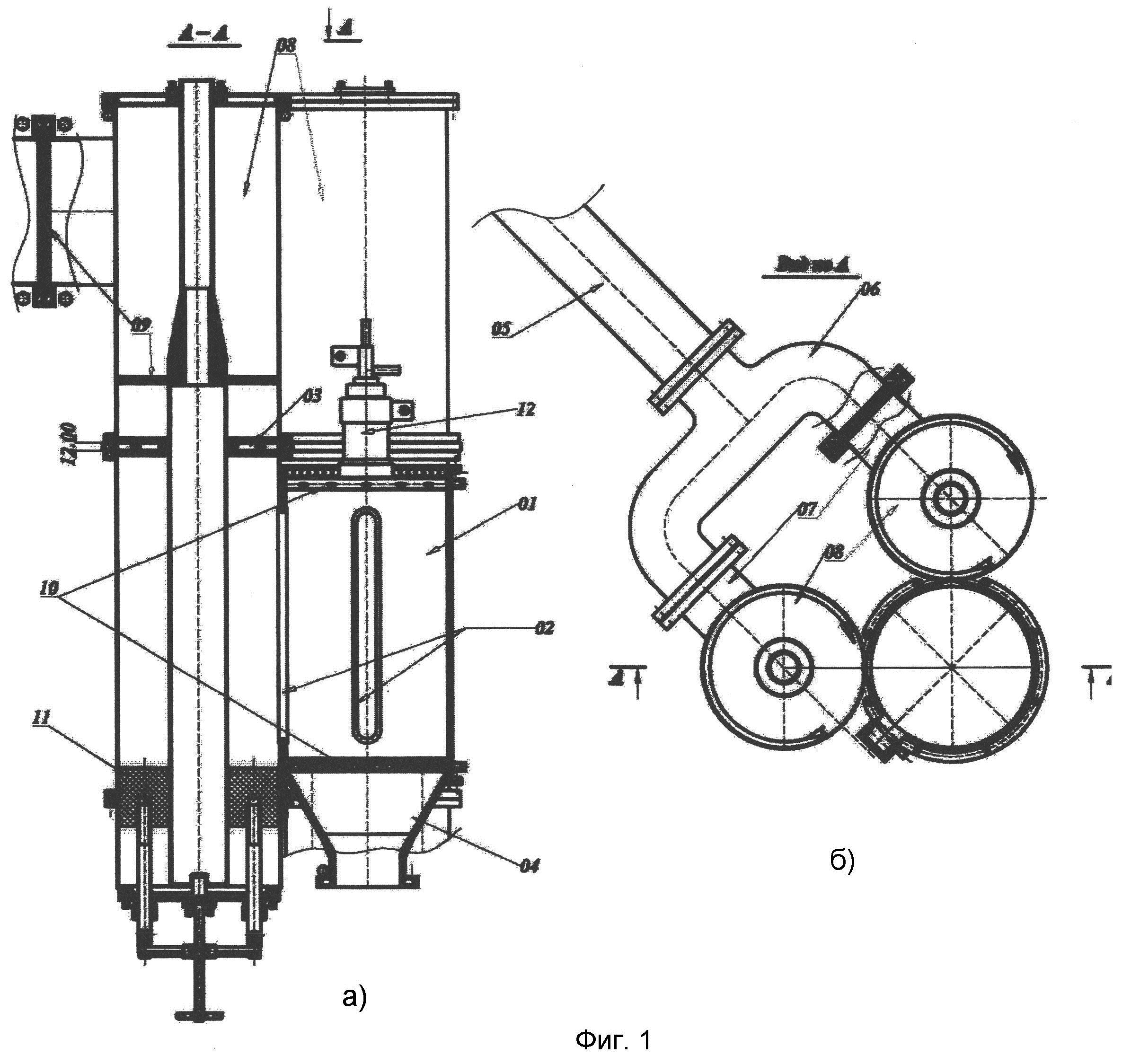
Изобретение относится к плазменной технике, в частности к устройствам для генерирования плазмы СВЧ разряда, и может быть использовано в качестве надежного технологического устройства для проведения плазмохимических и тепловых процессов большой производительности с использованием безэлектродного СВЧ разряда атмосферного давления, в любых газах, с возможностью ввода исходных рабочих веществ непосредственно в активную зону разряда. Известны конструкции СВЧ плазмотронов: 1. Патент РФ RU 2270536 С1. СВЧ Плазмохимический реактор. 2. Патент РФ RU 183873 U1. СВЧ Плазмотрон 3. Патент РФ RU 2296105 С1. Способ получения продуктов на основе окиси магния. 4. Патент РФ RU 2321981 С1. Способ дезинсекции и дезинфекции материалов зернового происхождения. 5. Патент РФ RU 2360975 С2. Способ восстановления железа и устройство для его осуществления (варианты). Все приведенные технические решения имеют общий недостаток в том, что разделяющее разрядную камеру и ввод СВЧ энергии в нее диэлектрическое окно устанавливают в непосредственной близости к разряду, а поэтому подвергаются разрушающему окно воздействию потоков тепла и ведущих к поглощению СВЧ энергии и налипанию продуктов технологического процесса, поэтому уровень их мощности ограничен по этой причине. СВЧ плазмотроны широко применяются для проведения технологических процессов при пониженном давлении газа - например осаждении пленок. Примером попытки защитить диэлектрическое окно является плазмотрон по патенту РФ 183873 U1. В этой конструкции окно утоплено внутрь прямоугольного волновода и обдувается защитным потоком газа, но из-за возникающих зон рециркуляции газа, проникновение продуктов реакции к окну сохраняется, при этом окно подвергается воздействию излучения из плазмы. Наиболее удачный вариант защиты окна предложен в конструкции СВЧ плазмотрона по патенту РФ 2270536 С1. В этой конструкции окно удалено от разрядной камеры, что защищает от прямых лучей плазменного канала игазовых потоков специальным элементом конструкции. Эта конструкция выбирается нами в качестве аналога, так как она может обеспечить высокий уровень вводимой СВЧ мощности. Полезным качеством этого плазмотрона является так же возможность возбуждения в разрядной камере электромагнитной волны с вращающейся поляризацией электрического поля. Недостатком этой конструкции является ввод СВЧ энергии через торец разрядной камеры, затрудняющий использование этой части плазмотрона для технологических устройств и концентрации вводимой СВЧ мощности в одной зоне, к тому же ограниченных размеров, определяемых электродинамическими требованиями. Хотя конструкция позволяет суммировать СВЧ мощность от нескольких СВЧ источников, их энергия вводится через одну и ту же щель в торце разрядной камеры, что в совокупности ограничивает СВЧ мощность данного плазмотрона. В патенте РФ RU 183873 U1 также используется возбуждение в разрядной камере волны H11 с круговой поляризацией через торец камеры, что мешает технологическому использованию. Технический результат достигается за счет ввода СВЧ энергии и плазмообразующего газа через одни и те же щели, выполненные в боковой стенке разрядной камеры, к которым СВЧ энергия и вращающийся поток газа подводятся по коаксиальным трубам-волноводам, расположенным вдоль боковой стенки разрядной камеры. СВЧ энергия и поток газа вводятся в торце трубы-волновода, на удалении от щелей связи этой трубы с разрядной камерой на расстояние не менее двух диаметров трубы-волновода. Герметизирующее окно вставлено внутрь прямоугольного волновода, подсоединяемого к стенке трубы-волновода так, что его широкая стенка параллельна оси этой трубы. На противоположном конце трубы-волновода устанавливается коаксиальный коротко замыкающий поршень. Прямоугольные волноводы, через волноводный делитель или волноводный мост, соединены с источником СВЧ энергии. Завихритель газа располагается в торце трубы-волновода в виде радиальных косых щелей или диэлектрического (фторопластового) окна с вентиляторными радиальными щелями. Известен СВЧ-плазмохимический реактор (плазмотрон), который выбран в качестве прототипа (патент РФ RU 2270536 С1), состоящий из металлической разрядной камеры в виде цилиндрической трубы с торцевыми днищами и боковой стенкой, узла ввода СВЧ энергии в разрядную камеру, выполненного в виде двух коаксиальных металлических труб, внешней с верхним днищем и внутренней; переходного узла, состоящего из металлического тела в форме усеченного конуса, большее основание которого образует часть верхней крышки разрядной камеры, расположенного вокруг внутренней трубы и металлического кожуха, размещенного вокруг металлического телакоаксиально ему и соединяющего внешнюю трубу с боковой стенкой разрядной камеры, коаксиально-волноводного перехода, внешний проводник-корпус которого подсоединен к верхней крышке узла ввода СВЧ энергии и изолирован от внутренней трубы диэлектрическим кольцом. Центральный проводник перехода соединен плавным переходом с верхним торцом внутренней трубы и изолирован от корпуса платформы для размещения обрабатываемого материала, установленной на нижнем днище разрядной камеры с возможностью перемещения, размещенного между кожухом и металлическим телом герметизирующего диэлектрического окна; формирователя дополнительного вихревого потока газа, установленного на боковой стенке разрядной камеры поджигающего электрода и тангенциально к стенке сопел ввода рабочего газа. В плазмохимическом реакторе, во внутренней трубе у ее торца, обращенного в разрядную камеру, установлена вставка из электропроводящего материала с центральным отверстием, зафиксированная на поверхности трубы с помощью выступов и выполненная преимущественно в виде тела вращения. Второй конец центрального проводника коаксиально-волноводного перехода подсоединен к дозатору исходного сырья между конусной поверхностью металлического тела и стенкой внешней трубы. Соосно с последней, герметизирующий цилиндр формирователь дополнительного вихревого газового потока установлен в кожухе вокруг диэлектрического цилиндра в центре нижнего днища разрядной камеры, где установлена металлическая труба с возможностью перемещения относительно днища. Внутри камеры размещен сборник конечного продукта, при этом электропроводящая вставка подключена к отрицательному, а металлическая труба - положительному полюсам источника электрического напряжения. Вокруг разрядной камеры установлен соленоид. Плазмотрон по п. 1 отличающийся тем, что в стенке внешней трубы выполнены два окна, разнесенные по азимуту на 90 градусов к которым подсоединены прямоугольные волноводы, так что их широкие стенки ориентированы вдоль оси разрядной камеры, а окна подсоединения закрыты диэлектрическими вставками. Принципиальными недостатками прототипа, ограничивающими величину вкладываемой в СВЧ разряд мощности являются: 1. СВЧ мощность от подключаемых к плазмотрону двух или трех СВЧ источников вводится в разрядную камеру через единое окно ограниченных размеров определяемых электродинамикой разрядной камеры, в которой должны возбуждаться строго определенные типы электромагнитных волн - H11 и Е01. 2. Увеличение диаметра разрядной камеры с целью увеличения окна ввода СВЧ энергии может привести к образованию зон рециркуляции газа вне осевой зоны и перескоку в них разряда при попытке увеличить вкладываемую мощность. 3. Размещение электрода-катода внутри трубы устройства СВЧ ввода ограничивает эффект положительного воздействия совмещенного СВЧ и дугового разряда на процесс эмиссии электрического тока с катода так как электрическое поле волны H11 минимально у торца разрядной камеры а охлаждение плазмы СВЧ разряда на волне Е01 теплоотводом на катод препятствует контакту плазмы с поверхностью катода. Задача предлагаемого изобретения заключается в расширении области его применения и достижении необходимой производительности реализуемых с помощью данного устройства плазмохимических процессов. Технический результат заключается в устранении указанных в прототипе недостатков и создании надежного плазмотрона промышленной производительности при сохранении преимуществ безэлектродного разряда. Поставленная задача решается заявляемым СВЧ плазмотроном, содержащим металлическую цилиндрическую водоохлаждаемую разрядную камеру, устройство ввода СВЧ энергии в разрядную камеру, устройство ввода в разрядную камеру вихревого (вращающегося вокруг оси камеры) защитного потока газа, выходное сопло в одном из торцов камеры запредельного для электромагнитной волны возбуждаемой внутри разрядной камеры, СВЧ узел, соединяющий плазмотрон с источником СВЧ энергии, состоящий из волноводного делителя или волноводного моста, прямоугольных волноводов, соединяющих выходные плечи делителя или моста с плазмотроном, отличающемся тем, что прямоугольные волноводы подсоединяются к двум коаксиальным волноводным трубами, подсоединяемыми к разрядной камере вдоль ее оси через продольные щели со сдвигом по азимуту разрядной камеры на 90 градусов, при этом длины прямоугольных волноводов отличаются друг от друга на величину, обеспечивающую сдвиг по фазе между электромагнитными волнами типа Н11, возбуждаемые через щели соединения разрядной камеры с коаксиальными трубами-волноводами, смещенных относительно друг друга на 90 градусов, подсоединение прямоугольных волноводов к трубам-волноводам выполнено в зоне, уделенной от щели соединения трубы-волновода с разрядной камерой на расстояние не менее двух диаметров трубы-волновода, здесь же расположено герметизирующее окно, а устройства, формирующие вращающийся поток плазмообразующего газа размещаются в разряднойкамере, в трубах-волноводах размещены коаксиальные коротко замыкающие поршни, герметизирующие диэлектрические окна устанавливаются внутри торца прямоугольных волноводов и внутри коаксиальных труб, при этом внутри разрядной камеры дополнительно расположен электродуговой плазмотрон. Так же задача решается способом генерации плазмы, в котором ввод СВЧ энергии в металлическую водоохлаждаемую разрядную камеру осуществляется через продольные вдоль оси камеры две щели из присоединяемых к этим щелям металлических труб-волноводов, смещенных относительно друг друга на 90 градусов, располагаемых вдоль оси разрядной камеры, а плазмообразующий газ вводится через устройства, формирующие вращающийся поток плазмы, размещаемые в разрядной камере, далее поджиг разряда производится путем кратковременного введения в центр разрядной камеры металлического штыря. На фиг. 1 (а) и б) - вид сбоку) представлено изображение заявляемого СВЧ плазмотрона, где: 1 - водоохлаждаемая разрядная камера; 2 - устройство ввода СВЧ энергии в разрядную камеру; 3 - устройство ввода в разрядную камеру вихревого (вращающегося вокруг оси камеры) защитного потока газа; 4 - выходное сопло; 5 - СВЧ узел, соединяющий плазмотрон с источником СВЧ энергии; 6 - волноводный делитель или волноводный мост; 7 - прямоугольные волноводы; 8 - коаксиальные волноводные трубы; 9 - герметизирующее окно; 10 - устройства, формирующие вращающийся поток плазмообразующего газа; 11 - коаксиальные коротко замыкающие поршни; 12 - электродуговой плазмотрон. Сущность изобретения заключается в следующем. СВЧ плазмотрон содержит металлическую цилиндрическую водоохлаждаемую разрядную камеру (1), устройство ввода СВЧ энергии в разрядную камеру (2), устройства ввода в разрядную камеру вихревого (вращающегося вокруг оси камеры) защитного потока газа (3), выходного сопла в одном из торцов камеры запредельного для электромагнитной волны возбуждаемой внутри разрядной камеры (4), СВЧ узла соединяющего плазмотрон с источником СВЧ энергии(5), состоящем из волноводного делителя или волноводного моста (6), прямоугольных волноводов (7), соединяющих выходные плечи делителя или моста с плазмотроном, при этом прямоугольные волноводы подсоединяются к двум коаксиальным волноводным трубами (8), подсоединяемыми к разрядной камере вдоль ее оси через продольные щели со сдвигом по азимуту разрядной камеры на 90 градусов. Длины прямоугольных волноводов отличаются друг от друга на величину обеспечивающую сдвиг по фазе между электромагнитными волнами типа Н11, возбуждаемые через щели соединения разрядной камеры с коаксиальными трубами-волноводами, смещенных относительно друг друга на 90 градусов, а ввод плазмообразующего газа производится вращающимся внутри коаксиальных труб-волноводов газовым потоком через щели ввода СВЧ энергии. Подсоединение прямоугольных волноводов к трубам-волноводам выполнено в зоне, уделенной от щели соединения трубы-волновода с разрядной камерой на расстояние не менее двух диаметров трубы-волновода. Здесь же расположено герметизирующее окно (9). Устройства, формирующие вращающийся поток плазмообразующего газа (10) размещаются в разрядной камере. В трубах-волноводах размещены коаксиальные коротко замыкающие поршни (11). Герметизирующие диэлектрические окна устанавливаются внутри торца прямоугольных волноводов и внутри коаксиальных труб. Для реализации различных технологических процессов внутри разрядной камеры может дополнительно устанавливаться электродуговой плазмотрон (12). Изобретение обладает повышенной надежностью и увеличенным уровнем вкладываемой в разряд СВЧ мощностью при использовании активной зоны разряда для технологического процесса, а также возможность совмещения с электродуговым разрядом, что позволяет повысить стабильность горения СВЧ разряда и расширить диапазон среднемассовой температуры плазменного потока и тем самым расширить технологические возможности плазмотрона.