Изобретение относится к лазерной технике, в частности оно может быть отнесено к оптическим устройствам отклонения лазерных пучков. Акустооптический дефлектор состоит из светозвукопровода, выполненного из монокристалла ТеО2 и имеющего акустическую грань, параллельную кристаллографической оси [110] монокристалла и составляющую угол α от минус 4 до минус 6 градусов с кристаллографической осью [001] монокристалла, входную оптическую грань с антиотражающим покрытием, параллельную кристаллографической оси [110] монокристалла и составляющую угол β от 76,7 до 81,5 градусов с кристаллографической осью [001], выходную оптическую грань с антиотражающим покрытием, параллельную кристаллографической оси [110] и перпендикулярную акустической грани, сдвиговый пьезоэлектрический преобразователь, выполненный из монокристалла LiNbO3, присоединенный к акустической грани, а также электрической согласующей системы, выход которой присоединен ко входу пьезоэлектрического преобразователя, причем величина угла β определяется функциональным соотношением β=90°+k⋅α, коэффициент k составляет величину от 2,12 до 2,22. Технический результат - упрощение конструкции бихроматического акустооптического дефлектора и расширение интервала между рабочими длинами волн. 3 з.п. ф-лы, 4 ил.
1. Акустооптическое устройство, состоящее из светозвукопровода, выполненного из монокристалла ТеО2 и имеющего акустическую грань, параллельную кристаллографической оси [110] монокристалла и составляющую угол α от минус 4 до минус 6 градусов с кристаллографической осью [001] монокристалла, входную оптическую грань с антиотражающим покрытием, параллельную кристаллографической оси [110] монокристалла и составляющую угол β от 76,7 до 81,5 градусов с кристаллографической осью [001], выходную оптическую грань с антиотражающим покрытием, параллельную кристаллографической оси [110] и перпендикулярную акустической грани, сдвиговый пьезоэлектрический преобразователь, выполненный из монокристалла LiNbO3, присоединенный к акустической грани, а также электрической согласующей системы, выход которой присоединен ко входу пьезоэлектрического преобразователя, причем величина угла β определяется функциональным соотношением β=90°+k⋅α, коэффициент k составляет величину от 2,12 до 2,22, а толщина пьезоэлектрического преобразователя и электрическая согласующая система обеспечивает минимумы коэффициента стоячей волны в электрической цепи между генератором и пьезоэлектрическим преобразователем на частотах, соответствующих фазовому синхронизму акустооптической дифракции на двух рабочих длинах волн. 2. Устройство по п. 1, в котором толщина пьезоэлектрического преобразователя такова, что его резонансная частота лежит в диапазоне от 0,85 до 1,15 средней геометрической величины частот, соответствующих фазовому синхронизму акустооптической дифракции на двух рабочих длинах волн. 3. Устройство по п. 1, в котором толщина пьезоэлектрического преобразователя такова, что его резонансная частота не превышает частоты, соответствующей фазовому синхронизму на большей из двух рабочих длин волн, а утроенная величина резонансной частоты не меньше частоты, соответствующей фазовому синхронизму акустооптической дифракции на меньшей из двух рабочих длин волн. 4. Устройство по п. 1, в котором электрическая согласующая система содержит два или более последовательно расположенных Г-образных звена, элементы которых являются емкостями или индуктивностями.
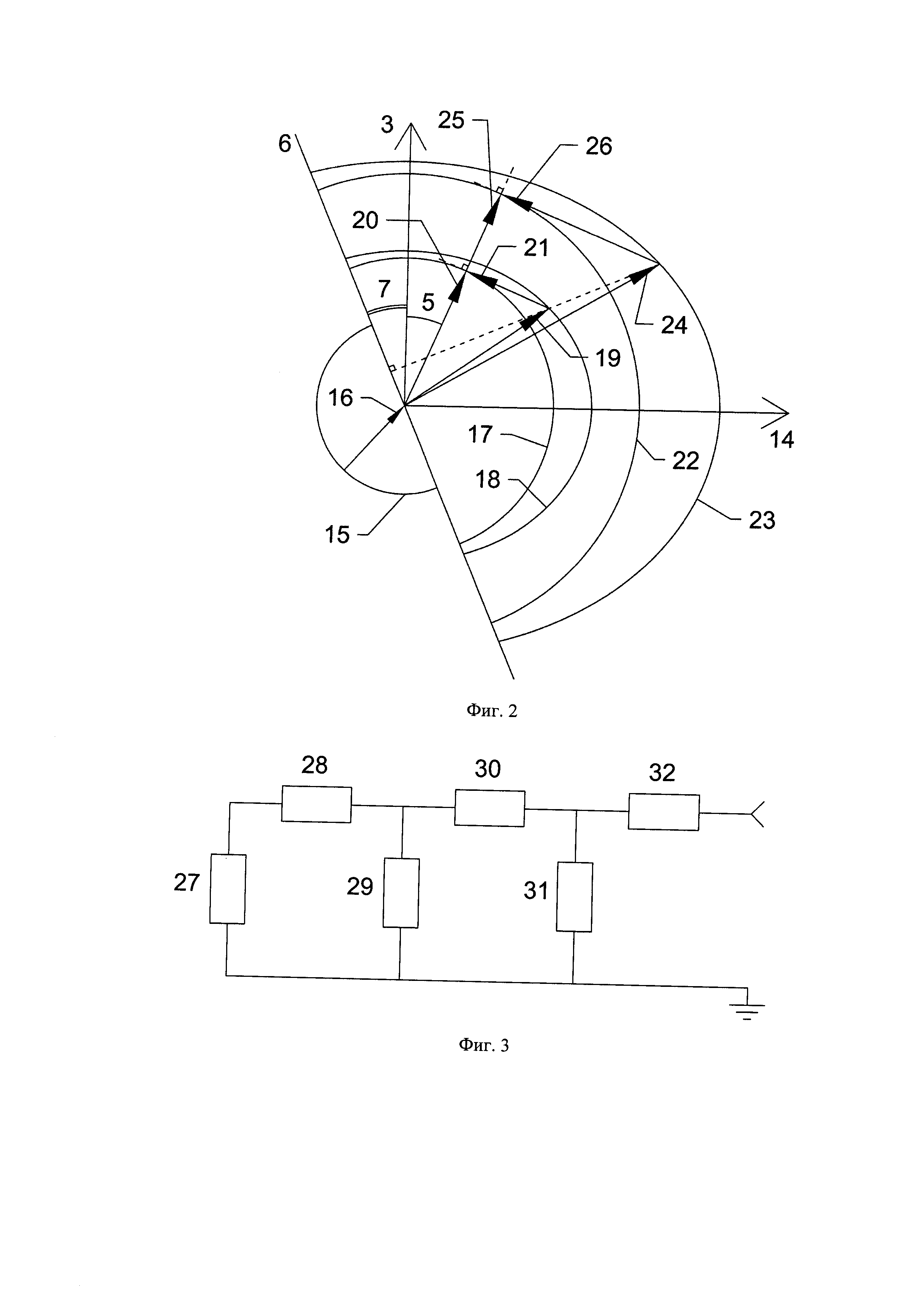
Изобретение относится к лазерной технике и акустооптике, в частности оно может быть отнесено к акустооптическим (АО) устройствам отклонения лазерных пучков. АО-устройства отклонения и сканирования лазерного излучения - АО-дефлекторы - широко применяются в различных областях фотоники: в лазерных технологиях обработки материалов и полиграфии, для оптических коммутаторов в волоконно-оптических линиях связи, систем стабилизации лазерного пучка, систем оптических ловушек, систем поиска и слежения за движущимися объектами,, и т.д. Принцип действия АО-дефлектора заключается в использовании так называемой тангенциальной геометрии фазового синхронизма анизотропной АО-дифракции в двулучепреломляющем кристалле, позволяющей реализовать широкую полосу дифракции. Методы расчета характеристик и технологии создания АО-дефлекторов для монохроматического лазерного излучения хорошо известны, такие приборы широко распространены и серийно выпускаются оптоэлектронной промышленностью. Известен полихроматический АО-дефлектор на основе монокристалла ТеО2 для диапазона длин волн от 400 до 700 нм (RU 2243582 С2 опублик. 27.12.2004). Недостатком устройства является использование клиновидного пьезопреобразователя, требующего усложненной технологии и повышенной точности при сошлифовке до требуемого диапазона толщин и, следовательно, повышенной трудоемкости изготовления. Другим недостатком является использование отдельного генератора высокочастотных (ВЧ) сигналов для каждого из электродов, работающих в разных частотных диапазонах, что усложняет конструкцию и увеличивает массогабаритные характеристики электронной системы управления АО-дефлектором. Наиболее близким техническим решением (прототипом) является АО-дефлектор двухцветного лазерного излучения на основе монокристалла ТеО2 (Kim S. et al. // Applied Optics. - 2008. - V. 47. - P. 1816). Недостатком прототипа является сложная конструкция АО-кристалла, использующая наклон граней в двух плоскостях относительно кристаллографических осей и недостаточный интервал между рабочими длинами волн 480 и 780 нм, не позволяющий одновременно управлять лазерным излучением на фундаментальной частоте и на второй гармонике. Техническим результатом изобретения является упрощение конструкции бихроматического АО-дефлектора и увеличение интервала между рабочими длинами волн, позволяющее одновременно управлять основной волной и второй гармоникой лазерного излучения инфракрасного диапазона длин волн. Указанный технический результат достигается следующим образом. АО-дефлектор состоит из светозвукопровода, выполненного из монокристалла ТеО2 и имеющего акустическую грань, параллельную кристаллографической оси [110] монокристалла и составляющую угол α от минус 4 до минус 6 градусов с кристаллографической осью [001] монокристалла, входную оптическую грань с антиотражающим покрытием, параллельную кристаллографической оси [110] монокристалла и составляющую угол β от 76,7 до 81,5 градусов с кристаллографической осью [001], выходную оптическую грань с антиотражающим покрытием, параллельную кристаллографической оси [110] и перпендикулярную акустической грани, сдвиговый пьезоэлектрический преобразователь, выполненный из монокристалла LiNbO3, присоединенный к акустической грани, а также электрической согласующей системы, выход которой присоединен ко входу пьезоэлектрического преобразователя, причем величина угла β определяется функциональным соотношением β=90°+k⋅α, коэффициент k составляет величину от 2,12 до 2,22, а толщина пьезоэлектрического преобразователя и электрическая согласующая система обеспечивают минимумы коэффициента стоячей волны в электрической цепи между генератором и пьезоэлектрическим преобразователем на частотах, соответствующих фазовому синхронизму акустооптической дифракции на двух рабочих длинах волн. Кроме того, толщина пьезоэлектрического преобразователя такова, что его резонансная частота лежит в диапазоне от 0,85 до 1,15 средней геометрической величины частот, соответствующих фазовому синхронизму акустооптической дифракции на двух рабочих длинах волн. Кроме того, толщина пьезоэлектрического преобразователя такова, что его резонансная частота не превышает частоты, соответствующей фазовому синхронизму на большей из двух рабочих длин волн, а утроенная величина резонансной частоты не меньше частоты, соответствующей фазовому синхронизму акустооптической дифракции на меньшей из двух рабочих длин волн. Также электрическая согласующая система содержит два или более последовательно расположенных Г-образных звена, элементы которых являются емкостями или индуктивностями. Изобретение поясняется чертежами, где на фиг.1 приведена схема АО-дефлектора, на фиг.2 - векторная диаграмма АО-дифракции и преломления лазерных пучков, на фиг.3 - принципиальная электрическая схема электрической согласующей системы, на фиг.4 - коэффициент стоячей волны (КСВ) пьезоэлектрического преобразователя с согласующей системой. На чертежах обозначены: кристалл ТеО2 1, кристаллографическая ось [110] 2 кристалла 1, кристаллографическая ось [001] 3 кристалла 1, акустическая грань 4, угол α 5, входная оптическая грань 6, угол β 7, выходная оптическая грань 8, пьезоэлектрический преобразователь 9, электрическая согласующая система 10, управляющий генератор 11, соединительные провода 12, 13, кристаллографическая ось [110] 14 кристалла 1, поверхность рефракции 15 в воздухе, вектор рефракции 16 падающей волны в воздухе, поверхность рефракции 17 основной обыкновенной волны кристалла 1, поверхность рефракции 18 основной необыкновенной волны кристалла 1, вектор рефракции 19 падающей основной волны в кристалле 1, вектор рефракции 20 дифрагировавшей основной волны в кристалле 1, вектор обратной решетки 21 для основной волны, поверхность рефракции 22 обыкновенной волны второй гармоники в кристалле 1, поверхность рефракции 23 необыкновенной волны второй гармоники в кристалле 1, вектор рефракции 24 падающей волны второй гармоники в кристалле 1, вектор рефракции 25 дифрагировавшей волны второй гармоники в кристалле 1, вектор обратной решетки 26 для волны второй гармоники, 27 импеданс пьезоэлектрического преобразователя, 28 первый элемент электрической согласующей системы, 29 второй элемент электрической согласующей системы, 30 третий элемент электрической согласующей системы, 31 четвертый элемент электрической согласующей системы, 32 пятый элемент электрической согласующей системы. Осуществление изобретения. Предложено конкретное решение АО-дефлектора для управления излучением титан-сапфирового фемтосекундного лазера на центральной длине волны 800 нм и второй гармонике излучения на центральной длине волны 400 нм. На фиг.1 показана конструктивная схема устройства. Основным конструктивным параметром является угол 5 между кристаллографической осью 3 и акустической гранью 4 кристалла 1, определяющий скорость сдвиговой акустической волны V в кристалле 1, возбуждаемой пьезоэлектрическим преобразователем 9. Угол 7 между кристаллографической осью 3 и входной оптической гранью 6 кристалла 1 определяет условие преломления лазерных пучков. Управляющий ВЧ-сигнал подается на вход электрической согласующей системы 10 со внешнего генератора 11. На фиг.2 приведена векторная диаграмма, поясняющая работу бихроматического дефлектора. Направление векторов рефракции 20 и 25, а также векторов обратной решетки 21 и 26 определяются углом 5 между кристаллографической осью 3 и акустической гранью 4 кристалла 1. Угол Брэгга θ между векторами рефракции падающего и отраженного света определяется уравнением где No - длина вектора рефракции 20 или 25 обыкновенной волны, Ne - длина вектора рефракции 19 или 24 необыкновенной волны. При изменении длины волны λ за счет дисперсии показателей преломления кристалла 1 происходит изменение угла θ, следовательно, векторы рефракции 19 и 24 падающих волн имеют разные направления. Угол Брэгга θ уменьшается при увеличении длины волны λ. Для одновременного выполнения условия фазового синхронизма на двух различных длинах волн входная грань 6 кристалла 1 выполняется в направлении, перпендикулярном отрезку, проведенному через концы векторов рефракции 19 и 24 падающих волн на двух разных длинах волн, что позволяет вычислить угол 7. Численные расчеты в диапазоне длин волн λ от 0,7 до 1,7 мкм величины угла 7 показывают, что величина β угла 7 удовлетворяет функциональному соотношению где коэффициент k лежит в диапазоне от 2,12 до 2,22. Выполнение соотношения (2) является первым необходимым условием для достижения высокой эффективности АО-дифракции одновременно для основной волны и второй гармоникой лазерного излучения. На различных длинах волн λ частоты ультразвука F, обеспечивающие фазовый синхронизм АО-взаимодействия, также различны. Поскольку длины волн λ основной волны и второй гармоники отличаются ровно в 2 раза, соответствующие частоты F отличаются более чем в 2 раза из-за дисперсии показателей преломления кристалла 1. Частота ультразвука в центре рабочего диапазона АО-дефлектора определяется уравнением где λ - длина волны лазерного излучения. Эффективное возбуждение ультразвука одним пьезоэлектрическим преобразователем 9 на частотах, отличающихся более чем в 2 раза, является вторым необходимым условием для достижения высокой эффективности АО-дифракции одновременно для основной волны и второй гармоникой лазерного излучения. Данное условие может быть выполнено особой конструкцией пьезоэлектрического преобразователя 9 и электрической согласующей системы 10. Для осуществления изобретения выбрана наиболее простая конструкция пьезоэлектрического преобразователя 9 в виде плоскопараллельной пластины из монокристалла LiNbO3, толщина которой h определяется соотношением где V0 - скорость сдвиговой волны в монокристалле LiNbO3, a F0 - резонансная частота пьезоэлектрического преобразователя. Чтобы обеспечить возможность согласования импеданса пьезопреобразователя одновременно на частотах F1 и F2, определяемых по формуле (3) для длин волн λ1 и λ2=0,5λ1 соответственно, резонансная частота пьезоэлектрического преобразователя F0должна лежать вблизи среднего геометрического значения Fcp=(F1F2)1/2. На практике допустимо отклонение частоты F0 от Fcp на величину от 10 до 15%, как в сторону увеличения, так и в сторону уменьшения, что позволяет при необходимости скомпенсировать погрешность толщины h сошлифовки пьезоэлектрического преобразователя 9 элементами электрической согласующей системы 10 (Molchanov V., Makarov О. // Optical Engineering. - 1999. - V. 37. - P. 1127). На фиг.3 показана принципиальная электрическая схема согласующей электрической системы 10, которая выполняет роль согласования комплексного импеданса пьезоэлектрического преобразователя 9 с выходным импедансом генератора 11. Система 10, позволяющая получить два минимума КСВ в электрической цепи между генератором и пьезоэлектрическим преобразователем реализуется на основе LC-цепи, имеющей 2 или более последовательных звеньев. Такая цепь может обеспечивать величину КСВ не более 3,0 в диапазоне частот, превышающем октаву. Например, двухзвенная цепь согласования пьезоэлектрического преобразователя из монокристалла LiNbO3 на АО-устройстве из монокристалла ТеО2 позволяет получить величину КСВ не более 3,0 в диапазоне частот от 25 до 54 МГц при резонансной частоте преобразователя F0=36 МГц (В.Я. Молчанов и др. Теория и практика современной акустооптики. М.: МИСиС, 2015, гл. 4). Далее приведен пример реализации устройства. АО-дефлектор имеет угол 5 между акустической гранью 4 и осью 3α=- 4°. Частота фазового синхронизма на длине волны фундаментальной гармоники 1064 нм составляет 47,6 МГц и на длине волны второй гармоники 532 нм 105,0 МГц. Пьезопреобразователь выполнен в виде плоскопараллельной пластинки из монокристалла LiNbO3 Х-среза толщиной 28 мкм. Резонансная частота пьезопреобразователя составляет F0=76 МГц, емкость 71 пФ. В согласующей системе 10 первый элемент 28 и четвертый элемент 31 не использовались, второй элемент 29 является индуктивностью 0,13 мкГн, третий элемент 30 является емкостью 35 пФ, пятый элемент 32 является индуктивностью 0,12 мкГн. Данная схема обеспечивает КСВ менее 3,0 в диапазоне частот от 37,5 до 114 МГц. Резонансная частота пьезопреобразователя F0 составляет 107% от средней частоты Fcp=71 МГц.


