Изобретение относится к нефтедобывающей промышленности. Штанговая скважинная насосная установка для добычи нефти из скважин с наличием зумпфа в условиях высокого газового фактора включает колонну насосно-компрессорных труб (НКТ), колонну насосных штанг, штанговый насос, состоящий из цилиндра со всасывающим клапаном, плунжера с нагнетательным клапаном. Цилиндр снабжен заглушенным полым цилиндрическим кожухом, неподвижно закрепленным в верхней части с цилиндром. В верхней части кожуха выполнены два газоперепускных клапана. Прием штангового насоса оборудован внутренней трубой с открытой нижней частью. При этом открытая нижняя часть трубы расположена на расстоянии не менее чем 3 м ниже подошвы перфорированного пласта. Кожух выполнен с фильтрационными отверстиями, перекрытыми чашеобразным полукожухом, обращенным открытой частью к забою скважины, а ниже чашеобразного полукожуха кожух снабжен центраторами. При этом фильтрационные отверстия расположены на расстоянии не менее чем 1,5 м ниже подошвы перфорированного пласта. Ниже уровня фильтрационных отверстий на внутренней трубе установлены верхняя и нижняя конусные металлические сетки, при этом верхняя сетка с ячейкой 2 мм, нижняя - с ячейкой 1 мм. Каждый газоперепускной клапан соединен с полимерной капиллярной трубкой, зафиксированной на колонне НКТ с помощью металлических клямс. При этом длина полимерных капиллярных трубок подбирается таким образом, чтобы верх трубок находился на 200 м выше динамического уровня при работе установки. Обеспечивается повышение эффективности сепарации газа и надежности работы штанговой скважинной насосной установки для добычи нефти. 1 ил.
Штанговая скважинная насосная установка для добычи нефти из скважин с наличием зумпфа в условиях высокого газового фактора, включающая колонну насосно-компрессорных труб (НКТ), колонну насосных штанг, штанговый насос, состоящий из цилиндра со всасывающим клапаном, плунжера с нагнетательным клапаном, цилиндр снабжен заглушенным полым цилиндрическим кожухом, неподвижно закрепленным в верхней части с цилиндром, в верхней части кожуха выполнены два газоперепускных клапана, отличающаяся тем, что
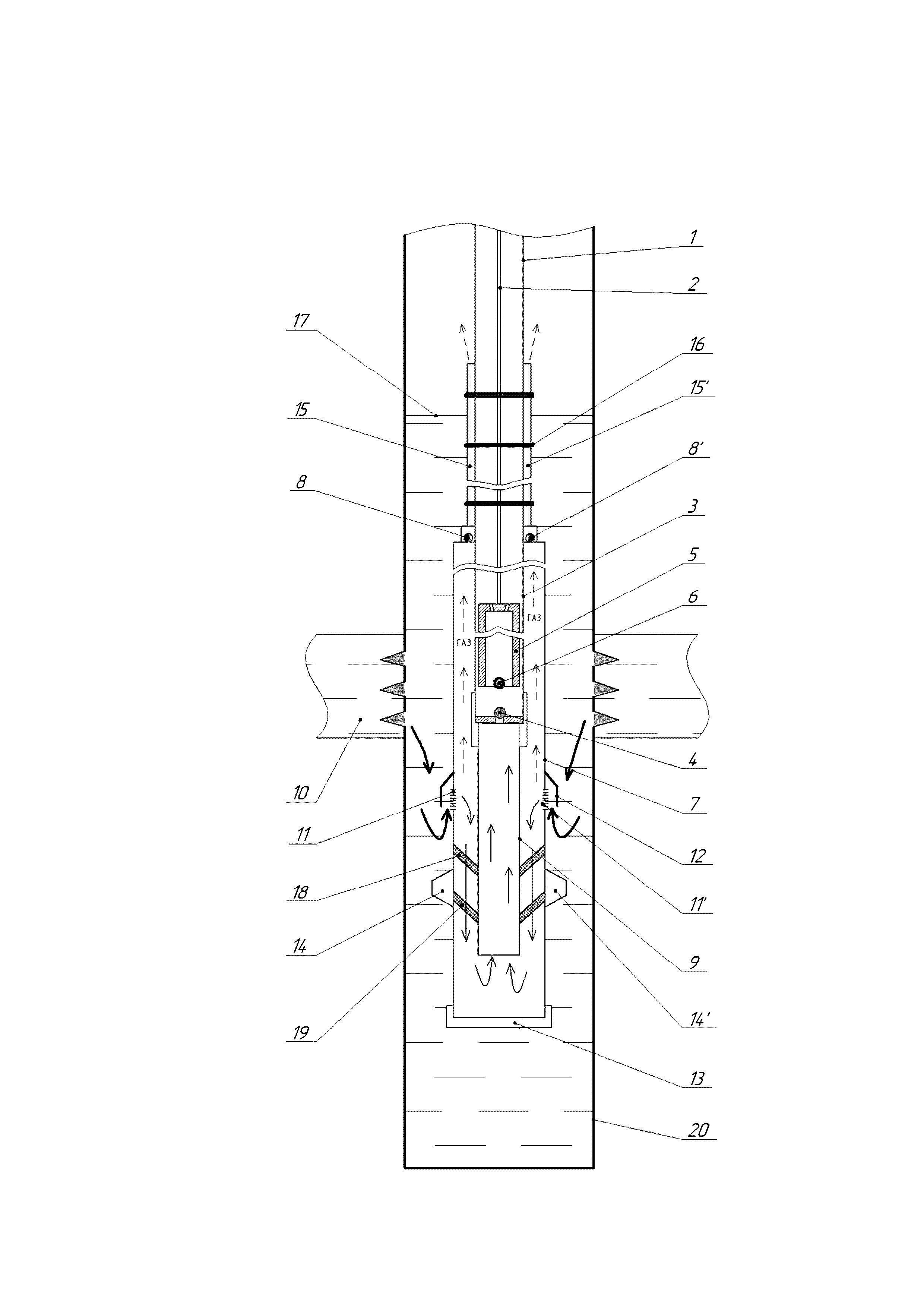
Изобретение относится к нефтедобывающей промышленности и может найти применение при добыче нефти из скважин с зумпфом более 3 м, эксплуатация которых осложнена высоким газовым фактором. Типовой штанговой насосной установкой для условий, осложненным высоким газовым фактором, является установка (И.Т. Мищенко «Скважинная добыча нефти» М., «Нефть и газ» РГУ нефти и газа им. И.М. Губкина, 2003, с. 588), включающая насос с цилиндром с всасывающим клапаном, плунжером с нагнетательным клапаном, при этом штанговый насос выполнен с возможностью присоединения к колонне лифтовых труб. К приему насоса закреплен хвостовик. Газопесочный якорь с контейнером из НКТ размещен ниже насоса. При работе скважинного насоса, приводимого в действие приводом станка-качалки через колонну насосных штанг, жидкость поступает в газопесочный якорь, в котором за счет изменения скоростей потока происходит гравитационное осаждение механических примесей и всплытие пузырьков газа. Недостатком данной установки является низкая эффективность сепарации газа в условиях высокого газового фактора из-за малого сечения газопесочного якоря, в котором происходит всплытие пузырьков газа, что снижает коэффициент наполнения насоса, производительность и КПД установки. Известна скважинная штанговая насосная установка для добычи нефти из скважин в условиях высокого газового фактора (патент RU № 216467, МПК E21B 43/00, E21B 43/38, опубл. 07.02.2023 в бюл.№ 4), состоящая из вставного штангового насоса, приводимого в действие приводом через колонну насосных штанг, колонну эксплуатационных насосно-компрессорных труб, хвостовика, пакера, расположенного выше продуктивного пласта, между вставным штанговым насосом и хвостовиком последовательно установлены перфорированный патрубок, заглушенная муфта, патрубок колонны эксплуатационных насосно-компрессорных труб, двухканальная муфта с отводом, а над вставным штанговым насосом установлен перепускной клапан с принудительной откачкой газа, при этом отвод выполнен с внутренним диаметром 40 мм и длиной, обеспечивающей расстояние между выходным отверстием отвода и приемом вставного штангового насоса, не менее 2 м. Недостатком данной установки является применение пакера, что увеличивает усложняет процесс установки в скважине, имеет риски аварийности при извлечении. Наиболее близким является штанговый насос для добычи нефти из скважин с малым зумпфом в условиях высокого газового фактора (патент RU № 215129, МПК E21B 17/00, F04B 47/02, опубл. 30.11.2022 в бюл.№ 34), включающий цилиндр с всасывающим клапаном, плунжер с нагнетательным клапаном, при этом штанговый насос выполнен с возможностью присоединения к колонне лифтовых труб. Цилиндр снабжен полым цилиндрическим кожухом, неподвижно закрепленным в верхней части с цилиндром, при этом выше основного всасывающего клапана полый цилиндрический кожух выполнен по меньшей мере с двумя входными щелевыми фильтрационными отверстиями, перекрытыми металлической сеткой и чашеобразным полукожухом, обращенным открытой частью к устью скважины, притом в верхней части цилиндрического кожуха выполнены газоперепускные клапаны, по меньшей мере два. Данный насос является наиболее оптимальным решением в случае отсутствия зумпфа скважины, но для скважин с зумпфом более 3 м данный насос будет недостаточно эффективным решением, из-за поступления части газа во входные щелевые отверстия в кожухе, кроме того часть газа, выходящая через газоперепускные клапаны в газожидкостную смесь может снова поступить во входные отверстия, особенно при низком погружении насоса под динамический уровень. Кроме того, при наличии механических примесей в продукции скважин насос выходит из строя из-за износа или засорения. Техническим результатом изобретения является повышение эффективности сепарации газа и надежности работы штанговой скважинной насосной установки для добычи нефти из скважин с наличием зумпфа более 3 м в условиях высокого газового фактора и наличия механических примесей в продукции. Технический результат достигается штанговой скважинной насосной установкой для добычи нефти из скважин с наличием зумпфа в условиях высокого газового фактора, включающей колонну насосно-компрессорных труб - НКТ, колонну насосных штанг, штанговый насос, состоящий из цилиндра со всасывающим клапаном, плунжера с нагнетательным клапаном, цилиндр снабжен заглушенным, полым цилиндрическим кожухом, неподвижно закрепленным в верхней части с цилиндром, в верхней части кожуха выполнены два газоперепускных клапана. Новым является то, что прием штангового насоса оборудован внутренней трубой с открытой нижней частью, при этом открытая нижняя часть трубы расположена на расстоянии не менее чем 3 м ниже подошвы перфорированного пласта, кожух выполнен с фильтрационными отверстиями, перекрытыми чашеобразным полукожухом, обращенным открытой частью к забою скважины, а ниже чашеобразного полукожуха кожух снабжен центраторами, при этом фильтрационные отверстия расположены на расстоянии не менее чем 1,5 м ниже подошвы перфорированного пласта, ниже уровня фильтрационных отверстий на внутренней трубе установлены верхняя и нижняя конусные металлические сетки, при этом верхняя сетка с ячейкой 2 мм, нижняя - с ячейкой 1 мм, каждый газоперепускной клапан соединен с полимерной капиллярной трубкой, зафиксированной на колонне НКТ с помощью металлических клямс, при этом длина полимерных капиллярных трубок подбирается таким образом, чтобы верх трубок находился на 200 м выше динамического уровня при работе установки. На фигуре изображена схема предлагаемой установки, где колонна НКТ – 1, колонна насосных штанг – 2, цилиндр – 3, всасывающий клапан – 4, плунжер – 5, нагнетательный клапан – 6, полый цилиндрический кожух – 7, газоперепускные клапаны – 8, 8/, внутренняя труба – 9, перфорированный продуктивный пласт – 10, фильтрационные отверстия – 11, 11/, чашеобразный полукожух – 12, заглушка – 13, центраторы – 14, 14/, капиллярные трубки – 15, 15/, металлические клямсы – 16, динамический уровень – 17, верхняя металлическая сетка – 18, нижняя металлическая сетка – 19, зумпф скважины – 20. Сущность изобретения. Штанговая скважинная насосная установка для добычи нефти из скважин с наличием зумпфа в условиях высокого газового фактора состоит из колонны НКТ 1, колонны насосных штанг 2, штангового насоса, состоящего из цилиндра 3 со всасывающим клапаном 4, плунжера 5 с нагнетательным клапаном 6. Цилиндр 3 снабжен заглушенным, полым цилиндрическим кожухом 7, неподвижно закрепленным в верхней части с цилиндром 3. В верхней части кожуха 7 выполнены два газоперепускных клапана 8, 8/. Прием штангового насоса оборудован внутренней трубой 9 с открытой нижней частью, при этом открытая нижняя часть трубы 9 расположена на расстоянии не менее чем 3 м ниже подошвы перфорированного пласта 10. Кожух 7 выполнен с фильтрационными отверстиями 11, 11/, перекрытыми чашеобразным полукожухом 12, обращенным открытой частью к забою скважины (на фиг. не показан), а ниже чашеобразного полукожуха 12 кожух 7 снабжен центраторами 14, 14/. При этом фильтрационные отверстия 11, 11/ расположены на расстоянии не менее чем 1,5 м ниже подошвы перфорированного пласта 10. Ниже уровня фильтрационных отверстий 11, 11/ на внутренней трубе 9 установлены верхняя 18 и нижняя 19 конусные металлические сетки. При этом верхняя сетка 18 с ячейкой 2 мм, нижняя 19 - с ячейкой 1 мм, Каждый газоперепускной клапан 8, 8/ соединен с полимерной капиллярной трубкой 15, 15/, зафиксированной на колонне НКТ 1 с помощью металлических клямс 16. При этом длина полимерных капиллярных трубок 15, 15/подбирается таким образом, чтобы верх трубок 15, 15/ находился на 200 м выше динамического уровня 17 при работе установки. Штанговая скважинная насосная установка работает следующим образом. При работе штангового глубинного насоса, приводимого в действие приводом через колонну насосных штанг 2, производят подъем продукции (жидкости) по колонне НКТ 1. В установке реализован принцип многоступенчатой сепарации с использованием гидродинамических эффектов разворота струй жидкости, изменение скорости потока со сменой направления течения. При повороте потока жидкости ниже перфорированного продуктивного пласта 10, в зоне чашеобразного полукожуха 12 и у открытой части внутренней трубы 9, за счет разности плотности газа и жидкости, происходит разделение потока жидкости. Более легкий газ под действием архимедовой силы поднимается вверх в межтрубное пространство. Часть газа, проникающая внутрь кожуха 7, проходит через газоперепускные клапаны 8, 8/ и по капиллярным трубкам 15, 15/ выходит в межтрубное пространство выше уровня жидкости. Кроме того, благодаря наличию конусных сеток 18, 19 происходит дополнительное разгазирование жидкости. Сетки 18, 19 также задерживают отложения и механические примеси. Центраторы 14, 14/ на кожухе 7 исключают повреждение чашеобразного полукожуха 12 при спуске оборудования. Для последующего удаления газа из межтрубного пространство может быть использован любой известный способ (устьевой перепускной клапан, клапан с принудительной откачкой газа с приводом от штанговой колонны, подвесной компрессор с приводом от станка-качалки и др.). Предлагаемая конструкция повышает эффективность сепарации газа и надежность работы штанговой скважинной насосной установки для добычи нефти из скважин с наличием зумпфа более 3 м в условиях высокого газового фактора и наличия механических примесей в продукции.