Изобретение относится к сигнальным охранным системам, в частности к системам охранного освещения. Технический результат заключается в повышении быстродействия системы охранного освещения и повышении ее надежности. В системе освещения светильник выполнен с возможностью осуществления двух режимов освещения: дежурного и тревожного, а блок управления выполнен с возможностью контроля сопротивления шлейфа сигнализации при замыкании/размыкании контактов реле, подключенного к входу блока управления охранного извещателя; микроконтроллер выполнен с возможностью оценки уровня напряжения на шлейфе сигнализации и в соответствии с алгоритмом его обработки формирования сигнала тревоги для передачи его по интерфейсу «RS-485» в системы сбора и отображения информации, управления в соответствии с настройками привязанным к тревожному входу выходом для перевода подключенных к линии управления данного выхода светильников в тревожный режим со 100% номинальной мощности; кроме того, микроконтроллер выполнен с возможностью перевода светильников в тревожный режим на время, установленное в настройках блока управления, и перевода светильников в дежурный режим работы по истечении этого времени. 2 з.п. ф-лы, 1 ил., 1 табл.
1. Система охранного освещения, содержащая блок управления, извещатель охранный, шлейф сигнализации, линию управления светильником, светильник; линию питания, источник бесперебойного питания и блок аварийного питания, при этом блок управления содержит модуль входа и модуль выхода, микроконтроллер с аналого-цифровым преобразователем, при этом выход извещателя охранного связан со входом шлейфа сигнализации, выход шлейфа сигнализации связан со входом аналого-цифрового преобразователя микроконтроллера блока управления, также выход источника бесперебойного питания связан со входом блока управления, выход блока управления связан со входом линии управления светильником, выход линии управления светильником связан со входом светильника, в тоже время выход источника бесперебойного питания и выход блока аварийного питания связаны со входами линии питания, а выход линии питания связан со входом светильника, в то же время светильник выполнен с возможностью осуществления двух режимов освещения: дежурного и тревожного, а блок управления выполнен с возможностью контроля сопротивления шлейфа сигнализации при замыкании/размыкании контактов реле, подключенного к входу блока управления охранного извещателя; микроконтроллер выполнен с возможностью оценки уровня напряжения на шлейфе сигнализации и в соответствии с алгоритмом его обработки формирования сигнала тревоги для передачи его по интерфейсу «RS-485» в системы сбора и отображения информации, управления в соответствии с настройками привязанным к тревожному входу выходом для перевода подключенных к линии управления данного выхода светильников в тревожный режим со 100% номинальной мощности; кроме того, микроконтроллер выполнен с возможностью перевода светильников в тревожный режим на время, установленное в настройках блока управления, и перевода светильников в дежурный режим работы по истечении этого времени. 2. Система по п. 1, отличающаяся тем, что блок управления снабжен интерфейсом «RS-485» для двухстороннего обмена данными с устройствами системы сбора и отображения информации. 3. Система по п. 1, отличающаяся тем, что светильник системы представляет собой светодиодный уличный управляемый светильник.
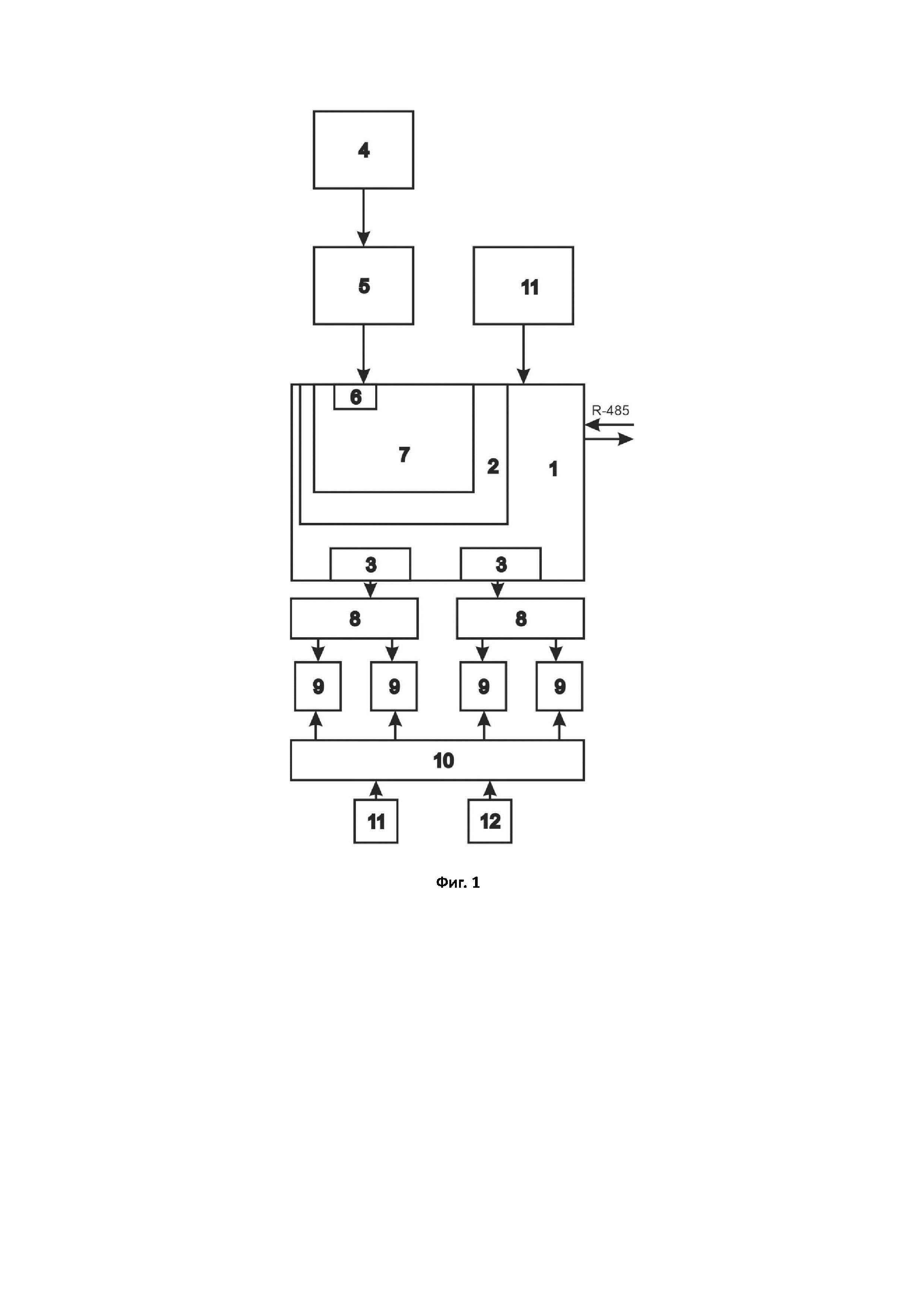
Изобретение относится к сигнальным охранным системам, в частности, к системам охранного освещения [G05D 25/00, H05B 47/00, B60Q 1/00, F21V 8/00, F21S 8/00]. Из уровня техники известно ИНТЕЛЛЕКТУАЛЬНАЯ СИСТЕМА УПРАВЛЕНИЯ ОХРАННЫМ ОСВЕЩЕНИЕМ [CN 205454176 (U), ОПУБЛ. 10.08.2016], содержащая источник питания ИБП, выходное электрическое соединение источника питания ИБП имеет центральный процессор, а первое входное электрическое соединение центрального процессора, соответственно, имеет устройства для измерения напряжения и индукции тока и стабилизатор, и второе входное электрическое соединение центрального процессора. соединение имеет резервную батарею, а первое выходное электрическое соединение центрального процессора соответственно имеет центральный процессор 0 и центральный процессор. Недостатком данной системы является недостаточность быстродействия системы управления охранным освещением и низкая надежность, что критично при обеспечении безопасности территории. Также известна СИСТЕМА ОХРАННОГО ОСВЕЩЕНИЯ [US 2011304273 (A1), ОПУБЛ. 15.12.2011], содержащая осветительный прибор и источник питания, имеющий входное электрическое напряжение переменного тока и перезаряжаемую батарею. Переключатель избирательно подключается к осветительному прибору и источнику питания и реагирует на датчик движения и фотоэлемент. Недостатком данной системы является низкая скорость действия системы управления охранным освещением и ее низкая надежность, следовательно она не может обеспечить достаточную охрану периметра территории. Наиболее близким по технической сущности является ИНТЕЛЛЕКТУАЛЬНАЯ СИСТЕМА ОХРАННОГО ОСВЕЩЕНИЯ БЕСПРОВОДНОЙ СВЯЗИ И СПОСОБ ЕЕ ОБЕСПЕЧЕНИЯ [KR 20170013961 (A), ОПУБЛ. 07.02.2017], содержащая множество осветительных устройств, каждое из которых имеет уникальную идентификационную информацию. Одно из осветительных устройств включает в себя: блок датчиков для обнаружения движущегося объекта; блок приема для приема второго управляющего сигнала, передаваемого, по меньшей мере, от одного из осветительных устройств, отличных от первого осветительного устройства; блок передачи для передачи первого управляющего сигнала, включающего идентификационную информацию движущегося объекта, по меньшей мере, одному из устройств освещения. второе осветительное устройство, устанавливаемое заранее, когда движущийся объект воспринимается сенсорным блоком; и блок управления для управления яркостью освещения первого осветительного устройства. Когда движущееся тело воспринимается сенсорным блоком или вторым управляющим сигналом, который соответствует конкретному осветительному устройству, расположенному на траектории движения, установленной на основе второго управляющего сигнала, и независимо от того, воспринимается ли движущийся объект сенсорным блоком, контроллер управляет таким образом, что яркость освещения первого осветителя увеличивается. Основной технической проблемой прототипа, содержащего осветительное устройство с блоком датчиков для обнаружения движущегося объекта и блоком приема, блок управления, является низкая скорость реагирования на появление тревоги и передачи сигнала на вход светильника для увеличения яркости освещения, а также низкая надежность системы, которая не может обеспечить достаточную безопасность охраны периметра территории. Задачей изобретения является устранение недостатков прототипа. Технический результат изобретения заключается в повышении быстродействия системы охранного освещения повышение ее надежности. Указанный технический результат достигается за счет того, что система охранного освещениясодержит блок управления, извещатель охранный, шлейф сигнализации, линию управления светильником, светильник; линию питания, источник бесперебойного питания и блок аварийного питания, при этом блок управления содержит модуль входа и модуль выхода, микроконтроллер с аналого-цифровым преобразователем, при этом выход извещателя охранного связан со входом шлейфа сигнализации, выход шлейфа сигнализации связан со входом аналого-цифрового преобразователя микроконтроллера блока управления, также выход источника бесперебойного питания связан со входом блока управления, выход блока управления связан со входом линии управления светильником, выход линии управления светильником связан со входом светильника, в тоже время выход источника бесперебойного питания и выход блока аварийного питания связаны со входами линии питания, а выход линии питания связан со входом светильника. В частности, входы и выходы блока управления выполнены в виде отдельных модульных плат - модуля входа и модуля выхода. В частности, выходы блока управления выполнены в виде реле с переключающимися контактами нормально-замкнутыми и нормально-разомкнутыми. В частности, блок управления снабжен интерфейсом «RS-485» для двухстороннего обмена данными с устройствами системы сбора и отображения информации. В частности, светильник системы представляет собой светодиодный уличный управляемый светильник. Краткое описание чертежа: На фиг. 1 представлена электрическая блок-схема системы охранного освещения. На фигуре обозначены: 1 - блок управления; 2 - модуль входа; 3 - модуль выхода; 4 - извещатель охранный; 5 - шлейф сигнализации; 6 - аналого-цифровой преобразователь; 7 - микроконтроллер; 8 - линия управления светильником; 9 - светильник; 10 - линия питания; 11 - источник бесперебойного питания; 12 - блок аварийного питания. Осуществление изобретения. Система охранного освещения содержит блок управления (1) с микроконтроллером (7) и аналого-цифровым преобразователем (6). Блок управления (1) выполнен в металлическом герметичном корпусе со степенью защиты от влаги и пыли по нормам IP65 и предназначен для работы в уличных условиях при температуре от -60 до +60 С°. Блок управления (1) снабжен входом для подключения проводного шлейфа сигнализации (5) от извещателя охранного (7), установленного на периметре и выходами для управления светильником (9) охранного освещения посредством замыкания / размыкания контактов реле «сухой контакт». Извещатель охранный (7) выполнен с возможностью контроля охраняемой зоны и подключены к боку управления (1) через шлейф сигнализации (5) для опознавания нормального, тревожного или сигнала неисправности. Так же блок управления (1) снабжен интерфейсом «RS-485» для двухстороннего обмена данными с устройствами системы сбора и отображения информации. Выходы блока управления (1) выполнены в виде реле с переключающимися контактами - нормально-замкнутые и нормально-разомкнутые, при этом между контактами реле отсутствует электрический потенциал. Нагрузочная способность реле позволяет управлять устройствами с током потребления до 16 А при напряжении 220 В переменного тока. Входы и выходы блока управления (1) выполнены в виде отдельных модульных плат - модуля входа (2) и модуля выхода (3). Блок управления (1) связан с источником бесперебойного питания (11). Светильник (9) системы охранного освещения представляет собой светодиодный уличный управляемый светильник, выполненный в металлическом корпусе с оптической системой широкого типа для светораспределения, при этом электронные компоненты светильника (9) - излучающий модуль и блок питания (драйвер) защищены от влаги и пыли по нормам IP67. Светильник (9) подключен к блоку питания (1) через линию управления светильником (8), а к источнику бесперебойного питания (11) и блоку аварийного питания (12) через линию питания (10). Светильник (9), выполнен с возможностью осуществления двух режимов освещения: дежурного и тревожного. Принцип работы системы охранного освещения. Периметр объекта охраны оборудован системой охранного освещения, которая делит его на отдельные участки произвольной длины - зоны охраны. Светильники устанавливаются на периметре и объединяются в группы таким образом, чтобы каждая группа освещала участок периметра, соотнесенный с зоной охраны сигнализации периметра. Светильники внутри одной группы подключаются параллельно к общей линии управления и одновременно меняют режим освещения при замыкании / размыкании проводников этой линии. Линия управления группы светильников подключается к выходу блока управления. При наступлении темного время суток, при достижении уровня освещенности, установленного на фотореле, происходит автоматическое включение светильников, установленных на периметре зоны охраны в дежурном режиме работы (30% от номинальной мощности). При обнаружении нарушителя периметра генерируется отдельный сигнал тревоги в каждой зоне охраны с помощью размыкания релейного выхода на извещателе охранном. Далее сигнал через шлейф сигнализации поступает на вход блока управления. Принцип действия входов блока управления основан на контроле сопротивления шлейфа сигнализации. На шлейф сигнализации подается постоянное напряжение 24 В. При замыкании / размыкании контактов реле, подключенного к входу блока управления охранного извещателя, меняется сопротивление шлейфа сигнализации. Аналого-цифровой преобразователь производит измерение напряжения на шлейфе сигнализации, а затем микроконтроллер в соответствии с алгоритмом обработки, после оценки уровня напряжения на шлейфе сигнализации, формирует сигнал тревоги и передает его по интерфейсу «RS-485» в системы сбора и отображения информации. В соответствие с настройками блок управления управляет привязанным к тревожному входу, выходом. Светильники, подключенные к линии управления данного выхода переходят в тревожный режим (100% номинальной мощности) ярко подсвечивая зону охраны, в которой обнаружен нарушитель. Таким образом, улучшаются возможности обнаружения нарушителя визуально или с помощью телекамер системы видеонаблюдения. Тревожный режим активируется на время, установленное в настройках блока управления. По истечении времени активации реле светильники переходят в дежурный режим работы. При наступлении светлого времени суток, достижении заданного уровня освещенности, установленного на фотореле, электропитание светильников автоматически отключается. Пример использования изобретения. Одним из вариантов установки системы охранного освещения - это использование системы для охраны территории завода. По периметру охраняемого объекта устанавливают извещатели охранные со шлейфами сигнализации с внутренней стороны ограждения и над входом на территорию завода. Блок управления устанавливают на неподвижную опору заграждения посредством комплекта монтажных частей. Группы светильников крепятся на заграждении выделяя зоны охраны с помощью консольных опор, которые позволяют закрепить светильники на любом ограждении на высоте 4,0-5,0 м с углом наклона относительно земли - 10 град. Технический результат изобретения заключается в повышении быстродействия системы охранного освещения и повышение ее надежности. Указанный технический результат достигается за счет того, что система охранного освещения содержит блок управления, извещатель охранный, шлейф сигнализации, линию управления светильником, светильник; линию питания, источник бесперебойного питания и блок аварийного питания, при этом блок управления содержит модуль входа и модуль выхода, микроконтроллер с аналого-цифровым преобразователем, при этом выход извещателя охранного связан со входом шлейфа сигнализации, выход шлейфа сигнализации связан со входом аналого-цифрового преобразователя микроконтроллера блока управления, также выход источника бесперебойного питания связан со входом блока управления, выход блока управления связан со входом линии управления светильником, выход линии управления светильником связан со входом светильника, в тоже время выход источника бесперебойного питания и выход блока аварийного питания связаны со входами линии питания, а выход линии питания связан со входом светильника. На основании этого провели ряд экспериментов по определению быстродействия и надежности заявленной системы охранного освещения в сравнении с прототипом и аналогами. Эксперименты показали, что заявленное изобретение обладает следующими преимуществами по отношению к аналогичным решениям (Таблица 1). Таким образом, благодаря заявленному изобретению возможно повысить быстродействия системы охранного освещения примерно 23%, а также увеличить надежность примерно на 22%, что способствует безопасности охраны периметра территории.Таблица 1.
Сравнительная характеристика систем охранного освещенияCN205454176 US2011304273 KR20170013961 Повышение быстродействия На 26% На 23% На 21% Повышение надежности На 24% На 25% На 19%