Изобретение относится к области производства корпусных устройств электронного оборудования, в частности к корпусам модулей программируемых логических контроллеров (ПЛК). Предложен корпус модуля программируемого логического контроллера, содержащий: опорный элемент, выполненный с возможностью размещения на нем платы печатной и других компонентов модуля ПЛК, закрывающий элемент, ответный по форме опорному элементу, выполненный с возможностью дополнительной фиксации компонентов модуля ПЛК при соединении с опорным элементом, при этом на одной части корпуса предусмотрен вентиляционный проем и по меньшей мере одно отверстие для установки компонента модуля ПЛК, образованные опорным элементом и закрывающим элементом при их соединении, на противоположной части корпуса предусмотрен вентиляционный проем и по меньшей мере одно отверстие для установки компонента модуля ПЛК, образованные опорным элементом и закрывающим элементом при их соединении, в опорном элементе и закрывающем элементе в нижней части корпуса предусмотрены пазы для установки шинного соединителя, в опорном элементе и закрывающем элементе в верхней части корпуса предусмотрены пазы для установки внешней панели, при этом опорный элемент и закрывающий элемент выполнены закругленными в нижней части корпуса, причем вентиляционный проем на указанной одной части корпуса расположен выше, чем вентиляционный проем на указанной противоположной части корпуса. Обеспечивается достижение технического результата, который заключается в увеличении срока полезной эксплуатации модульного программного логического контроллера. 4 н. и 6 з.п. ф-лы, 34 ил.
1. Корпус модуля программируемого логического контроллера (ПЛК), содержащий: опорный элемент, выполненный с возможностью размещения на нем платы печатной и других компонентов модуля ПЛК, закрывающий элемент, ответный по форме опорному элементу, выполненный с возможностью дополнительной фиксации компонентов модуля ПЛК при соединении с опорным элементом, при этом на одной части корпуса предусмотрен вентиляционный проем и по меньшей мере одно отверстие для установки компонента модуля ПЛК, образованные опорным элементом и закрывающим элементом при их соединении, на противоположной части корпуса предусмотрен вентиляционный проем и по меньшей мере одно отверстие для установки компонента модуля ПЛК, образованные опорным элементом и закрывающим элементом при их соединении, в опорном элементе и закрывающем элементе в нижней части корпуса предусмотрены пазы для установки шинного соединителя, в опорном элементе и закрывающем элементе в верхней части корпуса предусмотрены пазы для установки внешней панели, при этом опорный элемент и закрывающий элемент выполнены закругленными в нижней части корпуса, причем вентиляционный проем на указанной одной части корпуса расположен выше, чем вентиляционный проем на указанной противоположной части корпуса. 2. Корпус по п.1, в котором верхняя кромка, образующая вентиляционный проем на указанной одной части корпуса, расположена выше, чем верхняя кромка, образующая вентиляционный проем на указанной противоположной части корпуса. 3. Корпус по п.2, в котором нижняя кромка, образующая вентиляционный проем на указанной одной части корпуса, расположена не ниже, чем верхняя кромка, образующая вентиляционный проем на указанной противоположной части корпуса. 4. Корпус по п.1, в котором верхний участок закругления нижней части корпуса расположен не ниже, чем нижняя кромка, образующая вентиляционный проем на указанной противоположной части корпуса. 5. Корпус по п.1, в котором верхний участок закругления имеет большую кривизну, чем нижний участок закругления. 6. Корпус по любому из пп.1-5, в котором вентиляционный проем образован элементами корпуса, имеющими решетчатую структуру. 7. Корпус по п. 6, в котором решетчатая структура вентиляционного проема имеет скосы, продолжающиеся к опорному элементу и закрывающему элементу соответственно. 8. Модуль ПЛК, содержащий корпус по п.1. 9. Модуль ПЛК, собранный из по меньшей мере двух корпусов по п.1, при этом в смежных друг другу опорном элементе одного корпуса и закрывающем элементе другого корпуса предусмотрены соответствующие друг другу отверстия. 10. Модульный программируемый логический контроллер, содержащий множество модулей, выполненных по п.8 или 9 и соединенных с соседним модулем посредством шинного соединителя.
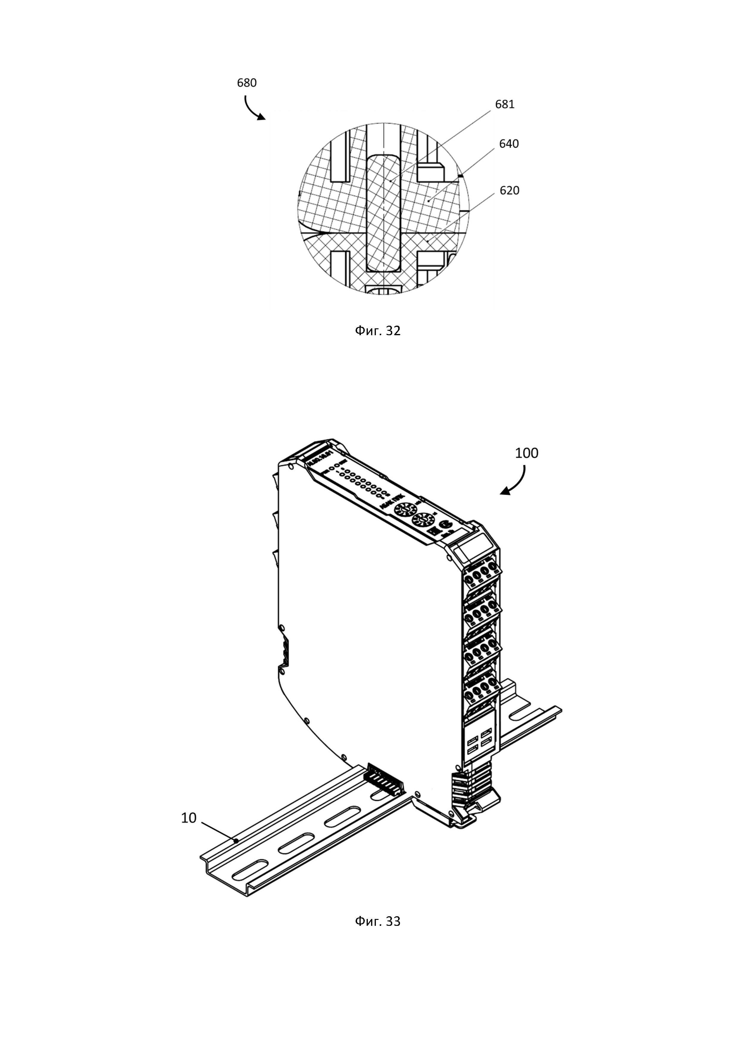
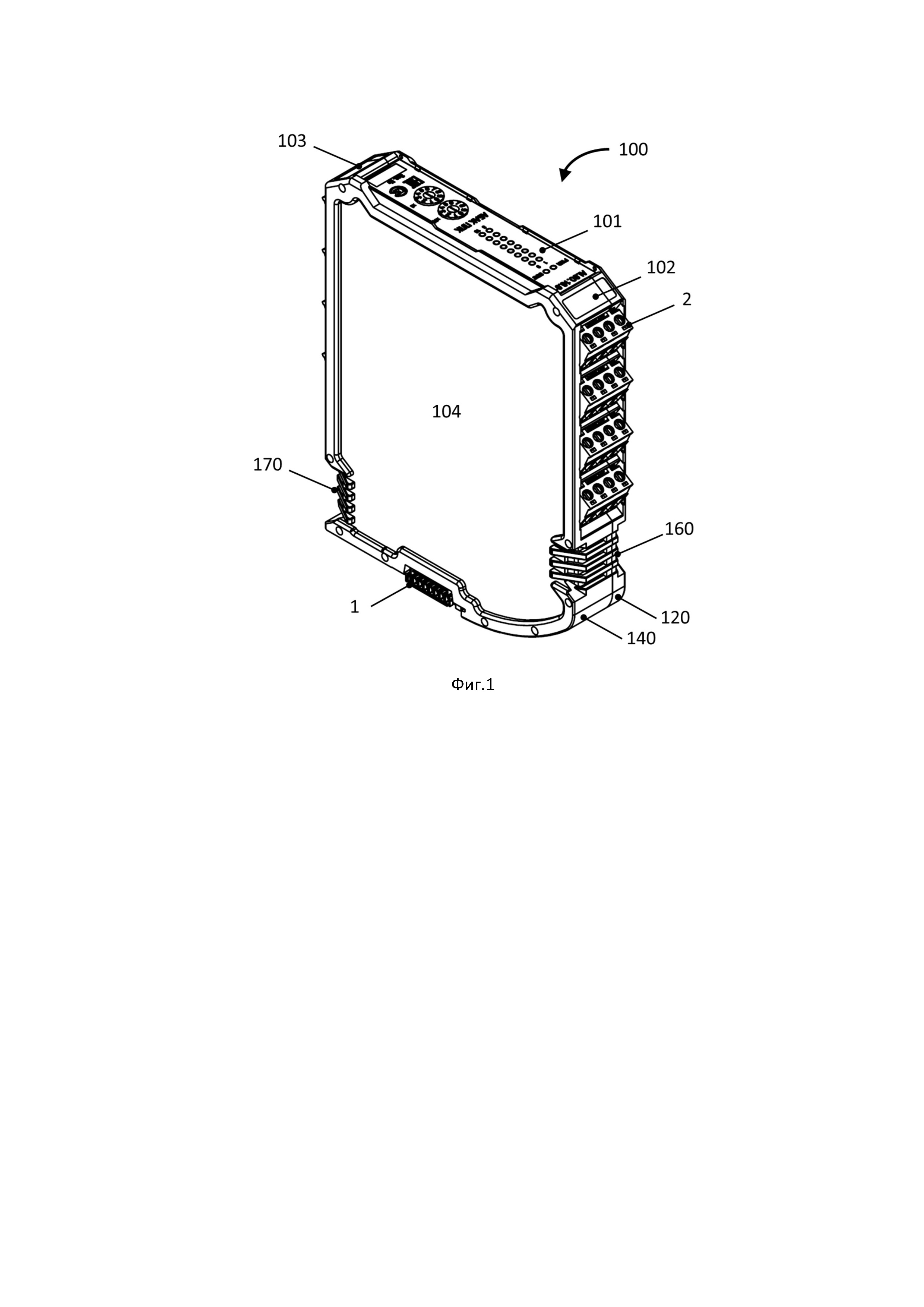
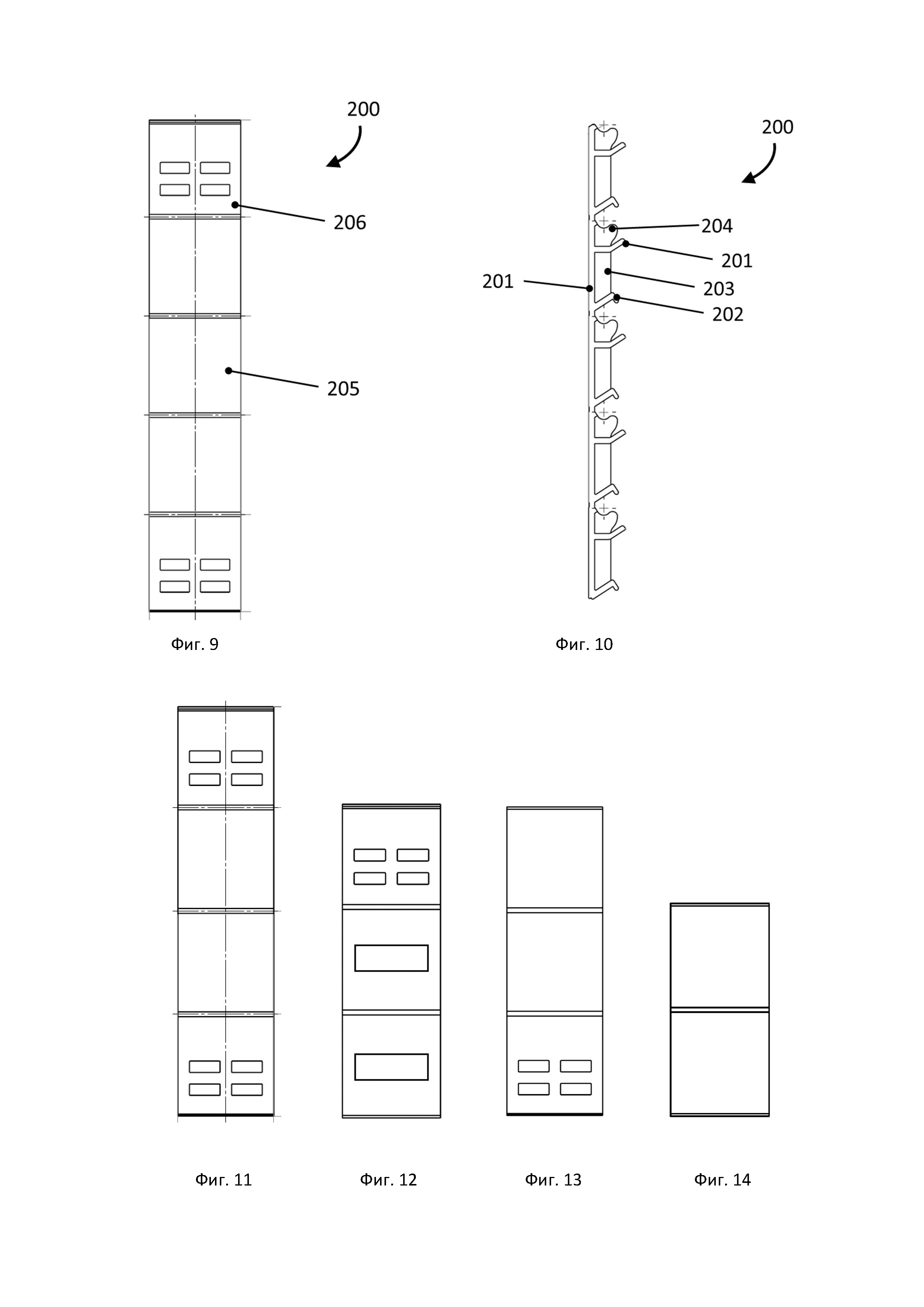
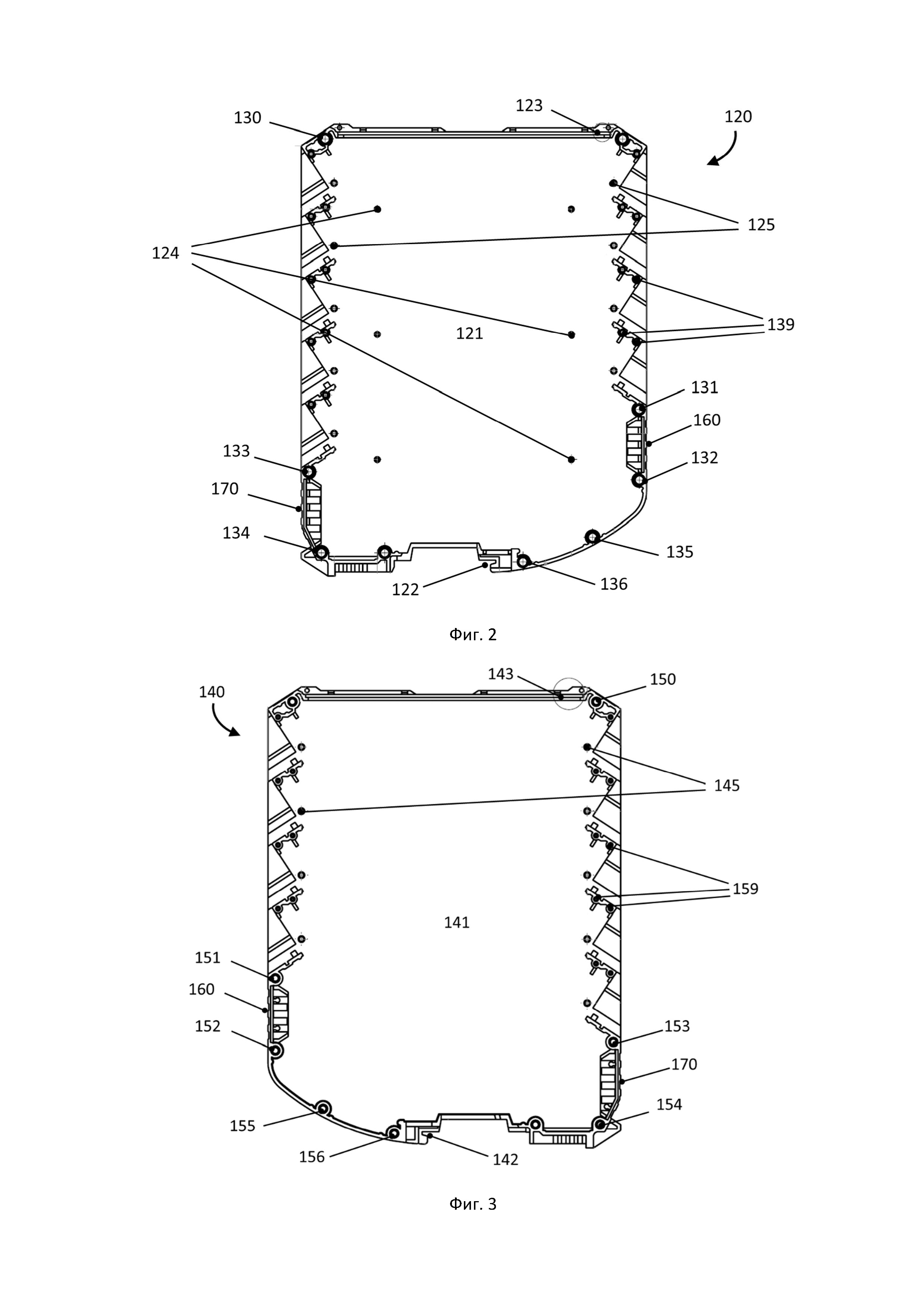
Область техники, к которой относится изобретение Изобретение относится к области производства корпусных устройств электронного оборудования, в частности, к корпусам модулей программируемых логических контроллеров (ПЛК). Уровень техники В патенте США 6172875 (опубл. 09.01.2001, МПК G05B19/05; G06F1/18) описан сборный модуль программируемого логического контроллера и система блокировки. Предложена система взаимнофиксируемых модулей для использования с программируемым логическим контроллером. В системе используется множество модулей, например, модули ввода/вывода, которые механически связаны друг с другом, что устраняет необходимость в стойке или объединительной плате. Каждый модуль включает в себя подвижную часть вилки, которую можно по выбору перемещать для зацепления с соответствующей приемной вилкой следующего соседнего модуля. Элементы механической блокировки и заглушки предназначены для обеспечения возможности вставки и удаления отдельных модулей, расположенных между соседними модулями, без перемещения любого из соседних модулей. Известное решение характеризуется небольшим размером и невозможностью размещения множества различных электронных компонент. Более того, наличие больших по размеру вентиляционных проемов не позволяет добавить дополнительные электронные компоненты, например, порты ввода-вывода, не ухудшив характеристики охлаждения, что может увеличить перегрев, привести к более быстрому выходу оборудования из строя. В патенте США 7336497 (опубл. 26.02.2008, МПК H05K7/16) описан корпус для электроники для размещения на опорной рейке, который включает в себя базовую часть и верхнюю часть. Базовая часть и верхняя часть могут разъемно соединяться друг с другом, а базовая часть может защелкиваться на опорной рейке. Две боковые стенки корпуса, имеющие крепления, расположены друг напротив друга и расположены параллельно друг другу. Боковые стенки корпуса также расположены перпендикулярно несущей рейке. Печатная плата располагается параллельно опорной рейке с помощью крепежных элементов. Для соединения электрических проводников предусмотрены по меньшей мере две соединительные клеммы или вставные соединители. Соединительные клеммы электрически подключаются к печатной плате. Известное решение также характеризуется небольшим размером, а пирамидальная форма не способствует размещению множества различных электронных компонент. Частично это проблема решается за счет размещения нескольких печатных плат между боковыми стенками устройства. Однако, в этом случае ухудшается ремонтопригодность, увеличивается время, необходимое на демонтаж и замену вышедшего из строя компонента, что может привести к снижению срока службы оборудования в целом. В патенте США 10483725 (опубл. 19.11.2019, МПК H01R25/16; H01R9/26; H02B1/052; H05K7/14) описан корпус несущей рейки и электронный модуль с корпусом несущей рейки и системой управления, причем корпус несущей рейки содержит: отверстие для приема несущей рейки, в которое могут быть вставлены удерживающие ножки несущей рейки; запирающий механизм для закрепления удерживающих ножек в требуемом монтажном положении, содержащий запирающие ползунки для блокировки корпуса несущей рейки в заблокированном положении; вставной контактный элемент, расположенный внутри корпуса несущей рейки, обращенный к приемному отверстию несущей рейки; и шинный соединитель, в который могут быть вставлены вставные контакты вставного контактного элемента, при этом шинный соединитель выполнен с возможностью соединения со вставным контактным элементом по меньшей мере одного дополнительного корпуса несущей рейки, при этом каждый из стопорных ползунков содержит первый конец, который содержит удерживающую секцию, которая секциями проходит в приемное отверстие несущей рейки в заблокированном положении, так что шинный соединитель фиксируется между удерживающими секциями запирающих ползунов и вставным контактным элементом. Известное решение позволяет разметить достаточно большое количество электронных компонентов, однако выполненные большого размера вентиляционные проемы по-прежнему накладывают ограничения на возможность создания и использования модулей с различным набором разъемов и контактов, а по существу прямые стенки корпуса у основания ухудшают удобство установки/снятия отдельных модулей, ухудшают ремонтопригодность, что может привести к снижению срока службы оборудования в целом. Раскрытие изобретения Настоящее изобретение направлено на решение по меньшей мере некоторых из приведенных выше проблем. В настоящем изобретении предложен корпус модуля программируемого логического контроллера (ПЛК), содержащий: опорный элемент, выполненный с возможностью размещения на нем платы печатной и других компонентов модуля ПЛК, закрывающий элемент, ответный по форме опорному элементу, выполненный с возможностью дополнительной фиксации компонентов модуля ПЛК при соединении с опорным элементом, при этом на одной части корпуса предусмотрен вентиляционный проем и по меньшей мере одно отверстие для установки компонента модуля ПЛК, образованные опорным элементом и закрывающим элементом при их соединении, на противоположной части корпуса предусмотрен вентиляционный проем и по меньшей мере одно отверстие для установки компонента модуля ПЛК, образованные опорным элементом и закрывающим элементом при их соединении, в опорном элементе и закрывающем элементе в нижней части корпуса предусмотрены пазы для установки шинного соединителя, в опорном элементе и закрывающем элементе в верхней части корпуса предусмотрены пазы для установки внешней панели, при этом опорный элемент и закрывающий элемент выполнены закругленными в нижней части корпуса, причем вентиляционный проем на указанной одной части корпуса расположен выше, чем вентиляционный проем на указанной противоположной части корпуса. Задачей, решаемой предложенным изобретением, является создание корпуса для модуля ПЛК, который характеризуется современным дизайном, универсальностью, увеличенными габаритами для размещения разного набора и количества компонентов различных модулей ПЛК, улучшенными свойствами пассивного охлаждения. Технический результат заключается в увеличении срока полезной эксплуатации модульного программного логического контроллера, который достигается благодаря тому, что предложенный корпус модуля ПЛК содержит опорный элемент и закрывающий элемент, которые выполнены закругленными в нижней части корпуса, причем вентиляционный проем на указанной одной части корпуса расположен выше, чем вентиляционный проем на указанной противоположной части корпуса. Благодаря предложенной конструкции модуль характеризуется увеличенными габаритами, что позволяет увеличить количество и, при необходимости, размер размещаемых компонентов, например, разъемов ввода-вывода, установка и снятие отдельного модуля занимает меньше времени, улучшается пассивное охлаждение. В одном из вариантов предложен корпус, в котором верхняя кромка, образующая вентиляционный проем на указанной одной части корпуса, расположена выше, чем верхняя кромка, образующая вентиляционный проем на указанной противоположной части корпуса. В одном из вариантов предложен корпус, в котором нижняя кромка, образующая вентиляционный проем на указанной одной части корпуса, расположена не ниже, чем верхняя кромка, образующая вентиляционный проем на указанной противоположной части корпуса. В одном из вариантов предложен корпус, в котором верхний участок закругления нижней части корпуса расположен не ниже, чем нижняя кромка, образующая вентиляционный проем на указанной противоположной части корпуса. В одном из вариантов предложен корпус, в котором верхний участок закругления имеет большую кривизну, чем нижний участок закругления. В одном из вариантов предложен корпус, в котором вентиляционный проем образован элементами корпуса, имеющими решетчатую структуру. В одном из вариантов предложен корпус, в котором решетчатая структура вентиляционного проема имеет скосы, продолжающиеся к опорному элементу и закрывающему элементу, соответственно. В одном из дополнительных аспектов предложен модуль ПЛК, содержащий корпус по первому аспекту изобретения. В одном из дополнительных аспектов предложен модуль ПЛК, собранный из по меньшей мере двух корпусов по первому аспекту изобретения, при этом в смежных друг другу опорном элементе одного корпуса и закрывающем элементе другого корпуса предусмотрены соответствующие друг другу отверстия. В одном из дополнительных аспектов предложен модульный программируемый логический контроллер, содержащий множество модулей по настоящему изобретению и соединенных с соседним модулем посредством шинного соединителя. Таким образом, предложенное изобретение во всех его аспектах обеспечивает достижение технического результата, который заключается в увеличении срока полезной эксплуатации модульного программного логического контроллера, который достигается благодаря тому, что и в модуле ПЛК, и в модульном ПЛК используется предложенный корпус модуля ПЛК, который содержит опорный элемент и закрывающий элемент, которые выполнены закругленными в нижней части корпуса, причем вентиляционный проем на указанной одной части корпуса расположен выше, чем вентиляционный проем на указанной противоположной части корпуса. Эти и другие преимущества изобретения будут более подробно изложены в последующем описании. Краткое описание чертежей Предложенное изобретение и варианты его осуществления проиллюстрированы на фигурах, где: Фиг. 1 - Общий вид примерного корпуса Фиг. 2 - Опорный элемент на виде слева (изнутри) Фиг. 3 - Закрывающий элемент на виде справа (изнутри) Фиг. 4 - Опорный элемент на виде спереди Фиг. 5 - Закрывающий элемент на виде сзади Фиг. 6 - Опора для размещения платы печатной на местном разрезе Фиг. 7 - Соединительное углубление в опорном элементе на местном разрезе Фиг. 8 - Соединительный штырь закрывающего элемента на виде сбоку Фиг. 9 - Заглушка (вариант) на виде спереди Фиг. 10 - Заглушка по фиг. 9 на виде справа Фиг. 11 - фиг. 18 - Заглушка (варианты) на виде спереди Фиг. 19 - Корпус в сборе на виде снизу, модуль (вариант) Фиг. 20 - Корпус в сборе на виде справа, без опорного элемента, модуль по фиг. 19 Фиг. 21 - Разъем ввода-вывода в корпусе на более детальном виде Фиг. 22 - Шинный соединитель на местном разрезе Фиг. 23 - Соединение внешней панели Фиг. 24 - Заземляющий контакт Фиг. 25 - Корпус в сборе на виде слева, без закрывающего элемента, модуль (вариант) Фиг. 26 - Корпус в сборе на виде справа, без опорного элемента, модуль (вариант) Фиг. 27 - Корпус в сборе на виде справа, без опорного элемента, модуль (вариант) Фиг. 28 - Общий вид корпуса, сборный модуль (вариант) Фиг. 29 - Опорный элемент на виде слева (изнутри), вариант модуля по фиг. 28 Фиг. 30 - Закрывающий элемент на виде справа (изнутри), вариант модуля по фиг. 28 Фиг. 31 - Опорный элемент на виде справа (снаружи), вариант модуля по фиг. 28 Фиг. 32 - Соединение двух корпусов, вариант модуля по фиг. 28 Фиг. 33 - Вариант установки модуля на рейке, общий вид Фиг. 34 - Модульный ПЛК в сборе Осуществление изобретения Изобретение относится к области производства корпусных устройств электронного оборудования, в частности, к корпусам модулей программируемых логических контроллеров (ПЛК). Предложенное изобретение и варианты его осуществления проиллюстрированы на фигурах. Следует понимать, что для удобства изложения и понимания сущности предложенного изобретения при описании фигур будут использоваться направления и указания на переднюю сторону (спереди), заднюю сторону (сзади), вид слева, вид справа, изнутри, снаружи, сверху и/или снизу со ссылкой на расположение корпуса, как он проиллюстрирован на фиг. 1. При этом при фактической эксплуатации такой корпус может располагаться в ином положении, например, развернутым так, что передняя по фиг.1 сторона будет расположена сзади, или повернутым так, что внешняя панель, показанная расположенной сверху на фиг. 1, будет обращена по существу вперед. Также могут быть предусмотрены и другие варианты установки при сборке модуля ПЛК и модульного ПЛК в целом. В настоящем изобретении предложен корпус модуля программируемого логического контроллера (ПЛК), содержащий: опорный элемент 120, выполненный с возможностью размещения на нем платы печатной и других компонентов модуля ПЛК, закрывающий элемент 140, ответный по форме опорному элементу 120, выполненный с возможностью дополнительной фиксации компонентов модуля ПЛК при соединении с опорным элементом 120, при этом на одной части корпуса предусмотрен вентиляционный проем 160 и по меньшей мере одно отверстие для установки компонента модуля ПЛК, образованные опорным элементом 120 и закрывающим элементом 140 при их соединении, на противоположной части корпуса предусмотрен вентиляционный проем 170 и по меньшей мере одно отверстие для установки компонента модуля ПЛК, образованные опорным элементом 120 и закрывающим элементом 160 при их соединении, в опорном элементе 120 и закрывающем элементе 140 в нижней части корпуса предусмотрены пазы для установки шинного соединителя 1, в опорном элементе 120 и закрывающем элементе 140 в верхней части корпуса предусмотрены пазы для установки внешней панели 101, при этом опорный элемент 120 и закрывающий элемент 140 выполнены закругленными в нижней части корпуса, причем вентиляционный проем 160 на указанной одной части корпуса расположен выше, чем вентиляционный проем 170 на указанной противоположной части корпуса. На фиг. 1 проиллюстрирован общий вид примерного модуля ПЛК с корпусом по настоящему изобретению. в качестве иллюстрации устанавливаемого компонента модуля ПЛК показан разъем 2, например, такой как разъемный клеммник, или клеммная колодка, на четыре контакта. На обращенной по фиг. 1 вперед стороне корпуса показано четыре таких разъема 2. Как будет описано ниже, количество разъемов и их тип может меняться в зависимости от типа модуля ПЛК, для которого используется предложенный корпус. На фиг. 1 видны области 102, 103, 104 маркировки, которые могут быть использованы для нанесения, например, наклеивания, и/или выполнения, например, лазером, необходимой маркировки, указывающей на производителя оборудования, тип модуля и иные технологические параметры. Предложенное изобретение позволяет создать корпус для модуля ПЛК, который характеризуется современным дизайном, универсальностью, увеличенными габаритами для размещения разного набора и количества компонентов различных модулей ПЛК, улучшенными свойствами пассивного охлаждения, как это будет подробнее описано ниже. Технический результат, достигаемый решением, заключается в увеличении срока полезной эксплуатации модульного программного логического контроллера, который достигается благодаря тому, что предложенный корпус модуля ПЛК содержит опорный элемент и закрывающий элемент, которые выполнены закругленными в нижней части корпуса, причем вентиляционный проем на указанной одной части корпуса расположен выше, чем вентиляционный проем на указанной противоположной части корпуса. Благодаря предложенной конструкции модуль характеризуется увеличенными габаритами, что позволяет увеличить количество и, при необходимости, размер размещаемых компонентов, например, разъемов ввода-вывода, установка и снятие отдельного модуля занимает меньше времени, улучшается пассивное охлаждение. На фиг. 2 показан опорный элемент 120 на виде слева (изнутри), на фиг. 3 - закрывающий элемент 140 на виде справа (изнутри), на фиг. 4 - опорный элемент 120 на виде спереди, на фиг. 5 - закрывающий элемент 140 на виде сзади. Продолжая далее со ссылкой на фиг. 1-5 и последующие фигуры чертежей, описан один из предпочтительных вариантов осуществления настоящего изобретения. Проиллюстрирован модуль 100, который имеет восемь разъемов 2 ввода-вывода. В зависимости от компоновки других компонентов такой модуль может иметь разное функциональное назначение и конфигурироваться под конкретную технологическую задачу. Например, такой модуль 100 может служить в качестве модуля аналогового ввода, который предназначен для измерения аналоговых сигналов от приборов с активным или пассивным выходом. В качестве неограничивающего примера, измерения производят в диапазонах постоянного тока от 0 до 20 мА и постоянного напряжения от 0 до 5 В с поддержкой протокола HART. Еще, например, такой модуль 100 может служить в качестве модуля аналогового ввода, который предназначен для измерения сигналов, поступающих от термометров сопротивлений. Термометры сопротивления могут иметь номинальные статические характеристики по ГОСТ 6651-2009 М (медные), Н (никелевые), П-Pt (платиновые) и номинальным сопротивлением 50...1000 Ом. Значение измеряемого сопротивления преобразователей температуры должно находиться в пределах ограничений ГОСТ 6651-2009. Еще, например, такой модуль 100 может служить в качестве модуля дискретного ввода или модуля дискретного вывода, который имеет 16 изолированных каналов для ввода или вывода дискретных сигналов постоянного тока. В отдельных вариантах осуществления может предусматриваться наличие контроля цепи во включенном и выключенном состоянии. В любом из этих вариантов опорный элемент 120 корпуса, как показано на фиг. 2 и 4, содержит основание 121, в котором выполнены пазы 122 для установки шинного соединителя 1 и пазы 123 для установки внешней панели 101. От основания 121 продолжаются опоры 124 для размещения платы печатной и опоры 125 для установки и удержания других электронных компонентов модуля 100. Для соединения с закрывающим элементом 140 с образованием корпуса модуля 100 предусмотрены продолжающиеся от основания 121 верхний выступ 126, на котором предусмотрена область 102 маркировки, а также выступы 127, между которыми образован проем 165 для установки компонентов ввода-вывода модуля 100. Вентиляционный проем 160 образован решетчатой структурой 128. В выступах 126, 127 выполнены соединительные углубления 130-136, а также крепежные элементы 139 для удержания других элементов модуля 100. И хотя на фиг.2 показано девять таких соединительных углублений, следует понимать, что их может быть выполнено больше или меньше. Количество такие соединительных углублений должно обеспечивать надежную фиксацию опорного элемента 120 и закрывающего элемента 140, достаточную жесткость собранного корпуса. Выступающими элементами опорного элемента 120, в которых выполнены соединительные углубления 131 и 132, по существу образованы верхняя и нижняя кромки вентиляционного проема 160 на стороне корпуса, обращенной вперед на фиг. 1. Выступающими элементами опорного элемента 120, в которых выполнены соединительные углубления 133 и 134, по существу образованы верхняя и нижняя кромки вентиляционного проема 170 на противоположной стороне корпуса, обращенной назад на фиг. 1. Выступающими элементами опорного элемента 120, в которых выполнены соединительные углубления 132, 135 и 136, по существу образованы верхняя и нижняя кромки нижней части опорного элемента 120 корпуса, которая выполнена закругленной, причем от углубления 136 до углубления 135 по существу продолжается нижний участок закругления, а от углубления 135 до углубления 132 по существу продолжается верхний участок закругления. Причем верхний участок закругления имеет большую кривизну, чем нижний участок закругления. Форма закрывающего элемента 140 корпуса соответствует форме опорного элемента 120 корпуса и, как показано на фиг. 3 и 5, содержит основание 141, в котором выполнены пазы 142 для установки шинного соединителя 1 и пазы 143 для установки внешней панели 101. От основания 141 продолжаются опоры 145 для установки и удержания электронных компонентов модуля 100. Для соединения с опорным элементом 120 с образованием корпуса модуля 100 предусмотрены продолжающиеся от основания 141 верхний выступ 146, на котором предусмотрена область 103 маркировки, а также выступы 147, между которыми образован проем 175 для установки компонентов ввода-вывода модуля 100. Вентиляционный проем 170 образован решетчатой структурой 148. На выступах 146, 147 выполнены соединительные штыри 150-156, а также крепежные элементы 159 для удержания других элементов модуля 100. И хотя на фиг.3 показано девять таких соединительных штырей, следует понимать, что их может быть выполнено больше или меньше. Количество такие соединительных штырей должно соответствовать количеству соединительных углублений в опорном элементе 120 корпуса и обеспечивать надежную фиксацию опорного элемента 120 и закрывающего элемента 140, достаточную жесткость собранного корпуса. Выступающими элементами закрывающего элемента 140, на которых выполнены соединительные штыри 151 и 152, по существу образованы верхняя и нижняя кромки вентиляционного проема 160 на стороне корпуса, обращенной вперед на фиг. 1. Выступающими элементами закрывающего элемента 140, на которых выполнены соединительные штыри 153 и 154, по существу образованы верхняя и нижняя кромки вентиляционного проема 170 на противоположной стороне корпуса, обращенной назад на фиг. 1. Выступающими элементами закрывающего элемента 140, на которых выполнены соединительные штыри 152, 155 и 156, по существу образованы верхняя и нижняя кромки нижней части закрывающего элемента 140 корпуса, которая выполнена закругленной, причем от углубления 156 до углубления 155 по существу продолжается нижний участок закругления, а от углубления 155 до углубления 152 по существу продолжается верхний участок закругления. Причем верхний участок закругления имеет большую кривизну, чем нижний участок закругления. Далее, обращаясь к фиг. 6, на которой показана опора для размещения платы печатной на местном разрезе, опора 124, продолжающаяся от основания 121 опорного элемента 120 корпуса, содержит вставной участок 129, диаметр которого меньше, чем диаметр самой опоры 124, и который предназначен для размещения в соответствующем установочном отверстии печатной платы, которая при размещении на опорах 124 опорного элемента 120 корпуса, опирается на выступ, образованный переходом от вставного участка 129 к опоре 124. Это обеспечивает надежную фиксацию печатной платы в предложенном корпусе и способствует более длительной безремонтной эксплуатации модуля ПЛК, содержащего предложенный корпус. На фиг. 7 показано соединительное углубление 130 в опорном элементе 120 на местном разрезе. Следует отметить, что соединительное углубление 130 выполнено расширяющимся, т.е. диаметр 161 углубления снаружи меньше, чем диаметр 162 углубления внутри. На фиг. 8 показан соединительный штырь 150 закрывающего элемента 140 на виде сбоку, который в свою очередь, выполнен сужающимся, т.е. диаметр 172 штыря у основания меньше, чем диаметр 171 в верхней части штыря. Такая конструкция соединительного углубления 130 и соединительного штыря 150 обеспечивает надежную фиксацию и жесткость корпуса при соединении опорного элемента 120 и закрывающего элемента 140. Также на фиг. 7 показано углубление 163, которое может быть использовано для присоединения опорного элемента одного корпуса к закрывающему элементу другого корпуса, например, когда модуль является составным, т.е. содержащим два модуля по настоящему изобретению, как будет описано ниже со ссылкой на другой вариант осуществления изобретения. Таким образом, в одном из вариантов предложен корпус, в котором верхняя кромка (выступающие элементы, в которых выполнены соединительное углубление 131 и соединительный штырь 151, соответственно), образующая вентиляционный проем 160 на одной части корпуса, расположена выше, чем верхняя кромка (выступающие элементы, в которых выполнены соединительное углубление 133 и соединительный штырь 153, соответственно), образующая вентиляционный проем на противоположной части корпуса. Благодаря такой конфигурации через большее количество электронных компонентов, установленных внутри предложенного корпуса, проходит поток свежего воздуха, направляющийся от одного вентиляционного проема к другому. В одном из вариантов предложен корпус, в котором нижняя кромка (выступающие элементы, в которых выполнены соединительное углубление 132 и соединительный штырь 152, соответственно), образующая вентиляционный проем 160 на одной части корпуса, расположена не ниже, чем верхняя кромка (выступающие элементы, в которых выполнены соединительное углубление 133 и соединительный штырь 153, соответственно), образующая вентиляционный проем 170 на противоположной части корпуса. Благодаря такой конфигурации еще через большее количество электронных компонентов, установленных внутри предложенного корпуса, проходит поток свежего воздуха, направляющийся от одного вентиляционного проема к другому. Вентиляционные проемы расположены на разной высоте без взаимного перекрытия, т.е. на виде сбоку при вертикальной установке корпуса нет прямой горизонтальной траектории воздушного потока. Соответственно, будут возникать завихрения, которые будут способствовать большему пассивному охлаждению электронных компонентов модуля. В одном из вариантов предложен корпус, в котором верхний участок закругления нижней части корпуса (от выступающих элементов, в которых выполнены соединительное углубление 135 и соединительный штырь 155, соответственно, до выступающих элементов, в которых выполнены соединительное углубление 132 и соединительный штырь 152, соответственно) расположен не ниже, чем нижняя кромка (выступающие элементы, в которых выполнены соединительное углубление 134 и соединительный штырь 154, соответственно), образующая вентиляционный проем 170 на противоположной части корпуса. Благодаря такой конфигурации еще через большее количество электронных компонентов, установленных внутри предложенного корпуса, проходит поток свежего воздуха, направляющийся от одного вентиляционного проема к другому. Вентиляционные проемы расположены на разной высоте без взаимного перекрытия, т.е. на виде сбоку при вертикальной установке корпуса нет прямой горизонтальной траектории воздушного потока. Более того, в предпочтительном варианте, предложенный модуль располагают так, чтобы вентиляционный проем 170, расположенный ниже, чем вентиляционный проем 160, служил для впуска воздуха (например, при обращении модуля стороной с вентиляционным проемом 170 к потоку от охлаждающего устройства, такого как кондиционер), благодаря как наличию закругления, так и его расположению, как было описано выше, будут возникать дополнительные завихрения, которые будут способствовать большему пассивному охлаждению электронных компонентов модуля. Поток воздуха, направленный закруглением к вентиляционному проему 160, будет утягивать за собой теплый воздух, нагретый электронными компонентами. Дополнительно, в одном из вариантов предложен корпус, в котором вентиляционный проем 160, 170 образован элементами корпуса, имеющими решетчатую структуру 128, 148. Такая конструкция будет не только защищать электронные компоненты модуля 100 внутри корпуса от попадания пыли и/или каких-то крупных предметов, но и может создавать дополнительные завихрения воздуха, которые будут способствовать его более быстрому и более глубокому продвижению внутри предложенного корпуса, улучшая характеристики пассивного охлаждения и увеличивая срок полезной эксплуатации модуля ПЛК в целом. В одном из вариантов предложен корпус, в котором решетчатая структура 128, 148 вентиляционного проема 160, 170 имеет скосы (не обозначены позицией, наилучшим образом видны на общем виде, например, по фиг. 1), продолжающиеся к опорному элементу 120 и закрывающему элементу 160, соответственно. Такая конструкция обеспечивает синергетический эффект, который заключается в увеличении полезного срока эксплуатации модуля ПЛК, содержащего предложенный корпус, за счет того, что увеличивается всасываемость воздуха, улучшающая характеристики пассивного охлаждения, а также снижается риск повреждения соединительных элементов (в частности, шинного соединителя 1) при установке или снятии модуля с рейки, т.к. благодаря наличию указанных скосов образованы выступы, за которые можно удерживать модуль при его установке или снятии. Как уже отмечалось выше, предложенный корпус является универсальным и подходит для использования в модулях различного назначения. При этом от назначения модуля будет зависеть количество и тип соединительных разъемов, контактов, которые устанавливаются в предложенном корпусе. Для исключения попадания внутрь корпуса посторонних предметов, обеспечения высоких эргономических показателей при использовании предложенного корпуса, увеличения общего срока службы модуля ПЛК, содержащего предложенный корпус, также предусмотрены заглушки для установки в проемы 165, 175. На фиг. 9, 10 показан предпочтительный вариант заглушки на видах спереди и справа. Заглушка 200 содержит основание 201, от которого продолжаются зацепляющие элементы 201, 202 и элементы 203, 204 жесткости. Зацепляющие элементы 201, 202 взаимодействуют с крепежными элементами 139, 159, предусмотренными на опорном элементе 120 и закрывающем элементе 140 корпуса. Элемент 204 жесткости выполнен закругленным, что способствует более быстрой установки заглушки при заведении в зацепление элементов 201, 202 заглушки и крепежных элементов 139, 159 корпуса. Заглушка 200 предназначена для задней части корпуса, т.е. для закрывания проема 175, образованного выступающими элементами 126, 127, 146, 147 опорного и закрывающего элементов корпуса. По существу, заглушка 200 состоит из пяти секций, две из которых являются вентиляционными секциями 206, а три - глухими секциями 205. Отверстия в вентиляционной секции 206 способствуют улучшению пассивного охлаждения электронных компонентов модуля ПЛК внутри предложенного корпуса. Также отверстия в вентиляционной секции могут быть использованы для установки средств дополнительной индикации, например, размещения светодиодов на плате печатной, указывающих на режим работы модуля ПЛК. Соответственно, сигнал неисправности модуля ПЛК или его компонента может быть обнаружен быстрее, чем без такой индикации, что позволит отключить модуль ПЛК, произвести необходимую замену элемента, избежав тем самым рисков полного выхода из строя отдельного модуля или собранного ПЛК. Другие варианты выполнения заглушки проиллюстрированы на фиг.11 - фиг.18 на виде спереди. Такие варианты могут включать, по существу, односекционные заглушки, двухсекционные заглушки, трехсекционные заглушки, четырехсекционные заглушки. Сами секции могут быть вентиляционными, глухими или, например, предназначенными для USB-разъема (см. фиг. 12). Специалисту в области техники будет понятно, что проиллюстрированные варианты являются лишь примерными, а количество секций, их тип и компоновка зависят от назначения модуля ПЛК и размещаемых в нем электронных компонент. В одном из дополнительных аспектов предложен модуль ПЛК, содержащий корпус по первому аспекту изобретения. Такой модуль 100 проиллюстрирован на фиг. 1 и 19-24. На фиг. 19 показан корпус модуля 100 в сборе на виде снизу, в пазах 122, 142 в нижней части опорного элемента 120 и закрывающего элемента 140, соответственно, установлен шинный соединитель 1. Также показана установленная защелка 3 с пружиной 4, которая способствует более быстрой установке или снятию модуля ПЛК с рейки. На фиг. 20 показан корпус модуля 100 в сборе на виде справа, без опорного элемента 120 корпуса, печатная плата 5 установлена в корпусе, множество разъемов 2 ввода-вывода установлено в проемах 165 и 175. На фиг. 21 показан разъем 2 ввода-вывода в корпусе на более детальном виде. Разъем 2 ввода-вывода опирается в выступающие опоры 145, 147, в печатной плате 5 предусмотрены отверстия 6 для введения вставного участка 129 опоры 124. На фиг. 22 показан шинный соединитель 1 на местном разрезе, который взаимодействует с печатной платой 5 с помощью предусмотренных для этого контактных площадок (ламелей). На фиг. 23 показано соединение внешней панели 101, установленной в пазах 123, 143 и содержащей светодиодную индикаторную панель 8, присоединяемую к порту 7 печатной платы 5. Индикация может указывать на режим работы модуля ПЛК. Соответственно, сигнал неисправности модуля ПЛК или его компонента может быть обнаружен быстрее, чем без такой индикации, что позволит отключить модуль ПЛК, произвести необходимую замену элемента, избежав тем самым рисков полного выхода из строя отдельного модуля или собранного ПЛК. На фиг. 24 показан заземляющий контакт 9, присоединяемый к печатной плате 5 и установленный в закрывающем элементе 140 корпуса предложенного модуля. Описанный выше вариант модуля 100 ПЛК содержит восемь разъемов 2 ввода-вывода, и соответственно, требуется только одна односекционная заглушка 200, показанная на фиг. 17 или 18, для установки в корпусе модуля 100. Ниже кратко описаны другие варианты осуществления модулей ПЛК, которые содержат по существу тот же корпус из опорного элемента 120 и закрывающего элемента 140, однако отличаются от модуля 100 по назначению и компоновке электронных компонент. На фиг. 25 показан корпус модуля 300 в сборе на виде слева, без закрывающего элемента. Такой модуль 300 может служить в качестве терминально-соединительного модуля, который предназначен для обеспечения питанием остальных модулей и соединенных друг с другом посредством шинного соединителя 1. В модуле 300 предусмотрено три разъема 2 ввода-вывода, которые установлены на противоположных сторонах корпуса, оставшиеся проемы 145, 165 закрыты трехсекционными заглушками 200. Внешняя панель 301 может содержать дополнительные соединительные элементы, например, разъемы RJ45 для подключения CAN-шин. Терминально-соединительный модуль 300 выполнен с возможностью переноса сигналов CAN шин с одной DIN рейки на другую и содержит терминальные сопротивления для включения на концах шин CAN. На фиг. 26 показан корпус модуля 400 в сборе на виде справа, без опорного элемента. Такой модуль 400 может служить в качестве модуля аналогового ввода, для чего в нем предусмотрено четыре разъема 2 ввода-вывода, которые попарно чередующимся образом установлены на противоположных сторонах корпуса, оставшиеся проемы 145, 165 закрыты тремя односекционными заглушками 200 и одной двухсекционной заглушкой 200. В модуле 400 предусмотрена внешняя панель 401, содержащая свой набор индикаторных элементов на индикаторной панели 8 и необходимых разъемов или средств управления. На фиг. 27 показан корпус модуля 500 в сборе на виде справа, без опорного элемента. Такой модуль 500 может служить в качестве модуля аналогового вывода, для чего в нем предусмотрено четыре разъема 2 ввода-вывода, которые попарно установлены на противоположных сторонах корпуса, оставшиеся проемы 145, 165 закрыты, соответственно, трехсекционной и двухсекционной заглушками 200. В модуле 500 предусмотрена внешняя панель 501, содержащая свой набор индикаторных элементов на индикаторной панели 8 и необходимых разъемов или средств управления. В одном из дополнительных аспектов предложен модуль 600 ПЛК, собранный из по меньшей мере двух корпусов 601, 611 по первому аспекту изобретения, при этом в смежных друг другу опорном элементе 620 одного корпуса 610 и закрывающем элементе 640 другого корпуса 611 предусмотрены соответствующие друг другу отверстия. На фиг. 28 показан общий вид корпуса сборного модуля 600. Каждый из корпусов 610 и 611 сборного модуля содержит опорный элемент 620 и 120 и закрывающий элемент 140 и 640, соответственно. При соединении в каждом из корпусов 610, 611 образованы вентиляционные проемы 160 и 170, предусмотрены пазы для установки шинного соединителя 1 и внешних панелей 609 и 601, на сборном корпусе (корпусе сборного модуля) также предусмотрены области 602, 603, 607, 608 маркировки. Соответственно, сборный модуль ПЛК имеет все те же преимущества, что и модуль, содержащий одиночный корпус. Модуль 600 может служить в качестве модуля центрального процессора, который предназначен для централизованного сбора данных от модулей ввода/вывода по резервированной шине CAN, обработки и выполнения алгоритмов контроля и управления механизмами и технологическим оборудованием, а также информационного обмена с системами верхнего уровня. На фиг. 29 показан опорный элемент 620 на виде слева (изнутри) корпуса 610 сборного модуля 600. В опорном элементе 620 предусмотрены отверстия 690, 691, 692. На фиг. 30 показан закрывающий элемент 640 на виде справа (изнутри) корпуса 611 сборного модуля 600. В закрывающем элементе 640 предусмотрены отверстия 693, 694, 695. Форма и положение указанных отверстий определяется компоновкой электронных компонент сборного модуля и его назначением. Следует понимать, что количество, положение отверстий и их форма на опорном элементе 620 и закрывающем элементе 640 должны соответствовать другу для обеспечения необходимых соединений и установки необходимых разъемов. На фиг. 31 показан опорный элемент 620 на виде справа (снаружи) корпуса 610 сборного модуля 600. В предусмотренных для этого отверстиях 690, 691, 692 установлены разъемы 696, например, pin разъемы, для соединения печатных плат в каждом из корпусов 610, 611 сборного модуля 600. Для надежного соединения корпусов 610, 611 сборного модуля 600 предусмотрено соединение 680, проиллюстрированное на фиг. 32. Соединитель 681 использован для соединения опорного элемента 620 и закрывающего элемента 640. Для введения соединителя 681 в опорный элемент 620 и закрывающий элемент 640 могут быть предусмотрены углубления, такие как углубление 163, показанное на фиг. 7. Все элементы корпуса и соединители могут быть выполнены методом литья из конструкционного полиамида, например, марки ПА 66, или других подходящих материалов, которые обеспечат необходимую жесткость и долговечность элементов корпуса. В одном из дополнительных аспектов предложен модульный программируемый логический контроллер, содержащий множество модулей по настоящему изобретению и соединенных с соседним модулем посредством шинного соединителя. Например, ПЛК может состоять из модуля центрального процессора, модулей питания, терминально-соединительных модулей и набора модулей ввода-вывода, которые устанавливаются на одну или несколько DIN реек шириной 35 мм в количестве не более 100 шт. Все модули ввода-вывода подключаются к модулю центрального процессора по шине, установленной на DIN рейке, и обмениваются данными по дублированной шине CAN. Такой модульный ПЛК позволяет решить задачи: - измерения и измерительных преобразований стандартизованных аналоговых выходных сигналов от первичных измерительных преобразователей (датчиков) в виде силы и напряжения постоянного тока, частоты периодических сигналов; - преобразования данных по разным алгоритмам на основе программных средств, регистрации и хранении измеренных и вычисленных значений; - при ема и обработки дискретных, цифровых и кодированных сигналов; - формирования управляющих, аварийных аналоговых, цифровых, кодированных и дискретных сигналов на основе измерений и вычислений параметров технологических процессов, многоконтурного ПИД - регулирования, алгоритмического программного управления; - выполнение задач аварийного отключения, блокировок, противоаварийных защит. Для обеспечения предложенной компоновки каждый из модулей ПЛК выполнен с возможностью установки на общей рейке, предпочтительно, как было указано выше, это рейка стандарта DIN. На фиг. 33 показан вариант установки модуля 100 на рейке 10 в общем виде, а на фиг. 34 показан модульный ПЛК в сборе, причем каждый из модулей содержит корпус по настоящему изобретению. Таким образом, предложенное изобретение во всех его аспектах обеспечивает достижение технического результата, который заключается в увеличении срока полезной эксплуатации модульного программного логического контроллера, который достигается благодаря тому, что и в модуле ПЛК и в модульном ПЛК используется предложенный корпус модуля ПЛК, который содержит опорный элемент и закрывающий элемент, которые выполнены закругленными в нижней части корпуса, причем вентиляционный проем на указанной одной части корпуса расположен выше, чем вентиляционный проем на указанной противоположной части корпуса. Варианты осуществления не ограничиваются описанными здесь вариантами осуществления, специалисту в области техники на основе информации, изложенной в описании, и знаний уровня техники станут очевидны и другие варианты осуществления изобретения, не выходящие за пределы сущности и объема данного изобретения. Элементы, указанные в единственном числе, не исключают множественности элементов, если отдельно не указано иное. Под функциональной связью элементов следует понимать связь, обеспечивающую корректное взаимодействие этих элементов друг с другом и реализацию той или иной функциональности элементов. Частными примерами функциональной связи может быть связь с возможностью обмена информацией, связь с возможностью передачи электрического тока, связь с возможностью передачи механического движения, связь с возможностью передачи света, звука, электромагнитных или механических колебаний и т.д. Конкретный вид функциональной связи определяется характером взаимодействия указанных элементов, и, если не указано иное, обеспечивается широко известными средствами, используя широко известные в технике принципы. Несмотря на то, что примерные варианты осуществления были подробно описаны и показаны на сопроводительных чертежах, следует понимать, что такие варианты осуществления являются лишь иллюстративными и не предназначены ограничивать более широкое изобретение, и что данное изобретение не должно ограничиваться конкретными показанными и описанными компоновками и конструкциями, поскольку различные другие модификации могут быть очевидны специалистам в соответствующей области. Признаки, указанные в различных зависимых пунктах формулы, а также реализации, раскрытые в различных частях описания могут быть скомбинированы с достижением полезных эффектов, даже если возможность такого комбинирования не раскрыта явно.