патент
№ RU 2823923
МПК E03B3/28

Устройство для получения пресной воды

Авторы:
Кузовников Сергей Григорьевич
Номер заявки
2023135775
Дата подачи заявки
27.12.2023
Опубликовано
30.07.2024
Страна
RU
Как управлять
интеллектуальной собственностью
Чертежи 
2
Реферат

[27]

Изобретение относится к области водоснабжения. Устройство содержит теплоизолированный корпус (1) с расположенным в нем конденсатором (4), в днище которого расположена трубка (5) с краном (6) для выпуска очищенной воды. Устройство также содержит нагнетатель (9), вход (10) которого размещен внутри теплоизолированного корпуса, в верхней (2) его части, а выход (11) внутри конденсатора (4). Теплоизолированный корпус снабжен трубкой с краном (15) в верхней (2) его части для выпуска воздуха и трубкой с краном (16) и воронкой (17) для заливки очищаемой воды. Теплоизолированный корпус выполнен разборным. Конденсатор (4) снабжен У-образной трубкой (18), колено которой размещено выше уровня очищаемой воды, а низ выполнен в виде кольца (19), на поверхности которого размещены воздухопропускные отверстия (20). Обеспечивается исключение поступления очищенной воды через отверстия в очищаемую воду при работающем нагнетателе. 1 з.п. ф-лы, 3 ил.

Формула изобретения

1. Устройство для получения пресной воды, содержащее теплоизолированный корпус с расположенным в нем конденсатором, в днище которого расположена трубка с краном для выпуска очищенной воды, кроме того, имеется нагнетатель, вход которого размещен внутри теплоизолированного корпуса, в верхней его части, а выход - внутри конденсатора, отличающееся тем, что теплоизолированный корпус снабжен трубкой с краном в верхней его части для выпуска воздуха и трубкой с краном и воронкой для заливки очищаемой воды, кроме того, теплоизолированный корпус выполнен разборным, а конденсатор снабжен У-образной трубкой, колено которой размещено выше уровня очищаемой воды, а низ выполнен в виде кольца, на поверхности которого размещены воздухопропускные отверстия.

2. Устройство для получения пресной воды, по п. 1, отличающееся тем, что поверхность конденсатора с внутренней и внешней стороны снабжена теплообменными ребрами.

Описание

[1]

Изобретение относится к способам автономного получения чистой, пресной воды путем испарения очищаемой воды и конденсации паровоздушной смеси. Изобретение может быть использовано для водоснабжения населения и армейских подразделений.

[2]

Известно аналогичное устройство для извлечения воды из воздуха, содержащее термодинамический преобразователь, в котором имеется канал для транспортирования потока воздуха, содержащего пары воды, в котором расположены охлаждающий элемент холодильной машины, теплообменник и вентилятор, и сборник конденсата, сообщенный с частью канала, отличающееся тем, что теплообменник выполнен многосекционным, каждая секция которого состоит из пары теплопередающих элементов, общее число которых равно n, при этом теплопередающие элементы теплоизолированы одни от других и в каждой секции расположены по обе стороны от охлаждающего элемента и связаны между собой по тепловому потоку так, что по порядку расположения первый теплопередающий элемент связан с n-м, второй с (n 1)-м и далее последовательно теплопередающий элемент n/2 с теплопередающим элементом n/2+1 (смотри патент РФ №2 081 256, класс МПК Е03 В 3/28, Опубликованный: 1997.06.10).

[3]

Недостатком устройства является конденсация паровоздушной смеси при атмосферном давлении, что снижает производительность устройства по чистой, пресной воде.

[4]

Известно аналогичное устройство для получения питьевой воды из окружающего воздуха внутри или снаружи строения или жилища. Имеется воздушный фильтр для фильтрации воздуха перед его обработкой. Воздушный фильтр может содержать одноразовый чувствительный элемент, который делает его непригодным для использования при снятии с генератора. Для удаления водяных паров из воздуха предусмотрен конденсатор. Между конденсатором и точкой сбора находится непосредственный резервуар временного хранения или трубопровод к этому резервуару, который содержит ультрафиолетовый свет для уничтожения существующих микроорганизмов, а также насос для транспортировки воды через последующий фильтр для воды, второе воздействие, к ультрафиолетовому свету, и в конечном итоге в конечной точке сброса во внутренний или внешний водонакопитель может появиться еще один ультрафиолет, создающий стерильный выход из первичной системы. Фильтр для воды также может включать в себя одноразовый чувствительный элемент, который делает его непригодным для использования при удалении. Может быть предусмотрен переключатель для автоматического отключения устройства до тех пор, пока одноразовый или очищаемый элемент воздушного фильтра не будет заменен или очищен. Для отключения устройства может быть предусмотрен таймер или расходомер до тех пор, пока фильтрующий элемент для воды не будет заменен после заранее определенного количества часов или объема воды в работе. Может быть предусмотрен датчик для отключения устройства, когда УФ-свет(ы) перестают работать (смотри патент США №5203989, МПК Е03В 3/28, опубликованный 20.04.1987).

[5]

Недостаток устройства состоит в том, что конденсация паровоздушной смеси происходит при атмосферном давлении. Использование холодильной машины для охлаждения паровоздушной смеси требует дополнительных затрат энергии для ее работы.

[6]

Наиболее близким техническим решением к заявленному устройству по совокупности признаков является устройство для получения пресной воды состоящее из теплоизолированного корпуса, внутри которого расположена очищаемая вода и конденсатор в котором размещен сборник пресной воды, а стенки конденсатора содержат отверстия, выполненные выше уровня собранной пресной воды и снабженные обратными клапанами, уровень очищаемой воды должен быть выше отверстий, а в дне сборника пресной воды размещена выходная трубка с краном для выпуска очищенной воды, кроме того имеется нагнетатель, вход которого размещен внутри корпуса, в верхней его части, а выход внутри конденсатора в верхней его части (см. фиг.1, патент РФ 2729408 МПК Е03В 3/28 опубл. 06,083,2020 Бюл. №22 Выбрано за прототип).

[7]

Недостаток прототипа состоит в том, что сборник пресной воды располагается в конденсаторе. Это требует размещать воздухопропускные отверстия в стенке конденсатора выше уровня собираемой пресной воды (см. фиг 1 в описании прототипа). При заполнении сборника устройство перестает работать, так как пресная вода через отверстия будет поступать в очищаемую воду. Приходится следить за заполнением сборника пресной воды, чтобы он не переполнился, в результате чего процесс очистки прекращается.

[8]

Техническая задача состоит в том, что необходимо исключить поступление очищенной воды через отверстия в очищаемую воду при работающем нагнетателе.

[9]

Это достигается тем, что устройство для получения пресной воды содержащее теплоизолированный корпус с расположенным в нем конденсатором, в днище которого расположена трубка с краном для выпуска очищенной воды, кроме того имеется нагнетатель, вход которого размещен внутри теплоизолированного корпуса, в верхней его части, а выход внутри конденсатора, особенностью является то, что теплоизолированный корпус снабжен трубкой с краном в верхней его части для выпуска воздуха и трубкой с краном и воронкой для заливки очищаемой воды, кроме того теплоизолированный корпус выполнен разборным, а конденсатор снабжен У-образной трубкой, колено которой размещено выше уровня очищаемой воды, а низ выполнен в виде кольца, на поверхности которого размещены воздухопропускные отверстия.

[10]

Дополнительно устройство для получения пресной воды, характеризуется тем, что поверхность конденсатора с внутренней и внешней стороны снабжена теплообменными ребрами.

[11]

Пример конкретного выполнения изобретения поясняется чертежами.

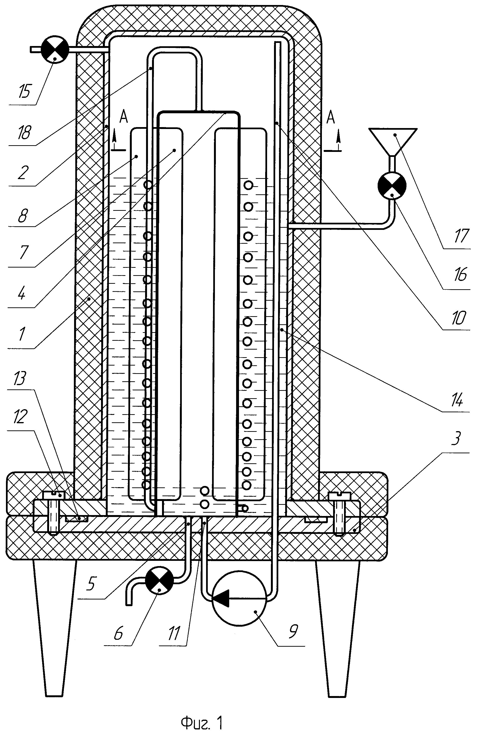
[12]

Фиг. 1 - изображен разрез устройства.

[13]

Фиг. 2 - вид по А-А

[14]

Фиг. 3 - У-образная трубка.

[15]

На чертежах изображено.

[16]

Устройство для получения пресной воды содержащее тепловую изоляцию 1 корпуса состоящего из двух частей верхней 2 и нижней 3. К фланцу нижней 3 части корпуса герметично прикреплен конденсатор 4 пресной воды с трубкой 5 и краном 6 в днище, для выпуска очищенной воды. На внутренней поверхности конденсатора вертикально расположены теплообменные ребра 7, а на наружной поверхности аналогичные теплообменные ребра 8. Имеется нагнетатель 9, вход 10, которого размещен внутри корпуса, в верхней 2 его части, а выход 11 внутри конденсатора 4 в нижней его части. Верхняя 2 часть корпуса скрепляется винтами 12 с нижней 3 частью корпуса через уплотнительный элемент 13, обеспечивающий герметизацию внутреннего пространства в котором находится очищаемая вода 14. Так же в верхней 2 части корпуса установлена трубка с краном 15, для выпуска воздуха при заливке очищаемой воды 14 и для впуска воздуха при сливе очищенной воды. Имеется трубка с краном 16 и воронкой 17 предназначенной для заполнения устройства очищаемой водой. Из конденсатора 4 выходит У-образная трубка 18, загнутое колено которой расположено выше уровня очищаемой воды, а низ выполнен в виде кольца 19, снабженного воздухопропускными отверстиями 20.

[17]

Работа устройства.

[18]

Заполнение устройства очищаемой водой. Открываем кран 15. Открываем кран 16. Через воронку 17 заполняем внутреннее пространство устройства очищаемой водой. Как только через край воронки 17 будет переливаться очищаемая вода, значит устройство заполнено. Закрываем краны 14 и 15. Включаем нагнетатель 9, который сжимает паровоздушную смесь и подает ее в конденсатор 4, где она охлаждается. Происходит осаждение паров воды при повышенном давлении и осушение воздуха. Конденсатор охлаждается за счет отбора тепла расширяющимся осушенным воздухом, выходящим из конденсатора и барботируемым через очищаемую воду. Барботируемый воздух, получая тепло от воды, нагревается и насыщается парами воды. Насыщенный парами воды воздух поступает на вход 10 нагнетателя 9. Цикл повторяется.

[19]

Извлечение пресной воды. Не выключая нагнетатель 9, открываем кран 15 и 6 и сливаем всю пресную воду.

[20]

Время от времени снимают верхнюю 2 часть корпуса для очистки поверхности теплообменных ребер 8 от осадка.

[21]

Таким образом, вышеизложенные сведения свидетельствуют о выполнении при использовании заявленного изобретения следующей совокупности условий:

[22]

- средство, воплощающее заявленное изобретение при его осуществлении, относится к устройствам автономного получения чистой, пресной воды, путем испарения очищаемой воды и конденсации паровоздушной смеси.

[23]

- для заявленного устройства в том виде, как оно охарактеризовано в независимом пункте изложенной формулы изобретения, подтверждена возможность его осуществления с помощью описанных в заявке или известных до даты приоритета средств и методов;

[24]

- средство, воплощающее заявленное изобретение при его осуществлении, способно обеспечивать достижение усматриваемого заявителем технического результата.

[25]

- преимущество изобретения состоит в том, что исключаются обратные клапаны и исключается поступление очищенной воды через отверстия в очищаемую воду при работающем нагнетателе.

[26]

Следовательно, заявленное изобретение соответствует условию «промышленная применимость».

Как компенсировать расходы
на инновационную разработку
Похожие патенты