патент
№ RU 2823664
МПК E04H9/12

Способ строительства фортификационных сооружений в труднодоступных районах

Авторы:
Добрышкин Евгений Олегович Борисов Алексей Александрович Бондарев Алексей Валентинович
Все (7)
Номер заявки
2023130705
Дата подачи заявки
22.11.2023
Опубликовано
29.07.2024
Страна
RU
Как управлять
интеллектуальной собственностью
Чертежи 
9
Реферат

[75]

Изобретение относится к области строительства фортификационных сооружений, а именно к способу строительства фортификационных объектов в труднодоступных районах, что позволяет при соответствующем применении сформировать развитую логистическую систему объектов инфраструктуры. Технический результат заключается в повышении скорости возведения фортификационных сооружений и обеспечении технологических возможностей строительства сооружений без учета наличия имеющихся заводов с использованием существующей сырьевой базы на месте строительства. Способ строительства фортификационных сооружений в труднодоступных районах заключается в изготовлении блок-модулей в заводских условиях по поточной технологии с насыщением оборудованием и устройствами, отрывке котлована, бетонировании дна котлована в виде монолитной фундаментной плиты, доставке блок-модулей к месту строительства и установке их в проектное положение на предварительно подготовленное основание в один или более ярусов в зависимости от высоты сооружения с помощью подъемных средств, расположении нескольких блок-модулей, но не менее двух, в один ярус с соединением проходными потернами из железобетона на фундаментной плите, креплении проходных потерн к фундаментной плите с помощью анкеров, формировании по откосам котлована нескольких входных потерн, но не менее двух, соединяющих блок-модули с поверхностью земли, надежном скреплении блок-модулей друг с другом и их герметизации по сопрягаемым частям с помощью быстро соединяемых фланцевых и других устройств и разъемов коммуникаций. В соответствии с указанным способом перед началом выполнения строительных работ осуществляется подбор места будущего размещения фортификационного сооружения и устанавливаются координаты участка местности для строительства посредством применения беспилотного летательного аппарата и программно-аппаратного комплекса, разравнивание участка местности, доставка и монтаж на участке местности ограждающей конструкции замкнутого типа, собранной из листов Ларсена, оборудованной диафрагмами для придания устойчивости конструкции при транспортировке, предназначенной для безопасного проведения внутриплощадочных работ посредством отделения от окружающей среды, после отрывки котлована подготавливается основание сооружения путем устройства цементно-песчаной подушки, засыпки и уплотнения грунта. 4 з.п. ф-лы, 9 ил.

Формула изобретения

1. Способ строительства фортификационных сооружений в труднодоступных районах, заключающийся в изготовлении блок-модулей в заводских условиях по поточной технологии с насыщением оборудованием и устройствами, отрывке котлована, бетонировании дна котлована в виде монолитной фундаментной плиты, доставке блок-модулей к месту строительства и установке их в проектное положение на предварительно подготовленное основание в один или более ярусов в зависимости от высоты сооружения с помощью подъемных средств, расположении нескольких блок-модулей, но не менее двух, в один ярус с соединением проходными потернами из железобетона на фундаментной плите, креплении проходных потерн к фундаментной плите с помощью анкеров, формировании по откосам котлована нескольких входных потерн, но не менее двух, соединяющих блок-модули с поверхностью земли, надежном скреплении блок-модулей друг с другом и их герметизации по сопрягаемым частям с помощью быстро соединяемых фланцевых и других устройств и разъемов коммуникаций, отличающийся тем, что перед началом выполнения строительных работ осуществляется подбор места будущего размещения фортификационного сооружения и устанавливаются координаты участка местности для строительства посредством применения беспилотного летательного аппарата и программно-аппаратного комплекса, разравнивание участка местности, доставка и монтаж на участке местности ограждающей конструкции замкнутого типа, собранной из листов Ларсена, оборудованной диафрагмами для придания устойчивости конструкции при транспортировке, предназначенной для безопасного проведения внутриплощадочных работ посредством отделения от окружающей среды, после отрывки котлована подготавливается основание сооружения путем устройства цементно-песчаной подушки, засыпки и уплотнения грунта.

2. Способ строительства фортификационных сооружений в труднодоступных районах по п. 1, отличающийся тем, что отрывка котлована осуществляется внутри ограждающей конструкции замкнутого типа с использованием землеройной машины, доставленной в огражденное пространство воздушным транспортом, а удаление грунта за пределы огражденного пространства осуществляется путем выноса рабочего оборудования.

3. Способ строительства фортификационных сооружений в труднодоступных районах по п. 1, отличающийся тем, что стены блок-модулей, доставка которых осуществляется воздушным транспортом, являются полыми металлическими конструкциями, дополнительно оборудованными внутри металлическими распорками и диафрагмами жесткости, которые после герметизации по сопрягаемым частям и надежного скрепления блок-модулей друг с другом наполняются бетонной смесью.

4. Способ строительства фортификационных сооружений в труднодоступных районах по п. 1, отличающийся тем, что каждый блок-модуль оборудован металлическими направляющими балками с возможностью их монтажа для разделения внутреннего пространства внутри блок-модуля на два этажа.

5. Способ строительства фортификационных сооружений в труднодоступных районах по п. 3, отличающийся тем, что после твердения бетонной смеси в стенах блок-модулей поверх фортификационного сооружения устраивается монолитная железобетонная плита, на которой создаются объекты инфраструктуры для маскировки и обеспечения технической эксплуатации сооружения.

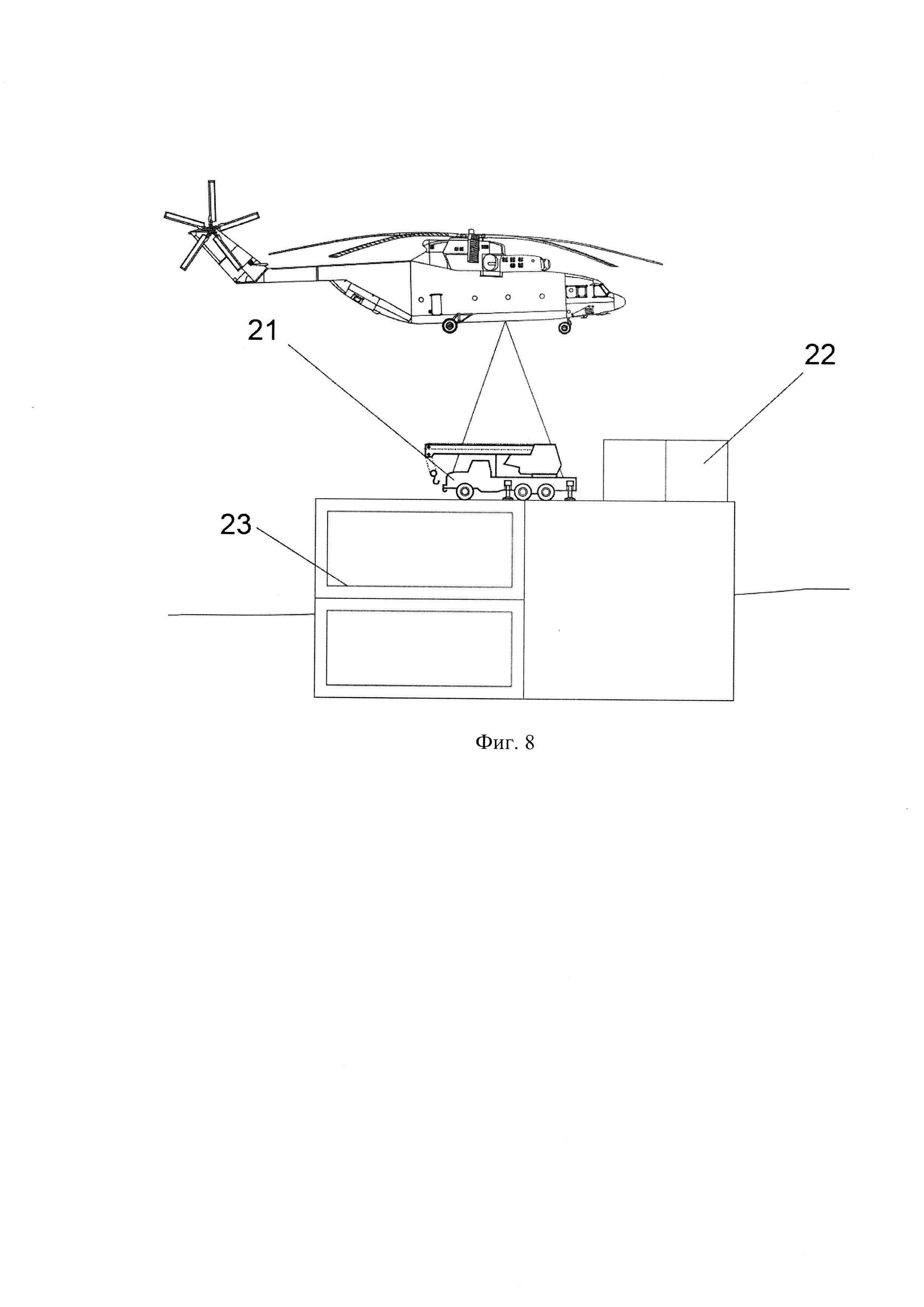
Описание

[1]

Изобретение относится к области строительства фортификационных сооружений, а именно к способу строительства фортификационных объектов в труднодоступных районах, что позволяет при соответствующем применении сформировать развитую логистическую систему объектов инфраструктуры.

[2]

Из существующего уровня техники известен ряд решений, применение которых позволяет построить фортификационные сооружения различного функционального назначения.

[3]

Известен «Способ возведения и фортификационное сооружение для его осуществления» (по патенту Российской Федерации на изобретение RU 2794452 С1 от 18.04.2023 г.), основанный на использовании корпуса в виде цилиндрической высокопрочной герметичной мягкой оболочки, где один из сферических торцов корпуса снабжен полостным клапаном и является съемным оголовком, который прикрепляют герметическим замком по окружности цилиндрической части. В рабочую полость корпуса помещают и меридионально прикрепляют каркас из нескольких мягких тороидов с каркасным клапаном, объединенных в каркасную полость воздуховодами. Вход снабжен защитно-герметичным люком и конической оболочкой с замком и коммуникационным окном.

[4]

Недостаток указанного способа возведения фортификационного сооружения и его осуществления заключается в отсутствии вспомогательных сооружений для обеспечения технической эксплуатации фортификационного объекта.

[5]

Известно «Контейнерное фортификационное сооружение» (по патенту Российской Федерации на изобретение RU 2797515 С9 от 06.06.2023 г.), состоящие из остова, выполненного из цельных рамно-панельных модулей-контейнеров с податливым днищем, соединенных между собой в одно укрытие и защитно-герметическими дверями, внутренним оборудованием и системами жизнеобеспечения, где в качестве цельных рамно-панельных модулей-контейнеров, соединенных между собой в одно герметическое укрытие используются морские контейнеры, в качестве податливого днища ячеистой конструкции используются подкладки из деревянных шпал, в качестве защитно-герметических дверей используется герметичные двери морских контейнеров, в качестве внутреннего оборудования и систем жизнеобеспечения используется технический нормокомплект, включающий в себя по необходимости фильтро-вентиляционную установку, печь для отопления, источник электроэнергии, осветительное оборудование и т.д., при этом сооружение дополнительно оборудуется по стенам и покрытию распределительными защитными экранами, изготовленными из списанной, бывшей в употреблении железнодорожной цистерны.

[6]

Недостатком данного способа является отсутствие прочного каркаса фортификационного сооружения, способного выдержать оказываемое на него давление.

[7]

Известен «Способ блок-модульного строительства сооружений в котлованах и заглубленное сооружение для объектов военной инфраструктуры» (по патенту Российской Федерации на изобретение RU 2702779 С1 от 11.10.2019 г.), принятый в качестве прототипа заявленного технического решения. Способ блок-модульного строительства сооружений в котлованах заключается в том, что блок-модули изготавливают в заводских условиях по поточной технологии, с насыщением оборудованием и устройствами. Затем блок-модули доставляют к месту строительства и устанавливают в проектное положение на предварительно подготовленное основание в один или более ярусов в зависимости от высоты сооружения с помощью подъемных средств. Блок-модули надежно скрепляют друг с другом и герметизируют по сопрягаемым частям с помощью быстро соединяемых фланцевых и других устройств и разъемов коммуникаций. После отрывки котлована по площади котлована создают свайное поле и производят бетонирование дна котлована в виде монолитной фундаментной плиты. Несколько блок-модулей, но не менее двух, располагают в один ярус, между собой блок-модули соединяют проходными потернами из железобетона, а по откосам котлована формируют несколько входных потерн, но не менее двух, соединяющих блок-модули с поверхностью земли. Все блок-модули и проходные потерны располагают на фундаментной плите, изготавливают из железобетона и крепят к фундаментной плите с помощью анкеров. По периметру фундаментной плиты создают дренажные каналы и соединяют с водопонизительной установкой, расположенной на поверхности земли, после этого производят засыпку котлована до уровня поверхности земли и формируют защитный экран из железобетона над всей поверхностью блок-модулей.

[8]

Недостатком указанного способа является ограниченная грузоподъемность технических средств и транспортных средств, применяемых при погрузке железобетонных блок-модулей при организации доставки к месту строительства, что, кроме всего прочего, не позволяет перевозить их воздушным транспортом в условиях необходимости быстрого возведения фортификационных сооружений. Недостатком также является тот факт, что в способе-прототипе отсутствуют объекты инфраструктуры, отсутствие которых в условиях постоянного нахождения людей является демаскирующим признаком для фортификационного сооружения. В способе-прототипе не реализована возможность разделения блок-модулей на два этажа, что является одним из факторов, влияющих на эффективность использования объемно-планировочных решений фортификационных сооружений.

[9]

Предложенное авторами изобретение позволяет устранить выявленные недостатки известного технического решения.

[10]

Технический результат заключается в повышении скорости возведения фортификационных сооружений за счет мобильной транспортабельности, сокращения времени монтажа металлических элементов блок-модулей по сравнению с блок-модулями, выполненными из железобетона, и обеспечении технологических возможностей строительства сооружений без учета наличия имеющихся заводов с использованием существующей сырьевой базы на месте строительства.

[11]

Указанный технический результат достигается следующим образом. Общими признаками прототипа и заявляемого способа является то, что для строительства фортификационного сооружения используются блок-модули, изготовленные в заводских условиях по поточной технологии с насыщением оборудованием и устройствами, отрывке котлована, бетонировании дна котлована в виде монолитной фундаментной плиты, доставке блок-модулей к месту строительства и установке их в проектное положение на предварительно подготовленное основание в один или более ярусов в зависимости от высоты сооружения с помощью подъемных средств, расположении нескольких блок-модулей, но не менее двух, в один ярус с соединением проходными потернами из железобетона на фундаментной плите, креплении проходных потерн к фундаментной плите с помощью анкеров, формировании по откосам котлована нескольких входных потерн, но не менее двух, соединяющих блок-модули с поверхностью земли, надежном скреплении блок-модулей друг с другом и их герметизации по сопрягаемым частям с помощью быстро соединяемых фланцевых и других устройств и разъемов коммуникаций

[12]

Отличительными признаками заявляемого способа являются: 1. подбор места будущего размещения фортификационного сооружения перед началом выполнения строительных работ и установление координат участка местности для строительства посредством применения беспилотного летательного аппарата и программно-аппаратного комплекса, разравнивание участка местности, доставка и монтаж на участке местности ограждающей конструкции замкнутого типа, собранной из листов Ларсена, оборудованной диафрагмами для придания устойчивости конструкции при транспортировке, предназначенной для безопасного проведения внутриплощадочных работ посредством отделения от окружающей среды;

[13]

2. подготовка основания сооружения после отрывки котлована путем устройства цементно-песчаной подушки, засыпки и уплотнения грунта;

[14]

3. выполнение отрывки котлована внутри ограждающей конструкции замкнутого типа с использованием землеройной машины, доставленной в огражденное пространство воздушным транспортом;

[15]

4. удаление грунта за пределы огражденного пространства осуществляется путем выноса рабочего оборудования;

[16]

5. выполнение стен блок-модулей полыми металлическими конструкциями, дополнительно оборудованными внутри металлическими распорками и диафрагмами жесткости, которые доставляются воздушным транспортом и после герметизации по сопрягаемым частям и надежного скрепления блок-модулей друг с другом наполняются бетонной смесью;

[17]

6. оборудование блок-модуля металлическими направляющими балками с возможностью их монтажа для разделения внутреннего пространства внутри блок-модуля на два этажа;

[18]

7. устройство поверх фортификационного сооружения монолитной железобетонной плиты после твердения бетонной смеси в стенах блок-модулей, на которой создаются объекты инфраструктуры для маскировки и обеспечения технической эксплуатации сооружения.

[19]

Совместное применение в заявляемом способе указанных отличительных признаков позволяет получить положительный эффект, заключающийся в том, что сокращаются временные затраты на определение места строительства фортификационного сооружения путем применения беспилотного летательного аппарата, увеличивается скорость доставки строительных материалов, строительных машин и технологического оборудования за счет мобильной транспортабельности, повышается удобство монтажа и возведения объекта с учетом использования существующей сырьевой базы на месте строительства.

[20]

Предложенный способ пояснен чертежами.

[21]

На фиг. 1 представлена схема процесса создания подготовленной поверхности для ограждающей конструкции.

[22]

На фиг. 2 представлена схема установки ограждающей конструкции из листов Ларсена.

[23]

На фиг. 3 представлена схема отрывки котлована.

[24]

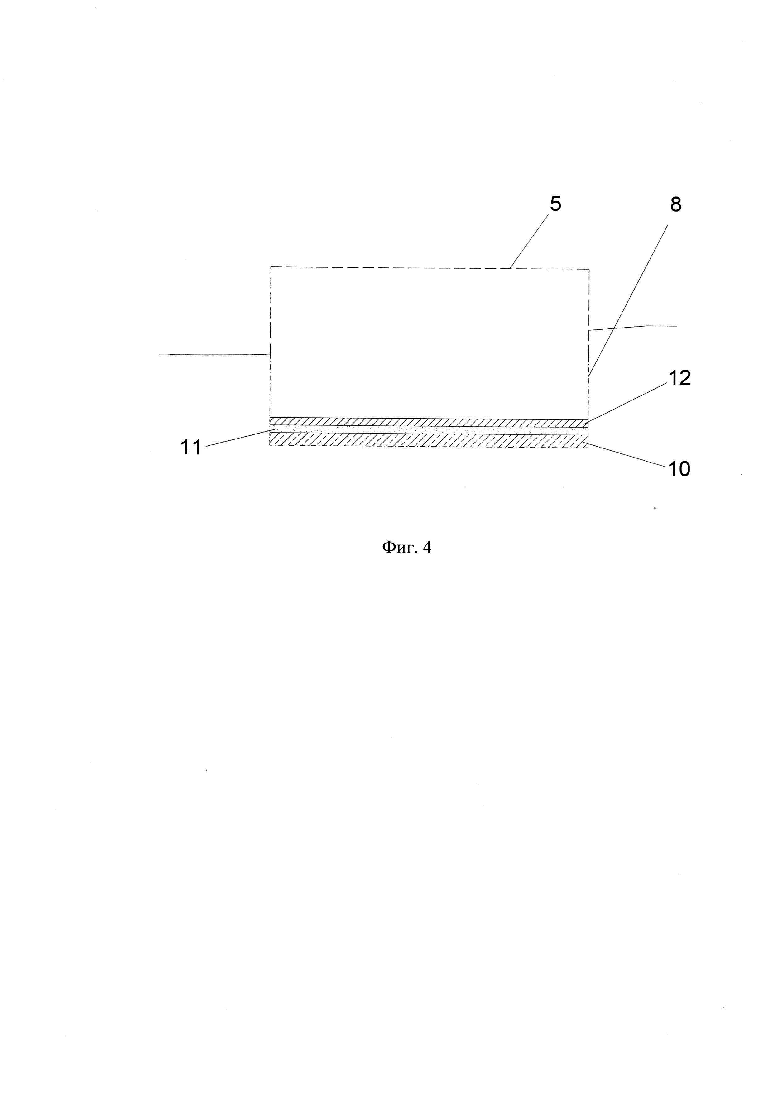
На фиг. 4 представлена схема размещения цементно-песчаной подушки в огражденном пространстве.

[25]

На фиг. 5 представлена схема доставки и установки блок-модулей.

[26]

На фиг. 6 представлен разрез блок-модулей.

[27]

На фиг. 7 представлена схема укладки бетонной смеси в стены блок-модулей.

[28]

На фиг. 8 представлена схема размещения машин и материалов на строительной площадке.

[29]

На фиг. 9 представлен общий вид объектов инфраструктуры.

[30]

На представленных фигурах используются следующие обозначения арабскими цифрами:

[31]

1 - земная поверхность;

[32]

2 - проектная отметка основания;

[33]

3 - бульдозер ЧТЗ Б11;

[34]

4 - ограничительные стойки;

[35]

5 - ограждающая конструкция, собранная из листов Ларсена;

[36]

6 - транспортный вертолет Ми-26;

[37]

7 - стальной трос;

[38]

8 - граница уровня котлована;

[39]

9 - мини-экскаватор;

[40]

10 - цементно-песчаный раствор;

[41]

11 - песчаный слой;

[42]

12 - грунт засыпки;

[43]

13 - блок-модуль;

[44]

14 - крепление для фиксации стального троса;

[45]

15 - бак для цементного раствора;

[46]

16 - насосная станция;

[47]

17 - шланг насосной станции;

[48]

18 - рукав насосной станции;

[49]

19 - диафрагма жесткости;

[50]

20 - металлические стержни;

[51]

21 - автомобильный кран КС-3574;

[52]

22 - контейнеры со строительными материалами или оборудованием;

[53]

23 - внутри модульное перекрытие;

[54]

24 - объекты инфраструктуры;

[55]

25 - ограждающая конструкция;

[56]

26 - технологическое оборудование фортификационного сооружения.

[57]

Применение способа строительства фортификационных сооружений в труднодоступных районах осуществляется следующим образом.

[58]

Перед началом выполнения строительно-монтажных работ осуществляется подбор места будущего размещения объектов инфраструктуры посредством применения беспилотного летательного аппарата (БПЛА).

[59]

Первый этап работ состоит в запуске БПЛА с ближайшего центра управления. БПЛА, оборудованный видео- и радио аппаратным комплексом, производит непосредственное определение характеристик подходящего участка местности. При этом используют БПЛА, выполненный в виде телеуправляемого аппарата вертолетного типа, в форме обычного квадрокоптера, выполненного на традиционной Х-образной раме с 8-ю стандартными несущими винтами и со схемой управления полетом аппарата типа DJI А-2, обладающего временем автономного полета до 70 мин. Частоту радиоканала для управления полетом беспилотных летательных аппаратов используют размером F-2,4 ГГц, частоту радиоканала для качественной видеосвязи используют размером F-1,2 ГГц. На программно-аппаратный комплекс, находящийся в управлении центра запуска БПЛА, в онлайн-режиме поступает изображение, фиксируемое камерой БПЛА. После определения участка местности для строительства объекта посредством использования программно-аппаратного комплекса устанавливаются координаты на карту для ориентирования на местности.

[60]

После определения границ, к выбранному участку земной поверхности направляется транспортный вертолет Ми-26, несущий закрепленный на тросах мини-бульдозер ЧТЗ Б11 для разравнивания определенного участка местности. Вместе с мини-бульдозеров высаживается команда геодезистов, которые размечают отметки превышения высот. По установленным данным выставляются ограничительные стойки, и разравнивается земная поверхность.

[61]

Второй этап заключается в транспортировке Ми-26 ограждающей конструкции замкнутого типа, собранной из листов Ларсена, оборудованную диафрагмами жесткости для придания устойчивости конструкции при транспортировке, на стальных тросах. Данная конструкция необходима для безопасного проведения внутриплощадочных работ посредством отделения места строительства от окружающей среды. После установки ограждающей конструкции на место строительства диафрагмы жесткости ограждающей конструкции демонтируются.

[62]

На третьем этапе производится отрывка котлована до проектного уровня. Для этого посредством использования воздушного транспорта в огражденное пространство доставляется мини-экскаватор (землеройная машина массой до 10 т). Удаление грунта осуществляется за пределы ограждающей конструкции путем выноса рабочего оборудования.

[63]

На следующем этапе строительства подготавливается основание сооружения. Для этого на срезанный участок устраивается цементно-песчаная подушка, поверх которой засыпается и уплотняется грунт для равномерного распределения нагрузки от проектируемых объектов инфраструктуры в следующем порядке: в огражденное пространство слоями укладывают цементно-песчаный раствор; затем укладывают верхний песчаный слой, который в последующим разравнивается, при этом каждый слой тщательно трамбуется виброуплотняющими машинами, помещенными на огражденный участок воздушным транспортом. Поверх песчаного слоя укладывается грунт засыпки.

[64]

На пятом этапе производится установка блок-модуля на подготовленное основание. Для этого посредством применения Ми-26 доставляется блок-модуль, изготавливающийся в заводских условиях по поточной технологии, с насыщением оборудованием и устройствами.

[65]

Блок-модуль представляет собой конструкцию замкнутого типа, выполненную в заводских условиях по поточной технологии, имеющую в своем составе дополнительные металлические распорки и диафрагмы жесткости. При этом блок-модуль имеет дополнительные соединения для монтирования внутри пространственного перекрытия, позволяющее разделить блок-модуль на два этажа, представляющее собой металлические направляющие (балки). Стены блок-модулей являются полыми металлическими конструкциями, дополнительно оборудованными внутри металлическими распорками и диафрагмами жесткости, которые после герметизации по сопрягаемым частям и надежного скрепления блок-модулей друг с другом наполняются бетонной смесью. В зависимости от назначения фортификационного сооружения выбирается число блок-модулей.

[66]

После установки блок-модулей проверяется соприкосновение конструкции с поверхностью подготовленного основания с целью обеспечения надежности и устойчивости конструкции. При этом монтаж блок-модулей заключается в расположении нескольких блок-модулей, но не менее двух, в один ярус с соединением проходными потернами из железобетона на фундаментной плите, креплении проходных потерн к фундаментной плите с помощью анкеров, формировании по откосам котлована нескольких входных потерн, но не менее двух, соединяющих блок-модули с поверхностью земли, надежном скреплении блок-модулей друг с другом и их герметизации по сопрягаемым частям с помощью быстро соединяемых фланцевых и других устройств и разъемов коммуникаций.

[67]

После установки внутреннее пространство блок-модулей заполняется бетонной смесью. Для этого на поверхность блок-модулей, которая представляет собой полое пространство, доставляются бетонные насосные станции, перекачивающие бетонную смесь из емкости для хранения смеси. Для укладки бетонной смеси используют рукава и виброуплотнители. После укладки бетонной смеси и ее уплотнения, выдерживается время для набора прочности смеси.

[68]

На завершающем этапе строительства после твердения бетонной смеси в стенах блок-модулей поверх фортификационного сооружения устраивается монолитная железобетонная плита, на которую доставляются строительные машины, такие как самоходный кран, а также строительные материалы и оборудование для дальнейшего строительства рабочего объема фортификационного сооружения и объектов инфраструктуры. При этом объекты инфраструктуры предназначены для маскировки и обеспечения технической эксплуатации фортификационного сооружения. Так, например, на поверхности фортификационного сооружения оборудуется вертолетная площадка для поддерживания коммуникационных сообщений с другими пунктами.

[69]

Использованные источники

[70]

1. Патент на изобретение РФ RU 2794452 С1 от 18.04.2023 г., «Способ возведения и фортификационное сооружение для его осуществления».

[71]

2. Патент на изобретение РФ RU 2797515 С9 от 06.06.2023 г., «Контейнерное фортификационное сооружение».

[72]

3. Патент на изобретение РФ RU 2702779 С1 от 11.10.2019 г., «Способ блок - модульного строительства сооружений в котлованах и заглубленное сооружение для объектов военной инфраструктуры» - прототип.

[73]

4. Патент на изобретение РФ RU 2620698 С1 от 29.05.2017 г., «Специальное фортификационное сооружение».

[74]

5. Патент на изобретение РФ RU 2747892 С1 от 17.05.2021 г., «Фортификационное сооружение повышенной защиты».

Как компенсировать расходы
на инновационную разработку
Похожие патенты