патент
№ RU 2822729
МПК A44C17/00

Способ визуального увеличения размера драгоценного камня, каст для ювелирного изделия

Авторы:
Борисова Юлия Александровна
Номер заявки
2023118581
Дата подачи заявки
13.07.2023
Опубликовано
12.07.2024
Страна
RU
Как управлять
интеллектуальной собственностью
Чертежи 
7
Реферат

[59]

Группа изобретений относится к ювелирной отрасли, а именно к технологии закрепки вставки в ювелирные изделия с использованием алмазного диска под ней с целью визуального увеличения размера драгоценного камня. Предложен каст для ювелирного изделия, содержащий основание каста, алмазный диск, выполненный с нарезанными гранями, имитирующими грани бриллианта, прикрепленный и зафиксированный в пазы в основании каста при помощи пайки и имеющий диаметральный размер, крапаны, выполненные с возможностью удержания драгоценного камня, имеющего диаметральный размер и поверхность площадки, обращенную к алмазному диску. Диаметральный размер алмазного диска больше диаметрального размера драгоценного камня на 0,7-1,4 мм. Основание каста выполнено с возможностью удерживания и поддержки алмазного диска за счет фиксации в пазы и при помощи ювелирной пайки. Каст выполнен с возможностью стационарной поддержки драгоценного камня в центре непосредственно над алмазным диском на расстоянии 0,2-0,6 мм от него таким образом, чтобы обеспечивать увеличенное изображение драгоценного камня. 2 н. и 5 з.п. ф-лы, 12 ил.

Формула изобретения

1. Каст для ювелирного изделия, содержащий:

- основание каста,

- алмазный диск, выполненный с нарезанными гранями, имитирующими грани бриллианта, прикрепленный и зафиксированный в пазы в основании каста при помощи пайки и имеющий диаметральный размер,

- крапаны, выполненные с возможностью удержания драгоценного камня, имеющего диаметральный размер и поверхность площадки, обращенную к алмазному диску, причем

диаметральный размер алмазного диска больше диаметрального размера драгоценного камня на 0,7-1,4 мм;

основание каста выполнено с возможностью удерживания и поддержки алмазного диска за счет фиксации в пазы и при помощи ювелирной пайки,

каст выполнен с возможностью стационарной поддержки драгоценного камня в центре непосредственно над алмазным диском на расстоянии 0,2-0,6 мм от него таким образом, чтобы обеспечивать увеличенное изображение драгоценного камня.

2. Каст для ювелирного изделия по п. 1, отличающийся тем, что драгоценный камень представляет собой бриллиант.

3. Каст для ювелирного изделия по п. 1, отличающийся тем, что алмазный диск представляет собой конструктивный элемент круглой формы.

4. Каст для ювелирного изделия по п. 1, отличающийся тем, что он применен в таких видах ювелирных изделий как: кольца, серьги, подвески, колье.

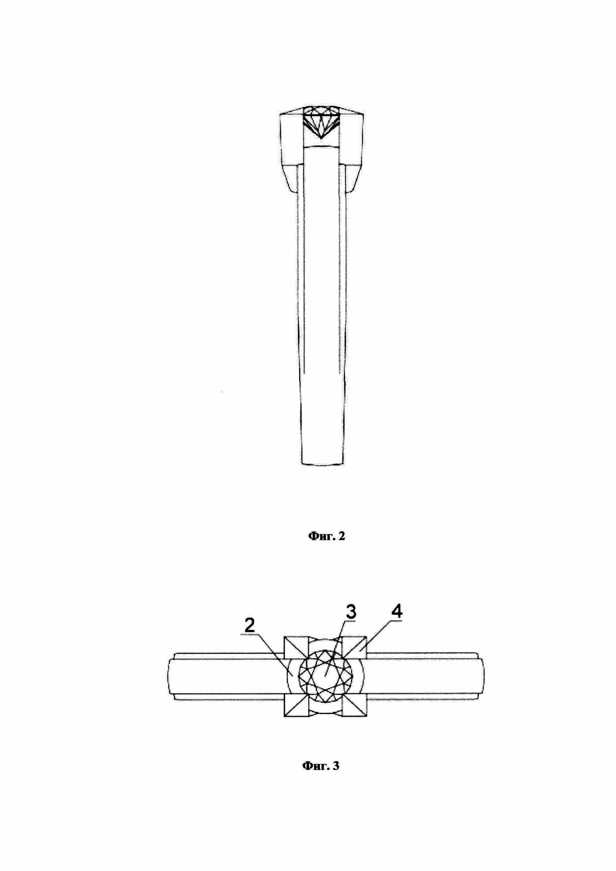
5. Каст для ювелирного изделия по п. 4, отличающийся тем, что выполнен с возможностью крепления к шинке кольца или основе серьги, или за одно целое с основой серьги или шинкой кольца.

6. Каст для ювелирного изделия по п. 1, отличающийся тем, что создаваемое увеличение в 1,5-2 раза превышает фактический диаметр драгоценного камня.

7. Способ визуального увеличения размера драгоценного камня в касте ювелирного изделия, содержащего:

- основание каста,

- алмазный диск, прикрепленный и зафиксированный в пазы в основании каста при помощи пайки и имеющий диаметральный размер,

- крапаны, выполненные с возможностью удержания драгоценного камня, имеющего диаметральный размер и поверхность площадки, обращенную к алмазному диску,

и в котором

основание каста выполнено с возможностью удерживания и поддержки алмазного диска за счет фиксации в пазы и при помощи ювелирной пайки,

каст выполнен с возможностью стационарной поддержки драгоценного камня в центре непосредственно над алмазным диском таким образом, чтобы обеспечивать увеличенное изображение драгоценного камня;

заключающийся в том, что алмазный диск каста ювелирного изделия выполняют с нарезанными гранями, имитирующими грани бриллианта, диаметральным размером больше диаметрального размера драгоценного камня на 0,7-1,4 мм, который крепят над алмазным диском на расстоянии 0,2-0,6 мм от поверхности алмазного диска.

Описание

[1]

Изобретение относится к ювелирной отрасли, а именно к технологии закрепки вставки в ювелирные изделия с использованием алмазного диска под ней с целью визуального увеличения размера драгоценного камня.

[2]

Мода на ювелирные изделия с бриллиантами не имеет срока давности и не подвластна сезонности. Ювелирное изделие с бриллиантами - это не просто украшение, это еще и инвестиция. Долгие годы не ослабевает конкуренция среди производителей в ювелирной отрасли. Технологи-ювелиры предпринимают многочисленные попытки создать такой уникальный продукт, который заслужит внимание потребителя и сумеет принести максимальную выручку.

[3]

Дизайнеры и производители ювелирных изделий находятся в постоянном поиске уникальных, интересных дизайнов ювелирных изделий и готовы инвестировать как материальные, так и человеческие ресурсы для создания новых тенденций и стилей. Кроме того, развитие общества и повышение уровня жизни способствуют быстрому росту спроса на бриллианты. Алмазы представляют собой особый вид минералов и благодаря великолепному внешнему виду и придаваемому им глубинному смыслу высоко ценятся покупателями. Обычно алмазы используются в украшениях, таких как колье, серьги-подвески, кольца и т.д. Основные существующие виды закрепки бриллиантов в украшения - это крапановая, Паве, глухая закрепка, корнеровая, рельсовая, закрепка бриллиантов «на щелчок».

[4]

Из-за быстрого истощения алмазных ресурсов стоимость крупных камней постоянно растет. Обычному потребителю трудно приобрести ювелирное изделие с бриллиантом весом более 1 карата. Несмотря на то, что у бриллиантов небольшого размера более привлекательная цена, обычный потребитель заинтересован приобрести ювелирное изделие со вставкой большого размера.

[5]

Существуют визуальные приемы, чтобы сделать драгоценный камень визуально больше. Несколько маленьких камней стоят дешевле, чем один большой, поэтому делают модели, состоящие из нескольких камней, плотно закрепленных друг с другом так, что издалека смотрятся как один камень.

[6]

Бывают модели, где под камнем делают зеркало из металла и родируют его так, чтобы его блеск отражался от полированной поверхности и сверкал. Соответственно, также он "увеличивается". В зеркале вокруг камня делают нарезку по металлу лучами, также для внешнего эффекта.

[7]

Модель "малинка" - в середине один, как правило более крупный, камень, а вокруг, "ромашкой"- россыпь камней (ссылка на Интернет-источник: Какие способы визуально увеличить камни в украшениях существуют? |Ювелирное закулисье| Дзен (dzen.ru).

[8]

За истекшие 150 лет предпринимались многочисленные попытки создать «увеличенный внешний вид» бриллиантов. Например, в течение более 125 лет люди создают «кластерные» композиции из бриллиантов с большим центральным бриллиантом, который плотно окружен бриллиантами небольшого размера, так чтобы с расстояния вся композиция бриллиантов выглядела как один бриллиант «солитер» большого диаметрального размера, т.е. как кластер.

[9]

Тем не менее, кластерные композиции из бриллиантов состоят из множества бриллиантов, и, если смотреть даже на расстоянии вытянутой руки, можно рассмотреть отдельные бриллианты, которые ухудшают общий внешний вид. Кроме того, закрепление множества небольших камней вокруг большого центрального камня требует использования кастов специальной конструкции для удерживания небольших камней и дорогостоящих трудовых затрат для закрепки множества камней, составляющих кластер.

[10]

В патенте US 5218839А, опубл. 15.06.1993, представлена ювелирная оправа для драгоценного камня, которая создает иллюзию или иным образом имитирует внешний вид более крупного драгоценного камня. Устройство содержит кольцо, имеющее осевое цилиндрическое отверстие, расположенное в нем. В поверхности цилиндрического отверстия выполнен V-образный вырез перпендикулярно продольной оси буртика. Воротник приспособлен для фиксации драгоценного камня при оправе. Вершина V-образной огранки образует окружность, по существу, эквивалентную поясу драгоценного камня, и лежит в плоскости, перпендикулярной продольной оси воротника. Пересекающиеся поверхности V-образной огранки приспособлены для примыкания к части павильона и короны драгоценного камня. Верхняя поверхность воротника равномерно ограничивает сегмент короны драгоценного камня и, таким образом, позволяет отображать площадку для драгоценных камней и непокрытую часть короны. Верхняя поверхность воротника может быть выгравирована или иным образом украшена знаками, имитирующими внешний вид пояска, безеля и граней короны. Указанные вписанные знаки созданы по образцу граней короны указанного драгоценного камня и имитируют их.

[11]

В патенте RU 2739469, опубл. 24.12.2020, предложен каст для драгоценных камней, выполненный с возможностью стационарной поддержки драгоценного камня непосредственно под увеличивающей линзой, расположенный относительно увеличивающей линзы таким образом, чтобы обеспечивать увеличенное изображение драгоценного камня у верхней поверхности увеличивающей линзы.

[12]

К недостаткам указанного решения следует отнести наличие линзы на верхней поверхности ювелирного изделия, что ставит под сомнение качество ювелирной конструкции у большинства потребителей.

[13]

Существует технология закрепки вставки непосредственно в алмазный диск, недостаток такой закрепки - очевидность алмазного диска, что нарушает эстетический вид изделия. Закрепка в алмазный диск - это стандартная корнеровая закрепка, которая предполагает расположение бриллианта в уровень с диском, либо чуть выше по уровню. При этом границы алмазного диска вокруг бриллианта видны невооруженным глазом, нет иллюзии целостности вставки. В алмазный диск чаще всего крепят бриллианты мелких диаметров (Галанин С.И., Г 15, Закрепка ювелирных камней и вставок: учеб. пособие / С.И. Галанин, О.А. Трошина. - Кострома: Изд-во Костром, гос. ун-та, 2019. - 67 с. ISBN 978-5-8285-1008-5).

[14]

Соответственно, задача настоящего изобретения состоит в том, чтобы предложить ювелирное изделие с бриллиантами, которое содержит расположенный в центре бриллиант, размер которого по внешнему виду намного превышает его фактический размер.

[15]

Технический результат настоящего изобретения состоит в том, чтобы получить визуально большой (по внешнему виду) размер бриллианта недорогим способом, обеспечивая при этом точную имитацию большого бриллианта.

[16]

Технический результат достигается тем, что предложен каст для ювелирного изделия, содержащий:

[17]

- алмазный диск, имеющий заданный диаметральный размер, при этом алмазный диск прикреплен в специальные пазы в основании каста и зафиксирован при помощи пайки;

[18]

- основание каста (поддон), выполненное с возможностью удерживания и поддержки алмазного диска за счет фиксации в пазы и при помощи ювелирной пайки;

[19]

- драгоценный камень, имеющий диаметральный размер меньший, чем диаметральный размер алмазного диска, и поверхность площадки, обращенную к алмазному диску, указанный драгоценный камень расположен в центре над алмазным диском, при этом драгоценный камень находится на расстоянии от алмазного диска;

[20]

- крапана, которые удерживают драгоценную вставку;

[21]

- каст для драгоценных камней, выполнен с возможностью стационарной поддержки драгоценного камня непосредственно над алмазным диском, расположенным относительно алмазного диска таким образом, чтобы обеспечивать увеличенное изображение драгоценного камня;

[22]

- каст со всей технологией в сборе может крепиться к шинке кольца или основе серьги, а также может быть отлит сразу целиком с основой серьги или шинкой кольца.

[23]

Также предложен способ визуального увеличения размера драгоценного камня, заключающийся в том, что в каст ювелирного изделия по п. 1 устанавливается алмазный диск с нарезанными гранями, имитирующими грани бриллианта, при этом диск по диаметру больше вставки на 0,7-1,4 мм, над диском крепится вставка на расстоянии 0,2-0,6 мм от поверхности алмазного диска, при этом за счет разности диаметров, выступающие части алмазного диска визуально увеличивают вставку, а за счет разности высот закрепки бриллианта и диска, диск не так очевиден, как при стандартной посадке вставки непосредственно в алмазный диск.

[24]

Более детально:

[25]

- драгоценный камень представляет собой бриллиант;

[26]

- алмазный диск представляет собой конструктивный элемент круглой формы;

[27]

- алмазный диск выполнен из драгоценного металла золота 585 или 750 пробы;

[28]

- каст для ювелирного изделия может быть применен в разных видах ювелирных изделий: кольцах, серьгах, подвесках, браслетах и пр.;

[29]

- создаваемое увеличение в 1,5-2 раза превышает фактический диаметр драгоценного камня;

[30]

- алмазный диск из белого золота покрыт декоративным родажом.

[31]

Краткое описание фигур:

[32]

Фиг. 1 - Представлено кольцо с технологией увеличения центральной вставки, вид спереди,

[33]

Фиг. 2 - Кольцо - вид сбоку,

[34]

Фиг. 3 - Кольцо - вид сверху,

[35]

Фиг. 4 - Серьга - пусета вид сверху,

[36]

Фиг. 5 - Серьга - пусета вид сбоку,

[37]

Фиг. 6 - Подвеска вид сверху,

[38]

Фиг. 7 - Схема сборки на примере кольца, вид сбоку. 1 этап - шинка и каст,

[39]

Фиг. 8 - Схема сборки на примере кольца, вид сверху. 1 этап - шинка и каст,

[40]

Фиг. 9 - Схема сборки на примере кольца, вид сбоку. 2 этап - шинка, каст, закреплена алмазная пластина,

[41]

Фиг. 10 - Схема сборки на примере кольца, вид сверху. 2 этап - шинка, каст, закреплен алмазный диск,

[42]

Фиг. 11 - Схема сборки на примере кольца, вид сбоку. 3 этап - шинка, каст, алмазный диск, закреплена драгоценная вставка (бриллиант),

[43]

Фиг. 12 - Подвеска на цепочке несъемная (колье), вид спереди.

[44]

Описание элементов:

[45]

1- ювелирный каст,

[46]

2 - алмазный диск,

[47]

3 - драгоценная вставка (камень),

[48]

4 - крапана ювелирного каста,

[49]

5 - шинка ювелирного кольца,

[50]

6 - штифт пусет,

[51]

7 - замок пусет,

[52]

8 - петля ювелирной подвески.

[53]

Описание предложенной модели:

[54]

При выборе ювелирного изделия с бриллиантом грамотный потребитель в первую очередь обращает внимание на вставку (ее цвет и чистоту, каратную массу и размер). Вторым критерием при выборе чаще всего становится цена ювелирного изделия. Технология создана для того, чтобы уравновесить эти два критерия при выборе у потребителя. Ювелирное изделие с бриллиантом (крупным за счет технологии) по доступной цене - вот потребительская ценность данного вида закрепки (технологии).

[55]

Описание технологии: Изобретение уникальной технологии закрепки вставки в ювелирные изделия с использованием алмазного диска. Технология заключается в следующем: под центральной вставкой (бриллиант) внутри каста ниже по уровню закрепляется алмазный диск с целью максимального преломления и отражения света и, как результат, иллюзорно-визуального увеличения вставки.

[56]

Сущность изобретения заключается в том, что первоначально в каст кольца устанавливается алмазный диск с нарезанными гранями, имитирующими грани бриллианта. Диск по диаметру больше вставки в среднем на 0,7-1,4 мм. Далее над диском крепится вставка. За счет разности диаметров, выступающие части алмазного диска визуально увеличивают вставку. А за счет разности высот закрепки бриллианта и диска, диск не так очевиден, как при стандартной посадке вставки непосредственно в алмазный диск.

[57]

Предложенная технология закрепки визуально увеличивает вставку более чем в 1,5 раза, что повышает ее привлекательность для конечного потребителя, при этом, это не сказывается на цене изделия, так как это только визуальный прием. Помимо этого, вставка закреплена при данной технологии высоко над кольцом, а именно от 0,2 до 0,6 мм, позволяя солнечным лучам проникать в него со всех сторон. Каст высокий, может иметь различные дизайнерские решения, например, каст с квадратными крапанами или крапанами, инкрустированными бриллиантами.

[58]

Схема сборки каста: сначала в отлитую из драгоценного металла заготовку кольца (первые три элемента) крепят алмазный диск (вторые три элемента), далее при помощи крапанов крепят драгоценную вставку (нижние элементы). Технология может быть применена в различных видах изделий. Это кольца, серьги, подвески, колье, браслеты.

Как компенсировать расходы
на инновационную разработку
Похожие патенты