Изобретение относится к антенной технике и служит для приема и передачи сигналов Ka и Ku диапазонов спутниковых частот, с круговой и линейной поляризацией соответственно. Технический результат - прием и передача сигналов в двух разных спутниковых диапазонах, например Ku и Ka, в линейной и круговой поляризациях соответственно. Результат достигается тем, что предложена низкопрофильная двухдиапазонная спутниковая антенная система, содержащая первую группу из двух и более усеченных параболических рефлекторов с соответствующим количеством облучателей и субрефлекторов, первую волноводную сборку, включающую сумматоры/делители Т-образной формы, одномодовые волноводы прямоугольного сечения и вставки для точной настройки фаз сигналов, контроллер, шаговые двигатели по азимуту и углу места, причем первая группа рефлекторов образует первую антенну для приема и передачи сигналов круговой поляризации в спутниковом диапазоне частот, отличающаяся тем, что в нее введены вторая группа из двух и более усеченных рефлекторов с соответствующим количеством облучателей и субрефлекторов, механизм для управления по углу места для обеих групп и вторая волноводная сборка, аналогичная первой, при этом вторая группа рефлекторов образует вторую антенну для приема и передачи сигналов линейной поляризации в спутниковом диапазоне частот. 2 з.п. ф-лы, 9 ил.
1. Низкопрофильная двухдиапазонная спутниковая антенная система, содержащая первую группу из двух и более усеченных параболических рефлекторов с соответствующим количеством облучателей и субрефлекторов, первую волноводную сборку, включающую сумматоры/делители Т-образной формы, одномодовые волноводы прямоугольного сечения и вставки определенной толщины для точной настройки фаз сигналов, контроллер, шаговые двигатели по азимуту и углу места, причем каждый субрефлектор имеет асимметричную вытянутую седловидную форму, учитывающую геометрию усеченных рефлекторов, а облучатели совмещены с первыми поляризаторами и имеют два входа/выхода для составляющих сигналов первой и второй поляризаций, соответственно, при этом конструкция выполнена с возможностью поступления сигналов от облучателей через волноводы и вставки на боковые входы сумматоров/делителей Т-образной формы, где и происходит синфазное суммирование упомянутых сигналов от рефлекторов, причем первая группа рефлекторов образует первую антенну для приема и передачи сигналов круговой поляризации в спутниковом диапазоне частот, при этом центральные выводы сумматоров/делителей Т-образной формы являются первым входом/выходом антенной системы, отличающаяся тем, что в нее введены вторая группа из двух и более усеченных рефлекторов с соответствующим количеством облучателей и субрефлекторов, механизм для управления по углу места для обеих групп и вторая волноводная сборка, аналогичная первой, причем облучатели также совмещены с первыми поляризаторами, при этом вторая группа рефлекторов образует вторую антенну для приема и передачи сигналов линейной поляризации в спутниковом диапазоне частот, первые поляризаторы в облучателях обеих антенн служат для встречного преобразования сигналов круговой левой и правой поляризации в продольное излучение для одномодовых волноводов, а в конструкцию облучателей второй антенны дополнительно введены вторые поляризаторы, встречно преобразующие ортогональные сигналы линейной вертикальной и горизонтальной поляризации в сигналы круговой левой и правой поляризации, при этом между входом/выходом и трансивером первой и второй антенн установлено устройство для управления поляризацией, а выводы Rx и Тх трансиверов являются входами/выходами антенны. 2. Низкопрофильная двухдиапазонная спутниковая антенная система по п. 1, отличающаяся тем, что в первой и второй волноводных сборках изгибы имеют закругленную форму, что уменьшает фазовые искажения сигналов, причем верхняя и нижняя части волноводных сборок имеют одинаковые продольные размеры с одинаковым количеством изгибов в каждом направлении, и, таким образом, первая и вторая составляющие сигнала получают равную фазовую задержку при распространении по волноводным сборкам. 3. Низкопрофильная двухдиапазонная спутниковая антенная система по п. 1, отличающаяся тем, что на входе/выходе первой и второй антенн установлено устройство управления поляризацией сигнала, которое обеспечивает переключение поляризации на противоположную для антенны с круговой поляризацией и изменение угла наклона вектора поляризации для антенны с линейной поляризацией с целью достижения необходимого уровня кросс-поляризационной развязки.
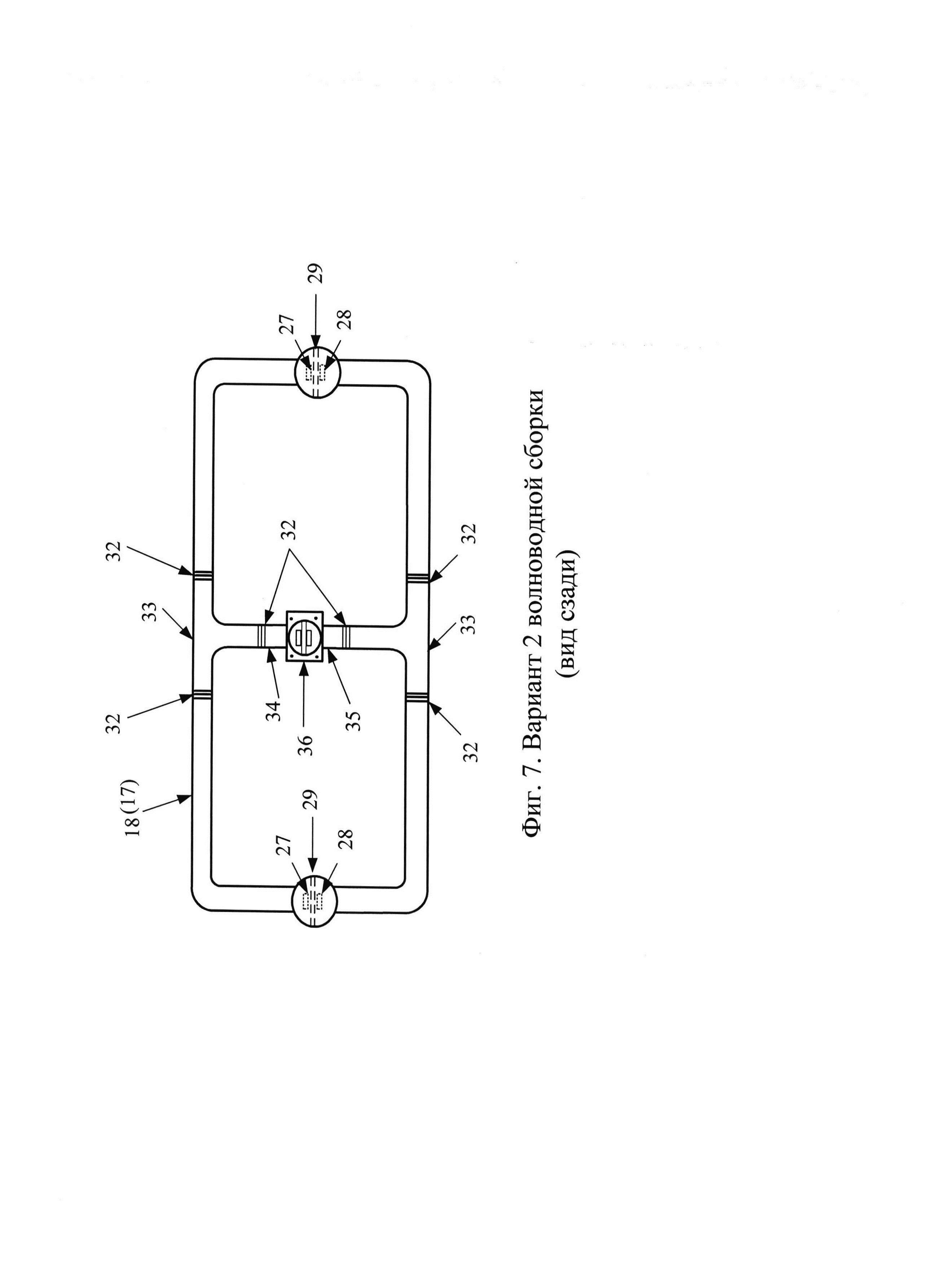
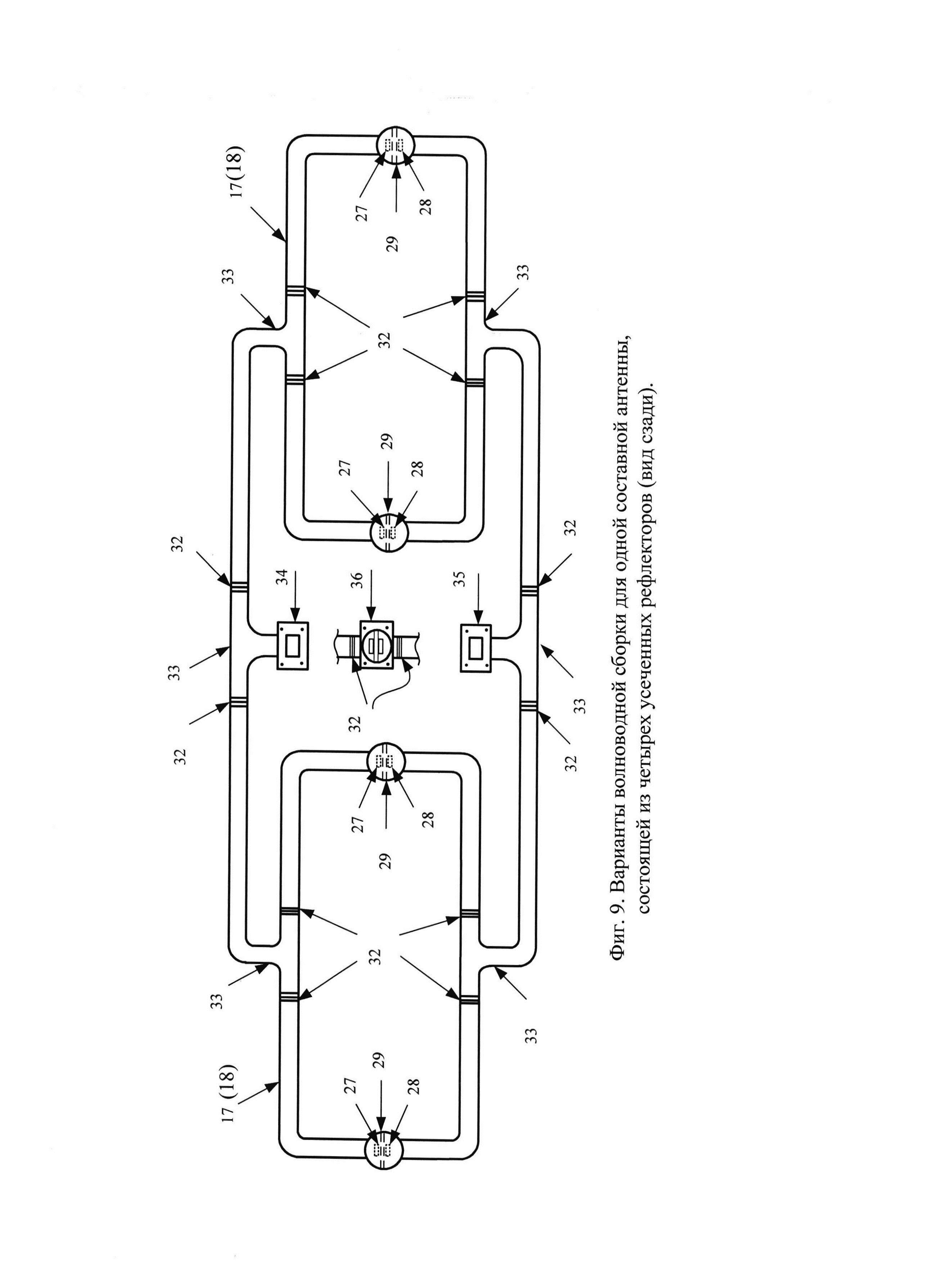
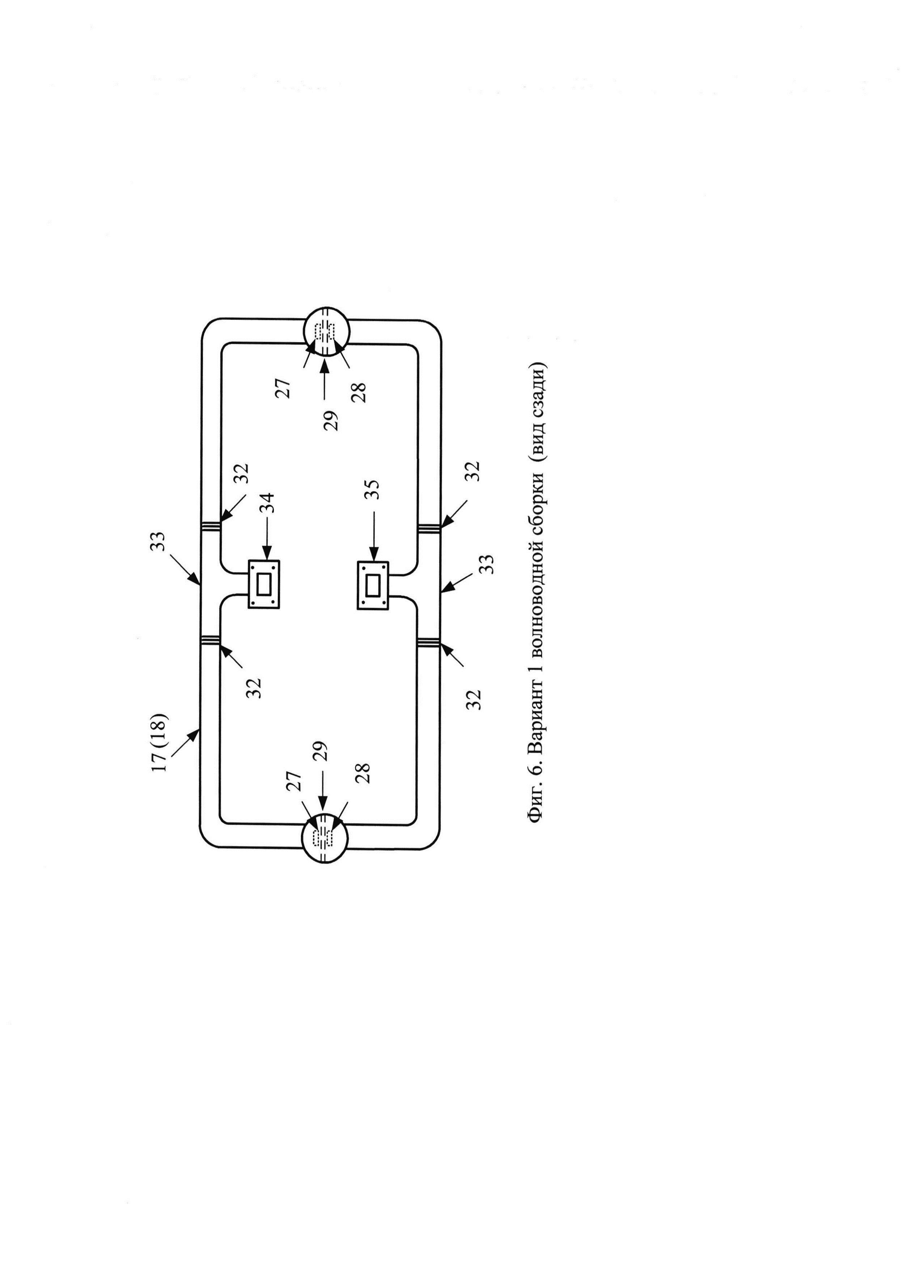
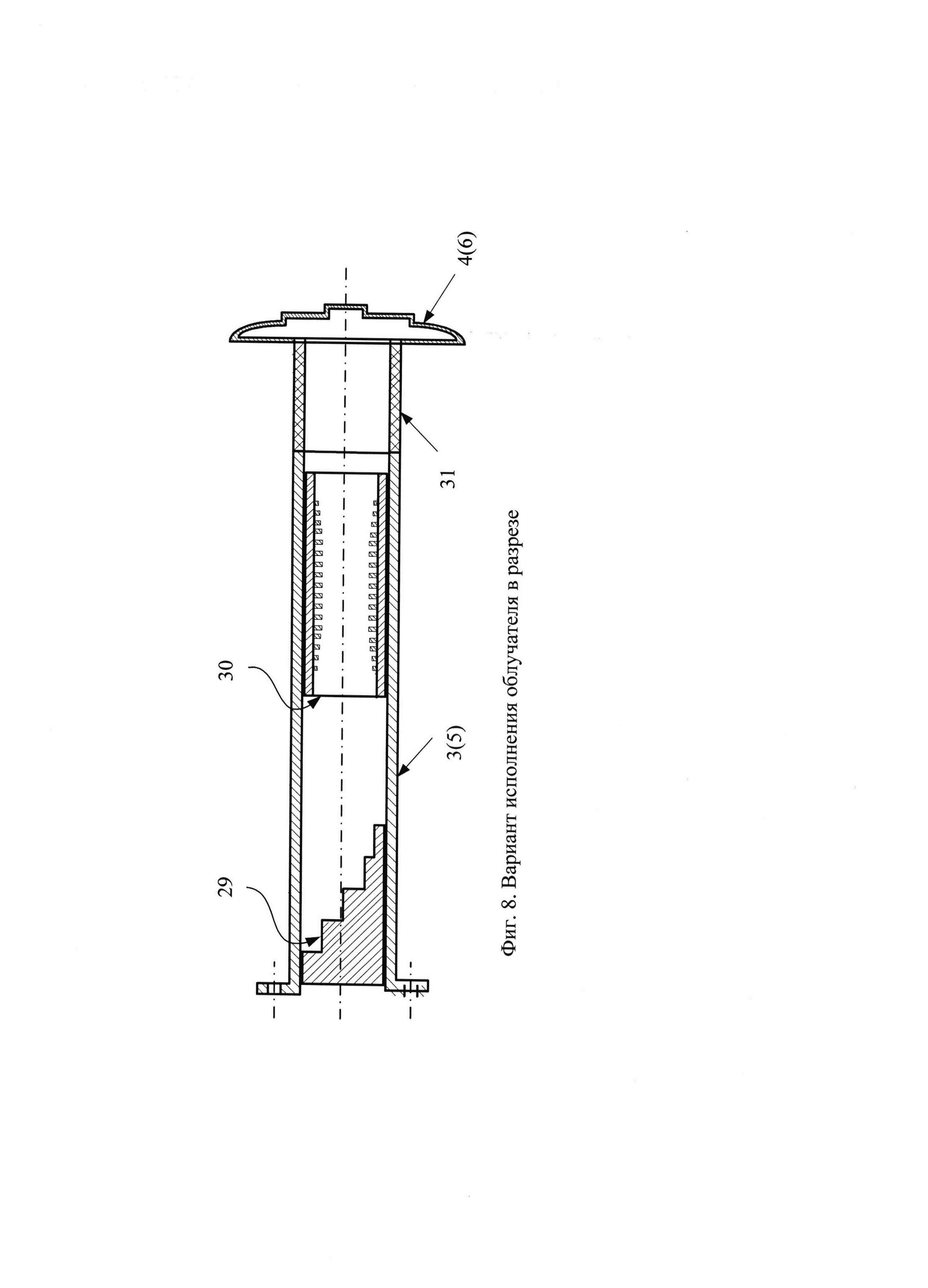
Изобретение относится к области антенных средств связи и может быть использовано для организации каналов спутниковой связи как на неподвижных, так и подвижных объектах, например, на самолетах, поездах, автомобилях и др. Потребности в услугах подвижной спутниковой связи SOTM (Satcom-On-The-Move) постоянно растут, и для их удовлетворения необходима организация высокоскоростных каналов в различных спутниковых частотных диапазонах, например, Ku и Ka с улучшенными электродинамическими характеристиками и малыми габаритами оборудования. Благодаря усовершенствованию приемо-передающего оборудования, используемого на спутниках связи, таких как HTS (High Throughput Satellites), на землю передаются более мощные сигналы, что позволяет использовать антенны с электромеханическим управлением диаграммой направленности и с жесткими требованиями к массогабаритным характеристикам. В свою очередь это способствует созданию низкопрофильных антенных систем для качественного приема и передачи сигналов в различных частотах спутникового диапазона и оснащения системами спутниковой связи транспортных средств различного типа. Одним из направлений решения задачи создания низкопрофильных антенных систем является применение в их составе усеченных параболических рефлекторов, которые просты в изготовлении, и имеют небольшие габариты. Известна [1 - Патент US №6,950,073 В2 "Communication system with broadband antenna" с приоритетом 27.09.2005 г.] система связи, включающая антенную решетку с питающей сетью, подключенной к коммуникационной электронике и содержащую множество антенн, каждая из которых приспособлена для приема информационного сигнала, и множество кросс поляризационных селекторов ОМТ, соединенных с соответствующими преобразователями из множества антенн, каждый ОМТ приспособлен для обеспечения первого компонентного сигнала, имеющего первую поляризацию, и второго компонентного сигнала, имеющего вторую поляризацию. Подсистема связи также содержит сеть подачи, которая принимает первый компонентный сигнал и второй компонентный сигнал от каждого кросс поляризационного селектора и выдает первый суммированный компонентный сигнал на первый порт подачи и второй суммированный компонентный сигнал на второй порт подачи, и устройство коррекции фазы, подключенное к первому и второму портам подачи адаптированное для согласования фазы первого суммированного компонентного сигнала со вторым суммированным компонентным сигналом. Недостатком данной антенны являются сложность изготовления линзовых антенн и их высокая стоимость. Известна [2 - Патент US №9,318,810 В2 "Ring focus antenna" с приоритетом 2.04.2015 г.] антенна для использования в мобильных и портативных спутниковых антенных системах, которая способна принимать/передавать сигналы с круговой и линейной поляризацией. Антенна включает в себя вогнутый основной рефлектор параболической формы, имеющий фокальный круг вокруг оси. Круглый волноводный рупор отходит от основного рефлектора концентрично этой оси. За дистальным концом рупора волновода установлен субрефлектор, при этом между субрефлектором и дистальным концом круглого рупора волновода остается кольцевой зазор. Недостатком данной антенны являются низкий коэффициент усиления сигнала и большая высота профиля. Известно [3 - Патент RU №2296397 С2 "Антенно-фидерное устройство и антенна, входящая в состав этого устройства." опубл. 27.03.2009 г. Бюл. №9.] устройство, содержащее четыре параболические антенны, расположенные в одной плоскости и согласующее устройство выполненное на базе делителей. Вход и четыре выхода согласующего устройства выполнены посредством отрезков двухмодовой линии передачи. Вход подсоединен к четырем выходам посредством отрезков одномодовой линии передачи. Делители расположены в одной плоскости. Два боковых плеча каждого из делителей подсоединены к соседним выходам, а центральные плечи с четырех сторон - к входу согласующего устройства. Фазовращатели. Делители мощности выполнены в виде Т-образных сочленений. Недостатками данной антенны являются большие габариты, а именно большая высота бокового профиля. Известна [4 - Патент RU №2 807 961 "Низкопрофильная составная спутниковая антенна" опубл. 21.11.2023 г. Бюл. №33.] антенна, содержащая два и более параболических усеченных рефлектора, контроллер, шаговые двигатели по азимуту и углу места, облучатели по количеству рефлекторов, каждый из которых содержит поляризатор и субрефлектор, при этом антенна имеет два входа/выхода для сигналов левой L и правой R поляризаций соответственно, причем сигналы с облучателей через одномодовые волноводы прямоугольного сечения поступают на боковые входы сумматоров/делителей Т-образной формы, а между волноводами и боковыми входами сумматоров/делителей расположены вставки выполняющие роль фазосдвигателей для точного согласования фаз сигналов, при этом на центральных выводах сумматоров/делителей формируются сигналы L и R, которые одновременно являются входами/выходами антенны. Недостатком данной антенны является ограниченные функциональные возможности, а именно она принимает/передает сигналы только в одном спутниковом диапазоне. Целью изобретения является расширение функциональных возможностей, заключающееся в том, что в одной антенной системе осуществляется прием и передача сигналов в двух разных спутниковых диапазонах, например, Ku и Ka, в линейной и круговой поляризациях, соответственно. Это достигается тем, что антенная система содержит две группы рефлекторов, причем каждая группа содержит два и более усеченных (с уменьшенными габаритами) параболоида, включая соответствующие облучатели с субрефлекторами и сумматорами/делителями принимаемых и передаваемых сигналов, при этом группы рефлекторов работают на разных спутниковых частотных диапазонах. Кроме указанного технического результата и преимуществ заявленного изобретения, следует отметить дополнительный результат, а именно упрощение изготовления антенных модулей и увеличение коэффициента усиления сигнала в каждом частотном диапазоне. Заявляемая совокупность элементов, их конструкция и форма исполнения, а также внутренние связи позволяют достичь поставленной цели за счет оригинального сочетания используемых в телекоммуникационных сетях приборов и устройств как в их прямом, так и в нестандартном применении. Изобретение иллюстрируется графически. Для упрощения описания приводится антенная система, состоящая из двух пар рефлекторов. На Фиг. 1. изображен общий аксонометрический вид антенной системы. На Фиг. 2. изображен фрагмент антенны (вид сбоку). На Фиг. 3. Общий вид антенной системы сверху. На Фиг. 4. Расположение волноводной сборки с трансивером (фрагмент антенны). На Фиг. 5. Расположение волноводной сборки (фрагмент антенны). На Фиг. 6. Вариант 1 волноводной сборки (вид сзади). На Фиг. 7. Вариант 2 волноводной сборки (вид сзади). На Фиг. 8. Вариант исполнения облучателя в разрезе. На Фиг. 9. Вариант волноводной сборки для одной составной антенны, состоящей из четырех усеченных рефлекторов (вид сзади). В состав низкопрофильной двухдиапазонной спутниковой антенной системы входит первая 1 и вторая 2 группы рефлекторов, первые облучатели 3, первые субрефлекторы 4, вторые облучатели 5, вторые субрефлекторы 6, контроллер 7, первая крепежная пластина 8, вторая крепежная пластина 9, первый шаговый двигатель 10, зубчатое колесо с приводом 11, второй шаговый двигатель 12, механизм с зубчатыми колесами 13, поворотная платформа 14 антенной системы, основание 15 антенной системы, стойки 16, первая 17 и вторая 18 волноводные сборки, кронштейн 19, ось вращения антенны 20, ребра жесткости 21, радиопрозрачный купол 22, трансивер 23, входы/выходы Rx и Тх 24 и 25, соответственно, устройство (механизм) управления поляризацией 26, волноводный канал первой поляризации 27, волноводный канал второй поляризации 28, первые поляризаторы 29, вторые поляризаторы 30, радиопрозрачная цилиндрическая вставка 31, вставки 32, сумматоры/делители 33, первый вход/выход 34 и 35 антенной системы, второй вход/выход 36 антенной системы. Первая группа рефлекторов 1 с первыми облучателями 3 и с первыми субрефлекторами 4 образуют приемопередающую первую антенну А круговой поляризации, например в спутниковом Ka диапазоне частот, а вторая группа рефлекторов 2 со вторыми облучателями 5 и со вторыми субрефлекторами 6 образуют приемопередающую вторую антенну В линейной поляризации, например в спутниковом Ки диапазоне частот, причем все рефлекторы первой 1 и второй 2 группы усечены со всех сторон с целью уменьшения габаритных размеров антенной системы, субрефлекторы изготовлены ассиметричной формы и оснащены увеличенными верхними и нижними периферийными ушками (удлинителями) в соответствии с известными принципами электродинамики и геометрической оптики, с целью минимизации диссипативных потерь. Рефлекторы, в зависимости от материала имеют два и более ребра жесткости 21. Стойки 16 расположены с одной сторон антенн, а кронштейны 19 с другой стороны антенн и основанием прикреплены к поворотной платформе 14, вращающейся по азимуту с помощью первого шагового двигателя 10 и зубчатого колеса с приводом 11, причем зубчатое колесо расположено по центру между основанием 15 и поворотной платформой 14 и прикреплено к неподвижному основанию 15 антенной системы. Первая и вторая группа рефлекторов вращаются относительно своих осей 20 по углу места, с помощью второго шагового двигателя 12 и механизма с зубчатыми колесами 13. Причем шаговые двигатели 10 и 12 закреплены на поворотной платформе 14, на которой также расположен контроллер 7, для управления системой. Первые 3 и вторые 5 облучатели выполнены в виде волноводов круглого сечения и в тыльной части имеют встроенные первые поляризаторы 29, а передняя часть имеет радиопрозрачную цилиндрическую вставку 31, первые поляризаторы выполнены, например, в виде пластин ступенчатой формы и выполняют роль селекторов круговой поляризации, преобразуют излучение круговой левой и правой поляризации распространяющееся в круглом волновом канале в направленное излучение в виде продольной волны в прямоугольных волноводах. Вторые облучатели 5 дополнительно имеют вторые поляризаторы 30 (Фиг. 8), для преобразования принимаемого сигнала линейной поляризации в круговую. Устройство 26 управления поляризацией обеспечивает переключение поляризации на противоположную для антенны А с круговой поляризаций и корректировку угла наклона вектора поляризации для антенны В с линейной поляризацией с использованием механического привода, и реализуется любым известным способом. Для антенны А сигналы первой поляризации, например, левой, через верхние части волноводной сборки 17 (Фиг. 4) поступают на боковые входы волноводного сумматора/делителя Т-образной формы 33, а сигналы второй поляризации, например, правой R, через нижние части волноводной сборки 17(18) поступают на боковые входы соответствующего волноводного сумматора/делителя Т-образной формы 33 (Фиг. 6). Между боковыми входами сумматоров/делителей 33 и прямоугольными одномодовыми волноводами расположены вставки 32, которые предназначены для изменения геометрических размеров волноводов, с целью точного регулирования фазы сигналов. Суммарные сигналы L и R с центральных выходов сумматоров/делителей 33 поступают на входы/выходы L и R 34 и 35, соответственно и используются как первые входы/выходы первой антенны. Описанная схема является полнофункциональной для сигналов со спутников Ка диапазона, которые используют круговую поляризацию. Суммарные сигналы L и R с выходов 34 и 35 (Фиг. 7) далее могут поступать на входы/выходы 36, которые при этом являются вторыми входами/выходами и одновременно переходником антенны для подключения соответствующего трансивера 23, имеющего входы/выходы в виде двух параллельных прямоугольных волноводов типа WR34, например, трансивер марки Gilat AN8053 и аналогичного. При географическом перемещении антенны из одного луча спутника в другой появляется необходимость переключения поляризации сигналов на прием и передачу на противоположную, для чего между входом/выходом 36 и трансивером 23 устанавлено устройство 26 управления поляризацией в котором производится переключение поляризации на противоположную, при этом устройство 26 выполнено любым известным способом. Например, путем двойного преобразования поляризации сигналов из линейной в круговую и обратно, как это предложено в патенте DE202009006651U1. Рефлекторы 1 и 2 групп, выполнены путем вращения параболической образующей вокруг оси вращения, причем фокус параболической образующей расположен вне оси вращения, а субрефлекторы 4 и 6 выполнены вращением эллиптической образующей вокруг той же оси вращения, вершины субрефлекторов обращены к рефлектору, причем один из фокусов эллиптической образующей расположен на оси вращения, а облучатель для каждой антенны расположен на оси вращения между параболической поверхностью и субрефлектором. Например, в соответствии с патентом РФ [4]. Вставки 32 выполняют роль фазосдвигателей, и представляют собой металлические пластины с прямоугольным вырезом по центру, в соответствии с размером волнового канала и толщиной, например, 0,2 мм. Подбор длины бокового плеча путем изменения количества вставок выполняет функцию регулирования фаз для корректного сложения сигналов плечей Т-образных сочленений. Вставки переносятся из одного плеча в другое с целью сохранения общей геометрии конструкции. Сдвиг фаз при сложении сигналов также может выполняться, например, за счет изменения электродинамических параметров прямоугольных волноводов боковых плеч Т-образных сочленений путем введения в них металлических стержней, установки диэлектрических пластин или другим известным способом. В волноводных сборках 17 и 18 (Фиг. 6., Фиг. 7., Фиг. 9.) изгибы закруглены для уменьшения фазовых искажений сигналов. Верхняя и нижняя части волноводных сборок имеют одинаковые продольные размеры и одинаковое количество изгибов в каждом направлении, таким образом, компоненты сигнала получают равную фазовую задержку при распространении по волноводным сборкам. Рефлекторы, волноводные сборки с облучателями и ребра жесткости закреплены на пластине 8, для антенны Ka диапазона и на пластине 9 для антенны Ки диапазона (Фиг. 4, Фиг. 5). Пластины 8 и 9 изготовлены, например, из алюминиевого сплава. При этом крепление и соединения элементов конструкции производятся любым известным способом. Вся конструкция антенной системы сверху закрыта радиопрозрачным куполом 22, который крепится к основанию 15 антенной системы. Примерами изготовления облучателя с поляризатором могут служить 1. "Двухзеркальная антенна. Патент RU №2474936 Опубл. 10.02.2013 г. Бюл. №14 "; 2. "Двухзеркальная антенна. Патент RU №2474934 Опубл. 10.02.2013 г. Бюл. №14 "; 3. "Компактное устройство ОМТ. Патент US 9,147,921 В2, 29.029, 2015"; 4. "Поворотная СВЧ муфта. Патент DE 202009006651 U1, 2009.08.27." Для работы антенны В со спутниковыми сигналами линейной поляризации, например Ku диапазона, в облучателях 5 применяется двойное преобразование электромагнитного излучения из линейной поляризации в круговую и далее, по аналогии с антенной А, из круговой в плоско поляризованный сигнал. Для этого в круглый волновой канал облучателя помещается второй 30 поляризатор диафрагменного типа, который преобразует линейно поляризованное излучение с ортогональными векторами горизонтальной и вертикальной составляющих в круговое излучение левое и правое. Поляризатор диафрагменного типа 30 конструктивно устанавливается перед ступенчатым поляризатором (Фиг. 8). Таким образом, приемо-передающий тракт антенны В после диафрагменного поляризатора работает аналогично описанному выше тракту антенны А для круговой поляризации. Диафрагменный второй поляризатор 30 имеет малые габариты, и конструктивно представляет собой участок волновода круглого сечения, переходящий в квадратное сечение, при этом две противоположные внутренние стенки квадратного волнового канала выполнены гладкими, а две другие рифлеными. Диафрагменный поляризатор преобразует принимаемый сигнал из линейной ортогональной поляризации в круговую левую и правую. Ступенчатый первый 29 поляризатор, стоящий следом за диафрагменным, устанавливается в задней части облучателя. При этом на вход ступенчатого поляризатора поступают сигналы круговой левой и правой поляризации, которые далее преобразуются в плоско поляризованные сигналы, как это рассматривалось выше для Фиг. 6. Так как все описанные элементы волноводного тракта антенн А и В пассивные и широкополосные, то эта схема работает аналогично и в обратном направлении, т.е. в режиме передачи сигнала на спутник. Регулировка угла наклона вектора линейной поляризации в антенне В, с целью получения необходимого уровня кросс поляризационной развязки осуществляется устройством 26 любым известным способом, например, с использованием устройства "Двухканальная коррекция поляризации", патент DE 102015108154 В4, 2020.03.26. Такое устройство устанавливается между входом/выходом 36 и входом/выходом трансивера. Для обеспечения поиска и сопровождения спутника, в состав антенной системы дополнительно могут входить электронные устройства, такие как малошумящий блок конвертор (LNB), гироскопы с акселерометрами, навигационный приемник, блок питания и другие. Антенная система работает следующим образом. Для описания рассмотрим двухдиапазонную спутниковую антенную систему, содержащую первую и вторую группу рефлекторов, каждая из которых состоит, например, из двух усеченных параболоидов. В исходном положении первая группа рефлекторов антенна А, и вторая группа рефлекторов антенна В, имеют наклон под углом 45 градусов (Фиг. 1) относительно основания антенны. И, соответственно, если антенну А повернуть на угол 0 градусов, то антенна В будет направлена на угол 90 градусов и наоборот (Фиг. 3) В каждый момент времени активной является только одна из антенн А или В. Назначение активной антенны зависит от того, в зоне покрытия какого спутника Ка или Ки диапазона находится антенная система. После назначения активной антенны система будет осуществлять прием и передачу сигнала либо с линейной вертикальной и горизонтальной поляризацией в Ku диапазоне спутниковых частот, либо с круговой левой и правой поляризацией в Ka диапазоне спутниковых частот, соответственно. Причем прием и передача может осуществляться со спутников, расположенных как на геостационарной, так и на других спутниковых орбитах. Рассмотрим работу антенной системы для приема и передачи сигнала круговой поляризации в Ка диапазоне спутниковых частот. Соответственно активной будет антенна А. Антенна в процессе поиска спутника совершает движение по азимуту и углу места по определенному алгоритму. После наведения и настройки антенны на спутник, сигнал с последнего поступает на рефлекторы 1 первой группы, откуда попадает на первые субрефлекторы 4, и через первые облучатели 3 поступают в волноводные сборки 17 (Фиг. 5, Фиг. 6).Причем с помощью поляризаторов, расположенных в облучателях, на выходах последних получаем сигналы левой L и правой R составляющих в виде продольно поляризованной волны распространяющейся в прямоугольных волноводах. Сигналы поляризации L поступают на боковые входы одного волноводного Т-образного сумматора/делителя, с входа/выхода которого получаем суммарный сигнал поляризаций L от двух рефлекторов. Аналогично с входа/выхода другого волноводного Т-образного сумматора/делителя получаем суммарный сигнал поляризаций R, от двух рефлекторов. При этом для точного согласования фаз, между боковыми входами сумматоров/делителей и волноводами расположены, например, вставки необходимой толщины, которые позволяют согласовать геометрические размеры волноводных сборок. Аналогично работе антенно-фидерного тракта на прием осуществляется и режим передачи сигнала на спутник. В этом случае сигнал от внешнего источника подается на центральные входы/выходы волноводных Т-образных сумматоров/делителей. Причем, когда сборка работает в режиме приема, Т-образные соединения объединяют сигналы, принятые от каждого рефлектора для получения суммарного выходного сигнала. Когда сборка работает в режиме передачи, Т-образные соединения служат делителями мощности для равного разделения сигнала от одной точки запитки для подачи на каждый из рефлекторов. Далее рассмотрим работу антенной системы в режиме приема и передачи сигналов линейной поляризаций в Ku диапазоне спутниковых частот, соответственно активной будет являться антенна В. При работе с линейной поляризацией в волноводной сборке угол наклона ортогональных векторов определяется в контроллере расчетным путем на основании данных от навигационной подсистемы, например, ГЛОНАС и показаний датчиков пространственного расположения антенной системы. На основании расчетов выставляется угол наклона устройства 26 управления поляризацией, расположенного между входом/выходом 36 и входом/выходом трансивера 23, как это рассматривалось выше. Данная процедура необходима для достижения заданного значения уровня кросс-поляризационной развязки. При поиске спутника антенна совершает движение по азимуту и углу места по определенному алгоритму. После наведения и настройки антенны на спутник, сигнал с последнего поступает на рефлекторы 2 второй группы, откуда попадает на вторые субрефлекторы 6, и через вторые облучатели 5, поступают в соответствующие волноводные сборки 18 (Фиг. 4, Фиг. 7). Принимаемый сигнал сначала проходит через вторые 30 поляризаторы и преобразуется из линейной поляризации в круговую левую и правую. Далее, с помощью поляризаторов 29, на выходах 27 и 28 получаем горизонтальную X и вертикальную Y составляющие сигнала в виде продольно поляризованной волны, распространяющейся в прямоугольном волноводе. Составляющие X спутникового сигнала поступают на боковые входы верхнего волноводного Т-образного сумматора/делителя, с центрального выхода которого передается суммарный сигнал от двух рефлекторов, поступающий на одну часть второго входа/выхода 36 антенны (Фиг. 7). Аналогично составляющие Y спутникового сигнала поступают на боковые входы нижнего волноводного Т-образного сумматора/делителя, с центрального выхода которого получаем суммарный сигнал от двух рефлекторов, поступающий на вторую часть второго входа/выхода 36 антенны (Фиг. 7). При этом для точного согласования фаз, между боковыми и центральными входами/выходами сумматоров/делителей и волноводами расположены, например, вставки необходимой толщины, которые изменяют геометрический размер волноводной сборки. Таким образом, на вход/выход 36 поступает суммарный сфазированный сигнал от антенны В в виде составляющих X и Y. Составляющие X и Y являются компонентными сигналами, в состав которых входят в определенных пропорциях сигналы вертикальной V и горизонтальной Н поляризаций. В устройстве 26 управления поляризацией производится разделение сигнала на составляющие вертикальной V и горизонтальной Н с необходимым уровнем кросс-поляризационной развязки. Для каждой антенны А и В к входу/выходу 36 через устройство 26 управления поляризацией может быть подключен, например, соответствующего типа трансивер 23. В таком случае входом/выходом антенны становятся входы/выходы Rx и Тх 24 и 25 соответственно (Фиг. 4). Также вместо трансивера могут быть подключены отдельные устройства типа малошумящего усилителя (LNB) и усилителя мощности (BUC). Работа антенно-фидерного тракта в режиме передачи сигнала на спутник осуществляется аналогично рассмотренной работе в режиме приема, как это было описано выше для антенны А. Так как первые 1 и вторые 2 рефлекторы усечены, то это приводит к тому, что диаграмма направленности антенны неравномерна в радиальном направлении относительно своей центральной оси. Для учета данного эффекта, используя известные приемы электродинамики и геометрической оптики, первые 4 и вторые 6 субрефлекторы выполнены ассиметричной формы и оснащены увеличенными периферийными ушками или удлинителями, что учитывает отсутствие усеченных частей рефлекторов и позволяет снизить уровни диссипативных потерь в режиме передачи и паразитных шумов в режиме приема. Для дополнительного увеличения коэффициента усиления сигнала увеличивают габариты (в основном высоту) рефлекторов, и если имеется ограничение, то увеличивают количество рефлекторов. Например, если добавляются еще один или несколько рефлекторов, то соответственно, дополнительно вводятся облучатели с поляризаторами и субрефлекторами и сумматоры/делители Т-образной формы с соответствующими волноводами и вкладками (Фиг. 9.). Использование в 1 и 2 группе двух и более усеченных параболических рефлекторов позволяет изготовить низкопрофильную двухдиапазонную спутниковую приемопередающую антенну с заданным коэффициентом усиления. Например, антенна из двух рефлекторов с коэффициентом усиления эквивалентным симметричной параболе диаметром 50 см, может иметь высоту бокового профиля около 20 см. Изобретение соответствует критерию "изобретательский шаг", так как включает совокупность существенных признаков с соответствующими связями, а именно две группы усеченных рефлекторов, облучатели с поляризаторами, субрефлекторы вытянутой седловидной формы учитывающие геометрию усеченных рефлекторов, контроллер, шаговые двигатели по азимуту и углу места с соответствующими механизмами. Техническое решение является новым, так как указанная совокупность существенных признаков позволяют изготовить двухдиапазонную приемопередающую спутниковую антенну с низким профилем и с высоким коэффициентом усиления, что в свою очередь позволяет устанавливать антенную систему на подвижных объектах с жесткими требованиями к массогабаритным характеристикам. Заявляемая двухдиапазонная приемопередающая низкопрофильная следящая спутниковая антенная система может быть реализована с использованием существующей аппаратуры и оборудования, средств электротехники и связи, телекоммуникационных средств, вычислительной техники и является "промышленно применимым". 1. Патент US №6,950,073 В2 "Communication system with broadband antenna" с приоритетом 27.09.2005 г. 2. Патент US №9,318,810 В2 "Ring focus antenna" с приоритетом 2.04.2015 г. 3. Патент RU №2296397 С2 "Антенно-фидерное устройство и антенна, входящая в состав этого устройства." опубл. 27.03.2009 г. Бюл. №9. 4. Патент RU №2807961 "Низкопрофильная составная спутниковая антенна" опубл. 21.11.2023 г. Бюл. №33 (прототип).