патент
№ RU 2820530
МПК A01F12/39

СЕПАРИРУЮЩЕЕ УСТРОЙСТВО ЗЕРНОУБОРОЧНОГО КОМБАЙНА И ЗЕРНОУБОРОЧНЫЙ КОМБАЙН С СЕПАРИРУЮЩИМ УСТРОЙСТВОМ

Авторы:
ПЕЛЛЬМАНН, Маркус (DE)
Номер заявки
2020114893
Дата подачи заявки
27.04.2020
Опубликовано
05.06.2024
Страна
RU
Дата приоритета
18.12.2025
Номер приоритета
Страна приоритета
Как управлять
интеллектуальной собственностью
Чертежи 
5
Реферат

[77]

Группа изобретений относится к сельскому хозяйству. Сепарирующее устройство зерноуборочного комбайна содержит кожух впускной головки, подающий барабан и два осевых сепарирующих ротора, которые одним концом частично входят в кожух впускной головки. Кожух впускной головки содержит плоские входные участки, каждый из которых проходит по ширине соответствующего осевого сепарирующего ротора, между которыми расположен участок кожуха в форме рампы, ориентированный параллельно направлению подачи осевых сепарирующих роторов и поддерживающий разделение потока убираемой культуры, поступающего из подающего барабана, на частичные потоки, подаваемые в осевые сепарирующие роторы. Участок кожуха в форме рампы снабжен по меньшей мере одним разделительным элементом, изготовленным по меньшей мере из одного первого материала. По меньшей мере один разделительный элемент содержит основной корпус, ориентированный перпендикулярно поверхности участка кожуха, и торцевую поверхность, частично выполненную в виде режущей кромки. На торцевой поверхности по меньшей мере частично нанесено покрытие из износостойкого второго материала, расположенное, по существу, по центру в продольном направлении торцевой поверхности. Покрытие выполнено в виде полосы или ленты, ширина которой меньше общей ширины торцевой поверхности. Зерноуборочный комбайн содержит такое сепарирующее устройство. Обеспечивается усовершенствование сепарирующего устройства и увеличение его срока службы. 2 н. и 8 з.п. ф-лы, 6 ил.

Формула изобретения

1. Сепарирующее устройство (6) зерноуборочного комбайна, содержащее кожух (17) впускной головки, подающий барабан (5) и два осевых сепарирующих ротора (8), которые одним концом частично входят в кожух (17) впускной головки, причем кожух (17) впускной головки содержит плоские входные участки (22), каждый из которых проходит по ширине соответствующего осевого сепарирующего ротора (8), между которыми расположен участок (23) кожуха в форме рампы, ориентированный параллельно направлению подачи осевых сепарирующих роторов (8) и поддерживающий разделение потока убираемой культуры, поступающего из подающего барабана (5), на частичные потоки, подаваемые в осевые сепарирующие роторы (8), причем участок (23) кожуха в форме рампы снабжен по меньшей мере одним разделительным элементом (24, 27), изготовленным по меньшей мере из одного первого материала, отличающееся тем, что по меньшей мере один разделительный элемент (24, 27) содержит основной корпус (28), ориентированный перпендикулярно поверхности участка (23) кожуха, и торцевую поверхность (29), частично выполненную в виде режущей кромки, причем на торцевой поверхности (29) по меньшей мере частично нанесено покрытие (30) из износостойкого второго материала, расположенное, по существу, по центру в продольном направлении торцевой поверхности (29), при этом покрытие (30) выполнено в виде полосы или ленты, ширина которой меньше общей ширины торцевой поверхности (29).

2. Устройство (6) по п. 1, отличающееся тем, что первый материал представляет собой высокопрочную сталь, а второй материал – композиционный материал с металлической матрицей.

3. Устройство (6) по п. 1 или 2, отличающееся тем, что покрытие (30) нанесено методом наплавки сваркой.

4. Устройство (6) по одному из пп. 1-3, отличающееся тем, что торцевая поверхность (29) имеет, по существу, волнистый или пилообразный профиль.

5. Устройство (6) по п. 4, отличающееся тем, что покрытие (30) нанесено по всему продольному протяжению торцевой поверхности.

6. Устройство (6) по одному из пп. 1-3, отличающееся тем, что торцевая поверхность (29) имеет, по существу, зубчатый профиль, причем зубчатый профиль образован чередующимися, по существу, горизонтальными участками (31), ориентированными в продольном направлении разделительного элемента (24, 27), и участками (32), ориентированными, по существу, перпендикулярно этим участкам.

7. Устройство (6) по п. 6, отличающееся тем, что покрытие (30) нанесено только на вертикальные участки (32), ориентированные, по существу, перпендикулярно горизонтальным участкам (31).

8. Устройство (6) по одному из предыдущих пунктов, отличающееся тем, что подающий барабан (5) в области участка (23) кожуха в форме рампы снабжен разделительными элементами (27), последовательно расположенными в окружном направлении.

9. Устройство (6) по п. 8, отличающееся тем, что каждые два разделительных элемента (27) подающего барабана (5) расположены парным образом рядом друг с другом, причем разделительные элементы (27) каждой пары сходятся друг к другу в направлении (DR) вращения подающего барабана (5).

10. Зерноуборочный комбайн (20) с сепарирующим устройством (6), отличающийся тем, что сепарирующее устройство (6) выполнено в соответствии с одним из предыдущих пунктов.

Описание

[1]

Область техники, к которой относится изобретение

[2]

Предложенное изобретение относится к сепарирующему устройству с признаками, раскрытыми в ограничительной части пункта 1 формулы изобретения. Кроме того, изобретение относится к зерноуборочному комбайну с сепарирующим устройством.

[3]

Уровень техники

[4]

Сепарирующее устройство и комбайн с сепарирующим устройством раскрыты в патентной заявке ЕР 2965614 В1. Сепарирующее устройство содержит кожух впускной головки, подающий барабан и два осевых сепарирующих ротора, одним концом частично входящие в кожух впускной головки. Убираемая культура транспортируется подающим барабаном тангенциального действия, расположенным над входным участком перед отверстиями осевых сепарирующих роторов. Кожух впускной головки содержит плоские входные участки, каждый из которых проходит по ширине соответствующего осевого сепарирующего ротора; между этими участками расположен участок кожуха в форме рампы, ориентированный параллельно направлению подачи осевых сепарирующих роторов и поддерживающий разделение потока убираемой культуры, поступающего из подающего барабана и состоящего преимущественно из соломы, стеблей и т.п., на частичные потоки, подаваемые в осевые сепарирующие роторы. На участке кожуха в форме рампы находится по меньшей мере один разделительный элемент, изготовленный из первого материала и расположенный частично в окружном направлении подающего барабана. Участок кожуха в форме рампы, поднимающийся в вертикальном направлении, и расположенный на нем разделительный элемент имеют вогнутый профиль и способствуют сепарации или разделению подаваемой убираемой культуры с целью равномерной загрузки осевых сепарирующих роторов. При этом сепарирующий элемент воздействует на набегающую убираемую культуру как режущий нож, то есть разрезает или измельчает культуру при прохождении через сепарирующий элемент. В частности, срок службы сепарирующего элемента, частично выступающего в поток убираемой культуры, снижается вследствие абразивного действия набегающей убираемой культуры.

[5]

Раскрытие сущности изобретения

[6]

Таким образом, задачей настоящего изобретения является усовершенствование сепарирующего устройства вышеупомянутого типа и увеличение его срока службы.

[7]

Поставленная задача решена сепарирующим устройством с признаками, раскрытыми в независимом пункте 1 формулы изобретения.

[8]

Выгодные варианты осуществления раскрыты в зависимых пунктах формулы.

[9]

Согласно пункту 1 формулы предложено сепарирующее устройство, содержащее кожух впускной головки, подающий барабан и два осевых сепарирующих ротора, одним концом частично входящие в кожух впускной головки, причем кожух впускной головки содержит плоские входные участки, каждый из которых проходит по ширине соответствующего осевого сепарирующего ротора, между которыми расположен участок кожуха в форме рампы, ориентированный параллельно направлению подачи осевых сепарирующих роторов и поддерживающий разделение потока убираемой культуры, поступающего из подающего барабана, на частичные потоки, подаваемые в осевые сепарирующие роторы, причем участок кожуха в форме рампы снабжен по меньшей мере одним разделительным элементом, изготовленным по меньшей мере из одного первого материала, причем по меньшей мере один разделительный элемент содержит основной корпус, ориентированный перпендикулярно поверхности участка кожуха, и торцевую поверхность, частично выполненную в виде режущей кромки, причем на торцевую поверхность по меньшей мере частично нанесено покрытие из более износостойкого второго материала, расположенное, по существу, по центру в продольном направлении торцевой поверхности. При этом покрытие наносят, по существу, в виде полосы или ленты, ширина которой меньше общей ширины торцевой поверхности. В результате во время работы сепарирующего устройства участки торцевой поверхности, прилегающие к покрытию и изготовленные из первого материала, подвергаются износу в большей степени, то есть изнашиваются более интенсивно. Это приводит к симметричной самозатачивающейся геометрии режущей кромки. Кроме того, путем подбора первого материала можно влиять на геометрию и/или срок службы режущей кромки. Так, например, использование более мягкого первого материала для изготовления основного корпуса может увеличивать остроту режущей кромки, так как поверхности, прилегающие к режущей кромке сбоку, изнашиваются быстрее торцевой поверхности, которая по меньшей мере частично покрыта более износостойким вторым материалом.

[10]

В частности, разделительный элемент может быть установлен на участке кожуха с возможностью отсоединения. Это упрощает замену или дополнительную установку разделительного элемента.

[11]

Предпочтительно, в качестве первого материала можно использовать высокопрочную сталь, а в качестве второго материала - композиционный материал с металлической матрицей. Композиционный материал с металлической матрицей может представлять собой карбид вольфрама или плавленый карбид вольфрама с матрицей из ферросплава, никелевого сплава или никеля.

[12]

Предпочтительно, покрытие может быть нанесено методом наплавки сваркой. В частности, покрытие может быть нанесено методом лазерной или плазменно-порошковой наплавки. Особенно предпочтительна лазерная наплавка, так как при использовании этого метода в разделительный элемент, на который наносят покрытие, передается меньше тепла, чем при обычной наплавки сваркой.

[13]

В частности, торцевая поверхность может иметь, по существу, волнистый профиль. В альтернативном варианте торцевая поверхность может иметь, по существу, пилообразный профиль. Профиль торцевой стороны, образующей режущую кромку разделительного элемента, влияет на эффективность резания или разделения. Благодаря исполнению с возможностью замены разделительный элемент можно заменять в зависимости от обрабатываемой культуры.

[14]

Предпочтительно, покрытие может быть нанесено по всему продольному протяжению торцевой поверхности. Это выгодно, в том числе, с точки зрения технологии производства. Кроме того, при этом на торцевой поверхности образуется сплошная износостойкая режущая кромка.

[15]

В предпочтительном варианте осуществления торцевая поверхность может иметь зубчатый или пилообразный профиль, причем зубчатый или пилообразный профиль образован чередующимися, по существу, горизонтальными участками, ориентированными в продольном направлении разделительного элемента, и по существу, вертикальными участками, ориентированными перпендикулярно этим участкам. В отличие от волнистого профиля торцевой поверхности зубчатый или пилообразный профиль более агрессивно воздействует на убираемую культуру.

[16]

При этом покрытие может быть нанесено только на вертикальные участки, по существу, перпендикулярные горизонтальным участкам. Это сокращает затраты на нанесение покрытия. Покрытие может быть нанесено только на торцевые поверхности вертикальных участков разделительного элемента, которые в соответствии с направлением вращения подающего барабана вводятся в транспортируемый поток убираемой культуры, осуществляя функцию разделения или разрезания, и, следовательно, подвергаются наибольшему износу. Горизонтальные участки подвержены износу в значительно меньшей степени, поэтому, если выбрать для них подходящий первый материал, можно обеспечить достаточный срок службы даже в отсутствие покрытия этих участков вторым материалом.

[17]

Кроме того, подающий барабан в области участка кожуха в форме рампы может быть снабжен несколькими разделительными элементами, расположенными последовательно в окружном направлении. Разделительные элементы расположены в центральной части подающего барабана. Это позволяет повысить эффективность разрезания или разделения за счет взаимодействия с разделительным элементом, установленным на участке кожуха.

[18]

В частности, каждые два разделительных элемента подающего барабана могут быть расположены парным образом друг рядом с другом, причем разделительные элементы каждой пары сходятся друг к другу в направлении вращения подающего барабана. Полученная в результате клиновидная форма пары разделительных элементов приводит к тому, что разделительный элемент на участке кожуха служит противорежущей пластиной для соответствующего острия пары разделительных элементов на вращающемся подающем барабане.

[19]

Кроме того, поставленная задача решена зерноуборочным комбайном с сепарирующим устройством, отличающимся тем, что сепарирующее устройство выполнено в соответствии с одним из предыдущих пунктов. Сепарирующее устройство может быть выполнено в качестве разделительного устройства, работающего по принципу осевого потока, перед которым установлено молотильное устройство, работающее по принципу тангенциального потока. Кроме того, сепарирующее устройство может быть выполнено в виде молотильно-сепарирующего устройства, работающего по принципу осевого потока, в котором процессы обмолота и сепарации осуществляются одновременно посредством осевых сепарирующих роторов соответствующей конструкции.

[20]

Краткое описание чертежей

[21]

Настоящее изобретение подробно описано ниже на примере вариантов осуществления со ссылкой на фигуры, на которых изображено:

[22]

Фигура 1: схематичный вид фрагмента самоходного зерноуборочного комбайна.

[23]

Фигура 2: вид в изометрии кожуха впускной головки сепарирующего устройства.

[24]

Фигура 3: вид в изометрии кожуха 17 впускной головки согласно фигуре 2 без подающего барабана.

[25]

Фигура 4: схематичный вид в аксонометрии разделительного элемента.

[26]

Фигура 5: схематичный вид в аксонометрии разделительного элемента, установленного на подающем барабане.

[27]

Фигура 6: схематичный вид в аксонометрии другого варианта осуществления разделительного элемента согласно фигуре 5.

[28]

Осуществление изобретения

[29]

На фигуре 1 схематично изображен фрагмент зерноуборочного комбайна 20. В передней части зерноуборочного комбайна 20, не показанной на фигуре, обрабатываемая культура захватывается навесным агрегатом и транспортируется на молотильное устройство 2 тангенциального действия транспортером 1, выполненным в виде наклонной камеры и показанным лишь частично. Молотильное устройство 2 содержит по меньшей мере один молотильный барабан 3, ось которого ориентирована перпендикулярно направлению движения зерноуборочного комбайна 20, и который частично окружен декой 4 молотильного барабана. Часть потока убираемой культуры, обработанная молотильным устройством 2, поступает через отверстия в деке 4 молотильного барабана на расположенную ниже транспортную доску 11 прямого хода.

[30]

Тем не менее, большая часть потока убираемой культуры проходит между молотильным барабаном 3 и декой 4 молотильного барабана и, посредством направляющего или подающего барабана 5, поступает в сепарирующее устройство 6, работающее по принципу осевого потока. Сепарирующее устройство 6, схематично изображенное на фигуре, выполнено в виде по меньшей мере одного цилиндрического кожуха 7 с открытыми концами, в котором на всем его протяжении установлено два осевых сепарирующих ротора 8, выполненных в виде подающих элементов с возможностью приведения по вращение. За счет встречного вращения осевых сепарирующих роторов 8 убираемую культуру транспортируют по спиральной траектории через сепарирующее устройство 6. Ребра 9, выступающие от верхней стороны кожуха 7 во внутреннее пространство кожуха, способствуют перемешиванию убираемой культуры, если внешний край спирали 18 осевого сепарирующего ротора 8 проходит вдоль них. Нижняя часть кожуха 7 образована корзинами 10 сепаратора. Передний конец осевого сепарирующего ротора 8 проходит в кожух 17 впускной головки, показанный на фигуре 2.

[31]

Компоненты части потока, выходящего из сепарирующего устройства 6 (по существу, зерна, мякина и короткая солома), которые выводятся из сепарирующего устройства 6 через отверстия в корзинах 10 сепаратора, падают на расположенную ниже транспортную доску 11 прямого ход или транспортную доску 12 обратного хода.

[32]

Крупная солома, максимально освобожденная от зерна во время прохождения через сепарирующее устройство 6, выбрасывается из задней части сепарирующего устройства 6 и через желоб 13 падает на землю или поступает в измельчающее и распределяющее устройство 21. Таким образом, молотильное устройство 2 и сепарирующее устройство 6 образуют первую ступень отделения или сепарации.

[33]

Вторая ступень сепарации или очистки образована, по существу, воздуходувным устройством 14 и группой 15 решет, расположенных на пути движения воздушного потока воздуходувного устройства 14; эти решета установлены с возможностью колебания в раме, не показанной на фигуре, и загружаются предварительно очищенной убираемой культурой, поступающей потоком с транспортной доски 11 прямого хода. Зерно, содержащееся в предварительно очищенной части потока культуры, поступает через качающиеся решета 15 на наклонную первую направляющую доску 16. В нижней части направляющей доски 16 находится шнековый транспортер 19, транспортирующий зерно в элеватор и далее в зерновой бункер.

[34]

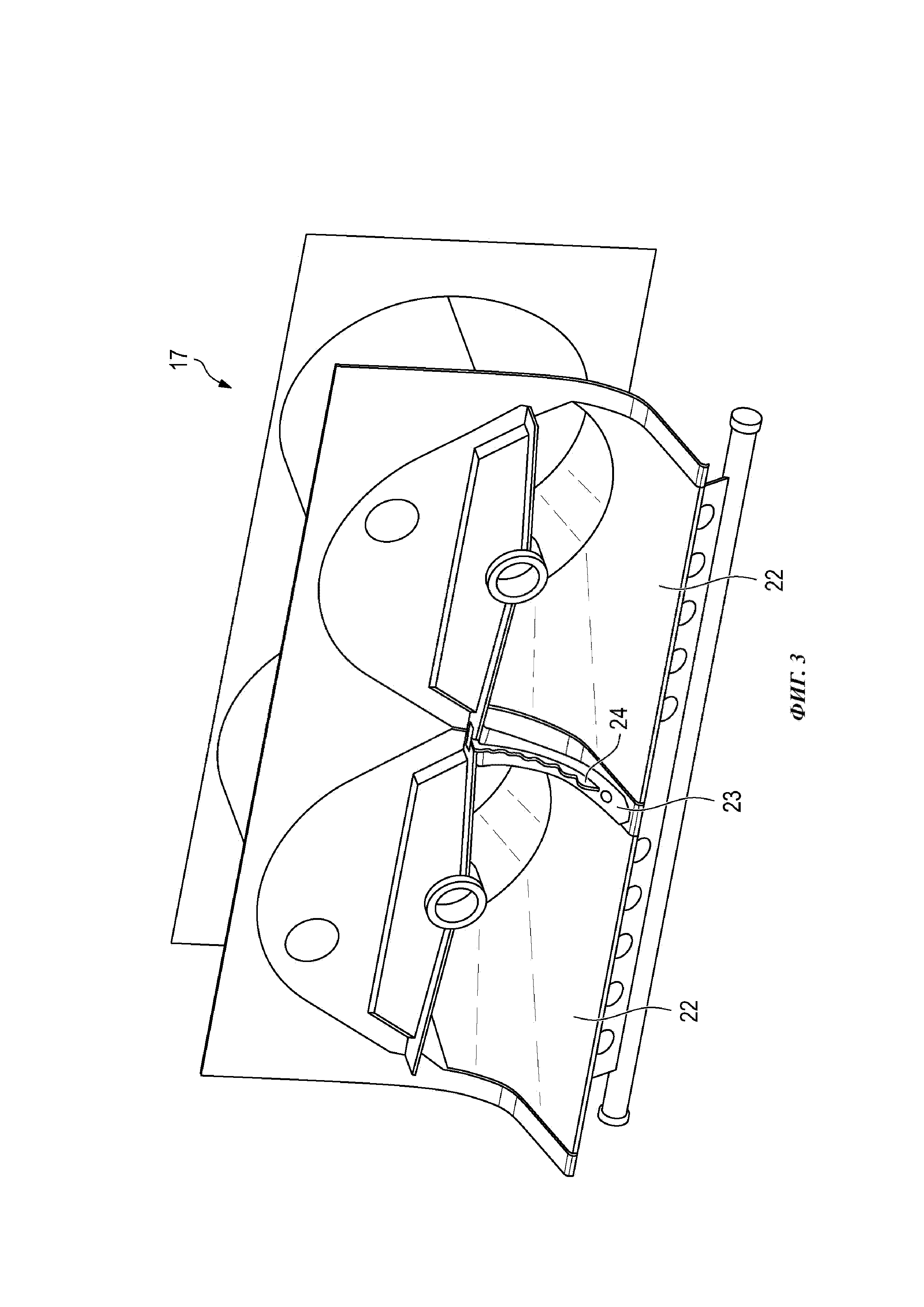
На фигуре 2 в изометрии изображен кожух 17 впускной головки сепарирующего устройства. При этом на фигуре 2 кожух 17 впускной головки изображен с расположенным перед ним подающим барабаном, вращающимся вокруг оси 25 в направлении DR вращения. На фигуре 3 в изометрии изображен кожух 17 впускной головки без подающего барабана 5. Кожух 17 впускной головки содержит плоские входные участки 22, каждый из которых проходит по ширине соответствующего осевого сепарирующего ротора 8 и частично проходит под подающим барабаном 5. Между двумя входными участками 21 находится участок 23 кожуха в форме рампы, имеющий, по существу, вогнутый профиль и ориентированный частично в окружном направлении подающего барабана 5. На участке 23 кожуха расположен разделительный элемент 24, имеющий, по существу, форму лезвия. Разделительный элемент 24 ориентирован, по существу, в продольном направлении участка 23 кожуха, причем его контур, по существу, соответствует контуру участка 23 кожуха. Разделительный элемент 24, предпочтительно, установлен на участке 23 кожуха с возможностью отсоединения, что позволяет легко заменять его, например, вследствие износа или для адаптации к различным видам сельскохозяйственных культур. Для этого разделительный элемент 24 может быть привинчен к кожуху 17 впускной головки.

[35]

В области участка 23 кожуха в форме рамы подающий барабан 5 снабжен несколькими разделительными элементами 27, последовательно расположенными в окружном направлении. Для этого в центральной части подающего барабана 5 находятся установленные в форме буквы V или V-образные направляющие пластины 26. Направляющие пластины 26 друг за другом в окружном направлении подающего барабана 5 и отходят наружу в радиальном направлении от обечайки подающего барабана 5. На наружных сторонах направляющих пластин 26 расположены разделительные элементы 27. Разделительный элемент 24 взаимодействует с разделительными элементами 27 вращающегося подающего барабана 5, разделяя и измельчая убираемую культуру. При этом неподвижный разделительный элемент 24 служит своеобразной противорежущей пластиной для разделительных ножей 27 на направляющих пластинах 26 подающего барабана 5.

[36]

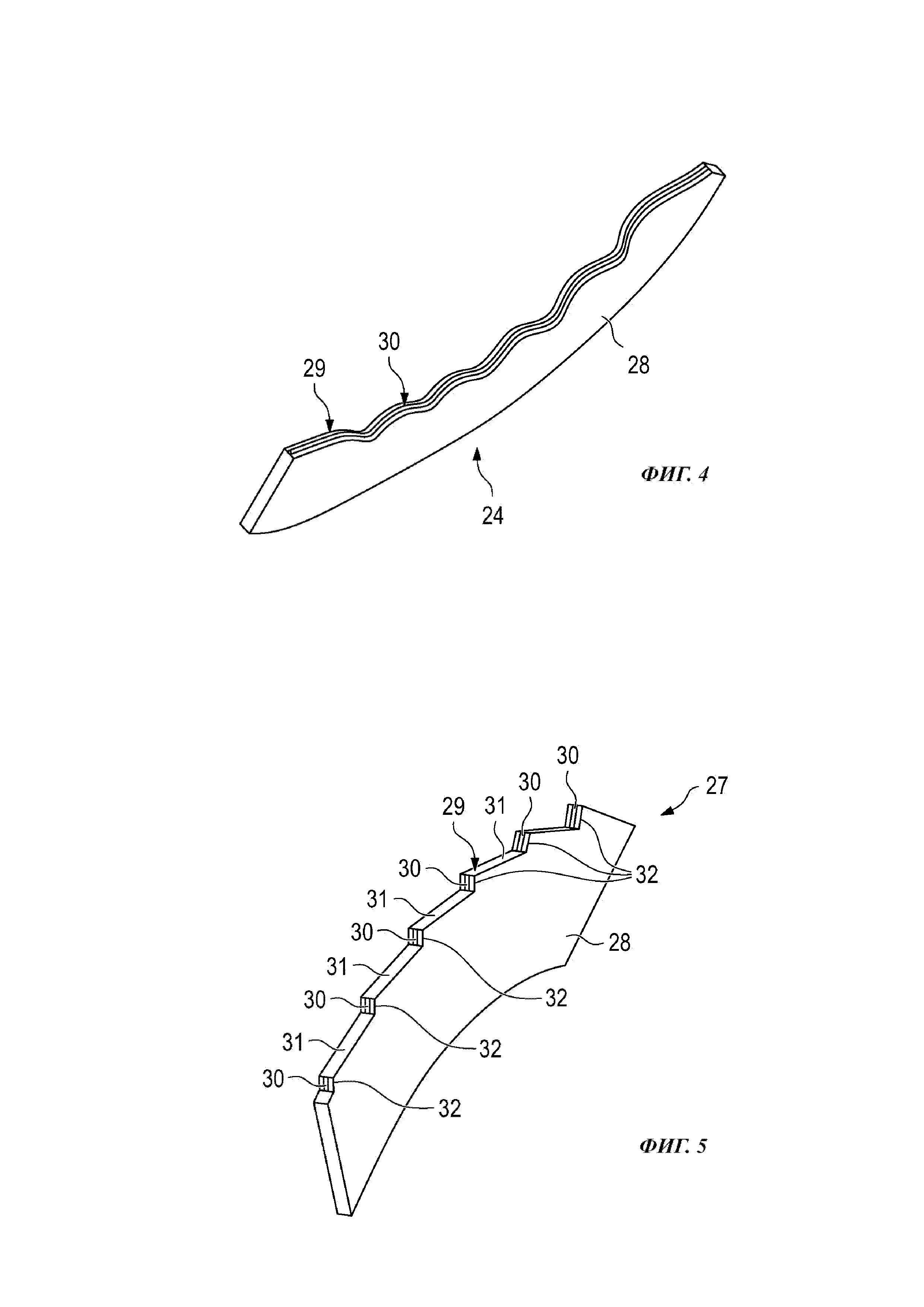
На фигуре 4 схематично в аксонометрии изображен разделительный элемент 24. Разделительный элемент 24 имеет криволинейную форму, по существу, соответствующую контуру участка 23 кожуха в форме рампы, на котором установлен разделительный элемент 24. Разделительный элемент 24 содержит основной корпус 28, ориентированный перпендикулярно поверхности участка 23 кожуха в форме рампы. Основной корпус 28 содержит торцевую поверхность 29, выполненную в виде режущей кромки и воздействующую на убираемую культуру, транспортируемую подающим барабаном 5. Основной корпус 28 изготовлен из первого материала, предпочтительно, из высокопрочной стали.

[37]

На торцевой поверхности 29 по меньшей мере частично расположено покрытие 30 из второго материала, нанесенное по существу по центру в продольном направлении торцевой поверхности 29. При этом покрытие 30 наносят, по существу, полосой или лентой, ширина которой меньше общей ширины торцевой поверхности 29. В результате рядом с покрытием 30 из второго материала образуются смежные участки или области торцевой поверхности 29, состоящие из первого материала. Второй материал отличается от первого материала повышенной износостойкостью. Второй материал представляет собой композиционный материал с металлической матрицей. Покрытие 30 из второго материала наносят методом наплавки сваркой, в частности, лазерной наплавки.

[38]

Торцевая поверхность 29 имеет, по существу, волнистый или пилообразный профиль. В представленном варианте осуществления покрытие 30 полностью покрывает торцевую поверхность 29 разделительного элемента 24 в продольном направлении, в результате чего во время работы сепарирующего устройства 6 участки или области торцевой поверхности 29, примыкающие к покрытию 30 и состоящие из первого материала, изнашиваются в большей степени, то есть истираются более интенсивно. В результате образуется симметричная самозатачивающаяся геометрия режущей кромки.

[39]

На фигуре 5 схематично в аксонометрии изображен вариант осуществления разделительного элемента 27, установленного на подающем барабане 5. Конструкция разделительного элемента 27, установленного на подающем барабане 5, в основном соответствует конструкции разделительного элемента 24, установленного на участке кожуха в форме рампы, вследствие чего элементы с одинаковыми функциями имеют одинаковые ссылочные обозначения. Разделительный элемент 27 также имеет изогнутую форму. Разделительный элемент 27 содержит торцевую поверхность 29, выполненную в виде режущей кромки. Торцевая поверхность 29 имеет, по существу, зубчатый или пилообразный профиль, образованный, по существу, горизонтальными участками 31, ориентированными в продольном направлении разделяющего элемента 27 и чередующимися с вертикальными участками 32, ориентированными перпендикулярно этим участкам. В начале профиля разделительного элемента 27 всегда находится вертикальный участок 32.

[40]

В варианте осуществления, показанном на фигуре 5, на разделительном элементе 27 (в отличие от разделительного элемента 24) покрытие 30 наносят только в области вертикальных участков 32. Вертикальные участки 32 ориентированы радиально к обечайке подающего барабана 5. Нанесение покрытия 30 только на вертикальные участки 32 разделительного элемента 27, которые в соответствии с направлением DR вращения подающего барабана 5 входят в поток транспортируемой убираемой культуры, осуществляя функцию разделения или разрезания и, тем самым, подвергаясь наибольшему износу, может оказаться достаточным для повышения срока службы.

[41]

На фигуре 6 в аксонометрии схематично изображен следующий вариант осуществления разделительного элемента 27 согласно фигуре 5. При этом покрытие 30 нанесено на всю площадь соответствующего вертикального участка 32 и частично на горизонтальный участок 31, примыкающий к соответствующему вертикальному участку 32. В частности, покрытие 30 нанесено в области перехода между вертикальным участком 32 и следующим горизонтальным участком 31, а также после этого перехода.

[42]

По существу, конструкция разделительных элементов 27 подающего барабана 5 в соответствии с вышеописанными вариантами осуществления может быть перенесена на разделительный элемент 24 на участке 23 кожуха в форме рампы.

[43]

СПИСОК ССЫЛОЧНЫХ ОБОЗНАЧЕНИЙ

[44]

1 транспортер

[45]

2 молотильное устройство

[46]

3 молотильный барабан

[47]

4 дека молотильного барабана

[48]

5 подающий барабан

[49]

6 сепарирующее устройство

[50]

7 кожух

[51]

8 осевой сепарирующий ротор

[52]

9 ребра

[53]

10 корзина сепаратора

[54]

11 транспортная доска прямого хода

[55]

12 транспортная доска обратного хода

[56]

13 желоб

[57]

14 воздуходувное устройство

[58]

15 решето

[59]

16 направляющая доска

[60]

17 кожух впускной головки

[61]

18 спираль

[62]

19 шнековый транспортер

[63]

20 зерноуборочный комбайн

[64]

21 измельчающее и распределяющее устройство

[65]

22 входной участок

[66]

23 участок кожуха

[67]

24 разделительный элемент

[68]

25 ось

[69]

26 направляющая пластина

[70]

27 разделительный элемент

[71]

28 основной корпус

[72]

29 торцевая поверхность

[73]

30 покрытие

[74]

31 горизонтальный участок

[75]

32 вертикальный участок

[76]

DR направление вращения элемента 5

Как компенсировать расходы
на инновационную разработку
Похожие патенты