патент
№ RU 2820473
МПК B04C5/00
Номер заявки
2024103380
Дата подачи заявки
09.02.2024
Опубликовано
04.06.2024
Страна
RU
Как управлять
интеллектуальной собственностью
Чертежи 
1
Реферат

[16]

Гидроциклон относится к комбинированным устройствам для разделения неоднородных жидких сред и может быть использован при водоочистке и водоподготовке, в производственных технологических процессах. Гидроциклон содержит сопряженные цилиндрическую и коническую обечайки, тангенциальный ввод для подачи исходного продукта, песковый патрубок для вывода тяжелого продукта, сливной патрубок для вывода осветленного продукта, снабженный фильтрующим и сорбционным элементами, установленными коаксиально со сливным патрубком, камеру в верхней части цилиндрической обечайки. Фильтрующий и сорбционный элементы выполнены из двух соосно расположенных сетчатых жестких цилиндров с заполнением фильтрующим материалом и сорбентом пространства, образованного между цилиндрами внутренним и внешним, имеющим на съемном верхнем торце проушину с закрепленным на ней тросом, перекинутым через подъемный блок, установленный в загрузочной камере сливного патрубка для вывода осветленного продукта, закрепленным с другого конца на проушине загрузочного герметичного люка посредством фиксирующего карабинового крючка. Камера в верхней части цилиндрической обечайки для сбора легкого продукта снабжена дополнительной обечайкой со сдвоенными стенками, внутренняя из которых перфорированная, имеющей установленный в ней шнек и накопительный контейнер. Технический результат: повышение эффективности очистки и обслуживания устройства. 1 ил.

Формула изобретения

Гидроциклон, содержащий сопряженные цилиндрическую и коническую обечайки, тангенциальный ввод для подачи исходного продукта, песковый патрубок для вывода тяжелого продукта, сливной патрубок для вывода осветленного продукта, снабженный фильтрующим и сорбционным элементами, установленными коаксиально со сливным патрубком, камеру в верхней части цилиндрической обечайки, отличающийся тем, что фильтрующий и сорбционный элементы выполнены из двух соосно расположенных сетчатых жестких цилиндров с заполнением фильтрующим материалом и сорбентом пространства, образованного между цилиндрами внутренним и внешним, имеющим на съемном верхнем торце проушину с закрепленным на ней тросом, перекинутым через подъемный блок, установленный в загрузочной камере сливного патрубка для вывода осветленного продукта, и закрепленным с другого конца на проушине загрузочного герметичного люка посредством фиксирующего карабинового крючка, при этом камера в верхней части цилиндрической обечайки для сбора легкого продукта снабжена дополнительной обечайкой со сдвоенными стенками, внутренняя из которых перфорированная, также имеющей установленный в ней шнек и накопительный контейнер.

Описание

[1]

Гидроциклон относится к комбинированным устройствам для разделения неоднородных жидких сред и может быть использован при водоочистке и водоподготовке, а также в производственных технологических процессах.

[2]

Известен гидроциклон (патент 2180272, МКИ В04С 5/12, В04С 5/00, 2002), содержащий сопряженные цилиндрическую и коническую обечайки, тангенциальный ввод для подачи исходного продукта, песковый патрубок для вывода тяжелого продукта, сливной патрубок для вывода осветленного продукта. Сливной патрубок для вывода осветленного продукта содержит фильтрующий элемент различной пористости, наружная поверхность которого снабжена ворсистой цилиндрической поверхностью, образованной игольчатыми элементами.

[3]

Недостатком является, то, что разделение в цилиндрической обечайке на тяжелый и осветленный продукты поступившей в нее неоднородной среды и содержащей, в том числе, и легкие загрязняющие компоненты, приводит к быстрому засорению фильтрующего элемента. Так как наружная поверхность фильтрующего элемента имеет сплошную ворсистую цилиндрическую поверхность из игольчатых элементов, то для его замены при утрачивании функции очистки необходимо разбирать гидроциклон в верхней части цилиндрической обечайки. Процесс снятия и размещения уже нового фильтрующего элемента приводит к остановке работы устройства на достаточно длительный период, что при непрерывном технологическом процессе очистки не допустимо.

[4]

Наиболее близким техническим решением по совокупности признаков является гидроциклон (полезная модель к патенту 211553, МКИ В04С 5/22, C02F 1/52, 2022), содержащий сопряженные цилиндрическую и коническую обечайки, тангенциальный ввод для подачи исходного продукта, песковый патрубок для вывода тяжелого продукта и сливной патрубок для вывода осветленного продукта, снабженный фильтрующим элементом. Сорбционный элемент, установленный на диске коаксиально со сливным патрубком для вывода осветленного продукта, образует в верхней части цилиндрической обечайки дополнительную камеру осветленного продукта, снабженную сливным патрубком для его отвода. Сорбционный элемент образован перфорированными кольцами, покрытыми снизу и сверху сорбирующим материалом из синтетических и натуральных волокон.

[5]

Недостатком является, то, что при наличии компонентов крупной дисперсности и малой плотности по отношению к плотности жидкости перфорированные кольца с сорбирующим материалом быстро загрязняются, утрачивая функцию очистки и допуская вторичное захватывание потоком осажденных частиц. Необходимая в этом случае смена фильтров будет осложнена наличием дополнительной камеры, что потребует больше времени для производства работ по обслуживанию гидроциклона.

[6]

Задачей изобретения является повышение эффективности очистки и обслуживания устройства, связанное с заменой фильтрующего и сорбционного элементов, за счет выполнения фильтрующего и сорбционного элементов из двух соосно расположенных сетчатых жестких цилиндров с заполнением фильтрующим материалом и сорбентом пространства, образованного между цилиндрами внутренним и внешним, имеющем на съемном верхнем торце проушину с закрепленным на ней тросом, перекинутым через подъемный блок, установленный в загрузочной камере сливного патрубка для вывода осветленного продукта, и закрепленным с другого конца на проушине загрузочного герметичного люка посредством фиксирующего карабинового крючка, при этом камера в верхней части цилиндрической обечайки для сбора легкого продукта снабжена дополнительной обечайкой со сдвоенными стенками, внутренняя из которыхперфорированная, так же имеющей установленный в ней шнек и накопительный контейнер.

[7]

Эта задача решается тем, что в гидроциклон, содержащий сопряженные цилиндрическую и коническую обечайки, тангенциальный ввод для подачи исходного продукта, песковый патрубок для вывода тяжелого продукта, сливной патрубок для вывода осветленного продукта, снабженный фильтрующим и сорбционным элементами, установленными коаксиально со сливным патрубком, камеру в верхней части цилиндрической обечайки, отличительными от прототипа признаками является выполнение фильтрующего и сорбционного элементов из двух соосно расположенных сетчатых жестких цилиндров с заполнением фильтрующим материалом и сорбентом пространства, образованного между цилиндрами внутренним и внешним, имеющем на съемном верхнем торце проушину с закрепленным на ней тросом, перекинутым через подъемный блок, установленный в загрузочной камере сливного патрубка для вывода осветленного продукта, и закрепленным с другого конца на проушине загрузочного герметичного люка посредством фиксирующего карабинового крючка, при этом камера в верхней части цилиндрической обечайки для сбора легкого продукта снабжена дополнительной обечайкой со сдвоенными стенками, внутренняя из которых перфорированная, так же имеющей установленный в ней шнек и накопительный контейнер.

[8]

Расположение камеры для сбора легкого продукта в верхней части цилиндрической обечайки без отделяющих перегородок обеспечивает беспрепятственное поступление в нее загрязняющих компонентов небольшой плотности. Периодическое включение шнека в дополнительной обечайке, соединенной с камерой для сбора легкого продукта, позволяет удалить и уплотнить перед поступлением в накопительный контейнер легкий продукт. Такое своевременное устранение из поступающего через тангенциальный ввод исходного продукта легких компонентов обеспечит продолжительный период эффективной очистки фильтрующим и сорбционным элементами. Предусмотренная в сливном патрубке загрузочная камера с закрепленным в ней подъемным блоком позволяет быстро удалить посредством троса фильтрующий и сорбционный элементы, и установить вновь после их замены, что в свою очередь значительно сокращает время на техническое обслуживание устройства.

[9]

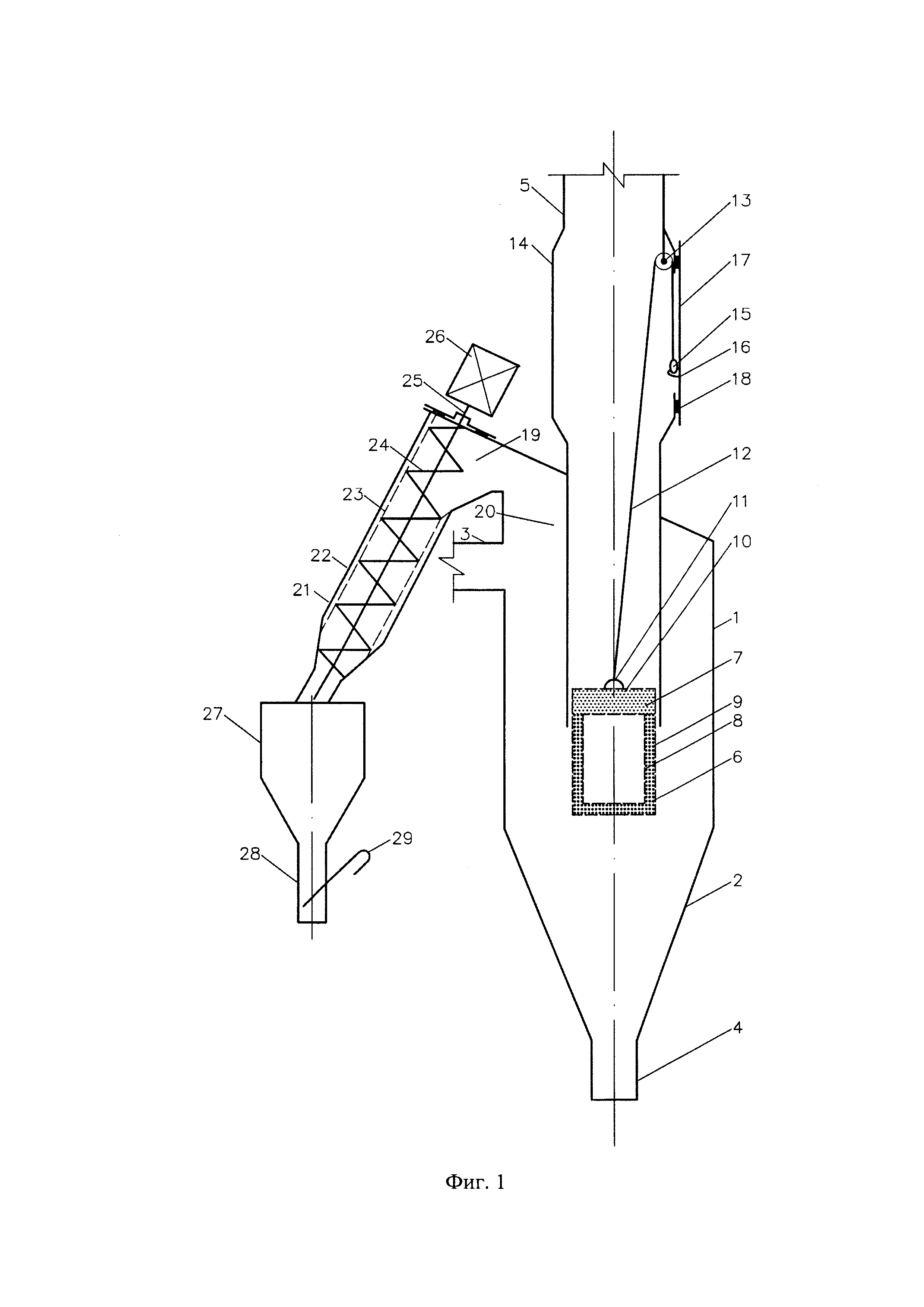
На фиг. 1 показан общий вид гидроциклона.

[10]

Гидроциклон состоит из сопряженных цилиндрической 1 и конической 2 обечаек, тангенциального ввода 3 для подачи исходного продукта, пескового патрубка 4 для вывода тяжелого продукта, сливного патрубка 5 для вывода осветленного продукта. В сливном патрубке 5 для осветленного продукта коаксиально расположены фильтрующий 6 и сорбционный 7 элементы, которые выполнены из двух соосно расположенных сетчатых жестких цилиндров, а именно внутреннего цилиндра 8, внешнего цилиндра 9. Пространство, образованное между внутренним 8 и внешним 9 цилиндрами, заполнено фильтрующим материалом и сорбентом. Внешний цилиндр 9 имеет съемный верхний торец 10, с проушиной 11, на которой закреплен трос 12. Другой конец троса 12 перекинут через подъемный блок 13, установленный в загрузочной камере 14 сливного патрубка 5 для осветленного продукта, и закреплен посредством фиксирующего карабинового крючка 15 на проушине 16 загрузочного герметичного люка 17. Герметичность загрузочного люка 17 обеспечивается уплотняющим материалом 18.

[11]

Камера 19 для сбора легкого продукта в верхней части 20 цилиндрической обечайки 1 имеет дополнительную обечайку 21 со сдвоенными стенками, а именно стенкой 22 и внутренней стенкой 23, которая выполнена перфорированной. Внутренняя стенка 23 дополнительной обечайки 21 выполнена перфорированной. Внутри дополнительной обечайки 21 размещен шнек 24, на валу 25 которого установлен электродвигатель 26. Дополнительная обечайка 21 снабжена накопительным контейнером 27, имеющим патрубок 28 для вывода уплотненного легкого продукта с герметичной заслонкой 29.

[12]

Гидроциклон работает следующим образом. Через тангенциальный ввод 3 подается исходный продукт. Под действием центробежной силы тяжелые компоненты отбрасываются к цилиндрической обечайке 1 и, смещаясь попадают в коническую обечайку 2, а затем отводятся через песковый патрубок 4 для вывода тяжелого продукта. Крупные компоненты малой плотности под действием подъемной силы направляются в камеру 19 для сбора легкого продукта, снабженную дополнительной обечайкой 21 для дальнейшего удаления. Периодическое включение электродвигателя 26 шнека 24 обеспечивает продвижение в дополнительной обечайке 21 легких загрязняющих компонентов к накопительному контейнеру 27. По мере продвижения в дополнительной обечайке 21 происходит повышение концентрации и уплотнение легкого продукта за счет перетекания жидкости через перфорированную внутреннюю стенку 23 и ее вторичного поступления в камеру 19 для сбора легкого продукта. После продвижения легкого продукта в накопительный контейнер 27 и его заполнения, открывается герметичная заслонка 29 для выгрузки.

[13]

Исходный продукт, пройдя через грубую очистку от тяжелых и легких компонентов, направляется к сливному патрубку 5 для вывода осветленного продукта и пропускается через фильтрующий 6 и сорбционный 7 элементы, которые улавливают мелкодисперсные загрязнения и вредные вещества. Затем осветленный продукт удаляется из гидроциклона, направляясь по сливному патрубку 5.

[14]

При насыщении фильтрующего 6 и сорбционного 7 элементов загрязняющими компонентами процесс очистки кратковременно приостанавливается, открывается герметичный загрузочный люк 17 в загрузочной камере 14 и происходит подъем фильтрующего 6 и сорбционного 7 элементов посредством перекинутого через подъемный блок 13 троса 12. При извлечении фильтрующего 6 и сорбционного 7 элементов иззагрузочной камеры 14 карабиновый крючок 15 отстегивается от проушины 16. Для замены фильтрующего материала и сорбента снимают закрепленный каким-либо замковым соединением верхний торец 10 на внешнем цилиндре 9, выгружают содержимое и засыпают фильтрующий материал и сорбент с восстановленными функциями очистки. После этого устанавливают и закрепляют верхний торец 10 на внешнем цилиндре 9, пристегивают на проушину 16 карабиновый крючок 15, помещают в загрузочную камеру 14 фильтрующий 6 и сорбционный 7 элементы и опускают вниз в сливном патрубке 5 для вывода осветленного продукта с фиксацией положения. Затем закрывают герметичный загрузочный люк 17 и переключают гидроциклон на рабочий режим.

[15]

Выполнение камеры 19 для сбора легкого продукта без отделяющих перегородок в верхней части 20 цилиндрической обечайки 1 обеспечивает поступление в нее крупных компонентов малой плотности, а периодическое включение шнека 24 их последующее своевременное удаление, в процессе которого происходит уплотнение легкого продукта. Последнее приводит к меньшим затратам как на его извлечения из гидроциклона, так и на утилизацию. Предварительная грубая очистка от крупно дисперсных тяжелых и легких компонентов способствует увеличению продолжительности периода функционирования фильтрующего 6 и сорбционного 7 элементов, что в целом повышает эффективность очистки. При насыщении загрязняющими компонентами фильтрующего 6 и сорбционного 7 элементов наличие загрузочной камеры 14, подъемного блока 13 и троса 12 позволяет легко извлечь и провести замену фильтрующего материала и сорбента, существенно сокращая время обслуживания гидроциклона. При загрузке фильтрующего 6 и сорбционного 7 элементов ограничение в перемещении по сливному патрубку обеспечивает трос 12, пристегнутый к проушине герметичного загрузочного люка 16 посредством карабинового крючка 15.

Как компенсировать расходы
на инновационную разработку
Похожие патенты