патент
№ RU 2820243
МПК A62C99/00

Экспериментальный стенд для исследования огнетушащей эффективности жидких составов, используемых для авиационного тушения лесных пожаров

Авторы:
Москвилин Евгений Александрович Кузнецов Александр Евгеньевич Копылов Николай Петрович
Все (5)
Номер заявки
2023115787
Дата подачи заявки
15.06.2023
Опубликовано
31.05.2024
Страна
RU
Как управлять
интеллектуальной собственностью
Чертежи 
3
Реферат

[37]

Изобретение относится к экспериментальному оборудованию для исследования огнетушащей эффективности жидких составов, а именно к экспериментальному стенду для исследования огнетушащей эффективности жидких составов, используемых для авиационного тушения лесных пожаров. Стенд включает модельные очаги лесных пожаров, узел насосно-смесительный, узел перекачки, а также узел подачи жидких составов на модельные очаги лесных пожаров, при этом узел подачи жидких составов включает расположенный над модельными очагами лесных пожаров набор оросителей, обеспечивающих в совокупности интенсивность подачи жидкого состава в диапазоне 0,08-0,2 л⋅м-2⋅с-1 и дисперсность капель в диапазоне от 0,2 до 1 мм, соответствующих спектру капель при сбросе воды посредством авиации. Технический результат - повышение качества оценки огнетушащей эффективности новых жидких составов, применяемых для тушения лесных пожаров с помощью авиации. 1 з.п. ф-лы, 3 ил.

Формула изобретения

1. Экспериментальный стенд для исследования огнетушащей эффективности жидких составов, используемых для авиационного тушения лесных пожаров, включающий модельные очаги лесных пожаров, узел насосно-смесительный, узел перекачки, а также узел подачи жидких составов на модельные очаги лесных пожаров, отличающийся тем, что узел подачи жидких составов включает расположенный над модельными очагами лесных пожаров набор оросителей, обеспечивающих в совокупности интенсивность подачи жидкого состава в диапазоне 0,08-0,2 л⋅м-2⋅с-1 и дисперсность капель в диапазоне от 0,2 до 1 мм, соответствующие спектру капель при сбросе воды посредством авиации.

2. Экспериментальный стенд по п. 1, отличающийся тем, что модельные очаги лесных пожаров моделируют верховой или низовой тип лесных пожаров.

Описание

[1]

Изобретение относится к экспериментальному оборудованию лабораторий и может быть использовано при исследовании огнетушащей эффективности новых жидких составов на основе огнегасительных веществ.

[2]

В настоящее время появилось значительное количество различных добавок к воде, при этом производители заявляют об их высокой эффективности при использовании авиационного метода пожаротушении. Эти данные зачастую не подтверждены, более того, гак как условия борьбы с пожарами с применением наземных и авиационных средств существенно различаются, добавки могут, наоборот, ухудшать эффективность вследствие большего дробления капель, что подтверждено экспериментальными исследованиями (Копылов Н.П., Кузнецов А.Е., Карпов В.Н. Влияние вязкости огнетушащего раствора на тушение лесных пожаров с помощью авиации. XXIX Международная научно-практическая конференция, посвященная 80-летию ФГБУ ВНИИПО МЧС России Материалы конференции: В 2-х частях. 2017. С. 305-308).

[3]

Высокая стоимость проведения натурных испытаний по определению эффективности борьбы с ландшафтными пожарами авиационным способом водой с добавками определяет актуальность использования экспериментального стенда, на котором возможно имитировать процесс тушения лесных пожаров с авиационных средств и исследовать эффективность применяемых для этого жидких составов.

[4]

Известен стенд для исследования процессов горения и тушения пожаров (описание изобретения к авторскому свидетельству СССР №1319872, А62С 39/00, опубл. 30.06.1987, бюл. №24). Стенд содержит камеру, оборудованную средствами создания очага пожара и его тушения, имеющую конусообразное днище с отверстием в нижней части, под которым установлено средство измерения массы огнегасительного вещества, сохранившегося в процессе тушения. Модельный очаг пожара размещен на сетке, установленной над конусообразным днищем. Средство подачи огнегасительного вещества снабжено устройством контроля количества поданного на очаг пожара огнегасительного вещества. Сохранившееся в процессе тушения огнегасительное вещество через сетку по коническому днищу камеры скатывается на средство измерения массы вещества, сохранившегося в процессе тушения, сблокированное через вычитающее устройство с устройством измерения потери массы вещества, подаваемого па тушение. При этом фиксируется изменение расхода вещества на тушение во времени.

[5]

Известен стенд для исследования процессов горения и тушения при пожаре в герметичном объеме (описание изобретения к авторскому свидетельству СССР №995818. А62С 39/00, опубл. 15.02.1983, бюл. №6), содержащий цилиндрический резервуар с размещенным в нем оборудованием, имеющим средства создания очагов пожара и их тушения, средства измерения параметров процесса горения, клапан отбора проб газовой среды на анализ и пульт управления оборудованием и регистрации исследуемых параметров.

[6]

Известен стенд для оценки огнетушащей способности огнетушащих составов (описание изобретения к авторскому свидетельству СССР №1289514, А62С 39/00, опубл. 15.02.1987, бюл. №6), содержащий емкости для огнетушащего состава и газа, редуктор, манометр, исполнительное устройство и устройство для организации модельного пожара. Стенд содержит реакционную и промежуточную камеры, диафрагмы, разделительный клапан с пневматическим затвором.

[7]

Общим недостатком данных стендов является то, что они не обеспечивают получение достоверных данных по определению огнетушащей эффективности водных растворов с различными добавками при тушении с использованием авиации, так как научно и экспериментально доказано, что условия тушения пожаров с применением наземных и авиационных средств существенно различаются (Копылов Н.П., Хасанов И.Р., Кузнецов А.Е., Федоткин Д.В., Москвилин Е.А., Стрижак П.А., Карпов В.Н. Параметры сброса воды авиационными средствами при тушении лесных пожаров. Пожарная безопасность. 2015. №2. С. 49-55: Казаков М. В. Применение поверхностно-активных веществ для тушения пожаров. – М.: Стройиздат. 1977. - 80 с.). Некоторые типы добавок могут наоборот ухудшить эффективность вследствие большего дробления капель. При авиационном сбросе огнетушащего вещества меняются условия его распыления в атмосфере, и существующие методики огнетушащей эффективности становятся непригодными для использования.

[8]

Требуются экспериментальные стенды, в которых учитываются (моделируются) все условия авиационного сброса.

[9]

Известен стенд для исследования процессов горения и тушения материалов (описание изобретения к авторскому свидетельств СССР №333952. опубл. 30.03.1972, бюл. №12), включающий аппаратуру для регистрации величин температуры и давления, трубопроводы для подачи компонентов горючей смеси и огнегасительных составов на очаги пожара. Однако цель данного изобретения - обеспечение возможности изучения процессов горения и тушения в условиях повышенного давления и вакуума, что не требуется для исследования огнетушащей эффективности добавок к воде при авиационном тушении лесных пожаров.

[10]

Известна лабораторная установка для определения огнетушащей эффективности водных растворов различных веществ при тушении брусков древесины (Копылов Н.П.. Хасанов И.Р., Гроздов Г.М., Горшков СВ. Теоретические и экспериментальные исследования характеристик сброса воды с самолета ИЛ-76 для тушения лесных пожаров. // Химическая физика процессов горения и взрыва: Материалы XI симпозиума по горению и взрыву, Т. 2 - Черноголовка. 1996. - с. 140-141).

[11]

Установка представляет собой сосуд, в который заливается испытуемая огнетушащая жидкость. Мгновенная подача жидкости на горящие бруски под давлением азота, поступающего в сосуд из баллона, обеспечивается при помощи электромагнитного клапана. Масса, плотность, площадь и влажность древесины, время ее горения, а также давление в системе во всех опытах постоянны. В процессе тушения измеряется количество поданной и количество израсходованной на тушение жидкости. Эффективность испытуемых растворов оценивается величиной, показывающей отношение количества жидкости, использованной непосредственно на тушение, к общему количеству поданной жидкости в процентах.

[12]

Недостаток данного метода состоит в том, что результаты экспериментов по определению огнетушащей эффективности водных растворов различных веществ при тушении брусков древесины на данной установке не дают достоверных данных по результативности применения испытуемых растворов для тушения лесных пожаров. Кроме тою. не анализируется спектр получаемых капель водных растворов огнетушащих веществ, в связи с чем не представляется возможным сделать научно обоснованный вывод об эффективности тушения лесных пожаров с применением авиации.

[13]

Наиболее близким к предлагаемому техническому решению является стенд для исследования процессов горения и тушения пожаров (описание изобретения к авторскому свидетельству СССР №1583109, А62С 39/00, опубл. 07.08.1990), принятый за прототип. Стенд включает водоприемник с приводом, включающим двигатель, редуктор и цепную передачу, а также устройство для установки средства тушения, состоящее из двух вертикальных кронштейнов, на одном из которых установлена система заслонок, а на другом - средство тушения пожара и устройство для его установки. Водоприемник разделен на секторы равных площадей вертикальными перегородками. Под каждым сектором установлено средство контроля массы непрореагировавшего огнегасящего вещества. Над водоприемником установлена сетка для размещения очага пожара, распределяющегося равномерно по всей поверхности. При этом очаг пожара полностью моделирует надпочвенный покров и подстилку лесного горючего материала. Изобретение относится к исследованию процессов горения и тушения лесных низовых пожаров и предназначено для определения удельного расхода огнетушащей жидкости, интенсивности подачи и скорости тушения.

[14]

Недостатком данного стенда является то, что на нем определяются оптимальные параметры технологической схемы тушения очагов, моделирующих лишь надпочвенный покров и подстилку лесного горючего материала. Не обоснованы параметры такого моделирования. Основной же недостаток данного стенда, как и выше рассмотренных стендов, недостаточная достоверность исследуемых параметров вследствие отсутствия учета особенностей авиационного сброса жидких составов.

[15]

Альтернативным вариантом получения достоверной оценки огнетушащей эффективности новых жидких составов, применяемых для тушения лесных пожаров с помощью авиации, является проведение натурных испытаний с использованием реальных самолетов и модельных очагов пожара. Натурные эксперименты по определению параметров сброса воды с самолета ИЛ-76 описаны в следующих работах: Москвилин Е.А., Применение авиации для тушения лесных пожаров // Пожарная безопасность - 2009. - №1. с. 89-92; Копылов Н.П., Хасанов И.Р., Кузнецов А.Е., Федоткин Д.В., Москвилин Е.А., Стрижак П.А.. Карпов В.Н. Параметры сбросов воды авиационными средствами при тушении лесных пожаров. // Пожарная безопасность - 2015. - №2, с. 49-55; Валендик Э.Н., Матвеев П.М., Сафронов М.А. Крупные лесные пожары. // Москва, наука, 1979. - 200 с.)

[16]

Приведенные в них данные на сегодняшний день являются наиболее полными и включают характеристики спектра капель, на который дробится сброшенный объем воды, плотность орошения, размеры обработанной поверхности лесных материалов и др.

[17]

Недостатком такого способа является большая трудоемкость и чрезвычайно высокая стоимость. Кроме того, вследствие технической сложности, недостатком является их воспроизводимость, что необходимо для получения достоверных данных.

[18]

Задачей настоящего изобретения является создание специального экспериментального стенда, позволяющего моделировать параметры водяного облака, формирующегося при сбросе воды или водных растворов с самолета, по спектральному составу водяных капель, и проводить огневые испытания по тушению очагов, моделирующих по теплофизическим характеристикам лесные пожары.

[19]

Сущность предлагаемого технического решения заключается в том, что экспериментальный стенд для исследования огнетушащей эффективности жидких составов, используемых для авиационного тушения лесных пожаров, включает модельные очаги лесных пожаров, узел насосно-смесительный, узел перекачки, а также узел подачи жидких составов на модельные очаги лесных пожаров. Узел подачи жидких составов включает расположенный над модельными очагами лесных пожаров набор оросителей, обеспечивающих в совокупности интенсивность подачи жидкого состава в диапазоне 0,08-0,2 л⋅м-2⋅с-1 и дисперсность капель в диапазоне от 0,2 до 1 мм, соответствующих спектру капель при сбросе воды посредством авиации.

[20]

Используемые в составе стенда модельные очаги лесных пожаров моделируют верховой или низовой тип лесных пожаров.

[21]

Технический результат при использовании предлагаемого экспериментального стенда заключается в таких технических эффектах, как повышение качества и достоверности результатов оценки пригодности и огнетушащей эффективности жидких составов, применяемых для тушения лесных пожаров с помощью авиации, при сокращении времени и материальных затрат по сравнению с натурными испытаниями.

[22]

Достигнутый технический результат подтвержден экспериментальными данными на макете экспериментального стенда. Результаты испытаний подтвердили возможность моделирования тушения лесных пожаров авиационным способом и оценки эффективности добавок при тушении лесных пожаров без проведения натурных экспериментов. Водяное облако, образующееся при сбросе воды из летательного аппарата, моделируется по спектральному составу водяных капель.

[23]

В литературных источниках (Москвилин Е.А.. Применение авиации для тушения лесных пожаров // Пожарная безопасность - 2009. - №1. с. 89-92; Валендик Э.Н., Матвеев П.М., Сафронов М.А. Крупные лесные пожары. // Москва, Наука, 1979. - 200 с.) приводятся значения интенсивности подачи воды при сбросе с авиационных средств и отмечается, что крупные капли, которые составляют основную массу воды, падающей на землю, выпадают только в первые секунды после сброса. Капли с размерами более 0,5 мм содержат более 70% от общей массы воды. В начальный момент выпадения капель на землю заметную долю составляют крупные капли диаметром 1 мм, затем начинают преобладать капли средних размеров (с диаметром 0,5-1 мм), далее капли диаметром 0,2-0,3 мм.

[24]

Воспроизвести такой спектр водяных капель можно с использованием набора водяных оросителей, обеспечивающих в совокупности интенсивность подачи воды в диапазоне 0,08-0,2 л⋅м-2⋅с-1 и дисперсность капель в диапазоне от 0,2 до 1 мм.

[25]

Количество и тип модельных очагов пожара подобраны по параметрам тепловыделения различных видов ландшафтных пожаров.

[26]

Для моделирования очагов лесных пожаров выбраны два их типа верховой и низовой. Удельные тепловыделения для этих типов пожара варьируются в диапазоне: до 7 МВт⋅м-2 при верховом пожаре (Гришин, A.M. Математическое моделирование лесных пожаров и новые способы борьбы с ними / A.M. Гришин. - Новосибирск: Наука, 1992. 404 с.) и 0,31-0,327 МВт⋅м-2 для низового пожара (ГОСТ Р 51057-2001 Техника пожарная. Огнетушители переносные. Общие технические требования. Методы испытаний).

[27]

Для обеспечения воспроизводимости испытаний все составные части модельных очагов обоих видов лесного пожара состоят из отдельных очагов пожара класса А (штабели из деревянных брусков) по ГОСТ Р 51057.

[28]

Общая схема стенда представлена на фиг. 1. Схемы модельных очагов, имитирующих лесные пожары, представлены на фиг. 2 и 3.

[29]

Экспериментальный стенд для исследования огнетушащей эффективности жидких составов, используемых для авиационного тушения лесных пожаров. содержит: насосно-смесительный узел (НСУ) 1, предназначенный для подготовки испытуемого состава в емкости путем механизированного перемешивания компонентов с возможностью перемешивать в воде глинистые, жидкие вещества, водорастворимые полимеры и сыпучие материалы: узел перекачки 2 испытуемого состава, представляющий из себя насосное оборудование (например, мотопомпу), из НСУ 1 по основному трубопроводу 6 к узлу подачи 9 испытуемого состава на модельные очаги; трубопроводная арматура 3, предназначенная для управления потоком испытуемого состава в основном трубопроводе 6 (открытия и перекрытия входов в основной трубопровод, регулирования расхода состава, давления в основном трубопроводе) и включающая вентиль регулировочный 4, датчик давления в трубопроводе 5, датчик температуры 7 и датчик расхода 8 испытуемого состава; узел подачи 9 испытуемого состава на модельные очаги, состоящий из набора водяных оросителей, подобранных по своим характеристикам (интенсивность подачи воды, дисперсность капель) для моделирования параметров сброса воды с авиационного средства с целью получения полного спектра капель, соответствующих спектру капель при авиационном сбросе воды, и расположенный на высоте, обеспечивающей невозможность его повреждения от тепловой нагрузки при проведении испытаний.

[30]

Кроме того, дополнительно стенд содержит прибор для фиксации в автоматическом режиме параметров потока испытуемого состава от датчиков 5, 7, 8, а также систему видеофиксации, состоящую из необходимого количества тепловизионных камер, позволяющих фиксировать факт тушения очагов в условиях задымления.

[31]

Значения рабочею давления в основном трубопроводе и расхода испытуемого состава через него определены заранее и являются константами при проведении испытаний, для обеспечения моделирования параметров сброса воды с авиационных средств по спектру образующихся капель на выходе из узла подачи 9 состава на модельные очаги лесного пожара.

[32]

Для моделирования верхового лесного пожара (фиг. 2) выбраны очаги, состоящие из пяти штабелей деревянных брусков (каждый штабель - очаг 1A), расположенных в шахматном порядке с соблюдением расстояний, представленных на фиг. 2. Площадь очага 6,25 м2. Удельная пожарная нагрузка - 24 кг⋅м2, удельное тепловыделение - 2 МВт⋅м2.

[33]

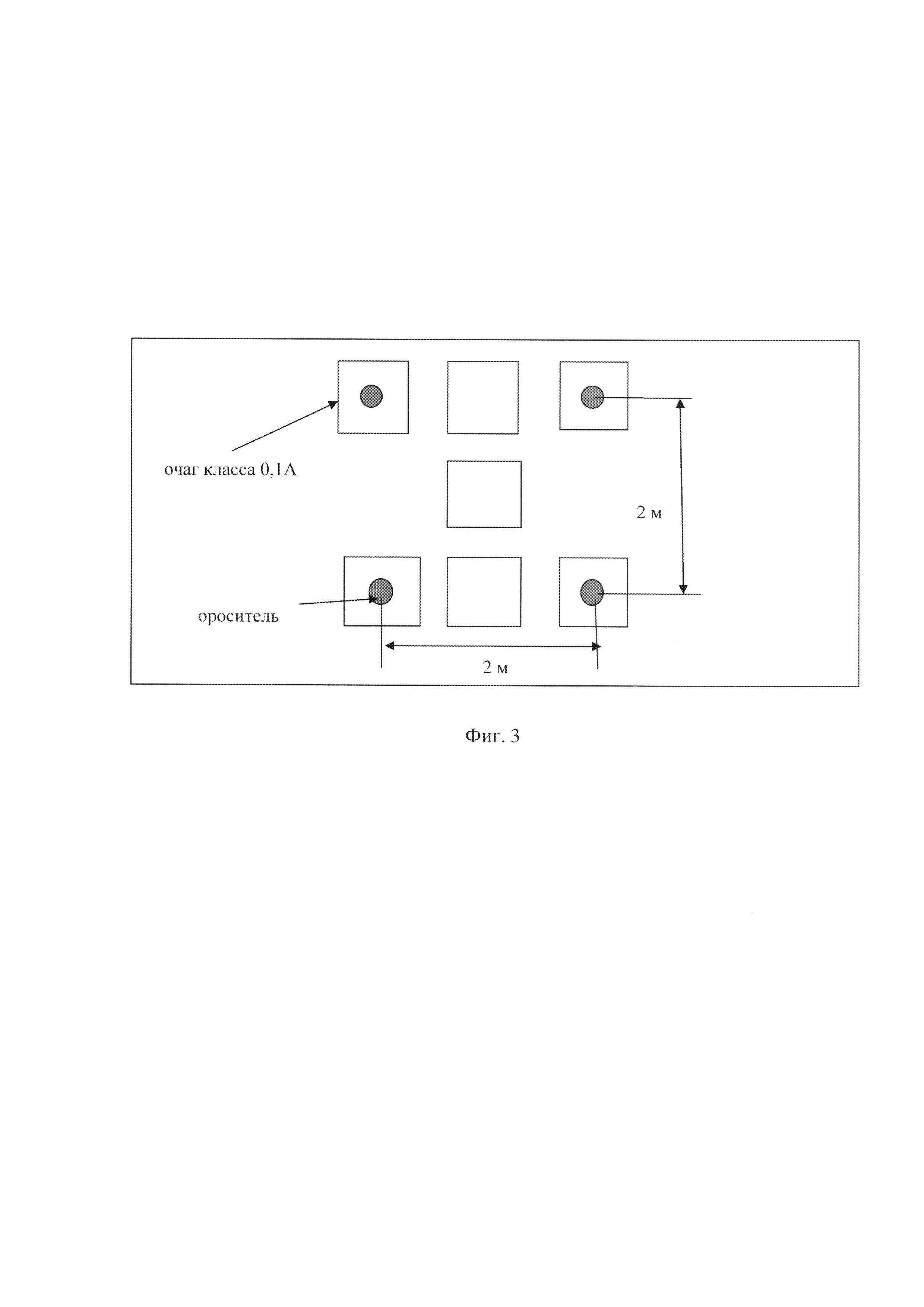
Для моделирования низового лесного пожара (фиг. 3) выбраны очаги, состоящие из семи штабелей древесины (каждый штабель - очаг 0,1 А) соблюдением расстояний, представленных на фиг. 3. Площадь очага 4,84 м2. Удельные: пожарная нагрузка 3,6 кг⋅м2, тепловыделение 0,386 МВт⋅м2.

[34]

При проведении экспериментов стенд используется следующим образом.

[35]

В насосно-смесительном узле готовится (в случае готового к эксплуатации состава - заливается) испытуемый состав. Далее поджигаются модельные очаги, время свободного горения которых составляет строго фиксированную величину, по истечении которого из НСУ через узел перекачки и узел подачи на модельные очаги подается испытуемый состав. Фиксируется время тушения очагов.

[36]

Основным параметром, по которому оценивается огнетушащая эффективность испытанных на экспериментальном стенде составов, является время тушения ими однотипных очагов, моделирующих лесной пожар, по сравнению с тушением водой. По результатам экспериментов проводится сравнительный анализ времени тушения испытанным составом (Тр, с) и времени тушения водой (Тв, с), вычисляется коэффициент эффективности тушения составом, равный отношению данных показателей, и делается вывод о пригодности и огнетушащей эффективности испытанного состава при использовании его для тушения лесных пожаров с помощью авиации.

Как компенсировать расходы
на инновационную разработку
Похожие патенты