Изобретение может быть использовано при промышленной переработке рассолов с получением хлорида кальция, карналлита, хлорида калия и хлорида натрия. Способ получения хлорида кальция из рассола включает выпаривание исходного рассола в выпарной установке, включающей по меньшей мере два выпарных аппарата. Первичное выпаривание рассола осуществляют на втором выпарном аппарате 4 за счет вторичного пара, получаемого на первом выпарном аппарате 1. Вторичное выпаривание осуществляют исходным паром на первом выпарном аппарате 1, в результате чего образуется вторичный пар с пониженной по сравнению с исходным паром температурой. В качестве исходного рассола используют рассол хлоркальциевого типа, содержащий хлорид кальция в количестве более 60% масс. по отношению к примесям других хлоридов – натрия, калия, магния. При выпаривании исходного рассола на втором выпарном аппарате 4 при повышении концентрации солей в рассоле кристаллизуются хлориды натрия, калия и магния, которые отделяют на втором сепараторе 5 с получением твердой фазы и концентрата хлорида кальция. Концентрат хлорида кальция направляют на выпаривание на первом выпарном аппарате 1, где происходит его концентрирование с выпадением в осадок хлорида кальция. Осадок сепарируют от пара на первом сепараторе 2 с получением кристаллогидрата хлорида кальция. Предложен также вариант способа получения хлорида кальция с дополнительным получением карналлита. Изобретения позволяют упростить конструкцию выпарной установки, уменьшить потери хлорида кальция, обеспечить экономию тепловой энергии за счет использования вторичного пара. 2 н. и 11 з.п. ф-лы, 2 ил., 7 пр.
1. Способ получения хлорида кальция из рассола, включающий выпаривание исходного рассола в выпарной установке, включающей по меньшей мере два выпарных аппарата, при этом первичное выпаривание рассола осуществляют на втором выпарном аппарате за счет вторичного пара, получаемого на первом выпарном аппарате, а вторичное выпаривание осуществляют исходным паром на первом выпарном аппарате, в результате чего образуется вторичный пар с пониженной по сравнению с исходным паром температурой, в качестве исходного рассола используют рассол хлоркальциевого типа, содержащий хлорид кальция в количестве более 60% масс. по отношению к примесям других хлоридов - натрия, калия, магния, при выпаривании исходного рассола на втором выпарном аппарате при повышении концентрации солей в рассоле кристаллизуются хлориды натрия, калия и магния, которые отделяют на втором сепараторе с получением твердой фазы и концентрата хлорида кальция, концентрат хлорида кальция направляют на выпаривание на первом выпарном аппарате, где происходит его концентрирование с выпадением в осадок хлорида кальция, осадок сепарируют от пара на первом сепараторе с получением кристаллогидрата хлорида кальция. 2. Способ по п.1, отличающийся тем, что твердую фазу, отделенную после первичного выпаривания и содержащую хлориды натрия, калия и магния, направляют на ступенчатую промывку с растворением сначала хлорида магния, затем хлорида калия и последующим отделением кристаллического материала от маточного раствора, при этом для растворения хлорида калия используют горячую воду, хлорид калия выделяют из раствора путем охлаждения. 3. Способ по п.1, отличающийся тем, что хотя бы один сепаратор для разделения на жидкую и твердую фазу выполнен в виде отстойника, центрифуги или ленточного фильтра. 4. Способ по п.1, отличающийся тем, что после разделения жидкой и твердой фазы хотя бы на одном сепараторе дополнительно осуществляют отделение твердой фазы от жидкой на центрифуге или ленточном фильтре. 5. Способ по п.1, отличающийся тем, что полученный кристаллогидрат хлорида кальция сушат в сушильном шкафу до получения кальцинированного хлорида кальция. 6. Способ получения хлорида кальция из рассола, включающий выпаривание исходного рассола в выпарной установке, включающей по меньшей мере два выпарных аппарата, первичное выпаривание рассола осуществляют на втором выпарном аппарате за счет вторичного пара, получаемого на первом выпарном аппарате, а вторичное выпаривание осуществляют исходным паром на первом выпарном аппарате, в результате чего образуется вторичный пар с пониженной по сравнению с исходным паром температурой, в качестве исходного рассола используют рассол хлоркальциевого типа, содержащий хлорид кальция в количестве более 60% масс. по отношению к примесям других хлоридов - натрия, калия, магния, при выпаривании исходного рассола на втором выпарном аппарате при повышении концентрации солей в рассоле кристаллизуются хлориды натрия, калия и магния, которые отделяют на втором сепараторе с получением твердой фазы и концентрата хлорида кальция, концентрат хлорида кальция направляют на выпаривание на первом выпарном аппарате, где происходит его концентрирование с выпадением в осадок хлорида кальция, осадок сепарируют от пара на первом сепараторе с получением кристаллогидрата хлорида кальция; твердую фазу, отделенную после первичного выпаривания и содержащую натрий, калий и магний, растворяют и используют в процессе получения карналлита, процесс получения карналлита осуществляют выпариванием в две стадии, на первой стадии используют пар с меньшей температурой, чем для выпаривания на второй стадии, на первой стадии выпаривания в осадок выпадает хлорид натрия, полученный маточный раствор направляют на вторую стадию выпаривания, где при выпаривании в осадок выпадает карналлит, который отделяют. 7. Способ по п.6, отличающийся тем, что на первой стадии процесса получения карналлита используют пар, который был получен при выпаривании маточного раствора на второй стадии процесса получения карналлита. 8. Способ по п.6, отличающийся тем, что на первой стадии процесса получения карналлита используют пар, который был получен в первом выпарном аппарате в процессе получения кристаллогидрата хлорида кальция. 9. Способ по п.6, отличающийся тем, что осадок после первичного выпаривания, содержащий натрий, калий и магний, растворяют в воде с получением насыщенного раствора. 10. Способ по п.6, отличающийся тем, что отделенный карналлит используют для получения хлорида магния или калия. 11. Способ по п.6, отличающийся тем, что хотя бы один сепаратор для разделения на жидкую и твердую фазу выполнен в виде отстойника, центрифуги или ленточного фильтра. 12. Способ по п.6, отличающийся тем, что после разделения жидкой и твердой фазы хотя бы на одном сепараторе дополнительно осуществляют отделение твердой фазы от жидкой на центрифуге или ленточном фильтре. 13. Способ по п.6, отличающийся тем, что полученный кристаллогидрат хлорида кальция сушат в сушильном шкафу до получения кальцинированного хлорида кальция.
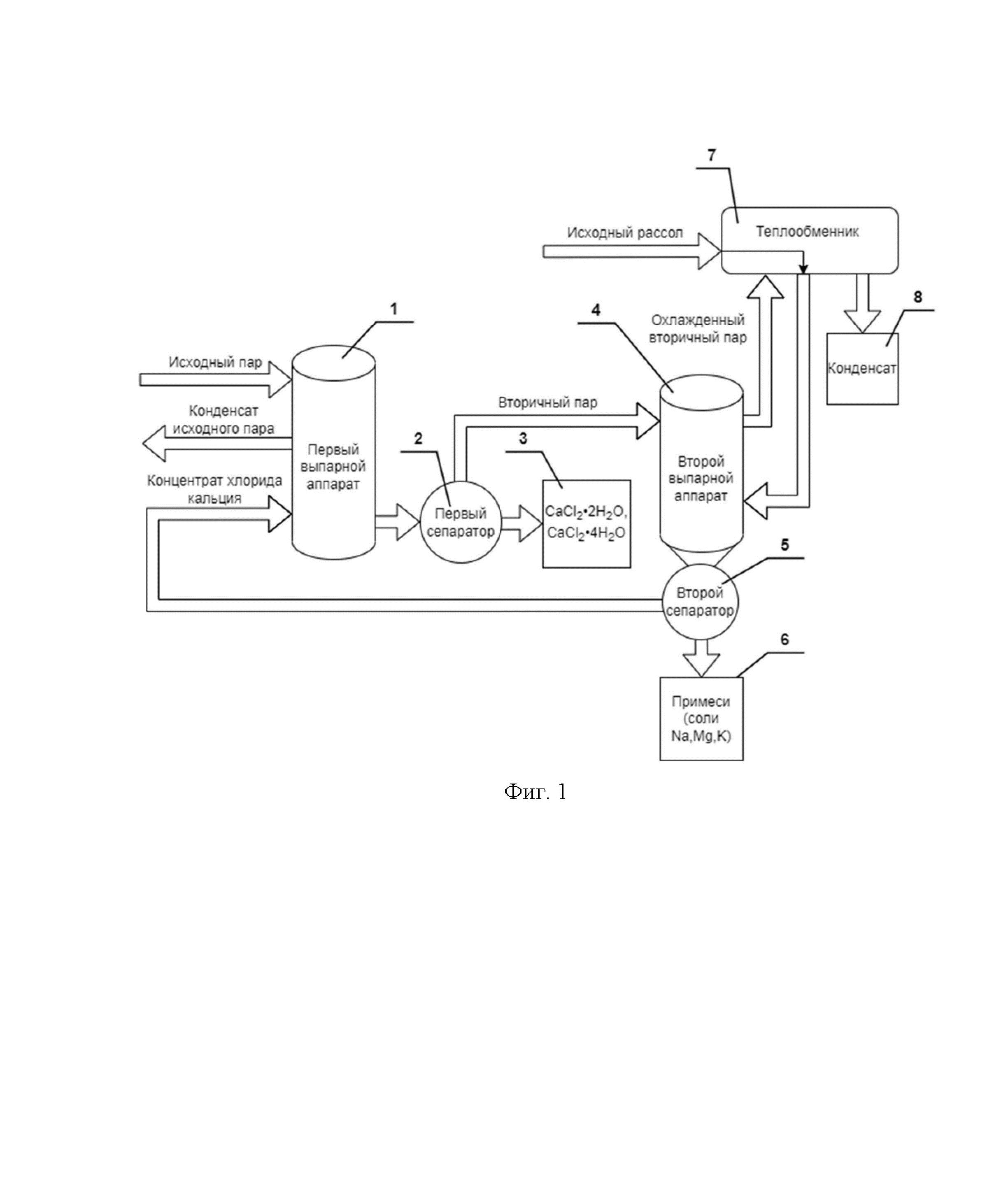
Область техники Изобретение относится к области химической технологии извлечения солей из рассолов, в частности к извлечению хлорида кальция из рассолов хлоркальциевого типа выпариванием. Изобретение может быть использовано для комплексного разделения солей при промышленной переработке рассолов с получением хлорида кальция, карналлита, хлорида калия и хлорида натрия. Уровень техники Известен способ получения хлорида кальция по патенту RU2291109C2 [1] «Способ получения хлористого кальция», который включает взаимодействие кальцийсодержащего сырья с соляной кислотой при температуре 20-50°С, отличающийся тем, что к кальцийсодержащему сырью дозируют 20-37%-ную соляную кислоту при мольном соотношении СаСО3:HCl=1:2 с последующим пропусканием образовавшегося кислого раствора CaCl2 через СаСО3 и образовавшегося кислого углекислого газа через СаСО3 и CaCl2, взятые в мольном соотношении 1-4:1. Недостатком данного способа является необходимость использования в качестве сырья чистого карбоната кальция, а также необходимость применения реагента в виде соляной кислоты, использование таких чистых продуктов является затратным, способ не предназначен для получения хлорида кальция из природных источников кальция, таких как рассолы хлоркальциевого типа. Из уровня техники известна установка для получения хлорида кальция по патенту RU25502U1 [2] «Установка для получения хлористого кальция», в которой осуществляют процесс получения хлорида кальция путем смешивания исходных веществ: хлорида калия, нитрата кальция и воды, при этом возможно подмешивание двойной соли KNO3⋅CaCl2⋅H2O (поступающей с процесса фильтрации), после приготовления раствора из исходных веществ осуществляют подачу раствора на охлаждение, в результате чего выделяется нитрат калия, который отделяют и направляют на сушку с получением продукта в виде нитрата калия, а раствор после отделения нитрата калия поступает в выпарной аппарат, где осуществляют упаривание раствора, после чего концентрат поступает на охлаждение и очистку от твердой фазы в фильтре-отстойнике, при этом отделяется двойная соль KNO3⋅CaCl2⋅H2O, а маточный раствор поступает в блок выделения хлорида кальция, далее продукт поступает в гранулятор - сушилку и в блок фасовки продукта. Недостатком описанного способа является необходимость использования как исходного сырья хлорида калия, нитрата кальция и воды, также представленная схема сложна и требует наличия блока охлаждения, способ не предназначен для получения хлорида кальция из природных источников кальция, таких как рассолы хлоркальциевого типа. Процесс получения солей из гидроминерального сырья с разделением их в процессе выпаривания широко известен, так, например известен способ по патенту US3536444A [3] «Метод разделения компонентов рассола», в котором проводят разделение и извлечение компонентов рассолов, содержащих ионы натрия, калия, магния, хлорида и сульфата, при этом сначала за счет выпаривания высаливается NaCl, который отделяют от раствора, полученный раствор смешивают с раствором MgCl2 и проводят следующее выпаривание с выпадением в осадок KCl-MgCl-6H2O, твердую фазу отделяют, жидкую фазу подвергают выпариванию для кристаллизации гидратов сульфата магния и получения третьего раствора, третий раствор используют в качестве раствора MgCl2на стадии выделения KCl-MgCl-6H2O. Недостатком данного способа является невозможность его применения для получения хлорида кальция и необходимость дополнительного внесения раствора хлорида магния. Используемый в способе рассол не содержит хлорида кальция. Известен способ по патенту US4224037A [4] «Способ эксплуатации многокорпусных испарителей», в котором осуществляют разделение солей с разной степенью растворимости выпариванием, в частности способ рассматривается для солей, растворимость которых увеличивается с повышением температуры (первая соль), таких как хлорид калия, хлорид магния, карбонат натрия, хлорат натрия и солей, растворимость которых незначительно увеличивается или уменьшается с повышением температуры (вторая соль), таких как хлорид натрия, сульфат кальция и сульфат магния. При извлечении первой соли из водного раствора, содержащего первую соль и вторую соль, вода из раствора удаляется многократным ступенчатым выпариванием в многоступенчатом испарителе, при этом исходный раствор подается в последнюю ступень испарителя, а исходный пар в первую ступень испарителя, первая ступень испарителя является самой горячей, пар, полученный при испарении в более горячей ступени направляется в более холодную ступень, в то время как концентрируемый раствор перетекает из более холодной ступени в более горячую, т.е. движется от последней ступени к первой ступени испарителя. На каждой ступени отделяют выпадающий осадок в виде второй соли, а сливной поток маточного раствора из первой ступени используют для получение первой соли. Аналогичный способ описан в патенте US4224035A [5] «Способ выделения солей из раствора». Представленный способ является самым близким к предлагаемому способу по настоящему изобретению. Недостатком способа является применение перетекания или обычной перекачки концентрата (маточного раствора) между ступенями испарителя, что требует применения большого количества ступеней для эффективной сепарации маточного раствора от примесей. Недостатком способа является необходимость проведения отдельной операции переработки концентрата для получения целевого продукта. Недостатком способа является применение большого количества ступеней для испарения, что усложняет производство, обслуживание и использование установки. Недостатком способа является отсутствие операций переработки осадков солей, выпадающих при переработке гидроминерального сырья, содержащего кальций, магний, натрий и калий. Способ не обеспечивает комплексного разделения солей для рассолов хлоркальциевого типа, содержащих в качестве примесей хлориды калия, магния, натрия. Предлагаемый способ по предлагаемому изобретению не содержит указанных недостатков и пригоден для комплексного разделения солей и получения хлорида кальция из рассолов хлоркальциевого типа, содержащих примеси магния, натрия и калия. Сущность изобретения Целью настоящего изобретения является комплексное разделение солей при переработке рассолов хлоркальциевого типа природного и промышленного происхождения, содержащих в качестве примесей магний, калий и натрий с получением хлорида кальция. Предлагаемый способ позволяет получать продукты в виде кристаллогидрата хлорида кальция или кальцинированного хлорида кальция из рассолов хлоркальциевого типа выпариванием без применения реагентов и с использованием минимального количества выпарных аппаратов. Предлагаемый способ позволяет получать карналлит, хлорид калия и хлорид натрия как побочные продукты переработки указанных рассолов. Предлагаемый способ обеспечивает полную комплексную переработку рассолов с извлечением компонентов, пригодных для дальнейшего промышленного использования. Предлагаемый способ обеспечивает эффективное использование тепловой энергии за счет применения вторичного пара. Предлагаемый способ обеспечивает снижение потерь хлорида кальция в процессе его получения. Техническим результатом при осуществлении способа является эффективное использование как источника хлорида кальция рассолов хлоркальциевого типа, содержащих примеси магния, калия и натрия, упрощение конструкции выпарной установки, получение ценных побочных продуктов переработки рассолов, прямое получение кристаллогидрата хлорида кальция. Технический результат достигается тем, что осуществляют выпаривание исходного рассола в выпарной установке, включающей по меньшей мере два выпарных аппарата, при этом первичное выпаривание рассола осуществляют на втором выпарном аппарате за счет вторичного пара, получаемого на первом выпарном аппарате, а вторичное выпаривание осуществляют исходным паром на первом выпарном аппарате, в результате чего образуется вторичный пар с пониженной по сравнению с исходным паром температурой, при этом в качестве исходного рассола используют рассол хлоркальциевого типа, содержащий хлорид кальция в количестве более 60% масс. по отношению к примесям других хлоридов – натрия, калия, магния, при выпаривании исходного рассола на втором выпарном аппарате при повышении концентрации солей в рассоле кристаллизуются преимущественно хлористые соли натрия, калия и магния, которые отделяют на втором сепараторе с получением твердой фазы и концентрата хлорида кальция, концентрат хлорида кальция направляют на выпаривание на первом выпарном аппарате, где происходит его концентрирование с выпадением в осадок хлорида кальция, осадок сепарируют от пара на первом сепараторе с получением кристаллогидрата хлорида кальция; твердую фазу, отделенную после первичного выпаривания и содержащую преимущественно хлориды натрия, калия и магния, могут направлять на ступенчатую промывку с растворением сначала хлорида магния, затем хлорида калия и последующим отделением кристаллического материала от маточного раствора, при этом для растворения хлорида калия используют горячую воду, хлорид калия выделяют из раствора путем охлаждения; для переработки твердой фазы, отделенной после первичного выпаривания и содержащей преимущественно натрий, калий и магний, могут растворять и использовать в процессе получения карналлита, при этом процесс получения карналлита осуществляют выпариванием в две стадии, на первой стадии используют пар с меньшей температурой, чем для выпаривания на второй стадии, на первой стадии выпаривания в осадок выпадает преимущественно хлорид натрия, полученный маточный раствор направляют на вторую стадию выпаривания, где при выпаривании в осадок выпадает преимущественно карналлит, который отделяют; на первой стадии процесса получения карналлита могут использовать пар, который был получен при выпаривании маточного раствора на второй стадии процесса получения карналлита; на первой стадии процесса получения карналлита могут использовать пар, который был получен в первом выпарном аппарате в процессе получения кристаллогидрата хлорида кальция; осадок после первичного выпаривания, содержащий преимущественно натрий, калий и магний, могут растворять в воде с получением насыщенного раствора; отделенный карналлит могут использовать для получения хлорида магния или калия; хотя бы один сепаратор для разделения на жидкую и твердую фазу может быть выполнен в виде отстойника, центрифуги или ленточного фильтра; после разделения жидкой и твердой фазы хотя бы на одном сепараторе могут дополнительно осуществлять отделение твердой фазы от жидкой на центрифуге или ленточном фильтре; полученный кристаллогидрат хлорида кальция могут использовать для получения кальцинированного хлорида кальция. Технический результат достигается тем, что при первичном выпаривании рассола хлоркальциевого типа, содержащего примеси натрия, магния и калия, происходит выпадение в осадок хлористых солей натрия, калия и магния, что обеспечивает получение концентрата хлорида кальция для дальнейшего получения кристаллогидрата хлорида кальция за одну операцию, при этом применение вторичного пара обеспечивает необходимые температурные условия для выпаривания и экономию тепловой энергии, т.к. происходит её повторное использование в процессе. Технический результат достигается тем, что при вторичном выпаривании используют исходный пар, обладающий наибольшей энергией, что позволяет наиболее полно удалить воду из концентрата хлорида кальция с получением кристаллогидрата хлорида кальция, при этом осуществляют сепарацию кристаллогидрата хлорида кальция и пара, получая в рамках вторичного выпаривания целевой продукт и теплоноситель (пар) для первичного выпаривания. Технический результат достигается тем, что хлористые соли натрия, калия и магния, выделяемые при первичном упаривании, отделяют на сепараторе с получением твердой фазы и концентрата хлорида кальция, который затем поступает на вторичное упаривание, это обеспечивает эффективное и быстрое разделение фаз, что препятствует попаданию кристаллов примесей в концентрат хлорида кальция, загрязняющих конечный продукт, а также позволяет снизить потери хлорида кальция при выводе осадка. Технический результат достигается тем, что в качестве исходного рассола используют рассол хлоркальциевого типа, содержащий хлорид кальция в количестве более 60% масс. по отношению к примесям других хлоридов – натрия, калия, магния, выбор такого исходного сырья обеспечивает эффективное выделение примесей при упаривании рассола и эффективный выход кристаллогидрата хлорида кальция. Технический результат достигается тем, что отделенную после первичного выпаривания твердую фазу, содержащую преимущественно натрий, калий и магний, могут направлять на ступенчатую промывку с растворением сначала хлорида магния, затем хлорида калия и последующим отделением кристаллического материала от маточного раствора, при этом для растворения хлорида калия используют горячую воду, хлорид калия выделяют из раствора путем охлаждения. Получение хлорида калия как побочного продукта переработки хлоркальциевого рассола повышает экономический эффект от применения способа. Технический результат достигается тем, что отделенную после первичного выпаривания твердую фазу, содержащую преимущественно натрий, калий и магний, растворяют и используют в процессе получения карналлита, процесс получения карналлита осуществляют выпариванием в две стадии, на первой стадии используют пар с меньшей температурой, чем для выпаривания на второй стадии, на первой стадии выпаривания в осадок выпадает преимущественно хлорид натрия, полученный маточный раствор направляют на вторую стадию выпаривания, где раствор выпаривают до выпадения в осадок преимущественно карналлита, который отделяют, этот процесс позволяет получить карналлит как побочный продукт переработки хлоркальциевого рассола, что повышает экономический эффект от применения способа. Технический результат достигается тем, что в качестве пара на первой стадии процесса получения карналлита использую пар, который был получен при выпаривании маточного раствора на второй стадии процесса получения карналлита, или в первом выпарном аппарате в процессе получения кристаллогидрата хлорида кальция, что обеспечивает необходимые температурные условия для выпаривания и экономию тепловой энергии, т.к. происходит её повторное использование в процессе. Технический результат достигается тем, что отделенную после первичного выпаривания твердую фазу, содержащую преимущественно натрий, калий и магний, растворяют в воде с получением насыщенного раствора, что снижает затраты энергии и упрощает дальнейшее выпаривание раствора в процессе получения карналлита. Технический результат достигается тем, что сепараторы могут быть выполнены в виде центрифуги или ленточного фильтра, что повышает качество разделения фаз. Технический результат достигается тем, что после сепараторов могут дополнительно проводить разделение жидкой и твердой фазы на центрифуге или ленточном фильтре, что повышает качество разделения фаз. Технический результат достигается тем, что полученный кристаллогидрат может служить сырьем для получения кальцинированного хлорида кальция. Технический результат достигается тем, что полученный кристаллогидрат может служить сырьем для получения кальцинированного хлорида кальция. В наиболее общем виде способ по настоящему изобретению может осуществляться нижеизложенным образом, но не ограничен им. Схема осуществления способа изображена на Фиг.1, исходный рассол хлоркальциевого типа, содержащий хлорид кальция в количестве более 60% масс. по отношению к примесям других хлоридов – натрия, калия, магния, направляют во второй выпарной аппарат (4), при этом рассол может предварительно подогреваться в теплообменнике (7) за счет остаточного тепла вторичного пара (необязательный процесс), во втором выпарном аппарате (4) осуществляют выпаривание рассола за счет вторичного пара с выпадением осадка в виде солей калия, магния и натрия, которые отделяются на втором сепараторе (5) и направляются в приемник осадка (6), отделенная жидкая фаза в виде концентрата хлорида кальция направляется в первый выпарной аппарат (1) где осуществляют выпаривание за счет исходного пара, концентрат выпаривается с получением кристаллогидрата хлорида кальция и вторичного пара, которые разделяются на первом сепараторе (2), кристаллогидрат хлорида кальция направляют в приемник продукта (3), а вторичный пар направляют во второй выпарной аппарат (4), откуда отработанный вторичный пар поступает в теплообменник (7), конденсат направляют в емкость сбора конденсата (8). Полученный кристаллогидрат хлорида кальция может быть переработан в кальцинированный хлорид кальция, например, путем сушки в сушильном шкафу. Способ по настоящему изобретению, включающий также получение карналлита представлен на Фиг.2, исходный рассол хлоркальциевого типа, содержащий хлорид кальция в количестве более 60% масс. по отношению к примесям других хлоридов – натрия, калия, магния, направляют во второй выпарной аппарат (4), при этом рассол может предварительно подогреваться в теплообменнике (7) за счет остаточного тепла вторичного пара, во втором выпарном аппарате (4) осуществляют выпаривание рассола за счет вторичного пара с выпадением осадка в виде солей калия, магния и натрия, которые отделяются на втором сепараторе (5) и направляются в приемник осадка (6), отделенная жидкая фаза в виде концентрата хлорида кальция направляется в первый выпарной аппарат (1) где осуществляют выпаривание за счет исходного пара, концентрат выпаривается с получением кристаллогидрата хлорида кальция и вторичного пара, которые разделяются на первом сепараторе (2), кристаллогидрат хлорида кальция направляют в приемник продукта (3), а вторичный пар направляют во второй выпарной аппарат (4), откуда отработанный вторичный пар поступает в теплообменник (7), конденсат направляют в емкость сбора конденсата (8), примеси солей из приемника осадка (6) направляют на станцию солерастворения (9), где осуществляется растворение солей в воде, для растворения солей может быть использован конденсат, полученный при охлаждении пара, соли предпочтительно растворять до получения насыщенного раствора, полученный раствор хлоридов калия, натрия и магния из станции солерастворения направляют на в выпарной аппарат первой стадии получения карналлита (10), где при выпаривании выпадает в осадок преимущественно хлорид натрия, который отделяют на третьем сепараторе (11) и направляют в приемник хлорида натрия (12), жидкая фаза в виде раствора хлорида калия и магния поступает в выпарной аппарат второй стадии получения карналлита (13), где подвергается выпариванию с получением карналлита, который отделяют от пара в четвертом сепараторе (14) и направляют в приемник карналлита (15), отделенный пар, может быть использован для выпаривания в выпарном аппарате первой стадии (10), также для выпаривания в выпарном аппарате первой стадии (10) может быть использован пар из второго выпарного аппарата (4). Карналлит затем могут использовать для получения хлорида магния или калия любым подходящим промышленным методом. В рамках осуществления способа могут быть использованы дополнительные теплообменники для предварительного подогрева растворов остаточным теплом пара. Как альтернативный вариант переработки твердой фазы, отделенной после первичного выпаривания и содержащей преимущественно натрий, калий и магний, можно осуществлять получение хлорида калия по следующему процессу: кристаллический осадок направляют на промывку с растворением хлорида магния, затем проводят отделение промытого кристаллического материала от жидкости, растворение хлорида калия, содержащегося в указанном кристаллическом материале, с помощью горячего растворителя с образованием горячего насыщенного раствора хлорида калия, отделение в горячем состоянии указанного насыщенного калием раствора от нерастворенных твердых веществ, охлаждение указанного насыщенного калием раствора и отделение хлорида калия от охлажденного маточного раствора. Ниже приведены примеры реализации способа по настоящему изобретению. Пример 1 В качестве сырья для получения хлорида кальция использовали рассол хлоркальциевого типа, содержащий: Ca – 131 г/л, Na – 8,1 г/л, Mg – 16,2 г/л, K – 20 г/л. По указанной на Фиг. 1 схеме и приведенному выше описанию процесса проводили первичное выпаривание во втором выпарном аппарате (4) предварительно подогретого в теплообменнике (7) рассола, и вторичное выпаривание в первом выпарном аппарате (1), при этом при первичном выпаривании получили твердый осадок и концентрат хлорида кальция, которые разделяли на втором сепараторе (5), направляя туда горячую суспензию, концентрат хлорида кальция содержал примеси в количестве: Na – до 2 г/л, Mg – до 10 г/л, K – до 5 г/л. Проводили выпаривание концентрата хлорида кальция на первом выпарном аппарате (1) и сепарацию пара и твердого вещества на первом сепараторе (2), в результате сепарации получали продукт, содержащий 92% масс. кристаллогидрата хлорида кальция и пар, пар направляли в качестве вторичного пара во второй выпарной аппарат (4). Пример 2 Процесс получения кристаллогидрата хлорида кальция проводили аналогично Примеру №1 с тем отличием, что использовали рассол хлоркальциевого типа, содержащий: Ca – 91,59 г/л, Na – 7,2 г/л, Mg – 12,4 г/л, K – 17,1 г/л. Концентрат хлорида кальция содержал примеси в количестве: Na – 1 г/л, Mg – 5 г/л, K – 4 г/л. В результате вторичного выпаривания и сепарации получали на выходе продукт, содержащий 90% масс. кристаллогидрата хлорида кальция. Было установлено, что при концентрации хлорида кальция в рассоле менее 60% масс. по отношению к примесям других хлоридов – натрия, калия и магния эффективность способа значительно снижается. Пример 3 Процесс получения кристаллогидрата хлорида кальция проводили аналогично Примеру №1 с тем отличием, что полученный осадок (твердую фазу) направляли на стадию первичной отмывки водой методом вытеснения на ленточном вакуум-фильтре. Остаточное содержание хлорида кальция в кристаллизате не превышало 1,1%. После стадии первичной отмывки кристаллизат направлялся на стадию холодного разложения, где в течение 1 минуты отмывался методом разбавления в реакторе от хлорида магния и хлорида кальция водой при температуре 10°С. Полученная суспензия разделялась на фильтре. Влажный осадок после фильтрации направлялся на стадию горячего растворения, где при температуре 97°С он обрабатывался горячей водой, оставшийся после растворения хлорида калия осадок отделяли от насыщенного по хлориду калия раствора на вакуум-фильтре, насыщенный раствор хлорида калия охлаждали до 22ºC с получением вторичного кристаллического продукта с концентрацией KCl не ниже 95%. Полученный кристаллический продукт KCl подвергли промывке пресной водой в количестве 10% от массы влажного продукта, получали кристаллизат с концентрацией KCl ≥ 95%. Пример 4 Процесс получения кристаллогидрата хлорида кальция проводили аналогично Примеру №1 с тем отличием, что также осуществляли получение карналлита по представленной на Фиг. 2 и описанной выше схеме. Примеси солей из приемника осадка (6) направили на станцию солерастворения (9), для растворения солей использовали воду и конденсат из емкости сбора конденсата (8), на станции солерастворения получили насыщенный раствора хлоридов калия, натрия и магния, раствор содержал: Na – 21 г/л, Mg – 40,2 г/л, K – 65 г/л, Ca – 1 г/л. Раствор направляли на выпаривание в выпарной аппарат первой стадии получения карналлита (10), где в осадок выпадал преимущественно хлорид натрия, который отделяли на третьем сепараторе (11) и направляли в приемник хлорида натрия (12), жидкая фаза в виде раствора хлорида калия и магния направлялась в выпарной аппарат второй стадии получения карналлита (13), где раствор выпаривали до выпадения в осадок преимущественно карналлита, который отделяли от пара в четвертом сепараторе (14) и направляли в приемник карналлита (15), отделенный пар был использован для выпаривания в выпарном аппарате первой стадии (10) получения карналлита, полученный карналлит имел чистоту 94,3% Пример 5 Процесс получения кристаллогидрата хлорида кальция проводили аналогично Примеру №1 с тем отличием, что проводили дополнительное отделение твердой фазы от жидкой на центрифуге после второго сепаратора. Концентрат хлорида кальция содержал примеси в количестве: Na – до 1,1 г/л, Mg – до 7,1 г/л, K – до 3,2 г/л. Пример 6 Процесс получения кристаллогидрата хлорида кальция проводили аналогично Примеру №1 с тем отличием, что проводили дополнительное отделение твердой фазы от жидкой на ленточном фильтре после второго сепаратора, который был выполнен в виде отстойника. Концентрат хлорида кальция содержал примеси в количестве: Na – до 0,97 г/л, Mg – до 6 г/л, K – до 2,8 г/л. Пример 7 Процесс получения кристаллогидрата хлорида кальция проводили аналогично Примеру №1 с тем отличием, что полученный кристаллогидрат сушили в сушильном шкафу до получения кальцинированного хлорида кальция. Используемые источники информации 1. Патент RU2291109C2. C01F 11/24. Способ получения хлористого кальция / Загидуллин Р.Н., Расулев З.Г., Дмитриев Ю.К., Муратов М.М., Лапонов А.С., Гумерова Л.К., Ануфриева Н.А. Заявл. 21.12.2004, опубл. 10.06.2006. 2. Патент RU25502U1. C01F 11/24, C09K 3/18. Установка для получения хлористого кальция / Рустамбеков М.К., Таран А.Л., Данилов В.П., Щеголев А.И., Купцов Л.А., Зудин А.Б., Орлова В.Т., Мясников С.К., Щеголев И.А., Пирогов Л.В. Заявл. 28.06.2002, опубл. 10.10.2002. 3. Патент US3536444A. C01F5/40. Способ разделения компонентов рассола / Альфред Ф. Ниландер. Заявл. 13.06.1969, опубл. 27.10.1970. 4. Патент US4224037A. B01D9/0031. Способ эксплуатации многокорпусных испарителей / Дональд Х. Гизен. Заявл. 03.04.1978, опубл. 23.09.1980. 5. Патент US4224035A. B01D9/0031. Способ выделения солей из раствора / Дональд Х. Гизен. Заявл. 03.04.1978, опубл. 23.09.1980.