патент
№ RU 2816611
МПК E02D3/115

ТЕРМОСТАБИЛИЗАТОР ГРУНТА С ПОДЗЕМНЫМ ИСПОЛНЕНИЕМ КОНДЕНСАТОРНОЙ ЧАСТИ

Авторы:
Агапов Анатолий Андреевич Кузнецова Юлия Валерьевна Зенков Евгений Валерьевич
Все (5)
Номер заявки
2023119873
Дата подачи заявки
27.07.2023
Опубликовано
02.04.2024
Страна
RU
Как управлять
интеллектуальной собственностью
Чертежи 
3
Реферат

[27]

Изобретение относится к области строительства, а именно к устройствам для охлаждения и замораживания грунтов, используемым при возведении зданий и сооружений на многолетнемерзлых грунтах. Термостабилизатор грунта с подземным исполнением конденсаторной части состоит из вертикальных испарительных участков большого заглубления, позволяющих осуществлять эффективное охлаждение высокотемпературных грунтов в условиях несливающейся мерзлоты, соединенных с помощью герметичного сварного соединения с Т-образным участком транспортной магистрали хладагента, соединенной при помощи герметичного сварного соединения с жёстким металлическим цилиндрическим корпусом. Секции транспортной магистрали хладагента объединены в подземный участок устройства с конденсаторными секциями, представляющими собой радиаторные пластины для конденсации хладагента, приваренные к транспортной магистрали хладагента, при этом конденсаторная часть зафиксирована в жёстком металлическом цилиндрическом корпусе шлицевым соединением. Подземный участок при помощи герметичных сварных соединений участков транспортной магистрали хладагента и герметичных резьбовых соединений корпусов секций прикреплен к впускной и выпускной секциям, которые представляют собой металлическую трубу, с транспортной магистралью хладагента внутри, соединённую резьбовыми соединениями с клапанами Шрёдера, жёстко закреплёнными с приваренными изнутри к корпусу смотровыми площадками и расположенными во впускной и выпускной секциях металлической трубы на одном уровне относительно поверхности земли, доступ к которым осуществлен через технологическое отверстие в корпусе. Корпус впускной секции оборудован шиберной задвижкой и защитной решеткой, а на выходе выпускной секции приварен турбодефлектор. Все части термостабилизатора грунта, имеющие контакт с внешней средой или грунтом, выполнены в антикоррозионном исполнении. Впускная и выпускная секции расположены на разных уровнях для образования постоянного воздушного потока. Технический результат состоит в обеспечении механической безопасности фундаментов зданий и сооружений, расположенных в зонах распространения многолетнемёрзлых грунтов. 3 ил.

Формула изобретения

Термостабилизатор грунта с подземным исполнением конденсаторной части, характеризующийся тем, что состоит из вертикальных испарительных участков большого заглубления, позволяющих осуществлять эффективное охлаждение высокотемпературных грунтов в условиях несливающейся мерзлоты, соединенных с помощью герметичного сварного соединения с Т-образным участком транспортной магистрали хладагента, соединенной при помощи герметичного сварного соединения с жёстким металлическим цилиндрическим корпусом, секции транспортной магистрали хладагента объединены в подземный участок устройства с конденсаторными секциями, представляющими собой радиаторные пластины для конденсации хладагента, приваренные к транспортной магистрали хладагента, при этом конденсаторная часть зафиксирована в жёстком металлическом цилиндрическом корпусе шлицевым соединением, причем подземный участок при помощи герметичных сварных соединений участков транспортной магистрали хладагента и герметичных резьбовых соединений корпусов секций прикреплен к впускной и выпускной секциям, которые представляют собой металлическую трубу, с транспортной магистралью хладагента внутри, соединённую резьбовыми соединениями с клапанами Шрёдера, жёстко закреплёнными с приваренными изнутри к корпусу смотровыми площадками и расположенными во впускной и выпускной секциях металлической трубы на одном уровне относительно поверхности земли, доступ к которым осуществлен через технологическое отверстие в корпусе, корпус впускной секции оборудован шиберной задвижкой и защитной решеткой, а на выходе выпускной секции приварен турбодефлектор, все части термостабилизатора грунта, имеющие контакт с внешней средой или грунтом, выполнены в антикоррозионном исполнении, впускная и выпускная секции расположены на разных уровнях для образования постоянного воздушного потока.

Описание

[1]

Изобретение относится к области строительства, а именно к устройствам для охлаждения и замораживания грунтов, используемым при возведении зданий и сооружений на многолетнемерзлых грунтах.

[2]

Уровень техники

[3]

Известно устройство конструкция для термостатирования грунтов под зданиями и сооружениями (Патент RU 155180 U1, МПК E02D 3/115, опубл. 27.09.2015). Устройство представляет собой систему, имеющую первый контур охлаждения, который содержит систему гравитационных тепловых труб, горизонтальные испарительные секции которых, расположенные ниже уровня грунта под охлаждаемым зданием или сооружением, соединены посредством транспортных зон с вертикальными конденсаторными секциями, расположенными над уровнем грунта, дополнительно снабжена вторым охлаждающим контуром, выполненным в виде системы вертикальных гравитационных тепловых труб, конденсаторные секции которых находятся в термическом контакте с горизонтальными испарительными секциями гравитационных труб первого контура.

[4]

Недостатками представленного устройства являются: высокая вероятность повреждения горизонтальных испарительных секций в процессе строительства и эксплуатации сооружения; снижение работоспособности изделия при расположении конденсаторной секции в местах, препятствующих свободному обдуву изделия ветром.

[5]

Известно устройство охлаждающее устройство для температурной стабилизации многолетнемерзлых грунтов и способ монтажа такого устройства (Патент RU 2454506 С2, МПК E02D 3/115, опубл. 27.06.2012). Устройство представляет собой способ монтажа термостабилизатора грунта под сооружениями включающий: прохождение сквозной скважины; протяжку в направлении, обратном направлению проходки скважины термостабилизатора, который содержит заправленные хладагентом трубы конденсатора и испарителя, соединенные сильфонными рукавами, которые укреплены бандажами; трубы конденсатора расположены по краям термостабилизатора и протяжку осуществляют до положения, при котором трубы конденсатора будут расположены над поверхностью грунта; монтаж охлаждающих элементов на каждой из труб конденсатора.

[6]

Недостатками представленного устройства являются: невозможность применения устройства на высокотемпературных многолетнемерзлых грунтах и участков с несливающейся мерзлотой, т.к. устройство не имеет участков испарителя, заглубленных ниже деятельного слоя; снижение эффективности работы термостабилизаторов при увеличении линейных размеров сооружения, что связано с увеличением протяжённости испарителя и, как следствие, габаритов конденсатора.

[7]

Известно устройство система для температурной стабилизации основания сооружений на вечномерзлых грунтах (Патент RU 2416002 С1, МПК E02D 3/115, опубл. 10.04.2011). Устройство представляет собой систему, содержащую гидрозатвор, уравнительный сосуд, соединённый с конденсатором и связанный с ними посредством трубопроводов, подводящих и отводящих теплоноситель, испаритель, размещённый в отсыпке грунта основания. В ней содержится дополнительный испаритель с системой трубопроводов и гидрозатвором, причём оба испарителя размещены равномерно по всей площади отсыпки грунта основания, оснащённого слоем теплоизоляции, и соединены с помощью трубопроводов посредством своих отводящих концов – с верхними точками уравнительного сосуда, а подводящими концами основной и дополнительный испарители подсоединены в нижней точке конденсатора и нижней точке уравнительного сосуда соответственно через соответствующие гидрозатворы.

[8]

Недостатками представленного устройства являются: снижение работоспособности изделия при расположении конденсаторной секции в местах, препятствующих свободному обдуву изделия ветром.

[9]

Раскрытие сущности изобретения

[10]

Целями настоящего изобретения являются:

[11]

1. Обеспечение процесса термостабилизации грунтов оснований под сооружениями, конструктивные особенности которых, не позволяют установить в их периметре термостабилизаторы грунта (с полами по грунту, с технологическим подпольем небольшой высоты и т.д.) или обеспечить естественный обдув ветром конденсаторной части, необходимый для эффективной работы термостабилизатора (с «зашитыми» технологическими подпольями и т.д.).

[12]

2. Обеспечение проектного температурного режима грунтов оснований на глубинах ниже годовых колебаний и на всю глубину погружения свайного фундамента зданий и сооружений.

[13]

Техническим результатом изобретения является обеспечение механической безопасности фундаментов зданий и сооружений, расположенных в зонах распространения многолетнемёрзлых грунтов.

[14]

Поставленные цели и указанный технический результат достигаются за счёт применения термостабилизатора грунта с подземным исполнением конденсаторной части, характеризующегося тем, что состоит из вертикальных испарительных участков большого заглубления, позволяющих осуществлять эффективное охлаждение высокотемпературных грунтов в условиях несливающейся мерзлоты, соединенных с помощью герметичного сварного соединения с Т-образным участком транспортной магистрали хладагента, соединенной при помощи герметичного сварного соединения с жёстким металлическим цилиндрическим корпусом, секции транспортной магистрали хладагента объединены в подземный участок устройства с конденсаторными секциями, представляющими собой радиаторные пластины для конденсации хладагента, приваренные к транспортной магистрали хладагента, при этом конденсаторная часть зафиксирована в жёстком металлическом цилиндрическом корпусе шлицевым соединением, причем подземный участок при помощи герметичных сварных соединений участков транспортной магистрали хладагента и герметичных резьбовых соединений корпусов секций прикреплена к впускной и выпускной секциям, которые представляют собой металлическую трубу, с транспортной магистралью хладагента внутри, соединённую резьбовыми соединениями с клапанами Шрёдера, жёстко закреплёнными с приваренными изнутри к корпусу смотровыми площадками и расположенными в впускной и выпускной секциях металлической трубы на одном уровне относительно поверхности земли, доступ к которым осуществлен через технологическое отверстие в корпусе, корпус впускной секции оборудован шиберной задвижкой и защитной решеткой, а на выходе выпускной секции приварен турбодефлектор, все части термостабилизатора грунта, имеющие контакт с внешней средой или грунтом, выполнены в антикоррозионном исполнении, впускная и выпускная секции расположены на разных уровнях для образования постоянного воздушного потока.

[15]

Краткое описание чертежей

[16]

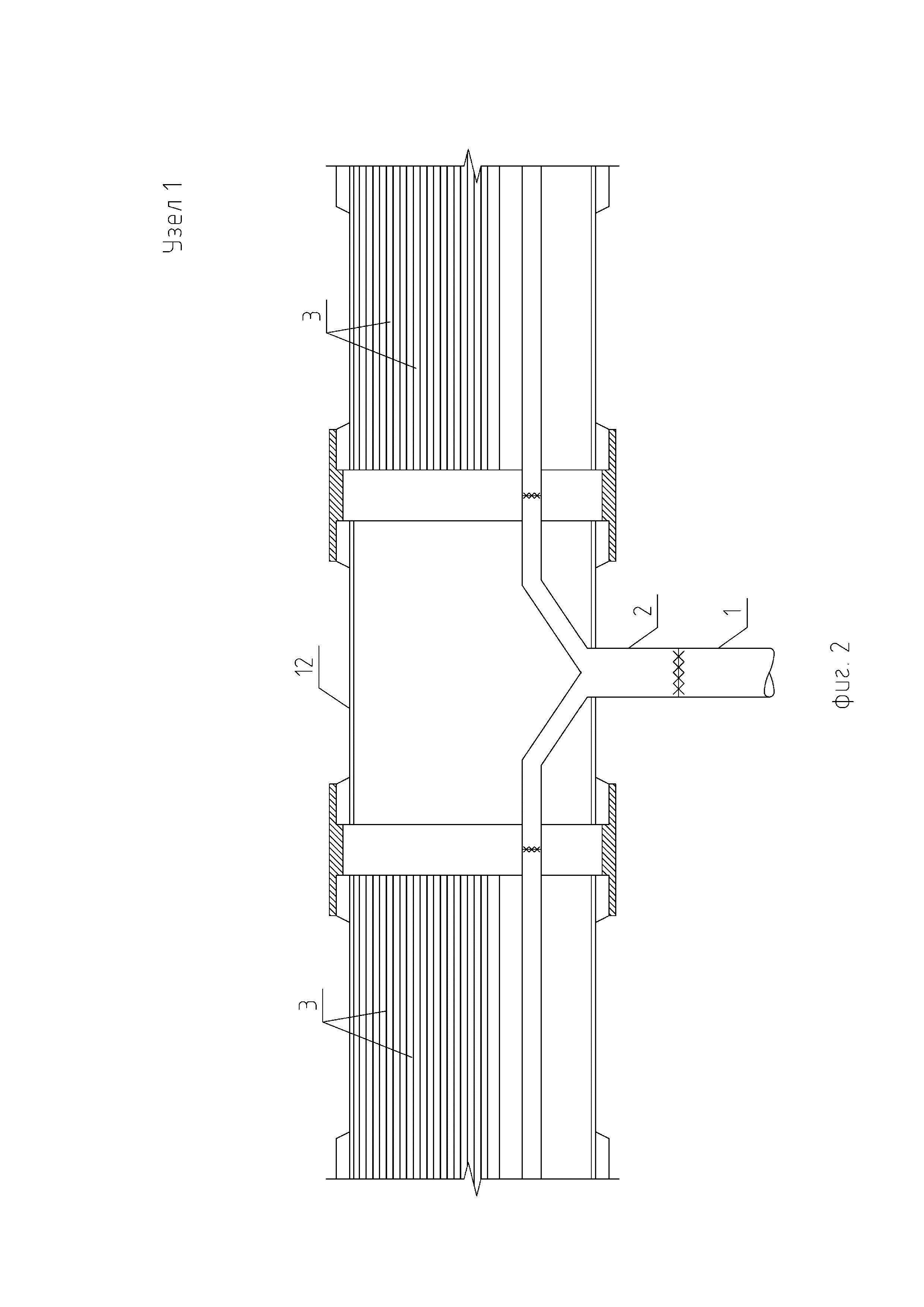
Конструкция термостабилизатора грунта с подземным исполнением конденсаторной части представлена на чертежах (фиг. 1, фиг. 2, фиг. 3).

[17]

Термостабилизатор грунта состоит из вертикальных испарительных участков (1), соединяемых с помощью герметичного сварного соединения с Т-образным участком транспортной магистрали хладагента (2). Транспортная магистраль хладагента соединена при помощи герметичного сварного соединения с жёстким металлическим цилиндрическим корпусом (12). Секции транспортной магистрали хладагента объединяются в подземный участок устройства с конденсаторными секциями (3), представляющими радиаторные пластины для конденсации хладагента, приваренные к транспортной магистрали хладагента. Конденсаторная часть фиксируется в жёстком металлическом цилиндрическом корпусе шлицевым соединением. Подземный участок при помощи герметичных сварных соединений участков транспортной магистрали хладагента и герметичных резьбовых соединений корпусов секций прикрепляется к впускной (4) и выпускной (5) секциям. Впускная и выпускная секции представляют собой металлическую трубу, с транспортной магистралью хладагента внутри, соединённую резьбовыми соединениями с клапанами Шрёдера (6), жёстко закреплёнными с приваренными изнутри к корпусу смотровыми площадками (9) и расположенными в впускной и выпускной секциях металлической трубы на одном уровне относительно поверхности земли, доступ к которым осуществляется через технологическое отверстие в корпусе (10). Корпус впускной секции оборудован шиберной задвижкой (11) и защитной решеткой (7). На выходе выпускной секции приварен турбодефлектор (8). Все части термостабилизатора грунта, имеющие контакт с внешней средой или грунтом, должны быть выполнены в антикоррозионном исполнении.

[18]

Осуществление изобретения

[19]

Термостабилизация грунтов оснований это комплекс мероприятий, направленный на повышение несущей способности, устойчивости и надежности оснований и фундаментов зданий и сооружений путем обеспечения стабильного термического состояния грунтов в соответствии с выбранным принципом их использования в качестве оснований на весь период эксплуатации объекта. В качестве эффективного средства по температурной стабилизации грунтов используются сезонно-действующие охлаждающие устройства (термостабилизаторы грунта).

[20]

Принцип работы термостабилизатора грунта заключается в отборе тепла от грунта основания и передачи его в окружающую среду. Отбор тепла осуществляется за счёт кипения хладагента в подземной части конденсатора за счёт температурного напора, образованного температурой холодного внешнего воздуха и температурой грунтов оснований. Передача тепла происходит в надземной части термостабилизатора грунта в процессе конденсации хладагента за счёт обдува ветром. Таким образом, функционирование сезонно-действующего охлаждающего устройства возможно только при наличии надземного участка, свободно обдуваемого ветром.

[21]

Принцип работы термостабилизатора грунта с подземным исполнением конденсаторной части заключается в следующем: вертикальные испарительные участки погружаются в специально пробуренные скважины и закрепляются к подземному участку устройства, образованного испарительными и конденсаторными секциями, с помощью герметичных резьбовых соединений. Далее конструкция закрепляется с впускной и выпускной секциями. После окончания работ по монтажу устройства в транспортную магистраль хладагента и радиаторные пластины с помощью технологического отверстия в впускной и выпускной секциях через клапан Шрёдера подаётся необходимое количество хладагента после чего устройство готово к выходу на рабочий режим. За счёт разницы уровней впускной и выпускной секции в жёстком металлическом корпусе в антикоррозионном исполнении, образуется постоянный воздушный поток, движущийся через впускную секцию к конденсаторным секциям, где осуществляется обдув радиаторных пластин по всей длине конденсаторных секций до окончания процесса движения на выходе выпускной секции. С целью снижения негативного климатического и антропогенного воздействия, для сохранения работоспособности и целостности конденсаторной части устройства, на входе в впускную секцию установлены шиберная задвижка, исключающая попадание осадков, и защитная решётка, исключающая попадание мелкого мусора. Защитная решётка и шиберная задвижка выполнены с возможностью быстрой замены и обслуживания. Для увеличения эффективности движения воздуха внутри цилиндрического корпуса, на выходе выпускной секции расположен турбодефлектор. Движение воздушного потока сквозь отверстия в радиаторных пластинах обеспечивает процесс конденсации хладагента, стекающего под действием гравитационных сил в вертикальные испарительные участки, выполненные в антикоррозионном исполнении, в которых за счёт разницы температуры грунтов оснований и температуры в подземной части устройства, хладагент испаряется и процесс повторяется. С целью обеспечения постоянного движения воздуха в подземном участке устройства впускная секция должна быть расположена ниже выпускной.

[22]

Преимуществами данного изобретения являются:

[23]

1. Исключение возможности повреждения устройства в процессе строительства и эксплуатации сооружения.

[24]

2. Сохранение эффективности работы термостабилизатора грунта с подземным исполнением конденсаторной части в независимости от габаритов зданий и сооружений.

[25]

3. Снижение негативного климатического и антропогенного воздействия на эффективность работы термостабилизатора грунта с подземным исполнением конденсаторной части.

[26]

4. Увеличение эффективности работы термостабилизатора грунта с подземным исполнением конденсаторной части.

Как компенсировать расходы
на инновационную разработку
Похожие патенты